Номер по Госреестру СИ: 44235-15
44235-15 Спектрометры
(МКС-АТ6102)
Назначение средства измерений:
Спектрометры МКС-АТ6102 (далее - спектрометры) предназначены для измерения:
- энергетического распределения гамма-излучения,
- мощности амбиентного эквивалента дозы Н& * (10) (мощности амбиентной дозы) гамма-излучения,
- мощности амбиентного эквивалента дозы Н& * (10) (мощности амбиентной дозы) нейтронного излучения,
- плотности потока альфа-, бета-частиц с загрязненной поверхности,
а также поиска источников гамма- и нейтронного излучения и идентификации гамма-излучающих радионуклидов.

Внешний вид.
Спектрометры
Рисунок № 1

Внешний вид.
Спектрометры
Рисунок № 2

Внешний вид.
Спектрометры
Рисунок № 3

Внешний вид.
Спектрометры
Рисунок № 4
Программное обеспечение
Программное обеспечение является встроенным и размещается в энергонезависимой части памяти микропроцессора, запись которой осуществляется в процессе производства и не подлежит дальнейшему изменению.
Разделение ПО с выделением метрологически значимой части не предусмотрено. К метрологически значимой части относится все ПО спектрометров.
Идентификационные данные ПО приведены в таблице 2. Таблица 2
|
Идентификационные данные (признаки) |
Значение |
|
Идентификационное наименование ПО |
AT6102M |
|
Номер версии (идентификационный номер) ПО |
1.0XN*, l.bXY** |
|
Цифровой идентификатор ПО (CRC32) |
d57103ed |
|
Идентификационное наименование ПО |
АТ6102МА |
|
Номер версии (идентификационный номер) ПО |
1.0AN*, l^Y** |
|
Цифровой идентификатор ПО (CRC32) |
d558d340 |
|
Идентификационное наименование ПО |
АТ6102МВ |
|
Номер версии (идентификационный номер) ПО |
1.0BN*, 1Ш** |
|
Цифровой идентификатор ПО (CRC32) |
d3e71687 |
Примечание: * - номер версии ПО, для которой приведен цифровой идентификатор;
** - номер версии при коррекции ПО, указывается в разделе «Свидетельство о приёмке» руководства по эксплуатации и в протоколе поверки при первичной поверке.
Значение символов по порядку:
1 - базовый номер версии; b - номер подверсии [от 0 до 99]; символы X, A, B - модификация спектрометра; символ Y - версия библиотеки радионуклидов [N, S].
В соответствии с Р 50.2.077-2014 уровень защиты встроенного ПО спектрометров МКС-АТ6102 от непреднамеренных и преднамеренных изменений соответствует уровню «средний».
Знак утверждения типа
Знак утверждения типананосится на этикетку, расположенную на нижней поверхности спектрометров и на титульный лист руководства по эксплуатации методом компьютерной графики.
Сведения о методиках измерений
Сведения о методиках (методах) измерений приведены в документах:
- «Спектрометр МКС-АТ6102. Руководство по эксплуатации», «Спектрометр МКС-АТ6102А. Руководство по эксплуатации», «Спектрометр МКС-АТ6102В. Руководство по эксплуатации».
Нормативные и технические документы
Нормативные и технические документы, устанавливающие требования к спектрометрам МКС-АТ6102
ГОСТ 4.59-79 «Средства измерений ионизирующих излучений. Номенклатура показателей».
ГОСТ 27451-87 «Средства измерений ионизирующих излучений. Общие технические условия».
ГОСТ 26874-86 «Спектрометры энергий ионизирующих излучений. Методы измерения основных параметров».
ГОСТ 8.033-96 «ГСИ. Государственная поверочная схема для средств измерений активности радионуклидов, потока и плотности потока альфа-, бета- частиц и фотонов радионуклидных источников».
ГОСТ 8.034-82 «ГСИ. Государственный первичный эталон и государственная поверочная схема для средств измерений экспозиционной дозы, мощности экспозиционной дозы и потока энергии рентгеновского и гамма-излучений».
ГОСТ 8.031-82 «ГСИ. Государственный первичный эталон и государственная поверочная схема для средств измерений потока и плотности потока нейтронов».
Технические условия ТУ BY 100865348.019-2009 «Спектрометры МКС-АТ6102» с изменением № 3.
Рекомендации по области применения в сфере государственного регулирования обеспечения единства измерений
- при осуществлении деятельности в области охраны окружающей среды;
- при выполнении работ по осуществлению производственного контроля за соблюдением установленных законодательством Российской Федерации требований промышленной безопасности к эксплуатации опасного производственного объекта;
- при осуществлении деятельности в области использования атомной энергии.
Поверка
Поверка»Комплект принадлежностей
1
Поставляется по заказу полностью или отдельные его части. Содержит БДПА-01, БДПБ-01 и БДКН-03
Спектрометр МКС-АТ6102А
Спектрометр МКС-АТ6102А
1
Руководство по эксплуатации
1
Содержит раздел «Поверка»
Комплект принадлежностей
1
Поставляется по заказу полностью или отдельные его части. Содержит БДПА-01, БДПБ-01 и БДКН-03
Спектрометр МКС-АТ6102В
Спектрометр МКС-АТ6102В
1
Руководство по эксплуатации
1
Содержит раздел «Поверка»
Комплект принадлежностей
1
Поставляется по заказу полностью или отдельные его части. Содержит БДПА-01, БДПБ-01 и БДКН-03
«Спектрометры МКС-
АТ6102. Методика поверки» изменение №2
1
Поверка
осуществляется по документу
- МРБ МП.1892-2009 «Спектрометры МКС-АТ6102. Методика поверки» изменение «1», утвержденному БелГИМ в марте 2009 г. - для спектрометров с датой выпуска до 01.06.2014 г.
-
- МРБ МП.1892-2009 «Спектрометры МКС-АТ6102. Методика поверки» изменение «2», утвержденному БелГИМ в марте 2009 г. - для спектрометров с датой выпуска после 01.06.2014 г.
При поверке применяются:
-
- источники фотонного излучения спектрометрические эталонные 2-го разряда по ГОСТ 8.033-96 типа ОСГИ-3 № г/р 46383-11, активностью от 3 до 180 кБк, из радионуклидов 241Ат, 57Со, 139Се, 113Sn, 54Mn, 22Na, 88Y, 137Сз, 228Th, аттестованные по активности радионуклида в источнике с погрешностью не более ±6 %;
-
- источники бета-излучения эталонные 2-го разряда по ГОСТ 8.033-96 c радионуклидом 90Sr+90Y типов 4СО, 5СО, 6СО с площадью рабочей поверхности 40, 100 и 160 см2 соответственно, активностью от 40 до 2,0-106 Бк, аттестованные по активности и потоку частиц с погрешностью не более ±6%;
-
- источники альфа-излучения эталонные 2-го разряда по ГОСТ 8.033-96 с радионуклидом 239Pu типов 4П9, 5П9, 6П9 с площадью рабочей поверхности 40, 100 и 160 см2 соответственно, активностью от 25 до 4,0-105 Бк, аттестованные по активности и потоку частиц с погрешностью не более ±6%;
-
- эталонные источники быстрых нейтронов по ГОСТ 8.031-82 плутоний бериллиевые типа ИБН с потоком быстрых нейтронов от источника в телесный угол 4р ср от 3 -105 до 5 -107 с-1; плотность потока нейтронов на расстоянии 1 м от источника 2,5 - 1000 с-1-см-2, погрешность аттестации по плотности потока не более ±8 %;
-
- установка поверочная дозиметрическая гамма-излучения эталонная по ГОСТ 8.087-2000 с набором источников из радионуклида 137Cs, аттестованная по мощности кермы в воздухе в диапазоне измерений от 0,025 мкГр/ч до 8,33 мГр/ч с погрешностью не более ±5%;
-
- эталонные 2-го разряда по ГОСТ 8.031-82 поверочные установки типов УКПН-1, УКПН-1 М и аналогичные им по метрологическим параметрам с комплектом плутонийбериллиевых источников быстрых нейтронов типа ИБН при поверке в коллимированном пучке или установки на основе градуировочной линейки с набором аналогичных источников при поверке в открытой геометрии, диапазон измерений мощности амбиентной дозы нейтронного излучения от 0,5 мкЗв/ч до 10 мЗв/ч, погрешность аттестации установки не более ±8 %.
Изготовитель
Принцип действия спектрометров основан на использовании высокочувствительных методов спектрометрии, дозиметрии и радиометрии с применением сцинтилляционных детекторов, фотоэлектронных умножителей (ФЭУ) и газоразрядных счетчиков.
При измерении мощности дозы гамма-излучения сцинтилляционным детектором использован метод преобразования аппаратурных спектров непосредственно в мощность дозы с помощью корректирующих весовых коэффициентов, значения которых зависят от амплитуды регистрируемых импульсов. Для расширения диапазона измерения мощности дозы используется счетчик Гейгера-Мюллера с фильтром, выравнивающим энергетическую зависимость чувствительности.
Спектрометры представляют собой многофункциональные носимые приборы, состоящие из моноблока, содержащего детекторы гамма и нейтронного излучений, а также поставляемых по заказу потребителя внешних блоков детектирования: нейтронного излучения БДКН-03, альфа- и бета-излучений БДПА-01 и БДПБ-01.
Алгоритм работы спектрометров обеспечивает непрерывность процесса измерений, вычисление средних значений результатов измерений и оперативное представление получаемой информации на табло, статистическую обработку результатов измерений и оценку статистических флуктуаций в темпе поступления сигналов от детектора, быструю адаптацию к изменению уровней радиации.
Для обеспечения стабильности измерений в спектрометрах применена система светодиодной стабилизации измерительного тракта, которая одновременно обеспечивает проверку работоспособности всего тракта в процессе работы. Кроме того, в спектрометрах реализована система автоматической температурной коррекции усиления.
Спектрометр имеет возможность устанавливать для измеряемых величин пороговые уровни, при превышении которых срабатывает световая, звуковая и вибрационная сигнализация. Значения установленных пороговых уровней отображаются на экране спектрометра и сохраняются при отключении питания спектрометра.
Спектрометр имеет индикаторный режим идентификации радионуклидов, обеспечивающий отображение на экране спектрометра типа идентифицированного гамма-излучающего радионуклида. Спектрометр имеет индикаторный режим поиска, обеспечивающий срабатывание сигнализации при обнаружении источников нейтронного излучения.
Спектрометр обеспечивает проведение самоконтроля основных узлов при включении и постоянную проверку работоспособности в процессе работы.
Для обмена информацией с персональным компьютером (ПК) предусмотрен канал передачи данных через USB порт и Bluetooth. Спектрометры имеют встроенный GPS-приемник для привязки измерений на местности.
Электропитание спектрометра осуществляется от встроенного в корпус спектрометра перезаряжаемого блока аккумуляторов. Спектрометр обеспечивает автоматический контроль разряда блока аккумуляторов.
Спектрометры выпускаются в модификациях, представленных в таблице 1.
Таблица 1
|
Модификация |
Назначение | |
|
МКС-АТ6102 |
Измерение энергетического распределения гамма-излучения | |
|
Измерение мощности амбиентной дозы гамма-излучения | ||
|
Поиск источников гамма-излучения | ||
|
Идентификация гамма-излучающих радионуклидов | ||
|
Измерение мощности амбиентной дозы нейтронного излучения | ||
|
Поиск источников нейтронного излучения | ||
|
Измерение плотности потока альфа-частиц с загрязненной поверхности | ||
|
Измерение плотности потока бета-частиц с загрязненной поверхности | ||
|
МКС-АТ6102А МКС-АТ6102В |
Измерение энергетического распределения гамма-излучения | |
|
Измерение мощности амбиентной дозы гамма-излучения | ||
|
Поиск источников гамма-излучения | ||
|
Идентификация гамма-излучающих радионуклидов | ||
|
Измерение мощности амбиентной дозы нейтронного излучения | ||
|
Измерение плотности потока альфа-частиц с загрязненной поверхности | ||
|
Измерение плотности потока бета-частиц с загрязненной поверхности | ||
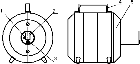
Общий вид и место пломбирования спектрометров представлены на рисунках 1 и 2.
Рис. 1. Общий вид спектрометров МКС-АТ6102

Спектрометр МКС-АТ6102, МКС-АТ6102А, МКС-АТ6102В:
1 - пломба; 2 - этикетка смаркировкой
\ \4
\ б
Блоки детектирования БДПА-01, БДПБ-01:
1 - крышка; 2- корпус БД; 3 - соединитель; 4 -пломба; 5 - шильдик


Блок детектирования БДКН-03:
1 - пломба; 2- шильдик; 3 - соединитель; 4 - ручка; 5 - корпус БД; 6 - метка для градуировки
Рис. 2 Место пломбирования от несанкционированного доступа
Таблица 4
|
Наименование |
Количество |
Примечание | |||||||||||||||||||||||||||||||||||||||||||||||||||||||||||||||||||||||||||||||||||||||||||||||||||||||||||||||||||||||||||||||||||||||||||||||||||||||||||||||||
|
Спектрометр МКС-АТ6102 | |||||||||||||||||||||||||||||||||||||||||||||||||||||||||||||||||||||||||||||||||||||||||||||||||||||||||||||||||||||||||||||||||||||||||||||||||||||||||||||||||||
|
Спектрометр МКС-АТ6102 |
1 | ||||||||||||||||||||||||||||||||||||||||||||||||||||||||||||||||||||||||||||||||||||||||||||||||||||||||||||||||||||||||||||||||||||||||||||||||||||||||||||||||||
|
Руководство по эксплуатации |
1 |
Содержит раздел « Основные технические характеристики спектрометров приведены в таблице 3. Таблица 3
| |||||||||||||||||||||||||||||||||||||||||||||||||||||||||||||||||||||||||||||||||||||||||||||||||||||||||||||||||||||||||||||||||||||||||||||||||||||||||||||||||

