Номер по Госреестру СИ: 73355-18
73355-18 Весы неавтоматического действия
(Combics High Resolution)
Назначение средства измерений:
Весы неавтоматического действия Combics High Resolution (далее - весы) предназначены для измерений массы при статическом взвешивании различных веществ и материалов.

Внешний вид.
Весы неавтоматического действия
Рисунок № 1

Внешний вид.
Весы неавтоматического действия
Рисунок № 2

Внешний вид.
Весы неавтоматического действия
Рисунок № 3

Внешний вид.
Весы неавтоматического действия
Рисунок № 4

Внешний вид.
Весы неавтоматического действия
Рисунок № 5

Внешний вид.
Весы неавтоматического действия
Рисунок № 6

Внешний вид.
Весы неавтоматического действия
Рисунок № 7

Внешний вид.
Весы неавтоматического действия
Рисунок № 8
Программное обеспечение
Весы оснащены встроенным программным обеспечением (далее - ПО). Программное обеспечение весов заложено в микроконтроллере весов и модуле терминала в процессе производства и защищено от доступа и изменения. Изменение ПО невозможно без применения специализированного оборудования производителя. Версии ПО высвечиваются при обращении к одноименному подпункту меню весов.
Программное обеспечение имеют взвешивающий модуль (основные функции - передача и обработка сигнала с весоизмерительного устройства, и последующий пересчет его в единицы массы, хранение данных юстировки) и модуль терминала (метрологически значимые функции -вывод данных на дисплей и передача на периферийные устройства). Метрологически незначимая часть ПО модуля терминала содержит информацию о количестве прикладных программ в режиме работы, не связанном со взвешиванием, о порядковом номере и (или) годе выпуска.
Идентификационные данные метрологически значимой части программного обеспечения (в таблице - ПО).
Таблица 1 - Идентификационные данные ПО
Идентификационные данные (признаки) |
Значение для ПО | |
взвешивающего модуля |
модуля терминала | |
Идентификационное наименование ПО |
- |
- |
Номер версии (идентификационный номер), не ниже |
00-42-ХХ |
01-61-ХХ |
Цифровой идентификатор |
- |
- |
Уровень защиты программного обеспечения «высокий» в соответствии с Р 50.2.077-2014.
Конструкция весов исключает возможность несанкционированного влияния на ПО и измерительную информацию.
Знак утверждения типа
Знак утверждения типананосится на титульный лист Руководства по эксплуатации типографским способом.
Сведения о методиках измерений
Сведения о методиках (методах) измерений
приведены в эксплуатационном документе.
Нормативные и технические документы
Нормативные и технические документы, устанавливающие требования к весам неавтоматического действия Combics High Resolution
ГОСТ 8.021-2015 Государственная система обеспечения единства измерений. Государственная поверочная схема для средств измерений массы
ГОСТ OIML R 76-1-2011 Государственная система обеспечения единства измерений. Весы неавтоматического действия. Часть 1. Метрологические и технические требования. Испытания
Техническая документация фирмы «Minebea Intec Bovenden GmbH & Co. KG», Германия
Поверка
Поверкаосуществляется по Приложению ДА ГОСТ OIML R 76-1-2011 «Государственная система обеспечения единства измерений. Весы неавтоматического действия. Часть 1. Метрологические и технические требования. Испытания».
Основные средства поверки:
Рабочие эталоны второго, третьего разряда по ГОСТ 8.021-2015.
Допускается применение аналогичных средств поверки, обеспечивающих определение метрологических характеристик поверяемых СИ с требуемой точностью
Знак поверки наносится на переднюю панель дисплейного модуля в соответствии с рисунками 1 а-1 б.
Изготовитель
Фирма «Minebea Intec Bovenden GmbH & Co. KG», Германия
Адрес: Leinetal 2, 37120 Bovenden, Germany
Телефон / факс: (925) 163-59-17
E-mail: main@minebea-intec.com
W eb-сайт: https://www.minebea-intec.com
Заявитель
ОБЩЕСТВО С ОГРАНИЧЕННОЙ ОТВЕТСТВЕННОСТЬЮ «Минебеа Интек РУС» (ООО «Минебеа Интек РУС»)
ИНН 7840073134
Адрес: 196084, г. Санкт-Петербург, ул. Киевская, д.6, корп.1, литер Б, пом. 40-Н
Телефон / факс: (812) 655-64-44
E-mail: russia@minebea-intec.com
W eb-сайт: https://www.minebea-intec.com
Испытательный центр
Федеральное государственное унитарное предприятие «Уральский научноисследовательский институт метрологии»Адрес: 620000, г. Екатеринбург, ул. Красноармейская, 4
Телефон: (343) 350-26-18, факс: (343) 350-20-39
Е-mail: uniim@uniim.ru
Конструктивно весы состоят из взвешивающего модуля и модуля терминала.
Принцип действия весов основан на измерении массы методом преобразования измеряемой величины (массы) в другую измеряемую величину (выходной сигнал) с учетом влияния силы тяжести и выталкивающей силы воздуха, действующих на взвешиваемый объект.
Результат взвешивания выводится на модуль терминала, оснащенный жидкокристаллическим дисплеем. Весы имеют верхнее расположение грузоприемной платформы.
Весы оснащены следующими дополнительными устройствами (указанными ниже в соответствии с ГОСТ OIML R 76-1-2011):
устройством установки по уровню (Т.2.7.1);
устройствами установки нуля (Т.2.7.2): полуавтоматическим устройством установки нуля (Т.2.7.2.2);
автоматическим устройством установки нуля (Т.2.7.2.3); устройством первоначальной установки нуля (Т.2.7.2.4);
устройством слежения за нулем (может быть отключено) (Т.2.7.3); устройствами тарирования (Т.2.7.4);
устройством уравновешивания тары (Т.2.7.4.1);
совмещённым устройством установки нуля и уравновешивания тары (4.6.9);
цифровым показывающим устройством с отличающимся делением (Т.2.5.4). Дополнительно весы оснащены следующими функциями: несбрасываемым счетчиком проведенных юстировок (4.1.2.4);
устройством полуавтоматической юстировки (при выборе соответствующего подпункта меню) (4.1.2.5).
Весы оснащаются интерфейсом RS232C для передачи данных и автоматического протоколирования. Опционально весы могут оснащаться следующими интерфейсами: RS485, RS422, аналоговый выход 0-20 mA, цифровые интерфейсы с оптической изоляцией, Profibus-DP, digital E|A, Ethernet TCP|IP, Modbus TCP.
Модули терминала выпускаются в разных модификациях, отличающихся исполнением дисплея, исполнением корпуса модуля, наличием прикладных программ, не связанных со взвешиванием. Обозначение модели модуля терминала складывается из следующих позиций:
CAX1 X2, где
X1 - буквенное обозначение варианта исполнения корпуса:
§ S - влаго-пылезащищенное исполнение,
§ Н - пылезащищенное исполнение,
X2 - вариант исполнения дисплея и наличие прикладных программ: § 1 - жидкокристаллический дисплей, без прикладных программ;
§ 3 - матричный дисплей с подсветкой, с прикладными программами.
Режимы работы (прикладные программы), не связанные со взвешиванием (4.20):
- суммирование;
- вычисление процентных соотношений;
- статистическая обработка;
- контрольное взвешивание;
- сортировка;
- усреднение;
- идентификация;
- учет даты, времени.
Весы выпускаются в разных модификациях, отличающихся метрологическими и
техническими характеристиками.
Общий вид весов представлен на рисунках 1а-1г.

Рисунок 1а - модули терминала CAS1, Рисунок 1б- модули терминала CAS3, CAH3 CAH1


Рисунок 1в - взвешивающие модули
E-16ED - HCE, E - 34ED - HCE,
G - 34ED - HCE, E - 64ED - SCE,
G - 64ED - SCE, G - 64FE - SCE
Рисунок 1 г - взвешивающие модули
G - 150IG - HCE, G - 300IG - HCE
Места нанесения поверительного клейма (знака поверки в виде наклейки) обозначены стрелками.
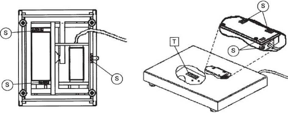
Идентификационные маркировки и защитные пломбы
Маркировка весов реализована с использованием маркировочной таблички и/или маркировочного шильдика и защитной пломбы расположенных на взвешивающем модуле.
Схема нанесения идентификационных маркировок и защитных пломб на весы показана на рисунках 2а-2г.

Рисунок 2а - модуль терминала

Рисунок 26 - взвешивающие модули 16ED - НСЕ, 34ED - НСЕ, 64ED - SCE, 64FE - SCE

Рисунок 2в - взвешивающие модули 150IG - НСЕ, 300IG - НСЕ

Рисунок 2г - Соединительный разъем между взвешивающим модулем и модулем терминала

S | - защитная пломба.
Т - маркировочная табличка
На маркировочной табличке указана следующая информация:
-
- название производителя;
-
- наименование модели;
-
- заводской номер;
-
- класс точности.
Таблица 2 - Метрологические характеристики
Наименование характеристики |
Значение характеристики для модификации | |||||
CAS1E-16ED-HCE, CAS3E-16ED-HCE |
CAS1E-34ED-HCE, CAS3E-34ED-HCE |
CAS1E-64ED-SCE, CAS3E-64ED-SCE |
CAH1G-64FE-SCE, CAH3G-64FE-SCE, CAS1G-64FE-SCE, CAS3G-64FE-HCE |
CAH1G-150IG-HCE, CAH3G-150IG-HCE, CAS1G-150IG-HCE, CAS3G-150IG-HCE |
CAH1G-300IG-HCE, CAH3G-300IG-HCE, CAS1G-300IG-HCE, CAS3G-300IG-HCE | |
Класс точности по ГОСТ OIML R 76-1-2011 |
II | |||||
Максимальная нагрузка Мах, г |
16000 |
34000 |
64000 |
64000 |
150000 |
300000 |
Поверочный интервал, е, г |
1 |
1 |
10 |
10 |
10 |
20 |
Действительная цена деления d, г |
0,1 |
0,1 |
1 |
1 |
1 |
20 |
Число поверочных делений, n |
16000 |
34000 |
6400 |
6400 |
15000 |
15000 |
Пределы допускаемой погрешности при первичной поверке (в эксплуатации) в интервалах нагрузки, выраженной в поверочных интервалах весов согласно 3.5.1 ГОСТ OIML R 76-1-2011 до 5000 е включ. св. 5000 е до 20000 е включ. св. 20000 е до Max включ. |
± 0,5е (± 1 е) ± 1,0 е (± 2 е) ± 1,5 е (± 3 е) | |||||
Диапазон уравновешивания и предварительного задания массы тары |
от 0 до Мах | |||||
Температуры эксплуатации, °С (3.9.2.2 ГОСТ OIML R 76-1-2011) |
от +10 до +30 | |||||
Минимальная нагрузка Мт, г |
5 |
5 50 |
50 50 |
1000 |
Таблица 3 - Основные технические характеристики
Наименование характеристики |
Значение характеристики для модификации | |||||
CAS1E-16ED-HCE, CAS3E-16ED-HCE |
CAS1E-34ED-HCE, CAS3E-34ED-HCE |
CAS1E-64ED-SCE, CAS3E-64ED-SCE |
CAH1G-64FE-SCE, CAH3G-64FE-SCE, CAS1G-64FE-SCE, CAS3G-64FE-HCE |
CAH1G-150IG-HCE, CAH3G-150IG-HCE, CAS1G-150IG-HCE, CAS3G-150IG-HCE |
CAH1G-300IG-HCE, CAH3G-300IG-HCE, CAS1G-300IG-HCE, CAS3G-300IG-HCE | |
Габаритные размеры грузоприемной платформы, мм, не более: | ||||||
-длина |
400 |
400 |
400 |
560 |
800 |
800 |
-ширина |
300 |
300 |
300 |
450 |
600 |
600 |
Габаритные размеры модуля терминала, мм, не более: | ||||||
- длина |
302 | |||||
- ширина |
200 | |||||
-высота |
100 | |||||
Масса, кг, не более |
18 |
18 |
18 |
32 |
72 |
72 |
Параметры электрического питания: | ||||||
- напряжение переменного тока, В |
от 100 до 240 | |||||
- частота переменного тока, Гц |
50/60 | |||||
Потребляемая мощность, Вт, не более |
17 |
лист № 7 всего листов 8