Методика поверки «Прибор УОСГ-1РГ» (014.00.00.000 РЭ)
Научно-производственный центр СКПнефть

УТВЕРЖДАЮ
УТВЕРЖДАЮ
раздел «Методы и средства поверки» Руководитель ГЦИ СИ-и.о. директора ФГУ11 ВНИИР
Главный инженер ООО НПЦ «СКПнефть»
б.А. Баринов
« -<? » 20 г.
В.Г. Соловьев 20//г.
< "А-
О Ъ! *
, ■' ' •■■'■■/ I.» Г-'
ПРИБОР УОСГ-1РГРуководство по эксплуатации
014.00.00.000 РЭ
2011 г.
Настоящий паспорт предназначен для изучения состава и принципа действия прибора УОСГ - 1 РГ (в дальнейшем «прибор»), а также указывает порядок монтажа, регулировки и технического обслуживания.
При работе с прибором необходимо дополнительно пользоваться аттестованными методиками измерений содержания растворенного газа в нефти.
1. Назначение прибора-
1.1. Прибор предназначен для измерения содержания растворенного газа в нефти.
-
1.2. Прибор обеспечивает герметичный отбор пробы нефти, создание заданного соотношения фаз, приведение системы «нефть-газ» в термодинамическое равновесие с контролем давления в ней.
-
1.3. Прибор применяется при определении дебита скважины по газу и поправок в массу нефти на наличие растворенного газа.
-
1.4. Исследования с применением прибора могут проводиться в промысловых и лабораторных условиях.
|
2.1. Диапазон измерения давления в пробоотборной камере, МПа |
от 0 до 6,0. |
2.2. Пределы абсолютной погрешности измерения дав-
|
ления, МПа |
± 0,04. |
2.3. Диапазон измерения изменения вместимости пробо-
|
отборной камеры, мл |
0...130. |
2.4. Пределы абсолютной погрешности при определении вместимости пробоотборной камеры, мл, в диапазонах:
|
от 0 до 50 свыше 50 до 130 2.5. Объем дозировочного отсека пробоотборной каме ры, мл |
± 0,5 ± 1,0. 5. |
2.6. Максимальное давление в подводящем трубопрово-
|
де, МПа
|
6,0. 10...80. |
|
- температура окружающей среды, °С |
минус 20 плюс 40. |
|
- относительная влажность, %, не более
высота ширина
|
95. 10. 450; 400; 250. нефть и нефтепродукты. |
Прибор УОСГ - 1 РГ.
Руководство по эксплуатации 014.00.00.000 РЭ.
Рукав высокого давления.
Переходник.
Комплект резиновых колец по ГОСТ 9833.
4. Устройство и принцип действия-
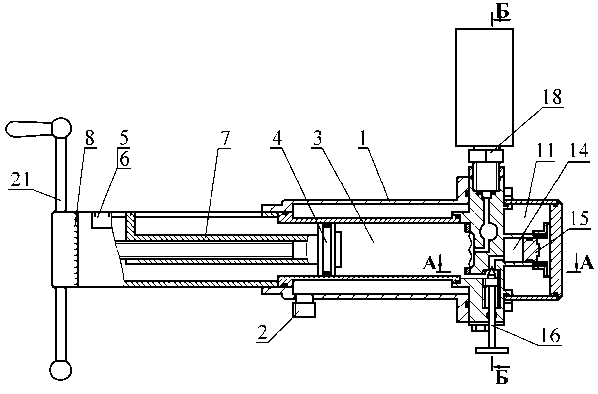
4.1. Прибор функционально состоит из измерительного блока, узла пресса и узла турбулизации (рис. 1).
-
4.1.1. Измерительный блок включает в себя: корпус (1), служащий термо-статирующей рубашкой и снабженный двумя штуцерами (2, 17) для подключения к трубопроводу; пробоотборную камеру (3) с дозировочным отсеком (14); заполненный жидкостью манометрический узел (18), снабженный эластичным разделителем (22) и компенсационным поршнем (19); пробоотборный (9) и перепускной (16) вентили, а также кран (10).
-
4.1.2. Узел пресса имеет поршень (4), винтовую пару (7), рукоятку (21), лимб (8), две линейные шкалы, одна из которых (5) показывает текущий объем измерительной камеры, а другая (6) соотношение объемов газовой и жидкой фаз в ней.
-
4.1.3. Узел турбулизации состоит из газовой камеры (11), заполненной под давлением, не ниже 1,2 МПа, азотом, запорного крана (12) и подвижного поршня (15).
-
-
4.2. Для крепления к трубопроводу прибор снабжен специальной проушиной (20).
-
4.3. Принцип действия основан на герметичном отборе пробы нефти, создании заданного соотношения фаз «нефть - газ», приведении этой системы, путем турбулизации, в термодинамическое равновесие с поддержанием требуемой температуры и регистрацией давления.
-
5.1. К работе с прибором допускаются лица, знакомые с его устройством и правилами эксплуатации.
-
5.2. Запрещается работать с прибором при неисправных вентилях в местах подключения к трубопроводу.
-
5.3. Отсоединение и разборка прибора производится только после сброса давления и слива жидкости из системы при закрытых вентилях на пробоотборных патрубках.
-
5.4. Запрещается повышать давление в камерах выше 6 МПа.
-
5.5. При эксплуатации прибора должны соблюдаться «Правила безопасности в нефтегазодобывающей промышленности».
-
5.6. Скорость движения воздуха и содержание вредных веществ в воздухе рабочей зоны должны соответствовать требованиям ГОСТ 12.1.005.


Б - Б

Рис. 1
6. Подготовка прибора к работе-
6.1. Распаковка, проверка комплектности и герметичности узлов.
-
6.1.1. Перед распаковкой необходимо убедиться в исправности тары. При обнаружении повреждений составляется акт, и предъявляются рекламации транспортным организациям.
-
6.1.2. После распаковки проверить комплектность, состояние узлов и давление в газовой камере. Для этого в пробоотборную камеру отбирается вода, и при закрытом вентиле (9) и открытом вентиле (16) производится перемещение поршня (4). Давление, при котором происходит перемещение поршня, должно быть не ниже 1,2 МПа. При обнаружении неукомплектованности или дефекта составляется акт и предъявляются рекламации предприятию-изготовителю.
-
-
6.2. Подготовка к промысловым исследованиям
-
6.2.1. В промысловых условиях, для подключения прибора к трубопроводу, необходимо до и после секущей задвижки (см. рис. 2) врезать патрубки с пробоотборными кранами Dy 16, приварить гайку М 12 и ввернуть в нее шпильку.
-
6.2.2. При подключении прибора к трубопроводу штуцер (17) (см. рис. 1) ввернуть в пробоотборный кран, расположенный по направлению потока до секущей задвижки, к штуцеру (2) подсоединить шланг высокого давления, который подключается через переходный штуцер к пробоотборному крану, расположенному после задвижки, а проушину (20) с помощью двух гаек прикрепить к шпильке.
-
6.2.3. Открыть пробоотборные краны, затем, после 1 мин выдержки, открыть вентиль (9) (см. рис. 1) на приборе, перемещением поршня (4) отобрать в пробоотборную камеру нефть, закрыть вентиль (9), поднять давление до 4 МПа, закрыть пробоотборные краны и дать выдержку 30 мин.
-
6.2.4. Открыть пробоотборные краны и наблюдать за давлением. Если температура потока ниже температуры окружающей среды, то давление начнет опускаться, а если выше, то давление будет подниматься. В случае отсутствия циркуляции необходимо прикрыть секущую задвижку.
-
6.2.5. После установления циркуляции, открыть вентиль (9), довести поршень (4) вправо до упора (см. рис. 1), закрыть вентиль (9), отвести поршень влево на три оборота лимба (8), открыть кран (10) и сделать выдержку.
-
6.2.6. По истечении одной минуты, вращением микроштурвала, установить компенсационный поршень (19) (см. рис. 1, Б - Б) в положение, когда вращение микроштурвала по часовой стрелке вызовет перемещение стрелки в сторону повышения давления на одно малое деление.
-
6.2.7. Отвести компенсационный поршень (19) вниз на полоборота микроштурвала против часовой стрелки и закрыть кран (10). При этом стрелка манометра должна установиться на нулевую отметку. Если не установилась, то винтом откорректировать положение шкалы манометра.
-
6.3. Подготовка к лабораторным исследованиям
-
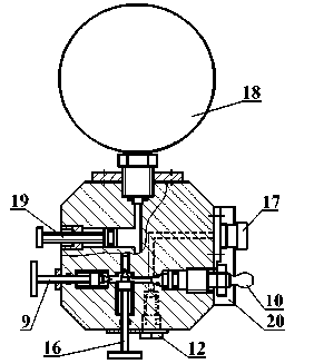
6.3.1. Установить прибор на подставках (2, 3) (см. рис. 3), подключить к нему термостат (5) и установить требуемую температуру.
-
6.3.2. Привести поршень (4) (см. рис. 1) в крайнее правое положение, открыть кран (10), сделать выдержку и проделать операции по п.п. 6.2.6, 6.2.7.
-
6.3.3. Подсоединить к крану (10) пробоотборник.
В исходном состоянии поршень (4) находится в крайнем правом положении, вентили (9, 16) и кран (10) закрыты (рис. 1).
-
7.1. Работа в промысловых условиях
-
7.1.1. Открыть вентиль (9), отвести поршень (4) влево на объем 10 мл, отобрав тем самым из термостатирующей рубашки (1) в пробоотборную камеру (3) нефть и закрыть вентиль (9) (см. рис. 1).
-
7.1.2. Открыть вентиль (16), перемещением поршня (4) вправо произвести
-
заполнение дозировочного отсека (14), о чем будет свидетельствовать подъем давления в пробоотборной камере до 1,8 2,0 МПа.
Схема подключения прибора к трубопроводу(вид сверху)
1 - прибор УОСГ - 1 РГ; 2 - гибкий рукав высокого давления;
3 - трубопровод; 4 - секущая задвижка; 5 - пробоотборные краны; 6 - шпилька М 12; 7 - входной и выходной штуцера; 8 - гайка М 12.

А - А



Рис. 3
-
7.1.3. Закрыть вентиль (16), открыть вентиль (9), перевести поршень (4) в крайнее правое положение, вытеснив остатки нефти из пробоотборной камеры (3) в термостатирующую рубашку (1).
-
7.1.4. Закрыть вентиль (9), отвести поршень (4) в положение, соответствующее требуемому соотношению фаз, открыть вентиль (16), при этом нефть, турбулизируясь, перейдет из дозировочного отсека (14) в пробоотборную камеру (3), и снять показание давления по манометру (18).
-
7.1.5. Операции по п.п. 7.1.1, 7.1.2, 7.1.3, 7.1.4 повторяют до тех пор, пока давление в пробоотборной камере (3) максимально не приблизится к заданной величине.
-
7.2. Работа в лаборатории (см. рис. 1)
-
7.2.1. Открыть кран (10) и вентиль (16), с помощью пробоотборника (4) (см.рис.3) заполнить дозировочный отсек (14), закрыть кран (10) и вентиль (16).
-
7.2.2. Отвести поршень (4) в положение, соответствующее требуемому соотношению фаз, открыть вентиль (16), при этом нефть, турбулизируясь, перейдет из дозировочного отсека (14) в пробоотборную камеру (3), снять показание давления по манометру (18).
-
7.2.3. Открыть кран (10), переключить трехходовой кран (6) (см. рис. 3) на слив, перемещением поршня (4) вытеснить нефть из пробоотборной камеры и переключить трехходовой кран на пробоотборник.
-
7.2.4. Операции по п.п. 7.2.1, 7.2.2, 7.2.3 повторяют до тех пор, пока давление максимально не приблизится к заданной величине.
-
-
8.1. Техническое обслуживание производится один раз в месяц, а также в случаях необходимости, вызванной отсутствием герметичности, поломками, загрязнениями и другими причинами.
-
8.2. Виды и содержание обслуживания приведены в таблице 8.1.
Таблица 8.1
|
Виды обслуживания |
Содержание обслуживания |
|
1 |
2 |
|
1. Профилактический внешний осмотр |
Проверка целостности узлов. Проверка величины давления в газовой камере. Она соответствует давлению в пробоотборной камере в момент начала заполнения дозировочного отсека. Проверка плавности хода поршня. |
|
2. Проверка герметичности узлов |
Проверка производится путем заполнения пробоотборной камеры рабочей жидкостью, сжатия ее до 6,0 МПа, выдержкой 15 мин, и контроля в последующие 3 мин падения давления. Оно не должно превышать 0,1 МПа. |
|
3. Проверка заполнения манометрического узла |
Проверка производится выполнением п. 6.2.6. |
-
9.1. Транспортирование и хранение прибора производится в специальном ящике.
-
9.2. Упакованные приборы могут транспортироваться всеми видами транспорта при обеспечении надежного крепления.
-
9.3. Приборы должны храниться в смазанном виде в сухом закрытом помещении, воздух которого не содержит агрессивных веществ. Вариант временной противокоррозионной защиты В 3 - 4.
-
9.4. Перед упаковкой прибора на длительное время (1 месяц и более) хранения должна быть произведена его консервация по ГОСТ 9.014 группы изделий П - 2.
Настоящий раздел устанавливает методику первичной и периодической поверок прибора УОСГ (УОСГ-100 СКП, УОСГ-1РГ, УОСГ-СКП).
Интервал между поверками 1 год.
10.1. Операции поверкиПри проведении поверки должны быть выполнены операции, приведен-
ные в таблице 10.1.
Таблица 10.1
|
Наименование операции |
Номер пункта |
Проведение операции при | |
|
первичной поверке |
периодической поверке | ||
|
Внешний осмотр |
п.10.7.1 |
Да |
Да |
|
Определение абсолютной погрешности при измерении изменения вместимости пробоотборной камеры |
п.10.7.2 |
Да |
Нет |
|
Определение абсолютной погрешности при измерении давления |
п.10.7.3 |
Да |
Да |
10.2. Средства поверки
10.2.1. При проведении поверки должны применяться средства измерений, устройства и материалы, указанные в табл. 10.2.
Таблица 10.2
|
Номер пункта методики |
Наименование средства поверки |
|
п. 10.7.2 п. 10.7.3 п. 10.7.2 п. 10.7.2 п. 10.7.2 п. 10.7.3 п. 10.6 |
|
-
10.2.2. Допускается применение других средств поверки с аналогичными или лучшими техническими характеристиками.
-
10.2.3. Все применяемые средства измерения должны быть поверены и иметь действующие свидетельства о поверке или оттиски поверительных клейм.
К выполнению измерений при поверке допускаются лица, изучившие документацию на прибор УОСГ и применяемые средства поверки, настоящую методику и имеющие квалификацию поверителя.
10.4. Требования безопасности-
10.4.1. При проведении поверки должны соблюдаться меры безопасности, изложенные в разделе 7 паспорта прибора.
-
10.4.2. При работе с промывочными жидкостями необходимо соблюдать правила техники безопасности для работников химлабораторий, правила безопасной работы с ЛВЖ, лабораторным электрооборудованием и применять средства защиты по типовым отраслевым нормам.
-
10.4.3. Влажность, скорость движения воздуха и содержание вредных веществ в воздухе рабочей зоны должны соответствовать требованиям ГОСТ 12.1.005.
-
10.4.4. Помещения, в которых проводятся исследования, должны быть оборудованы приточно-вытяжной вентиляцией, освещением и средствами пожаротушения в соответствии с ГОСТ 12.4.009.
-
10.4.5. Должна быть проверена работоспособность всех используемых средств измерений и вспомогательного оборудования согласно их паспортам и инструкциям по эксплуатации.
При проведении поверки должны соблюдаться следующие условия:
- температура окружающей среды, °С 20 ± 5;
- температура поверочной жидкости, °С 20 ± 5;
10.6. Подготовка к поверкеПеред проведением поверки выполняют следующие подготовительные операции.
-
10.6.1. Прибор УОСГ (далее - прибор) устанавливают на специальной подставке (Рис. 3).
-
10.6.2. Промывают и высушивают пробоотборную камеру прибора.
Подставка

Вид сверху

-
10.7.1. Внешний осмотр.
При проведении внешнего осмотра должно быть установлено:
- соответствие комплектности прибора его техническому паспорту и отсутствие внешних повреждений;
- сохранность надписей и обозначений.
-
10.7.2. Определение абсолютной погрешности при измерении изменения вместимости пробоотборной камеры.
-
10.7.2.1. Отсоединить манометрический узел, ввернуть в него вместо пробки штуцер, установить прибор в вертикальное положение, заполнить пробоотборную камеру водой и подсоединить манометрический узел к пробоотборной камере.
-
10.7.2.2. Переместить плунжер на исходную отметку, взвесить колбу (Мо) и подставить ее под штуцер для сбора воды.
-
10.7.2.3. Перемещением плунжера последовательно вытеснять воду из прибора в колбу. При достижении плунжером отметок по шкале прибора, соответствующих верхним и нижним пределам в имеющихся диапазонах (таблица 10.3) измерения, взвешивать колбу с водой (Mi) и результаты измерений занести в таблицу 10.4 протокола поверки.
-
10.7.2.4. Плавным перемещением плунжера довести его до исходного положения.
-
10.7.2.5. Вычислить абсолютную погрешность Ai при измерении изменения вместимости пробоотборной камеры
Ai=Vi - (Mi - Moi) / Гв (1)
где: Vi - объемы вытесненной воды по линейной шкале и лимбу прибора на соответствующих отметках шкалы прибора, см3;
М i - масса колбы с соответствующим объемом вытесненной воды, г;
Гв - плотность дистиллированной воды, принимают равным 1 г/см3.
-
10.7.2.6. Результаты вычислений занести в таблицу 10.4 протокола поверки.
-
10.7.2.7. Наибольшее из вычисленных по формуле (1) значений погрешности не должно превышать нормируемой величины, приведенной в таблице 10.3.
Таблица 10.3
|
Диапазон измерений, 10-6 м3 |
Пределы абсолютной погрешности при измерении изменения вместимости пробоотборной камеры для моделей, 10-6 м3 | ||
|
УОСГ-100 СКП |
УОСГ-1РГ |
УОСГ-СКП | |
|
от 0 до 10 (включительно) свыше 10 до 30 (включительно) |
± 0,2 ± 0,4 | ||
|
от 0 до 50 (включительно) свыше 50 до 130 |
'П О. o' +1 +1 | ||
|
от 0 до 20 (включительно) свыше 20 до 100 (включительно) свыше 100 до 200 (включительно) |
± 0,5 ± 1,0 ± 2,0 | ||
-
10.7.3. Определение абсолютной погрешности при измерении давления
-
10.7.3.1. После проведения операций по п.10.7.2.1, вывернуть штуцер и подсоединить вместо него через шланг высокого давления эталонный манометр.
-
10.7.3.2. Перемещением плунжера поднимать давление с нулевого значения до максимального с интервалом 1,0 МПа. Затем опускать давление с максимального значения до нулевого с интервалом 1,0 МПа, сравнивая показания прибора с показаниями эталонного манометра. Время выдержки на каждой поверяемой отметке не менее 1 мин.
-
10.7.3.3. Вычислить абсолютную погрешность APi при измерении давления в каждой поверяемой точке по формуле
А pi= Ppi - Poi (2)
где: Ppi - показания поверяемого прибора в i -той точке, МПа; Poi - показания эталонного манометра в i -той точке, МПа.
-
10.7.3.4. Результаты измерений занести в таблицу 2 протокола поверки.
-
10.7.3.5. Наибольшее из вычисленных по формуле (2) значений погрешности не должно превышать ±0,1 МПа.
-
10.7.3.6. Форма протокола поверки приведена ниже.
ПРОТОКОЛ поверки прибора УОСГ
Модель прибора ________________________________________________________________________
Заводской номер, год выпуска _____________________________________________________________
Владелец, ИНН___________________________________________________________________________
Место проведения поверки ________________________________________________________________
Методика поверки, эталонное средство ______________________________________________________
Условия проведения поверки: температура _______0С; влажность _______ %; давление ________ кПа
1. Определение абсолютной погрешности при измерении изменения вме-
стимости пробоотборной камеры
Таблица 10.4
|
№ п/п |
Масса пустой колбы, М0 |
Масса колбы с водой, Mi |
Объем вытесненной воды (Mi - Mo) / Гв |
Объем вытесненной воды (по линейной шкале и лимбу прибора), см3 Vi |
Абсолютная погрешность при измерении изменения вмести- 3 мости, см Д vi |
|
1 |
2 |
3 |
4 |
5 |
6 |
2. Определение абсолютной погрешности при измерении давления Таблица 10.5
|
№ п/п |
Показание эталонного манометра, МПа Роi |
Показание рабочего манометра, МПа Р |
Абсолютная погрешность при измерении давления, МПа Д Pi |
|
1 |
2 |
3 |
4 |
|
1 2 3 |
-
10.8.1. При положительных результатах поверки прибор признают годным к применению и на него выдают свидетельство и протокол поверки установленной формы по ПР 50.2.006-94.
-
10.8.2. При отрицательных результатах поверки прибор к применению не допускают, свидетельство аннулируют и выдают извещение о непригодности с указанием причин по ПР 50.2.006-94.
Прибор УОСГ - 1 РГ , заводской номер___________в комплекте с манометром типа МТИ заводской номер ____________ соответствует техническим
условиям и признан годным для эксплуатации.
Дата выпуска__________________
М.П. Подписи лиц, ответственных за приемку
12. Консервация, упаковка и хранение-
12.1. Приборы должны храниться в смазанном виде в сухом закрытом помещении при температуре окружающего воздуха от минус 500С до плюс 500С. Вариант временной противокоррозионной защиты В3 - 4.
-
12.2. При упаковке и перед постановкой приборов на хранение (1 месяц и более) они должны быть законсервированы по ГОСТ 9.014, группы изделий П - 2.
-
12.3. Перед упаковкой входные и выходные отверстия измерительной камеры и термостатирующих рубашек приборов должны быть заглушены.
-
12.4. Упакованные в ящики приборы могут транспортироваться всеми видами транспорта при обеспечении надлежащего крепления тары.
Прибор УОСГ - 1 РГ , заводской номер____________упакован согласно
требованиям, предусмотренным техническими условиями.
Дата упаковки ____________________
М.П. Упаковку произвел ________________
14. Гарантии изготовителя-
14.1. Предприятие-изготовитель гарантирует соответствие приборов требованиям технических условий при соблюдении условий эксплуатации, транспортирования, хранения и монтажа, изложенных в настоящем паспорте.
-
14.2. Срок гарантии устанавливается 12 месяцев со дня ввода приборов в эксплуатацию, но не более 18 месяцев со дня отгрузки потребителю.
Гарантийные права потребителя признаются в течение указанного срока, если он выполняет все требования по транспортировке, хранению и эксплуатации приборов.
-
14.3. Предприятие-изготовитель оставляет за собой право на изменение конструкции, не влияющей на метрологические характеристики приборов, без коррекции эксплуатационно-технической документации.
-
15.1. При обнаружении повреждений тары потребитель должен составить акт и обратиться в надлежащем порядке к транспортной организации, доставившей приборы.
-
15.2. При обнаружении несоответствия приборов требованиям, предусмотренным паспортом, потребитель должен составить акт и обратиться на предприятие-изготовитель.
Акт с указанием точного адреса и номера телефона потребителя высылается в адрес предприятия-изготовителя:
450104, РБ, г. Уфа, ул. Российская, 33/4, офис №7
Телефон/факс: (347) 233 - 11 - 64
16. Сведения о ремонте изделия-
16.1. В зависимости от особенностей, степени повреждения и износа изделий и их составных частей, а также трудоемкости ремонтных работ, производят следующие виды ремонта: текущий (малый), средний.
-
16.2. Текущий ремонт выполняют силами эксплуатационного персонала и (или) ремонтными службами на месте эксплуатации изделия по эксплуатационной документации.
-
16.3. Средний ремонт производит предприятие-изготовитель по действующей технологии изготовления и сборки.
заводской номер _____________
|
Дата поверки |
Наименование поверочного органа |
Заключение о повер ке |
Подпись поверителя. Оттиск поверитель-ного клейма |
Эксплуатационный лист
|
Дата изготовления |
Вид технического обслуживания |
Наработка |
Поверка | ||
|
после посл. ре монта |
с начала эксплуа тации |
Дата |
Срок поверки | ||
Лист регистрации изменений
|
2 § |
Номера листов (страниц) |
Всего листов (страниц) в документе |
№ документа |
Входящий № сопроводитель-ного документа и дата |
Подпись |
св Й | |||
|
изменен ных |
заменен ных |
новых |
аннулированных | ||||||
17
