Руководство по эксплуатации «Комплекты термометров сопротивления из платины технических разностных КТПТР-01, КТПТР-03, КТПТР-06, КТПТР-07, КТПТР-08» (EMTK.07.0000.00 РЭ)
Закрытое акционерное общество «ТЕРМИКО» ЗАО «ТЕРМИКО»
СОГЛАСОВАНО
Раздел 3 «Методика поверки»
Зам. руководителя ГЦИ СИ директор Центрального отделения
ФГУ «Менделеевский ЦСМ», _____________________С.Г. Рубайлов
«_____» ______ 2010 г.
УТВЕРЖДАЮ
Генеральный директор
ЗАО «ТЕРМИКО»
---В. М. М ер кул о в «_______» . 2010 г.
Комплекты термометров сопротивления из платины технических разностных КТПТР-01, КТПТР-03, КТПТР-06, КТПТР-07, КТПТР-08

Руководство по эксплуатации
ЕМТК.07.0000.00 РЭ
2010
СОДЕРЖАНИЕ
Приложение А Схемы соединения с чувствительными элементами
Приложение Б Габаритные размеры
Приложение В Способы установки термометров в трубопроводы
Настоящее руководство по эксплуатации (РЭ) предназначено для ознакомления с устройством, принципом работы и правилами эксплуатации комплектов термометров сопротивления из платины технических разностных КТПТР-01, КТПТР-03, КТПТР-06, КТПТР-07, КТПТР-08 (далее - комплект термометров).
РЭ содержит сведения об основных параметрах и характеристиках комплектов термометров, о приемке и гарантиях изготовителя.
-
1 ОПИСАНИЕ И РАБОТА
-
1.1 Назначение
-
Комплект термометров предназначен для измерения температуры и разности температур в составе теплосчетчиков и других приборов учета и контроля тепловой энергии в тепловых сетях промышленных предприятий и теплоснабжающих организаций.
-
1.2 Основные технические характеристики
-
1.2.1 Диапазон измеряемых температур t для:
-
КТПТР-01, КТПТР-03
и КТПТР-06, КТПТР-07, КТПТР-08
с длиной монтажной часта свыше 60 мм и
НСХ 10ОП, 500П, Pt 100, Pt500, Pt 1000 ................................ОТ О °C ДО 180 °C;
КТПТР-06, КТПТР-07, КТПТР-08
с длиной монтажной части до 60 мм и
НСХ 100П, Pt 100, PtSOO, Pt 1000 ................................. ОТ 0 °C ДО 130 °C.
1.2.2 Диапазон измерения разности температур At для:
КТПТР-01, КТПТР-03 и
КТПТР-06, КТПТР-07, КТПТР-08
с длиной монтажной часта свыше 60 мм и
НСХ 100П, 500П, Pt 100, PtSOO, Pt 1000 ...................................ОТ 0 °C ДО 180 °C;
КТПТР-06, КТПТР-07, КТПТР-08
с длиной монтажной части до 60 мм и
НСХ 100П, Pt 100, Pt500, Pt 1000 ...................................................ОТ 0 °C ДО 130 °C.
-
1.2.3 Номинальная статическая характеристика 100П; Pt 100;
термометров комплекта по ГОСТ Р 8.625-2006 500П; Pt 500;
1000П; Pt 1000.
-
1.2.4 Комплекты термометров соответствуют классам 1 или 2
а) Классы и допуски для каждого термометра комплекта по ГОСТ Р 8.625-2006:
-
- класс комплекта 1, класс термометров.........................АА
допуск термометров ........................±(0,1 + 0,0017t) °C;
-
- класс комплекта 2, класс термометров.........................А
допуск термометров........................± (0,15 + 0,0021) °C.
б) Допуск значений разности температур (At) для комплектов:
-
- класс комплекта 1 ......................................................+ (0,05 + 0,001 At) °C;
-
- класс комплекта 2.......................................................± (0,10 + 0,002At) °C.
-
1.2.5 Защитная арматура термометров рассчитана на условное давление Ру и выдерживает испытание на прочность пробным давлением Рпр (МПа).
КТПТР-01
ГУ
6,3
г лр
9,5
КТПТР-03
-
-
КТПТР-06, КТПТР-07, КТПТР-08
0,16
0,3
1.2.6 Номинальный измерительный ток для термометров комплекта:
-для НСХ 100П; Pt 100................................................... 1 мА;
- для НСХ 500П; Pt 500 ................................................... 0,2 мА;
-для НСХ 1000П; Pt 1000 ............................................... 0,1 мА.
Повышение сопротивления термометра, обусловленное самонагревом, не превышает 20 % допуска термометров.
Примечание - Для термометров с пленочными ЧЭ рекомендуемый ток выбирается из технической документации на ЧЭ.
-
1.2.7 Электрическое сопротивление изоляции между цепью чувствительного элемента термометра и защитной арматурой, не менее:
а) при температуре (25+10) °C и
относительной влажности от 30 % до 80 %........................100 МОм;
б) при температуре 200 °C................................................20 МОм.
-
1.2.8 Время термической реакции термометров комплекта, не более
для КТПТР-01 в зависимости от вида исполнения.....................10 с, 15с;
-
1.2.9 Защищенность от воздействия
пыли и влаги по ГОСТ 14254-96
для КТПТР-01, КТПТР-03, КТПТР-06, КТПТР-08
КТПТР-07
-
1.2.10 Устойчивость к механическим вибропрочный, виброустойчивый
воздействиям по ГОСТ Р 52931-2008
-
1.2.11 Масса (в зависимости от исполнения) от 0,075 до 0,440 кг.
-
1.2.12 Длина монтажной части..........................................от 35 до 400 мм.
(в зависимости от исполнения)
-
1.2.13 Условия эксплуатации по ГОСТ 15150-69 .................УЗ.
-
1.2.14 Вероятность безотказной работы за 24000ч.............Ра= 0,98.
-
1.2.15 Срок службы не менее...........................................12,5 лет.
-
1.3 Состав изделия
-
1.3.1 Комплект термометров по исполнению состоит из двух и более термометров, соответствующих ГОСТ Р 8.625-2006 и техническим условиям, приведенным в таблице 1.
-
Таблица 1
|
Модификация КТПТР |
Модификация термометров, входящих в комплект |
Номер технических условий на термометры |
|
КТПТР-01 |
ТПТ-1-3 |
ТУ 4211-010-17113168-2010 |
|
КТПТР-03 |
ЧЭПТ-3 |
ТУ 4211-900-17113168-95 |
|
КТПТР-06 |
ТПТ-19-1 |
ТУ 4211-010-17113168-2010 |
|
КТПТР-07 |
ТПТ-19-2 |
ТУ 4211-010-17113168-2010 |
|
КТПТР-08 |
ТПТ-19-3 |
ТУ 4211-010-17113168-2010 |
-
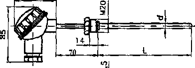
1.3.2 Внешний вид, состав комплектов и габаритные размеры термометров, входящих в комплекты, приведены в приложении Б.
-
1.4 Устройство и работа
-
1.4.1 Комплект термометров по исполнению должен состоять из двух или более термометров на базе специально подобранных платиновых чувствительных элементов ЧЭПТ, проволочных или пленочных. НСХ чувствительных элементов по ГОСТ Р 8.625-2006: 100П, 500П, 1000П, Pt100, Pt500, PtIOOO.
-
Чувствительные элементы помещаются в защитную арматуру из нержавеющей трубки. Материал головки для КТПТР-01 и КТПТР-06 - прессматериал АГ-4В или полиамид стеклонаполненный ПА-6 ТУ 6-06-204-91. У КТПТР-07 - выводы подключены к электрическому разъему РС-4ТВ. КТПТР-03, КТПТР-08 изготавливаются с выводными проводами МГТФЭФ длиной до 1,5 м.
Установка комплекта термометров в трубопроводах и электрическая схема соединения с другими приборами производится в соответствии с нормативно-техническими документами на конкретный тип тепловых приборов.
Крепление термометров осуществляется следующим образом:
-
- КТПТР-01 при помощи гайки М20х1,5 на трубопроводе непосредственно или в защитной гильзе;
-
- КТПТР-03 - установка в гнездо или в защитной гильзе, размеры которых определяют монтажную длину комплекта;
-
- КТПТР-06, КТПТР-07, КТПТР-08 - при помощи гайки М12х1,5 на трубопроводе непосредственно или в защитной гильзе.
Схема соединения чувствительного элемента - четырехпроводная.
Принцип работы основан на зависимости электрического сопротивления двух подобранных по сопротивлению и температурному коэффициенту термометров сопротивления от измеряемой температуры.
Измерение температуры и разности температур производится различными способами, определяемыми устройством и принципами работы конкретного типа теплового прибора.
-
1.5 Комплектность
1.5.1 Комплект поставки должен соответствовать указанному в таблице 2. Таблица 2
|
Наименование |
Количество |
Примечание |
|
1 Термометр сопротивления из платины технический ТПТ или чувствительный элемент ЧЭПТ-3 (ТУ 4211-010-17113168-2010 или ТУ 4211-900-17113168-95) |
2 или п* | |
|
2 Гильза защитная для КТПТР-03 |
2 или п* | |
|
3 Шайба уплотнительная |
2 или п* |
Размещаются в головках термометра комплекта |
|
4 Паспорт ЕМТК.07.0000.00 ПС |
1 | |
|
5 Руководство по эксплуатации ЕМТК.07.0000.00 РЭ |
1 |
Одно на каждую партию, указанную в заказе потребителя |
|
6 Свидетельство о поверке или клеймо поверителя в паспорте |
1 | |
|
* п - число термометров, входящих в комплект | ||
-
1.6 Маркировка
-
1.6.1 На шильдиках обоих термометров должно быть нанесено:
-
-
- модификация КТПТР;
-
- условное обозначение НСХ;
-
- схема соединения;
-
- класс комплекта;
-
- рабочий диапазон температур и разности температур
-
- заводской номер;
-
- год изготовления.
Примеры маркировки:
КТПТР-01-100П/4/1/0...180
№ 20 2010 г.
где КТПТР-01 - модификация;
10ОП - обозначение НСХ (Ro = 100 Ом, а= 0,00391 °C'1);
4 - схема соединения;
1 - класс комплекта
0... 180 - диапазон измерения температуры и разности температур.
|
КТПТР-03-Pt 500/4/2/0. |
..180 |
|
№ 19 |
2010 г. |
где КТПТР-03 - модификация;
Pt 500 - обозначение НСХ (Ro = 500 Ом, а= 0,00385 °C'1);
4 - схема соединения;
-
2 - класс комплекта;
0... 180 - диапазон измерения температуры и разности температур.
-
1.7 Упаковка
-
1.7.1 Каждый комплект из двух термометров вместе с паспортом и свидетельством о поверке упаковывается в полиэтиленовые мешки, которые укладываются в тарный ящик. В ящик укладывается один комплект описания и ведомость упаковки. Вес одного ящика не более 80 кг.
2 ИСПОЛЬЗОВАНИЕ ПО НАЗНАЧЕНИЮ
-
2.1 Меры безопасности
-
2.1.1 Для монтажа и эксплуатации комплекта термометров допускаются лица, имеющие необходимую квалификацию, обученные правилам техники безопасности по эксплуатации технического оборудования и изучившие техническое описание и паспорт на КТПТР.
-
2.1.2 При монтаже и эксплуатации комплекта термометров должны соблюдаться требования, установленные ГОСТ 12.2.007.0-75.
-
2.1.3 Замена, присоединение и отсоединение термометров комплекта, установленных без защитной гильзы, от трубопровода должно производится при полном отсутствии давления в трубопроводе.
2.2 Указание по эксплуатации и монтажу
-
2.2.1 Монтаж термометров, подготовка к работе и соблюдение безопасности при эксплуатации должны соответствовать эксплуатационной документации на термометры и тепловые приборы, в комплекте с которыми они работают.
-
2.2.2 Комплект термометров КТПТР сохраняет работоспособность:
а) при изменении температуры окружающей среды от минус 50 °C до плюс 45 °C и влажности 98 % при 35 °C;
б) при воздействии пыли и влаги со степенью защиты IP65;
в) при воздействии синусоидальных вибраций со степенью виброустойчивости по группе исполнения N3 ГОСТ Р 52931-2008.
-
2.2.3 При монтаже комплекта термометров необходимо удалить их подводящие провода от электрических кабелей с напряжением 220 В и более на расстояние не менее 0,3 м.
-
2.2.4 При монтаже подводящих проводов от тепловых приборов к термометрам комплекта следует руководствоваться схемой подсоединения чувствительных элементов к головкам термометров (приложение А).
Рекомендуемые EN 1434-97 способы установки термометров в трубопроводы приведены в приложении В.
-
2.2.5 После монтажа и приемки теплового прибора термометры комплекта должны быть опломбированы представителем уполномоченного на это органа.
2.3 Порядок работы
-
2.3.1 Подключить термометры комплекта к измерительной схеме теплового прибора в соответствии со схемой подключения к тепловому прибору, обеспечив рекомендованный в 1.2.6 измерительный ток через них.
-
2.3.2 Произвести измерения температурь!. Значения температур и разности температур определяют по показаниям тепловых приборов.
-
2.3.3 Метод измерения разности температур комплектом термометров определяется конкретным типом используемого теплового прибора и может производиться как путем прямых измерений температур с последующим вычитанием, так и иными способами.
-
3 МЕТОДИКА ПОВЕРКИ
Каждый комплект термометров должен проходить поверку как при выпуске (первичную), так и в процессе эксплуатации (периодическую).
Межповерочный интервал - 4 года.
Поверка комплектов термометров производится в соответствии с ГОСТ Р 8.624-2006 и нижеизложенными рекомендациями по поверке.
Настоящие рекомендации устанавливают методы и средства первичной и периодической поверки комплекта термометров.
-
3.1 Операции поверки
-
3.1.1 Проведение поверки осуществляется согласно операциям, приведенным в
-
таблице 1.
Таблица 1
|
Операции поверки |
Номер пункта рекомендаций |
Проведение операции при поверке | |
|
первичной |
периодической | ||
|
1 Внешний осмотр |
3.5.1 |
Да |
да |
|
2 Опробование термометров комплекта |
3.5.2 |
да |
да |
|
3 Проверка электрического сопротивления изоляции |
3.5.3 |
Да |
да |
|
4 Определение метрологиче- |
3.5.5 |
да |
да |
|
ских характеристик комплекта |
Операции поверки должны выполняться в последовательности, приведенной в таблице 1.
-
3.1.2 При получении отрицательных результатов при проведении той или иной операции, поверка прекращается и комплект термометров бракуется.
-
3.2 Средства поверки
При проведении поверки рекомендуется применять средства поверки, приведенные в таблице 2.
Таблица 2
|
Наименование и тип |
Обозначение документа |
Пределы измерений |
Погрешность |
|
Измеритель-регулятор температуры многоканальный прецизионный МИТ 8 |
ТУ 4211-102-56835627-05 |
от минус 200 °C до плюс 500 °C |
ПГ ±(0,0035+10'5-|t|) |
|
Термометр сопротивления платиновый эталонный ПТС-10М I разряд |
ТУ 50.741-89 |
от минус 196 °C до плюс 660 °C |
ПГ ±0,01 °C; ПГ ±0,02 °C |
|
Термостат нулевой ТН-12 |
0 °C |
ПГ ±0,02 °C | |
|
Мегаомметр М4122 |
ТУ 4221-002-60532022-09 |
от 100 кОм до 10 ГОм |
ПГ 3 % |
|
Мера электрического сопротивления однозначная РЗОЗО |
ТУ 25-044078-72 |
100 Ом |
КТ 0,002 |
|
Термостат переливной прецизионный ТПП-1 |
ТУ 4381-151-56835627-06 |
от минус 75 °C до плюс 300 °C |
П Г ±0,01 °C |
|
Термостат паровой ТП-2 |
ТУ 3443-003- 02566540-2003 |
от 95 °C до 101,5 °C |
ПГ+0,03 °C |
Примечания
-
1 Допускается применение других измерительных средств того же или более высокого класса.
-
2 Средства измерений должны быть поверены в соответствии с требованиями и иметь действующие свидетельства.
-
3.3 Требования безопасности
-
3.3.1 При проведении поверки должны соблюдаться требования, установленные в ГОСТ 12.2.007.0-75.
-
3.3.2 К работе на поверочном оборудовании допускаются лица, имеющие необходимую квалификацию, обученные правилам техники безопасности и изучившие технические описания и инструкции по эксплуатации на средства поверки.
-
-
3.4 Условия поверки и подготовка
-
3.4.1 При проведении поверки должны соблюдаться следующие условия:
-
-
- температура окружающего воздуха, °C 20 ± 5;
-
- относительная влажность воздуха, % 65 + 15;
-
- атмосферное давление, кПа 95 ± 12;
-
- напряжение электрической сети (50 Гц), В 220 + 22;
-
- отсутствие внешних электрических и искусственных магнитных полей.
-
3.4.2 Условия проведения поверки должны контролироваться в начале и в конце выполнения каждой операции.
-
3.4.3 Средства измерений и вспомогательные средства поверки должны быть подготовлены к работе в соответствии с эксплуатационной документацией на них и требованиями ГОСТ Р 8.624-2006.
-
3.4.4 Термометры комплекта должны быть погружены на длину монтажной части.
-
3.4.5 Номинальный рабочий ток, протекающий через термометры комплекта КТПТР должен соответствовать 1.2.6.
-
3.5 Проведение поверки
-
3.5.1 Внешний осмотр
-
При внешнем осмотре должно быть установлено соответствие поверяемых комплектов термометров следующим требованиям:
-
- защитная арматура и выводные проводники не должны иметь видимых разрушений;
-
- резьба на штуцерах не должна иметь повреждений;
-
- поверхность защитной арматуры не должна быть загрязненной;
-
- наличие на комплектах термометров четкой маркировки, соответствующей РЭ.
При нарушении вышеприведенных требований комплекты термометров к поверке не допускается.
-
3.5.2 Опробование
С помощью омметра согласно схеме соединений чувствительного элемента с клеммами (приложение 1) проверить целостность внутренних цепей.
Термометры комплекта считаются выдержавшими испытания, если не нарушена целостность цепей и сопротивления находятся в обозначенных пределах.
-
3.5.3 Проверка электрического сопротивления изоляции при комнатных температурах проводится по ГОСТ Р 8.624-2006 мегаомметром с напряжением до 100 В.
Термометры комплекта считаются выдержавшими испытания, если сопротивление изоляции каждого из них соответствует 1.2,7.
-
3.5.4 Проверка метрологических характеристик комплекта
-
3.5.4.1 Проверка классов комплектов термометров (1.2.4).
-
3.5.4.2 Производят измерения при 0 °C. Для этого используют термостат переливной прецизионный ТПП-1.
-
Эталонный и все испытуемые термометры помещают в термостат на глубину не менее минимальной глубины погружения. ЧЭ термометров должны находиться на одном уровне.
Испытуемый термометр подключают к измерительной установке в соответствии со схемой соединения внутренних проводов и схемами внешних электрических подключений приборов. Поверхность наконечников и выводных проводов термометра должна быть очищена от пленки оксидов. Измерительный ток должен соответствовать 1.2.6.
После достижения стабильного состояния (сопротивление термометра изменяется на 0,1 допуска за 5 минут) проводят измерение температуры эталонным термометром, затем измеряют сопротивление испытуемых термометров. Необходимо провести не менее 10 отсчетов сопротивления для каждого термометра. Рассчитывают средние значения температур:
tear - среднее значение температуры (0 °C), измеренное эталонным термометром;
t1o - среднее значение температуры (О °C), измеренное первым испытуемым термометром из комплекта;
t2o - среднее значение температуры (О °C), измеренное вторым испытуемым термометром из комплекта, и т.д.
Рассчитывают допуски термометров по температуре с учетом расширенной неопределенности результата измерений (раздел 11 ГОСТ Р 8.624-2006).
ДИ о - допуск для первого испытуемого термометра из комплекта;
At2o - допуск для второго испытуемого термометра из комплекта и т.д.
-
3.5.4.3 Проверка допусков термометров комплекта по температуре при 100 °C
В термостате переливном прецизионном ТПП-1 устанавливают температуру 100 °C. Проверку допусков термометров комплекта по температуре проводят по методике 3.5.4.2.
Рассчитывают средние значения температур:
Тюоэт - среднее значение температуры (100 °C), измеренное эталонным термометром;
11 юо - среднее значение температуры (100 °C), измеренное первым испытуемым термометром из комплекта;
t2ioo - среднее значение температуры (100 °C), измеренное вторым испытуемым термометром из комплекта, и т.д.
Рассчитывают допуски термометров по температуре с учетом расширенной неопределенности результата измерений (раздел 11 ГОСТ Р 8.624-2006).
Д11 юо-допуск для первого испытуемого термометра из комплекта;
At2WQ - допуск для второго испытуемого термометра из комплекта и т.д.
-
3.5.4.4 Результаты поверки считаются положительными, если выполняются два условия:
-
1 Для каждого термометра комплекта класса 1 выполняются соотношения, соответствующие классу допуска термометров АА:
ДИ1 =£±(0,1 + 0,0017t); At2t£+(0,1 + 0,0017t);
где t - температура, °C
At10<+0,1 °C; At1W0<+0,27 °C;
At2o£+O,1 °C; At2100£±0,27 °C.
Для каждого термометра комплекта класса 2 выполняются соотношения, соответствующие классу допуска термометров А:
At1t <± (0,15 + 0,0021); A12t <± (0,15 + 0,0021);
где 1 - температура, °C
At1o£±O,15 °C; At1i00<±0,35 °C;
At2o<±0,15 °C; А12100£±0,35 °C.
-
2 Допуск значений разности температур At для комплектов класса 1:
Ato-t=(|i1 o-12t|)- (Поэт-Йэт!) =£±(0,05 + 0,001At);
AtW=(|t20-t1t|)- (|1оэЛэт|) £±(0,05 + 0,001 At);
где Aio-t - допуск значений разности температур (0 °C, 1 °C), °C;
а) At0.100<±0,15 °C;
б) Ato-o”(|11o-t2o|)-(|to3T-to3T|) £±0,05;
В) Atw0-100-(it1100'12100|)"(|1100эт“1100эт|) £±0,05.
Допуск значений разности температур (At) для комплектов класса 2:
A1o-t=(|t1 o-t2t[)-(|to3T-tt3Ti) <+(0,10 + 0.002Д1)
Ato-t=(|t2o-t1t|)- (Ызт|) £±(0,10 + 0.002A1)
а) At0.10o £ ±0,30 °C.
б) Ato-o“([Ho-t2o|)“(]to3T"to3T}) £±0,10
B) Atwo-ioo=(!t1ioo"t2ioo|)"(|tioo3T“tioo3T|) £+0,10
-
3.6 Оформление результатов поверки
-
3.6.1 При положительных результатах поверки оформляется свидетельство о поверке с указанием класса комплекта.
-
3.6.2 При отрицательных результатах комплект бракуется и оформляется извещение о непригодности комплекта.
-
-
4 ТРАНСПОРТИРОВАНИЕ И ХРАНЕНИЕ
-
4.1 Комплекты термометров должны храниться в упаковке предприятия изготовителя согласно условий хранения 3 по ГОСТ 15150-69.
-
Воздух в помещении, в котором хранятся комплекты термометров, не должны содержать коррозионно-активных веществ.
-
4.2 Транспортирование комплектов термометров должно соответствовать условиям 5 по ГОСТ 15150-69.
-
5 ГАРАНТИИ ИЗГОТОВИТЕЛЯ
-
5.1 Изготовитель гарантирует соответствие комплекта термометров требованиям настоящих ТУ при соблюдении потребителем правил транспортирования, хранения и эксплуатации.
-
5.2 Гарантийный срок эксплуатации 4 года со дня выпуска.
-
124460, г. Москва, Зеленоград, а/я 82, ЗАО «ТЕРМИКО»
телефон: (495) 745-05-84, 225-30-17, т/ф (495) 745-05-83
E-mail: info@termiko.ru каталог на сайте: www.termiko.ru
Приложение А
Схемы соединения с чувствительными элементами
Вариант 1 Вариант 2


Вид на вилку РС4 со стороны пайки для КТПТР-07
РС4ТВ (вилка)


Приложение Б Габаритные размеры
КТПТР-01
65

65

d=6, 60, 80
d=8, L= 60, 80, 100, 120, 160, 200, 250, 320, 400
КТПТР-03
|
L |
О a | ||
|
ецм - .'гчг .l1!™' |
—- H"" ■ | ||
|
Q> | |||
|
L | |||
|
Sani'A'-L.-JH" 1 11 |
"J!1 H~..... | ||
Для НСХ 100П, Pt1OO, Pt500, PtIOOO - D=4, L= 40
Для НСХ 500П - D~4, L= 60
L выв = 7 500
КТПТР-06


1=35, 45, 50, 60, 80, 90, 110,140
КТПТР-07


L=35, 45, 50, 6Q, 80, 90, 110, 140
КТПТР-08

L=35, 45, 50, 60, ВО, 90, 110, 140
Приложение В
Рекомендуемые EN 1434-97 способы установки термопреобразователей КТПТР в трубопроводы
ПОС ОБ И Е:
ПО ПРИМЕНЕНИЮ
КОМПЛЕКТОВ ТЕРМОМЕТРОВ ПЛАТИНОВЫХ
ТЕХНИЧЕСКИХ
РАЗНОСТНЫХ. КТПТР ■
производства ЗАО «ТЕРМИКО»




МОСКВА 201 i г
OL
3a»mnja>
<t,IfL1.tf FO.tjJ
'■**»меехит<.Лк
4J «г:тм|гг м?сга jtJ5
I
ФЕДЕРАЛЬНОЕ АГЕНТСТВО
ПО ТЕХНИЧЕСКОМУ РЕГУЛИРОВАНИЮ И МЕТРОЛОГИЙ
’ p! M ?T £<’ T F Д' R Г' T П Г об утоерждемяи тчг?& средств цакоремпй PATTERN APPROVAL. CERTIFICATE OF MEASURING INSTRUMENTS RU.C.3iG83.A Я. . *>га .
H;»i 4,-ifii ?tt’..s KwroWjUi’:. <fn» «;» <.u «<>иач«с »’a,
1>гд> «u.m>v M-ftM»MWU<4 Ч-И1 V* »»•« Vt« ейй^адмнН
™a7w*fe" У****'*6®*** KT0 W3». К1ПТМ®
ЗАО ^«^«ИКО-.^Моти»#
* 4^1O 1: ,l4(UfVN 0*:чм.-н<е utn.,.
’ Wi^r.n-r UH.
t Гоо .'Йрс .1 J-.K-M'l fir Cpf.ifra 4t.4MV|U'AUO
ipnweu* itt1»* f- Pot» МИ11.О1Г Ф^Лгракиh.
гррдгтии hVM»|K«iU\ tXfiint-.Tc?J/i l[ tf}H!-tiU-vtHHl Ь ЯлгЧ^АЙЮН
ФГЛВРАЛЫЮЕ ЛГЕЯТСГао
) техническому №гулирс«ашн« it Autitoonut
■ лиданзия
Aa (Н16175-ИР ■ (>т29 мйрта 2(H0 годя 'Ж |
' ''1
. 11й.«к7Ц|1^П1л«нй;128ШМ»^!.'й5
изготовлению к ремонту <ср.едста..измерений •:Я
vvoo^e/vNinn с iii^x^wKCArKtiM^fiuix .-'
{Ып'к1к^лкц</Плгя прй’лпгтд^мй’ . . .-Й®
Зккрн1<кга1.Т1Н0й£рмй<! ьбтёстош'"ТЕРМАКСУ*
Ч,-' i-яЙй ЧАО "lEl'Mlliay . ■■ ■.-■ ifi
•тег.мкко
.-./IO Х^т<'1^^1з^аккХ1’йс6ш;1Й^0р1ггМлскмй13«лУН<н7^ДуКпр«*1213т wis.135 Й ^Ь-£^м-:су1Цест^е:П1й.^их>П»р>^
Ра<кй«ч ЦЫ46(М% ир»ад^021тлЛ^тр<м?1ч»»^»4Д
wttctM3*>,29 ><ар;Цг£(И£т.«дэ мд и<ж^«ис<- '
Ярикам й<v/hcraa по те.чпкческаму. ^г^дц^аяюб н метре.;ый«< ут 29 • ';-рр
lanrniftl'l) wta МЯ79 КЗ
/ ■ -■ ./ ■. .. г й
ЗзМСчтпёл^^шыкпДм' . ■■.•■ 4zO-" > -■'■•■■ 1®|
4^(i;pA:pifSitV4®^^rte.j^:ieAiui'w»6iiiy; . ■ ■■ ■ ■■■ Ж
(аду:1ий^шГ№Т4<^рл!И1И1 . ■/.■ 8.И. Нрупшмг ,;йй
':'^,Л®й££._«Л .. Wifi ■' 'Я
: ■■/'.■■ '
СдаяСЯЛ 009794 ■ ■■
4»S?ri
ОГЛАВЛЕНИЕ
Стр.
Назначение и область применения КТПТР
Комплекты термометров КТПТР-01
Длина рабочей части и НСХ КТЛТР-01
Гильза защитная ГЗ-6,3-8 для КТПТР-01
Комплекты термометров КТПТР-03
Длина рабочей части и НСХ КТПТР-03
Гильза защитная ГЗ-6,3-4 для КТПТР-03
Комплекты термометров КТПТР-О4;-О5;-О5/1
Длина рабочей части и НСХ КТПТР-04;-05
Гильза защитная ГЗ-6,3-6-1; -2 для КТПТР-04;-05
Комплекты термометров КТПТР-05/1
Гильза защитная ГЗ-6,3-4 для КТПТР-05/1
Комплекты термометров КТПТР-06...08
Длина рабочей части и НСХ КТПТР-06...08
Гильза защитная ГЗ-б.З-4 для КТПТР-О6...О8
Минимальная глубина погружения термометров КТПТР
Перечень установочных изделий для КТПТР
Примеры расчета выбора рабочих длин КТПТР
Указания по монтажу и эксплуатации КТПТР
ВВОДНОЕ СЛОВО

Цель данного Пособия - помочь проектным и монтажным организациям, специализирующимся в области коммерческого учета тепла, правильно выбрать и правильно установить комплекты платиновых термометров сопротивления КТПТР и установочных изделий к ним производства ЗАО «ТЕРМИКО».
В Пособии описана вся наша продукция, выпускаемая для комплектации узлов учета тепла - разные типы комплектов, гильзы и бобышки к ним, термометр для измерения температуры окружающей среды.
Особенностью наших комплектов является применение в них в качестве чувствительного элемента проволочных элементов собственного изготовления, что положительно сказывается на таких метрологических параметрах, как долговременная стабильность и
воспроизводимость. Это позволило увеличить межповерочный интервал и гарантийный срок до 4-х лет, а срок службы - до 12,5 лет. обеспечивает степень несогласованности пары термометров, составляющих комплект, не хуже 0,05 °C в любой точке их рабочего диапазона. Важным моментом при этом является то, что нам не нужно подбирать программным образом термометры в пары из массива термометров, как это делают остальные производители. Контролируя процесс изготовления чувствительных элементов, мы просто изготавливаем термометры с нужными параметрами. При этом комплект может включать в себя любое согласованное между собой количество термометров, к тому же возможно и с разными длинами рабочей части. Также отпадает необходимость конкретной привязки термометров к «подающему» и «обратному'» трубопроводу, так как они достаточно идентичны и поэтому взаимозаменяемые.
В Пособии приводится простой табличный алгоритм выбора рабочей длины термометров, зависящий от условного диаметра трубопровода Dy, способа установки термометров на нем (перпендикулярно теплоносителю или под углов 45° к нему) и длины применяемой бобышки. Как с гильзой, так и напрямую в теплоноситель. Приведены наглядные примеры расчета и указания по монтажу и эксплуатации комплектов термометров, облегчающие не только процедуру выбора длины термометров, но и дальнейшие взаимодействия с принимающими тепловой узел организациями. Ибо при этом гарантированно выполняются требования соответствующих ГОСТов и Правил.
Мы будем рады видеть Вас среди наших Заказчиков - реализаторов ФЗ-261! Приобретайте продукцию отечественного производителя!
С уважением, Генеральный директор ЗАО «ТЕРМИКО»
Меркулов Валентин Михайлович, моб. тлф. +7(903) 151-4365.
ВВЕДЕНИЕ
19 лет на рынке теплоснабжения и энергосбережения!АКЦИОНЕРНОЕ ОБЩЕСТВО «ТЕРМИКО»
выпускает комплекты термо преобразователей сопротивления (далее комплект термометров) платиновых технических разностных типа КТПТР-01, КТПТР-03, КТПТР -04, КТПТР-05, КТПТР-06, КТПТР-07, КТПТР-08 (далее КТПТР) применяющихся в промышленном и индивидуальном учете тепловой энергии.
Комплект термометров представляет собой два и более платиновых термометра, изготовленных по заданным параметрам таким образом, чтобы разница между ними в показаниях температуры была минимальной.
Комплект термометров КТПТР-01 выпускается нами с 1995 года.
В 1998г. разработаны и прошли испытания с целью утверждения типа КТПТР-04, КТПТР-05, которые выпускаются по ТУ 4211-071-17113168-98 и занесены в Государственный реестр России под №17468-98.
В 2001 году нами разработаны малогабаритные комплекты термопреобразователей типа КТПТР-06, КТПТР-07, КТПТР-08 по ТУ 4211-072-17113168-01 Госреестр № 21605-01, предназначенные для монтажа в трубопроводах диаметров 1/2” и выше.
В 2005 г. мы ввели в Госреестр новый тип комплектов - КТПТР-03. Эти изделия вставляются в гильзы ГЗ-6,3-4 с необходимой длиной рабочей части (именно длина гильзы и определяет рабочую часть термометра) и специальным образом фиксируются в них с возможностью пломбировки фиксатора.
В течение 1995-2011 г. нами изготовлено порядка 350 тыс. комплектов термометров КТПТР. Каждый четвертый установленный в России теплосчетчик укомплектован нашими комплектами. Нашими постоянными потребителями являются такие известные фирмы как «Тепловизор», «Вега-Прибор», «Метран-комплект», «Энергосервисная компания-3 Э», «Конвент» и «Данфосс» ( Москва), «Теплоэн ер го монтаж» («Логика»), «Теплоком» и «МИД» (С-Петербург), «ЭКС» (Новосибирск), «Промсервис» (Димитровград), «Карат» и «Элеком» (Екатеринбург), «ОКБ МАЯК» (Пермь), «ВТК Энерго» (Киров) и многие другие.
Продукция имеет сертификаты Госстандарта России о введении в Госреестр СИ.
Производство КТПТР и составляющих их комплект термометров лицензировано.
Все комплекты и их термометры имеют 4-х годичный межповерочный интервал и такой же гарантийный срок службы.
Общие указания по оформлению заказа на поставку.
Поставка КТПТР производится на основании договора, заключенного между заказчиком и ТЕРМИКО, или письма в сроки, оговоренные договором или в выставляемом нами счете.
При заказе необходимо указать полное наименование КТПТР - тип, его ИСХ, длину рабочей части, количество термометров в комплекте, если оно больше двух, количество комплектов, гильз и бобышек к ним, а также способ доставки продукции. То же касается и заказа единичных термометров сопротивления из состава КТПТР, а также термометров ТПТ-4-2, участвующих в измерении температуры окружения - улицы и помещений.
По комплектности:
КТПТР-01 могут комплектоваться гильзой защитной ГЗ-6,3-8 с Ру=6,3 МПа.
КТПТР-03 и КТПТР-05/1 поставляются только в комплекте со своими гильзами.
КТПТР-04 могут комплектоваться гильзой защитной ГЗ-6,3-6-1, а КТПТР-05 - гильзой защитной ГЗ-6,3-6-2.
КТПТР-03, КТПТР-06, КТПТР-07, КТПТР-08 могут монтироваться непосредственно в тройники трубопроводов через стандартные фитинги или в бобышку, а также могут комплектоваться защитными гильзами ГЗ-6,3-4.
Применение КТПТР с гильзами нашего производства обеспечивает минимальную погрешность измерения температуры парой «термометр-гильза», не превышающую 1/5 от класса термометра.
Для установки на трубопроводе все КТПТР могут комплектоваться как прямыми бобышками (БП), так и скошенными под любым углом (БС, стандарт - 45°).
Для комплектов, предназначенных на экспорт, маркировка прибора и эксплуатационная документация (паспорт, техническое описание и т,д.) выполняются на английском к русском языках.
ОБШИЙ ПЕРЕЧЕНЬ продукции, производимой ЗАО «ТЕРМИКО»:
-
1. Платиновые ТПТ и медные ТМТ термометры сопротивления;
-
2. Платиновые ЧЭПТ и медные ЧЭМТ чувствительные элементы;
-
3. Комплекты термометров КТПТР;
-
4. Термопары ТХА, ТХК (кабельные ТХАК, ТХКК), ТТПП, ТТПР;
-
5. Термометры сопротивления с унифицированным сигналом ТПТУ, ТМТУ;
-
6. Термопары с унифицированным сигналом ТХАУ;
-
7. Гильзы ГЗ и бобышки БП, БС к термометрам сопротивлений и термопарам;
-
8. Сигнализаторы перегрева двигателей снегоходов и катеров ЦИТД-2,...-3, СП-1;
-
9. Корпуса к термометрам сопротивлений и термопарам;
-
10. Клеммные головки к термометрам сопротивлений и термопарам;
-
11. Упорные шайбы, прокладки к термометрам сопротивлений и термопарам;
-
12. Штуцера установочные и переходные к термометрам сопротивлений и термопарам.
Подробиую информацию о нашей продукции смотрите на www.termiko.ru.
Заказы на изготовление и поставку' термопреобразователей просим направлять по адресу:
Россия, 124460, Москва, Зеленоград, а/я 82, ЗАО «Тер ми ко»
Тел./факс (495) 225-3017 (многоканальный), 745-0583.
E-mail: info@termiko.ru
НАЗНАЧЕНИЕ И ОБЛАСТЬ ПРИМЕНЕНИЯ комплектов КТПТР
Комплекты термометров сопротивления из платины технические разностные КТПТР, предназначены для измерения температуры и разности температур в составе теплосчетчиков и других приборов учета и контроля тепловой энергии в тепловых сетях теплоснабжающих организаций, обеспечивающих отопление зданий и сооружений промышленного, жилищного и бытового назначения.
Комплекты термометров могут применяться в энергосберегающих технологиях, различных теплоэнергетических процессах и других отраслях промышленности.
ОПИСАНИЕ
Принцип работы комплекта основан на однозначной и широко известной зависимости электрического сопротивления платиновых термометров от измеряемой температуры.
Комплекты термометров состоят из двух (или более) специально изготовленных термометров ТПТ, возможно, даже с разными монтажными длинами. Чувствительный элемент (ЧЭ) каждого термометра помещен в защитную арматуру, состоящую из трубки (сталь 12Х18Н10Т или 08Х18Н10), клеммной головки, изготовленной из стеклонаполненного полиамида, сплавов алюминия или стали 12Х18Н10Т. Вместо головки возможен кабельный вывод или разъём, служащие для организации связи с вычислителем (вторичным прибором).
Крепление комплектов термометров КТПТР на трубопроводе (напрямую в теплоноситель или через защитную гильзу) возможно с помощью присоединительных штуцеров (или при помощи фиксирующего элемента в защитной гильзе) с использованием вварных бобышек.
ОСНОВНЫЕ ТЕХНИЧЕСКИЕ ХАРАКТЕРИСТИКИ
-
1. Диапазон измеряемых температур t термометрами комплекта от О °C до 150-200 °C.
-
2. Диапазон измерения разности температур At комплектом.......от 0 °C до 150-1 80 °C.
-
3. Номинальная статическая характеристика термометров комплекта по ГОСТ 6651-2009: 100П; Pt 100; 500П; Pt 500; 1000П; Pt 1000.
-
4. Комплекты термометров соответствуют классам 1 или 2. Классы и допуски для каждого термометра комплекта по ГОСТ 6651-2009
-
• класс комплекта 1, класс термометров АА допуск термометров: +(0,1 + 0,0017t) °C;
-
• класс комплекта 2, класс термометров А допуск термометров: ± (0,15 + 0,002t) °C.
Допуск значений разности температур (At) для комплектов:
-
• класс комплекта 1: ± (0,05 + 0,001 At) °C;
-
• класс комплекта 2: ± (0,10 + 0,002At) °C.
-
5. Защитная арматура термометров рассчитана на условное давление Р,.= 6,3 МПа и выдерживает испытание на прочность пробным давлением Рпр= 10 МПа.
-
6. Номинальный измерительный ток для термометров комплекта:
для НСХ 1 ООП; Pt 100... 1 мА; для НСХ 500П; Pt 500... 0,2 мА; для НСХ 1000П; Pt 1000... 0,1 мА.
Изменение сопротивления термометра, обусловленное самонагревом при указанных токах, не превышает 20 % от допуска термометров по ГОСТ 6651-2009.
-
7. Электрическое сопротивление изоляции между' цепью чувствительного элемента термометра и защитной арматурой, не менее:
« при температуре (25+10)°С я относительной влажности от 30 до 80 %: 100 МОм;
• при температуре 200 °C: 20 МОм.
-
8. Защищенность от воздействия пыли и влаги по ГОСТ 14254-96: IP65.
-
9. Устойчивость к механическим вибропрочный, виброустойчивый N3.
-
10. Условия эксплуатации по ГОСТ 15150-69: УЗ.
-
11. Вероятность безотказной работы за 2000 ч: Ра= 0,98.
-
12. Срок службы не менее 12,5 лет.
-
13. Межповерочный интервал 4 года
-
14. Гарантийный срок эксплуатации 4 года
КОМПЛЕКТНОСТЬ ПОСТАВКИ для КТПТР из 2-х или более ТПТ
|
Наименование |
Количество |
Применение |
|
Термопреобразователь сопротивления платиновый технический (ТПТ) из состава КТПТР |
2 или более | |
|
Шайба уплотнительная |
2 или более | |
|
Гильза Г3-6,3-х-х с шайбой уплотнительной |
2 или более |
По требованию заказчика |
|
Бобышка вварная БП (БПТ, БС, БСТ) |
2 или более |
По требованию заказчика |
|
Паспорт |
1 | |
|
Свидетельство о поверке или соответствующая отметка в паспорте |
1 |
Примечание: По согласованию Заказчика с исполнителем в КТПТР количество термометров, входящих в один комплект, может быть увеличено. К тому же термометры, составляющие комплект, могут быть разной длины.
ПОВЕРКА
Поверка комплектов термометров производится в соответствии с ГОСТ Р 8.624-2006 и разделом 3 «Методика поверки» в руководстве по эксплуатации ЕМТК.07.1000.00 РЭ (см. далее раздел «Методика поверки КТПТР»),
НОРМАТИВНЫЕ ДОКУМЕНТЫ
|
ГОСТ 6651-2009 |
ГСП. Термопреобразователи сопротивления из платины, меди и никеля. Общие технические требования и методы испытаний |
|
ГОСТ Р 8.624-2006 |
ГСИ, Термометры сопротивления из платины, меди и никеля. Методика поверки |
|
ГОСТ 8.558-93 |
ГСИ. Государственная поверочная схема для средств измерений температуры |
|
ТУ 4211 -ххх-17113168-(год) |
Комплекты термометров сопротивления из платины технические разностные КТПТР-хх. Технические условия. |
Комплекты термометров платиновых технических разностных типа КТПТР-01 ТУ 4211-070-17113 168-2010 Госреестр №46156 (взамен Госреестр№ 14638-05).
КТПТР-01 - самый популярный и покупаемый комплект, состоящий из термометров ТПТ-1-3, введенный нами в Госреестр Средств измерения температуры РФ в 1995 году. Может применяться в комплекте с гильзами Г3-6,3-6, ГЗ-6,3-8 и бобышками БП, БС, Б ПТ или БСТ.
Номинальная статическая характеристика (НСХ) термометров комплекта по ГОСТ Р 6651-2009 может быть 100П, PtlOO, 500П, Pt500, PtlOOO.
Диапазон измеряемых температур t термометрами комплекта от 0 °C до 180 °C.
Диапазон измерения разности температур At комплектом от 0 °C до 180 °C.
Остальные характеристики смотри в разделе «НАЗНАЧЕНИЕ И ОБЛАСТЬ ПРИМЕНЕНИЯ комплектов КТПТР».
Способ крепления:
-Штуцер М20х1,5 (стандартное исполнение, не указывается) или G1/2 (указывается G1/2). -Установка «в гнездо» с фиксацией винтом (ГВ) или специальным кольцом (ГК).


Схемы электрических соединений
3 1 2 4
о
|
Монтажная длина L, мм |
60 |
80 |
100 |
120 |
160 |
200 |
250 |
320 |
400 | |
|
КТПТР -0! |
Вес кг |
0,400 |
0,430 |
0,430 |
0,450 |
0,490 |
0,500 |
0,520 |
0,60 0 |
0,660 |
Примеры записи при заказе
[Тип] - [Вид исполнения] - [Класс] ~ [НСХ] - [Монтажная длина / Длина рабочей части]
КТПТР-01-Г! 0ОП-80/8 (способ крепления)
КТПТР-01 (комплект из ТПТ-1-3) и гильзы к ним
|
КТ1ГПМ1: |
L= 60; 80 |
100; |
140; |
180...400 мм. |
|
HCX: |
I ООП |
100П |
100П |
100П |
|
Pt 100 |
Pt 100 |
PtlOO |
PtlOO | |
|
PtSOO |
PtSOO |
PtSOO |
PtSOO | |
|
Pt 1000 |
PtlOOO |
PtlOOO |
PtlOOO | |
|
500П |
5 00П |
soon | ||
|
ТПТ-1-3: |
I - 60; 80 |
100; |
140; |
180...400 мм. |
|
HCX: |
100П |
100П |
100П |
100П |
|
Pt 100 |
PtlOO |
PtlOO |
PtlOO | |
|
PtSOO |
PtSOO |
PtSOO |
PtSOO | |
|
PtlOOO |
PtlOOO |
PtlOOO |
PtlOOO | |
|
500П |
soon |
soon |
|
Гильзы к ним: |
|
для длин рабочей части термометров L= 60;80; 100;120; 160;200;250;320;400 мм.
Длина рабочей части термометров комплекта и гильз к ним может быть по согласованию иной, но не меньше 100 мм для НСХ 5ООП и 60 мм для остальных НСХ.
;■ ■■
■■. I1 M -t . u.f «.*■-* w
г .■
«ЖЙ» ■ -■ • ■ -Iua .....
КТП'Р-Di
I.
I
iJ-ntarsj... :’>r- -Zfi;-.) ви-м:г.ап ,!,:с>мгз
Гильза защитная ГЗ-6,3-8 для КТПТР-01 (ТПТ-1-3)
Гильза защитная предназначена для защиты термометров сопротивления от внешних давлений (Ру) до 6,3 МПа.
Гильза рассчитана на предельную скорость потока (см. таблицу).
Материал гильзы: нержавеющие стали и их зарубежные аналоги.
Материал прокладки: отожженная медь Ml.
Опытные образцы были испытаны внутренним гидростатическим давлением
Рлробн. = Ю МПа в течение 2 минут.
ГЗ-6,3-8
|
ГЗ-6,3-8 |
Масса, не более, кг |
Предельная скорость потока, м/с | ||
|
Г нльза |
1., мм | |||
|
Пар |
Вода | |||
|
ГЗ-6,3-8-60 |
60 |
0,120 |
40 |
4,0 |
|
ГЗ-6,3-8-80 |
80 |
0,120 |
40 |
4,0 |
|
ГЗ-6,3-8-100 |
100 |
0,120 |
40 |
4,0 |
|
ГЗ-6,3-8-120 |
120 |
0,125 |
40 |
4,0 |
|
ГЗ-6,3-8-160 |
160 |
0,150 |
40 |
4,0 |
|
ГЗ-6,3-8-200 |
200 |
0,170 |
25 |
2,5 |
|
ГЗ-6,3-8-250 |
250 |
0,210 |
25 |
2,5 |
|
ГЗ-6,3-8-320 |
320 |
0,235 |
25 |
2,5 |
|
ГЗ-6,3-8-400 |
400 |
0,295 |
5 |
0,5 |
|
ГЗ-6,3-8-5 00 |
500 |
0,350 |
5 |
0,5 |
|
ГЗ-6,3-8-630 |
630 |
0,425 |
5 |
0,5 |
|
ГЗ-6,3-8-800 |
800 |
0,525 |
5 |
0,5 |
|
ГЗ-6,3-8-1000 |
1000 |
0,650 |
5 |
0,5 |
Примечание-. По согласованию с заказчиком длина защитных гильз и материал для их изготовления могут быть иными.
Пример записи при заказе:
[Гильза защитная (ГЗ)] - [Условное давление] - [Диаметр монтажной части] - [Длина монтажной части] - [подвижный / неподвижный штуцер]
Гильза защитная ГЗ-6Д-8-60-П Гильза с резьбой М20х1,5 (не указывается).
ГЗ-6,3-8-12 0-Н- G1/2" - гильза для термометров с неподвижным штуцером и с трубной резьбой G1/2".
КОМПЛЕКТ ТЕРМОМЕТРОВ КТПТР-03 ТУ 4211-070-17113 168-2010
Госреестр №46156 (взамен Госреестр № 14638-05)
Комплект термометров платиновых технических разностных КТПТР-03 состоит из двух и более согласованных между собой термометров ЧЭПТ-3. Поминальная статическая характеристика термометров комплекта по ГОСТ 6651-2009 может быть 100П, 500П, PtlOO, PtSOO, PtlOOO.
Термометры имеют корпус из нержавеющей трубки диаметром 4 мм и длиной (кроме ЫСХ 500П) 40 мм, соединительный фторопластовый четырехпроводный кабель длиной от 1,5 м и зафиксированное на нем с помощью зиговки колечко, определяющее длину монтажной части комплекта L. Для I-ICX 500П длина корпуса - 60 мм. Особенностью комплекта является факт его применения вместе с гильзами ГЗ-б.З-4-L, в которые термометры вставляются по типу «в гнездо» и надежно фиксируются в них с помощью штуцера М12х1.5 с дальнейшей пломбировкой. Штуцер прижимает кабель с корпусом через колечко ко дну заполненной маслом гильзы, что обеспечивает надежный тепловой контакт чувствительного элемента с измеряемой средой и исключает несанкционированный съем или приподнятие термометров.
Указанные гильзы имеют внешнюю присоединительную резьбу М20х1,5 или G1/2".
Длина монтажной части термометров комплекта L может быть разной для термометров, составляющих комплект, и выбирается из диапазона от 50 до 320 мм (для НСХ 500П - от 100 мм).
Термометры в комплекте являются полностью взаимозаменяемыми между собой, поэтому нет необходимости в их конкретной привязке к тому или иному месту на объекте.
Гарантийный срок на комплект термометров совпадает с межповерочным интервалом, указанным в Свидетельстве о его первичной поверке, и составляет 4 года.
КТПТР-03
|
% | |||
|
...... -г 'И" ~ |
-X | ||
|
7^1 | |||
|
L |
& | |
|
сми'ш ............... . |
И ........ ... ...... | |
|
^”""1 1 — *-ТГ] |
ПН ........•— |
Для 100П, PtlOO, Pt500, PtlOOO -
D=4 мм, EMO мм
Для 500П - D=4 мм, L=60 мм
|
Монтажная длина L, мм |
50;60 |
80 |
100 |
120 |
160 |
200 |
250 |
320 |
400 | |
|
КТПТР-03 |
Масса, кг |
0.060 |
0,100 |
0,150 |
0,200 |
0,250 |
0,300 |
0,400 |
0,520 |
0,660 |
Примеры записи при заказе:
[Тип] - [Вид исполнения] - [Класс] - [ЫСХ] - [Монтажная длина] - [Длина соединительного кабеля]
КТПТР-ОЗ-2-Pt100-100-1500
КТПТР-03 (комплект из ЧЭПТ-3) и гильзы к ним
|
КТПТР-03: |
I 50...80 |
100; |
140; |
180,..400 мм. |
|
НСХ: |
100П |
100П |
100П |
100П |
|
Pt 100 |
500П |
500П |
500П | |
|
Р1500 |
Pt 100 |
PtlOO |
PtlOO | |
|
PtlOOO |
PtSOO |
PtSOO |
PtSOO | |
|
PtlOOO |
PtlOOO |
PtlOOO | ||
|
ЧЭПТ-3: |
L= 50...80 |
100; |
140; |
180.. .400 мм. |
|
НСХ: |
юоп |
100П |
100П |
100П |
|
Pt100 |
500П |
500П |
500П | |
|
PtSOO |
PtlOO |
PtlOO |
PtlOO | |
|
PtlOOO |
Pt500 |
PtSOO |
PtSOO | |
|
PtlOOO |
PtlOOO |
PtlOOO |
|
Гильзы к ним: |
|
для длин рабочей части термометров L= 50;60;80; 100;120; 160;200;250;320;400 мм.
Длина рабочей части термометров комплекта и гильз к ним может быть но согласованию иной, ио не меньше 100 мм для НСХ 500П и 50 мм для остальных НСХ.
-Диапазон измеряемых температур t термометрами комплекта от О °C до 180°С. -Диапазон измерения разности температур At комплектом от О °C до 1 80 °C.
Гильза защитная ГЗ-6,3-4 для КТПТР-03 и термометров ЧЭПТ-3
Гильза защитная предназначена для защиты термометров сопротивления от внешних давлений (Ру) до 6,3 МПа.
Гильза рассчитана на предельную скорость потока (см. таблицу).
Материал гильзы: нержавеющие стали и их зарубежные аналоги.
Материал прокладки: медь Ml.
Опытные образцы были испытаны внутренним гидростатическим давлением
Рироби. = 10 МПа в течение 2 минут.
|
Шифр |
L, мм |
Масса, кг |
Предельная скорость потока, м/сек | |
|
Пар |
Вода | |||
|
ГЗ-6,3-4-50 |
50 |
0,07 |
60 |
6 |
|
ГЗ-6,3-4-60 |
60 |
60 |
6 | |
|
ГЗ-6,3-4-70 |
70 |
60 |
6 | |
|
ГЗ-6,3-4-80 |
80 |
30 |
3 | |
|
ГЗ-6,3-4-110 |
НО |
30 |
3 | |
|
ГЗ-6,3-4-140 |
140 |
0,08 |
30 |
3 |
Примечание: Гильзы могут поставляться в комплекте с термометрами сопротивления или как самостоятельное изделие. По согласованию с заказчиком длина защитных гильз и материал для их изготовления могут быть иными.
Примеры записи при заказе:
Гильза защитная ГЗ - [Условное давление] - [Под термометры сопротивления с диаметром монтажной части] - [Длина монтажной части термометра сопротивления]
Гильза защитная ГЗ-6,3-4-50- G1/2”
Гильза защитная ГЗ-6,3-4-50 - по умолчанию - с резьбой М20х1,5.
|
Монтажная длина L, мм |
70 |
98 |
133 |
223 | ||
|
Тип и вид исполнения |
КТПТР-04 |
Масса, кг |
0,220 |
0,225 |
0,230 |
0,260 |
|
КТПТР-05 |
(комплекта) | |||||
КТПТР-04

70тох


-
- Диапазон измеряемых температур t термометрами комплекта от 0 °C до 200 °C.
-
- Диапазон измерения разности температур At комплектом от 0 °C до 180 °C.
-
- Схема электрических соединений - №4 (четырехпроводная).
-
- Номинальная статическая характеристика (НСХ) термометров комплекта по ГОСТ Р 6651-2009 может быть 100П, PtlOO, 500П, Pt500, PtlOOO.
Примеры записи при заказе:
[Тип] - [Вид исполнения] - [Класс] - [НСХ] - [Монтажная длина]
КТПТР-04 -1-1 ООП-9 8
КТПТР-05-2- 500П-133
Гильза защитная для КТПТР-05/1 (ТПТ-15-3) ГЗ-6,3-6-3
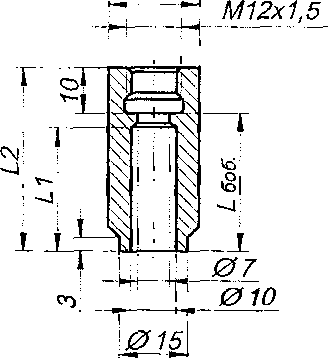
Гильза защитная ГЗ-6,3-6-3 предназначена для защиты термометров сопротивления ТПТ-15-3 от внешних давлений (Ру) до 6,3 МПа,
Гильза рассчитана на предельную скорость потока (см. таблицу).
Материал гильзы нержавеющие стали и их зарубежные аналоги.
Материал прокладки: отожженная медь Ml.
Опытные образцы были испытаны внутренним гидростатическим давлением Рпробл. = 10 МПа в течение 2 минут.
|
L |
L1 |
Гтр. |
Гтермом. |
|
67 |
75 |
54 |
70 |
|
97 |
105 |
84 |
100 |
|
137 |
145 |
124 |
140 |
|
177 |
185 |
164 |
180 |
|
Шифр |
L, мм |
Масса, кг |
Предельная | |
|
скорость м/сек |
потока, | |||
|
Пар |
Вода | |||
|
ГЗ-6,3-6-3-70 |
70 |
0,065 |
50 |
5 |
|
ГЗ-6,3-6-3-100 |
100 |
50 |
5 | |
|
ГЗ-6,3-6-3-140 |
140 |
25 |
2,5 | |
|
ГЗ-6,3-6-3- 180 |
180 |
0,07 |
25 |
2,5 |
Примечание-.
-
- Гильзы могут поставляться в комплекте с термометрами или как самостоятельное изделие. По согласованию с заказчиком длина защитных гильз и материал для их изготовления могут быть иными.
-
- По спецзаказу резьба М20х1,5 может быть заменена на трубную резьбу G1/2".
Примеры записи при заказе:
Гильза защитная ГЗ [Условное давление] - [Под термометр сопротивления с диаметром монтажной части] - [Исполнение] - [Длина монтажной части термометра сопротивления] - [Трубная резьба]
Гильза защитная ГЗ-6,3-6-3-70 - G1/2"
Комплекты термометров предназначены для измерения температуры и разности температур в составе теплосчетчиков и других приборов учета и контроля тепловой энергии в тепловых сетях промышленных предприятий и теплоснабжающих организаций. Номинальная статическая характеристика (НСХ) термометров комплекта по
ГОСТ 6651-2009 может быть 100П, 500П, PtlOO, Pt500, PtlOOO.
КТПТР-06
КТПТР-07
S14
S14
S14
S14


Электрическая схема соединений
№4
S14
М 12x1,5
М12х1,5 ФЮ.
S14

|
Монтажная длина L, мм |
35 |
45 50 |
60 70 80 |
НО 140 | ||
|
Тип и вид исполнения |
КТПТР-06 |
Масса, кг (комплект) |
0,175 |
0,180 |
0,185 |
0,190 |
|
КТПТР-07 |
0,076 |
0,078 |
0,080 |
0,084 | ||
|
КТПТР-08 |
0,070 |
0,072 |
0,074 |
0,076 | ||
Технические характеристики
-
• диапазон измеряемых температур, °C от 0 до 180 °C
-
• диапазон разности температур, °C от 0 до 180 °C
-
• показатель тепловой инерции не более, с 5
-
• условное давление, МПа 6,3
-
• степень защиты от пыли и влаги по ГОСТ 14254
IP65 для КТПТР-06, 08;
IP 54 для КТПТР-07.
-
• материал
защитной арматуры:сталь 12X1 8Н1 ОТ головки: сополимер марки АБС-2020-32
разъем РС-4ТВ - для КТПТР-07
-
• соединительный кабель - ШТЛ-4х0,12 мм2 - для КТПТР-08
Примечание:
-
1) Комплект термометров сопротивления работоспособен при температуре окружающей среды от минус 50 до плюс 60°С.
-
2) Рекомендуемый измерительный ток для 1 ООП, Pt 100 - 1,0 мА; для 5ООП, PtSOO - 0,2 мА, РП000-0,1 мА,
-
3) Длина кабеля может быть изменена по согласованию с заказчиком
-
4) По требованию Заказчика термометры комплекта могут комплектоваться защитными гильзами ГЗ-6,3-4.
Примеры записи при заказе:
[Тип] - [Вид исполнения] - [Класс] - [НСХ] - [Монтажная длина]
КТПТР-06-1-100П-60
1<ППР-(17-2-Р1100-35
КТПТР-08-1-100П-45-1000
КТПТР-06(комплект из ТИТ-19-1), КТПТР-07(комплект из ТПТ-19-2),
КТПТР-08(комплект из ТПТ-19-3) и гильзы к ним
|
КТПТР-06...08: |
L= 35; 45; 50; 60; 80мм |
110мм |
140 мм. |
|
НСХ: |
100П |
юоп |
ЮОП |
|
Pt 100 |
500П |
500П | |
|
Pt500 |
Pt 100 |
Pt 100 | |
|
Pt 1000 |
PtSOO |
PtSOO | |
|
PtlOOO |
PtlOOO |
|
ТПТ-19-1...3: |
L 35; 45; 50; 60; 80mm |
110мм |
140 мм, |
|
HCX |
100П |
100П |
100П |
|
Pt 100 |
500П |
500П | |
|
PtSOO |
PtlOO |
PtlOO | |
|
PtlOOO |
PtSOO |
PtSOO | |
|
PtlOOO |
PtlOOO |
Гильзы к ним: - ГЗ-6,3-4- L - с внешней резьбой М20х1,5;
- ГЗ-6,3-4- L - G1/2" - с внешней трубной резьбой 'Л".
с длинами рабочей части термометров L= 35; 45; 50; 60; 80; 110мм и 140 мм.
Длина рабочей части термометров комплекта и гильз к ним может быть по согласованию иной, но не меньше 35мм (для I-ICX 5ООП - 100 мм).
Гильза защитная ГЗ-6,3-4 для КТПТР -06, -07, -08 и термометров ТПТ-19
Гильза защитная предназначена для защить! термометров сопротивления от внешних давлений (Ру) до 6,3 МПа.
Гильза рассчитана на предельную скорость потока (см. таблицу).
Материал гильзы: нержавеющие стали и их зарубежные аналоги.
Материал прокладки: .медь M l.
Опытные образцы были испытаны внутренним гидростатическим давлением
Рпройи. = Ю МПа в течение 2 мииуг.
ГЗ-6,3-4
|
Шифр |
L, мм |
Масса, кг |
Предельная скорость потока, м/сек | |
|
Пар |
Вода | |||
|
ГЗ-6,3-4-50 |
50 |
0,065 |
60 |
6 |
|
ГЗ-б,3-4-60 |
60 |
60 |
6 | |
|
ГЗ-6,3-4-70 |
70 |
60 |
6 | |
|
ГЗ-6,3-4-80 |
80 |
30 |
3 | |
|
ГЗ-6,3-4-110 |
1 10 |
30 |
3 | |
|
ГЗ-6,3-4-140 |
140 |
0,075 |
30 |
3 |
Примечание-. Гильзы могут поставляться в комплекте с термометрами сопротивления или как самостоятельное изделие. По согласованию с заказчиком длина защитных гильз и материал для их изготовления могут быть иными.
Примеры записи при заказе:
Гильза защитная ГЗ - [Условное давление] - [Под термометры сопротивления с диаметром монтажной части] - [Длина монтажной части термометра сопротивления]
Гильза защитная ГЗ-6,3-4-50 - G1/2” с трубной резьбой Гильза защитная ГЗ-6,3-4-80 - по умолчанию - с резьбой М20х1,5.
Рекомендуемый монтаж защитных гильз ГЗ-6,3-4

ГЗ-6,3-4
Переходник
Для арматуры 3/Ц"...5п

|
Dy |
20 |
25 |
32 |
40 |
|
D" |
3/4“ |
Г’ |
1,25“ |
1,5“ |
|
L |
50 |
60 |
70 |
80 |
|
L1 |
37 |
47 |
57 |
67 |
Для арматуры 2"... 5"


ГИЛЬЗА ВВАРНАЯ ГЗВ - 6,3 - 8 - L

; Обозначение
'"ОШК0ШШ900.01
I----------:
Шифр
|
■ .... |
60 |
\ 12,5 | |
— |
ГЗВ-6,3-8-60-(14) |
|
01 |
80 |
г- --iLri 1 |
20 |
гзв- е,з-8-зо-р) |
|
02 |
100 |
52,5 |
40 |
\ГЗВ-6,3-8-100-(М) |
|
00 |
120 |
! 72,3 \ |
60 |
\ГЗВ-6,3-8-120-(М) |
2. В зависимости от заказа материал мажет бить
-сталь 12Х18Н10Т (обозначение - Н)~~--—--—----
-зарубежный аналог нерж, стали (обозначение - НЗ)---
-сталь 20 (обозначение - С) ———----——- ——
3. Остальные ТТ- го 0СТ4. Г0.070.014.
Гильза защитная предназначена для защиты термопреобразователей температуры от внешних давлений (Ру) до 25 МПа.
Гильза рассчитана на предельную скорость потока (см. таблицу).
Материал гильзы: сталь 12Х18Н10Т.
Материал прокладки: медь Ml.
Каждая гильза проходит испытание внутренним гидростатическим давлением Рпр05Н. = 40 МПа в течение 2 минут и выдается протокол испытаний.
Под термометр с неподвижным штуцером
Под термометр с подвижным штуцером
Рис. 1
Под термометр с неподвижным штуцером
Рис. 2
Под термометр с подвижным штуцером
|
Шифр |
Масса, не более, |
Предельная скорость потока, м/с. | |||
|
Пар |
Вода | ||||
|
ГЗ-25-8-80 |
ГЗ-25-10-80 |
80 |
0,120 |
40 |
4,0 |
|
ГЗ-25-8-100 |
ГЗ-25-10-100 |
100 |
0,120 |
40 |
4,0 |
|
ГЗ-25-8-120 |
ГЗ-25-10-120 |
120 |
0,160 |
40 |
4,0 |
|
ГЗ-25-8-160 |
ГЗ-25-10-160 |
160 |
0,190 |
40 |
4,0 |
|
ГЗ-25-8-200 |
ГЗ-25-10-200 |
200 |
0,220 |
25 |
2,5 |
|
ГЗ-25-8-250 |
ГЗ-25-10-250 |
250 |
0,260 |
25 |
2,5 |
|
ГЗ-25-8-320 |
ГЗ-25-10-320 |
320 |
0,300 |
25 |
2,5 |
|
ГЗ-25-8-4 00 |
ГЗ-25-10-400 |
400 |
0,360 |
5 |
0,5 |
|
Шифр |
L, мм |
Масса, не более, X б: |
Предельная скорость потока, м/с. | ||
|
Пар |
Вода | ||||
|
ГЗ-25-8-500 |
ГЗ-25-10-500 |
500 |
0,420 |
5 |
0,5 |
|
ГЗ-25-8-630 |
ГЗ-25-10-630 |
630 |
0,490 |
5 |
0,5 |
|
ГЗ-25-8-800 |
ГЗ-25-10-800 |
800 |
0,660 |
5 |
0,5 |
|
ГЗ-25-8-1 ООО |
ГЗ-25-10-1000 |
1000 |
0,790 |
5 |
0,5 |
|
ГЗ-25-8-1250 |
ГЗ-25-10-1250 |
1250 |
1,000 |
2 |
0,2 |
|
ГЗ-25-8-1600 |
ГЗ-25-10-1600 |
1600 |
1,240 |
2 |
0,2 |
|
ГЗ-25-8-2000 |
ГЗ-25-10-2000 |
2000 |
1,440 |
2 |
0,2 |
Примечании: Гильзы могут поставляться в комплекте с термометрами или как самостоятельное изделие. По согласованию с заказчиком длина защитных гильз может быть изменена.
Примеры записи при заказе:
Гильза защитная ГЗ-[Условное давление]-[Под термометр с диаметром монтажной части]~[Длина монтажной части]-[Под термометр с подвижным штуцером]
Гильза защитная ГЗ-25-8-120-Н; Гильза защитная ГЗ-25-10-200-П
Гильза защитная предназначена для защиты термопреобразователей температуры от разрушающих факторов рабочей среды - давления и скоростного напора жидкости или газа. Размеры защитных гильз рассчитывались с учетом прочностных свойств металла и Госта 28537-90 (СТ СЭВ 6690-89).
Гильза защитная предназначена для защиты термопреобразователей температуры от внешних давлений (Ру) до 50 МПа.
Гильза рассчитана на предельную скорость потока (см. таблицу).
Материал гильзы: сталь 12X1 8HI0T.
Материал прокладки: медь Ml.
Каждая гильза проходит испытание внутренним гидростатическим давлением P.ipoSn = 75 МПа в течение 2 минут и выдается протокол испытаний.
Рис. 1
Под термометр с неподвижным штуцером
Рис. 2
Под термометр с подвижным штуцером
|
Шифр |
L, мм |
Масса, не более, кг |
; ■: Предельная скорость, потока, м/с | |
|
Пар |
Вода | |||
|
ГЗ-50-10-120 |
120 |
0,610 |
120 |
10 |
|
ГЗ-50-10-160 |
160 |
0,700 |
120 |
10 |
|
■ ГЗ-50-10-200 |
200 |
0,810 |
100 |
7,5 |
|
ГЗ-50-10-250 |
250 |
0,900 |
100 |
7,5 |
|
1'3-50-10-320 |
320 |
1,100 |
100 |
7,5 |
Примеры записи при заказе;
Гильза защитная ГЗ-[Условное давление]-[Под термометр с диаметром монтажной части]-[Длина монтажной части]-[Под термометр с подвижным штуцером]
ГЗ--50-10-200-П
МИНИМАЛЬНАЯ ГЛУБИНА ПОГРУЖЕНИЯ
для термометров, составляющих комплекты КТПТР, и длина применяемых в них чувствительных элементов ЧЭ: проволочных (ЧЭПТ) и напыленных (ЧИП).
|
ТипКТПТР и ГПТ, диаметр рабочей части |
Длина рабочей части, мм |
Длина ЧЭ, мм |
нсх по ГОСТ Р 8.625-2006 |
Минимальная глубина: погружения, мм |
|
КТПТР-01 ТПТ-1-3 08 мм |
60 |
25. |
100П; PH 00 |
60 |
|
5 . |
Pt 100 (ЧИП) |
50 | ||
|
80 и более |
25 |
100П; PtlOO |
70 | |
|
5 ■ |
PH 00 (ЧИП) |
50 •. | ||
|
КТПТР-03 ЧЭПТ-3 04 мм |
50 |
25 |
100П; PtlOO |
50 |
|
5 .. . |
PtlOO... PtlOOO |
40 ■ | ||
|
100 и более |
50 |
500П; Pt500 |
100 | |
|
25 |
100П; PtlOO |
50 | ||
|
5 :: |
PtlOO... PtlOOO (ЧИП) |
40 | ||
|
КТПТР-04;-05;-05/1 ТПТ-15-1;-2;-3 06 мм |
70 |
25 5 |
l ООП; PtlOO |
60 |
|
PtlOO... PtlOOO (ЧИП) |
45 | |||
|
98 и более |
50 |
5ООП; PtSOO |
98 | |
|
25 |
100П; PtlOO |
60 | ||
|
5 ' |
PtlOO... PtlOOO (ЧИП) |
45 . | ||
|
КТПТР-06...-08 ТПТ-19-1...-3 04 мм |
35; 45-50 |
15 |
100П; PtlOO... PtlOOO |
35 |
|
60; 80 |
25 |
100П; PtlOO |
so •:' | |
|
35...80 |
5 |
PtlOO... PtlOOO (ЧИП) |
35 | |
|
100 и выше |
50 |
500П; Pt500 |
100 | |
|
25 |
100П; PtlOO |
50 | ||
|
5 |
PtlOO... PtlOOO (ЧИП) |
35 |
Примечание:
-Указаны длины платиновых проволочных элементов ЧЭПТ.
Длины напыленных чувствительных элементов (Г1СХ Pt 100... PH ООО) не превышают 5 мм.
-
- Минимальная глубина погружения определена по методике ГОСТ 6651 - 2009.
-
- Так как на практике штуцер термометра имеет почти ту же температуру, что и теплоноситель (при условии выполнения наших указаний по монтажу - обязательная теплоизоляция трубопровода и выступающих частей термометров, гильз и бобышек), при поверке «короткие» термометры погружались на длину рабочей части плюс их крепежный штуцер.
Термометр платиновый технический типа ТПТ-4-2.
ТУ 4211 -020- 17113168-96 Госреестр № 15420-06
Предназначен для измерения температуры воздуха в помещениях и на улице.
Масса, кг: ТПТ- 4-2 - 0,085
Технические характеристики термометра сопротивления ТПТ-4-2:
Диапазон измеряемых температур, °C от -60 до 100 °C
Класс допуска АА, А, В, С
Номинальная статическая характеристика (НСХ) 50П. 100П, Pt 100, 500П, Pt500, PtlOOO
Показатель тепловом инерции, с 15
Схема соединения с ЧЭ № 2
Условное давление (Ру), МПа 0,2
Степень защиты от пыли и влаги по ГОСТ 14254 IP65
Виброустойчивый и вибропрочный по группе №3 ГОСТ 12997-84
Климатическое исполнение
По условиям эксплуатации термометр соответствует условиям У, ТВ категории 3
ГОСТ 15150-69
Материал
защитной арматуры: сталь 12Х18Н1 ОТ
головки: прессматериал АГ-4В или полиамид.
Примеры записи при заказе:
[Тип термометра] - [Вид исполнения] - [НСХ] - [Класс] - [Схема соединения]
ТПТ-4-2-50П-С-2
ПЕРЕХОДНОЙ ШТУЦЕР ПШ-хх-М20х1,5-(М)
026 D
|
Шифр 'К |
D1 |
Е.ЦЦ |
Е'1Т<- |
Материал | |
|
ПШ-01-М20х1,5-Н |
М20х1,5 |
12 |
32 |
14 |
Сталь 12Х18Н10Т |
|
ПШ-01-М20х1,5-НЗ |
Зарубежный аналог нерж. Стали | ||||
|
ПШ-01-М20х1,5-С |
Сталь 20 | ||||
|
ПШ-05-М12х1,5-Н |
М12х1,5 |
7 |
28 |
10 |
Сталь 12X1 ЯН ЮТ |
|
1П11-05-М 12.М.5-НЗ |
Зарубежный аналог нерж. Стали | ||||
|
ПШ-05-М12хЕ5-С |
Сталь 20 ММ; . | ||||
|
ПШ-06-М12х1,5-Н |
5 |
Сталь 12Х18Н10Т | |||
|
ПШ-06-М12х1,5-НЗ |
Зарубежный аналог нерж. Стали | ||||
|
ПШ-06-М12х1,5-С |
Сталь 20 |
Пример записи при заказе:
ПШ 01-М20х1.5-Н
и составляющих его термометров ТПТ-1-3
-
- Резьба штуцера термометра...........................................................
-
- Материал переходного штуцера - 12х18н10т..............-.........-........-..............
ПШ - 05 - M12xl,5-С
и составляющих его термометров ТПТ-15-2
-
- Резьба штуцера термометра...........................-.....-
-
- Материал переходного штуцера - Ст.20 -............ -....................
|
Шифр |
Ьбоб. |
|
БП-МЗЗх2-40 |
40 |
|
БП-МЗЗх2-50 |
50 |
|
БП-МЗЗх2-60 |
60 |
Материал: ~ Ст.20.
По согласованию возможно изготовление бобышек иных размеров, с иной резьбой, а также из других сталей.
Пример записи для заказа: БП - МЗЗх2,0 ~ 30
|
- Бобышка прямая для установки | ||
|
КТПТР-01 с гильзой F3-50-8-L................... |
- | |
|
- Резьба под штуцер гильзы —............-........ | ||
|
- Рабочая длина бобышки L боб, мм--------------- |
|
Шифр |
D |
Ббоб. |
|
БП-М20х1,5-30 |
М20х1,5 |
30 |
|
БП-М20х1,5-40 |
40 | |
|
БП-М20х1,5-50 |
50 | |
|
БП-М20х1,5-60 |
60 | |
|
БП-G 1/2-30 |
G 1/2” |
30 |
|
БП-G 1/2-40 |
40 | |
|
БП-G 1/2-50 |
50 | |
|
БП-G 1/2-60 |
60 |
Материал: - Ст.20
По согласованию возможно изготовление бобышек иных размеров, с иной резьбой, а также из других сталей.
Пример записи для заказа: БП - М20х1,5-30
КТПТР-01 с гильзой F3-6,3-8-L.......—
-
- Резьба под штуцер гильзы..................................................
-
- Рабочая длина бобышки L боб, мм................-................................
БП- G 1/2” — 50
КТПТР-06 с гильзой ГЗ-6,3-4-Ь..........................-—-1......
-
- Резьба под штуцер гильзы —............-.................................
-
- Рабочая длина бобышки, L боб, мм —.......-............-
Шифр
Ьбоб.
L1
L2
БПТ-01-М20х1,5-30
30
27
44
БПТ-01-М20х] ,5-40
40
37
54
БПТ-01-М2 Ох 1,5-50
50
47
64
БИТ-01-М20Х1,5-60
60
57
74

■
1
1
-L
А'/атериал: - Ст.20
По согласованию возможно изготовление бобышек иных размеров, с иной резьбой, а также из других сталей.
Пример записи для заказа: БПТ- 01 - М20х1,5 - 40
-
- Бобышка прямая для установки
КТПТР-01 без гильзы.................-............J-
-
- Резьба под штуцер термометра...................-............
-
- Рабочая длина бобышки L боб, мм--------------------------------------
Шифр
Ббоб.
L1
L2
БПТ-05-М 12x1,5-30
30
27
40
БПТ-05-М12х1,5-40
40
37
50
БПТ-05-М12x1,5-50
50
47
60
БПТ-05-М 12x1,5-60
!6О
57
70

1

Материал: - Ст.20
По согласованию возможно изготовление бобышек иных размеров, с иной резьбой, а также из других сталей.
Пример записи для заказа:
БПТ-05 - 12X1,5 - 50
028±2

|
Шифр |
D |
Ебоб. |
|
БС-45-М20х1,5-40 |
М20х1,5 |
40 |
|
БС-45-М20х1,5-50 |
50 | |
|
БС-45-М20х1,5-60 |
60 | |
|
BC-45-G1/2-40 |
G 1/2" |
40 |
|
БС-45-G1/2-50 |
50 | |
|
BC-45-G1/2-60 |
60 |
Материал: - Ст.20.
По согласованию возможно изготовление бобышек иных размеров, с иной резьбой и углом скоса, а также из других сталей.
Пример записи для заказа: БС- 45- М20х1,5 - 40
- Бобышка скошенная 45° для установки
КТПТР-01 с гильзой ГЗ-6,3-8-Е......................J-
-Резьба под штуцер гильзы.........................................4-
-Рабочая длина бобышки L боб, мм -..........................................
БС- 45 - G 1/2" - 50
-
- Бобышка скошенная 45° для установки
КТПТР-05 с гильзой ГЗ-6,3-6-2-Б —..................
-
- Резьба под штуцер гильзы -—.........................
-
- Рабочая длина бобышки, L боб, мм...................
|
Шифр |
Ебоб. |
L1 |
L2 |
|
БСТ-45-01-М20х1,5-30 |
30 |
4] |
58 |
|
БСТ-45-01-М20х1,5-40 |
40 |
51 |
68 |
|
БСТ-45-01-М20х1,5-50 |
50 |
61 |
78 |
|
БСТ-45-01-М20х1,5-60 |
60 |
71 |
88 |
028±2
Г*-----1-------1

Материал: Ст.20.
По согласованию возможно изготовление бобышек иных размеров, с иной резьбой и углом скоса, а также из других сталей.
Пример записи для заказа:
-
- Бобышка скошенная 45° для установки
КТПТР-01 без гильзы—-.................
-
- Резьба под штуцер термометра...........
-
- Рабочая длина бобышки L боб, мм......
|
Шифр |
Ебоб. |
L1 |
L2 |
|
БСТ-45-05-М 12x1,5-30 |
30 |
41 |
55 |
|
БСТ-45-05-М 12X1,5-40 |
40 |
51 |
65 |
|
БСТ-45-05-М 12x1,5-50 |
50 |
61 |
75 |
|
БСТ-45-05-М12x1,5-60 |
60 |
71 |
85 |
Материал: Ст.20.
По согласованию возможно изготовление бобышек иных размеров, с иной резьбой и углом скоса, а также из других сталей.
Пример записи для заказа:
БСТ-45-05 - М12Х1,5 - 50
-
- Бобышка скошенная 45° для установки
КТПТР-05 без гильзы......................-.......................1-
-
- Резьба под штуцер термометра-..............................-—-.................
-
- Рабочая длина бобышки, L боб, мм..................................................-........
(■
Таблица, Перечень установочных изделий для КТПТР
|
Тип КТПТР |
Тип ТПТ, составляющих КТПТР |
Тип штуцера при установке ТПТ без гильз |
Тип гильз |
Тип' бобышек |
|
КТПТР-01-L/ 08 КТПТР-01-L/ 06 |
TOT-1-3-L/08 ТПТ-1-3-Е/06 |
ПШ-01- M20xl,5-L ПШ-01- M20xl,5-L |
F3-6,3-8-L T3-6,3-6-L |
Бобышка Прямая: БП, БПТ; Бобышка Скошенная 45°: БС-45, БСТ-45; ГЗВ - вварная гильза. БП-МЗ 3x2,0; |
|
КТПТР-03-L |
ЧЭПТ-3 |
Только с гильзой |
T3-6,3-4-L | |
|
КТПТР-04-1 КГПТР-05-L КТПТР-05/l-L |
ТПТ-15-l-L ТПТ-15-2-Г TnT-15-3-L |
ПШ-05- MI2xl,5-L Только с гильзой |
ГЗ-6,3-6-1-L ГЗ-6,3-6-2-L ГЗ-6,3-6-3- L | |
|
КТПТР-06-L КТПТР-07-L КТПТР-08-L |
ТПТ-19-l-L ТПТ-19-2-Ь ТПТ-19-З-Ь |
ПШ-06- M12xl,5-L ПШ-06- M12xl,5-L ПШ-06- M12xl,5-L |
ГЗ-бЗ-4-L |
Для установки КТПТР и составляющих их термометров без гильз применяются также бобышки прямая БПТ и скошенная Б СТ-45 с длинами 30,40,50 и 60 мм.

I
Так как L погр.= L терм. - (L боб. +5) и L погр. должно находится в зоне (0,4...0,7) Dy, а из-за размеров ЧЭ лучше в зоне (0,4...0,7)Dy, то расчет ведется
по формуле: L терм., мм = (0,4...0,7)Dy + (L боб+5).
|
Dy ,мм |
>0,4 Dy |
<0,7 Dy |
L6o6=30mm |
Ьбоб=40мм |
Ьбоб=50мм |
Ьбоб=60мм |
|
50 |
20 |
35 |
70 |
80 |
—- |
— |
|
65 |
26 |
46 |
70...80 |
80...90 |
100 |
— |
|
80 |
32 |
56 |
70...90 |
80..ЛОО |
100...110 |
120 |
|
100 |
40 |
70 |
80..ЛОО |
90..ЛЮ |
100...120 |
120...130 |
|
125 |
50 |
88 |
90...120 |
100...130 |
110.. Л 40 |
120...150 |
|
150 |
60 |
105 |
100.. Л 40 |
110...150 |
120...160 |
130...170 |
|
200 |
80 |
140 |
120...170 |
130...180 |
140...190 |
150...200 |
|
250 |
100 |
175 |
140...210 |
150...220 |
160...230 |
170...240 |
|
300 |
120 |
210 |
160...240 |
170...250 |
180...260 |
190...270 |
В таблице указан расчетный диапазон длин для термометров в зависимости от Dy и длины применяемой бобышки Ьбоб. Далее в зависимости от применяемого типа КТПТР-хх выбирается его стандартная длина L, попадающая в указанный диапазон, и, соответственно, гильзы Г3-6,3-х-х - L для этого комплекта. Здесь и далее принято условие, что L боб < L терм / 2.
Расчет ведется по формуле: L терм., мм =1,41х (0,4...0,7)Dy + (L боб+5)
|
Dy, мм |
>0,4 Dy |
<0,7 Dy |
L6o6=40mm |
Ъбоб=50мм |
Ьбоб=60мм |
|
50 |
20 |
35 |
80...90 |
100 |
— |
|
65 |
26 |
46 |
90...110 |
100...120 |
120...130 |
|
80 |
32 |
56 |
90...120 |
100...130 |
120... 140 |
|
100 |
40 |
70 |
100...140 |
110...150 |
120...160 |
|
125 |
50 |
88 |
120...160 |
130...170 |
140...180 |
|
150 |
60 |
105 |
130...190 |
140...200 |
150...210 |
|
200 |
80 |
140 |
160...240 |
170... 250 |
180...260 |
|
250 |
100 |
175 |
190..290 |
200...300 |
210...310 |
|
300 |
120 |
210 |
220...340 |
230...350 |
240...360 |
В таблице указан расчетный диапазон длин для термометров в зависимости от Dy и длины применяемой бобышки Ъбоб. Далее в зависимости от применяемого типа КТПТР-хх выбирается его стандартная длина L, попадающая в указанный диапазон, и, соответственно, гильзы Г3-6,3-х-х - L для этого комплекта.
Расчет ведется по формуле: L терм., мм = (0,4. ..0,7)Dy +L боб.
|
Dy,мм |
У),4 Dy |
<0,7 Dy |
Ьбоб=30мм |
Ьбоб=40мм |
Ьбоб=50мм |
L6o6=60mm |
|
50 |
20 |
35 |
60 |
— |
— | |
|
65 |
26 |
46 |
70 |
80 |
— | |
|
80 |
32 |
56 |
70...80 |
80... 90 |
100 | |
|
100 |
40 |
70 |
70...100 |
80...110 |
100,..120 |
120...130 |
|
125 |
50 |
88 |
80...110 |
90...120 |
100...130 |
120...140 |
|
150 |
60 |
105 |
90...135 |
100...140 |
110...150 |
120...160 |
|
200 |
80 |
140 |
110...1 70 |
120...180 |
130...190 |
140...200 |
|
250 |
100 |
175 |
130...200 |
140...210 |
150...220 |
160...230 |
|
300 |
120 |
210 |
150...240 |
160...250 |
170,..260 |
180.,,270 |
В таблице указан расчетный диапазон длин для термометров в зависимости от Dy и длины применяемой бобышки Ьбоб. Далее в зависимости от применяемого типа КТПТР-хх выбирается его стандартная длина L, попадающая в указанный диапазон.
|
Расчет ведется по ( |
юрмуле: L терм., мм =1,41х (0,4,..0,7)Dy + L боб | |||||
|
Dy,MM |
>0,4 Dy |
<0,7 Dy |
Ьбоб=30мм |
Ьбоб=40мм |
Ьбоб=50мм |
L6o6=60mm |
|
50 |
20 |
35 |
60...70 |
80 |
100 | |
|
65 |
26 |
46 |
70...90 |
80...100 |
100...НО |
120 |
|
80 |
32 |
56 |
80...100 |
90...110 |
100...120 |
120...130 |
|
100 |
40 |
70 |
90...130 |
100...140 |
110...150 |
120...160 |
|
125 |
50 |
88 |
100...150 |
110...160 |
120.,.170 |
130...180 |
|
150 |
60 |
105 |
120... 170 |
130...180 |
140...190 |
150...200 |
|
200 |
80 |
140 |
150...220 |
160...230 |
170...240 |
180...250 |
|
250 |
100 |
175 |
180...270 |
190...280 |
200...290 |
210...300 |
|
300 |
120 |
210 |
200...320 |
210...330 |
220...340 |
230...350 |
В таблице указан расчетный диапазон длин для термометров в зависимости от Dy и длины применяемой бобышки Ебоб. Далее в зависимости от применяемого типа КТПТР-хх выбирается его стандартная длина L, попадающая в указанный диапазон.
УКАЗАНИЯ
по монтажу и эксплуатации комплектов платиновых термометров КТПТР производства ЗАО «ТЕРМИКО»
-
- монтаж и демонтаж гильз или термометров комплекта при их установке без гильз должны проводиться при полном отсутствии давления в трубопроводах;
-
- при установке термометров комплекта категорически запрещается их вращение (поворачивание) за клеммную головку или за соединительный кабель (разъём);
-
- термометры комплекта полностью идентичны и взаимозаменяемы, поэтому не имеет значения, какой из них будет установлен, к примеру, на подающем трубопроводе;
-
- при установке термометра (в гильзу или напрямую в трубопровод) нужно удостовериться, что его рабочая часть по длине не превышает размеры гильзы или трубопровода, исключив, таким образом, механическое повреждение рабочей части термометра;
-
- чувствительная часть термометра находится в начале его рабочей части и определяется размером примененного в нем проволочного или напыленного чувствительного элемента (см. Паспорт на КТПТР); термометр необходимо погрузить в теплоноситель как минимум на его минимальную глубину погружения (см. Паспорт);
-
- термометр (в гильзе или без нее) может быть установлен любым способом - под прямым углом к теплоносителю, навстречу ему или под углом, но так, чтобы его чувствительная часть приходилась назону 0,3...0,7 Ду (ГОСТ 8.586.5-2005);
-
- термометры должны устанавливаться на трубопроводах в доступных для их монтажа и демонтажа местах, полностью исключающих механические повреждения выступающих частей и попадания воды на них;
-
- для получения правильных метрологических характеристик гильза, в которую устанавливается термометр, должна быть заполнена маслом или пастой КПТ, а выступающие части гильзы, бобышки и термометра необходимо теплоизолировать (напр. не менее чем трехсантиметровым слоем минеральной ватой);
-
- Чтобы термометр, помещенный в гильзу, имел минимальную погрешность измерения температуры, рекомендуется применять специальные гильзы и бобышки производства ЗАО «ТЕРМИКО»;
-
- после фиксации термометра на трубопроводе крепящий штуцер термометра и
I клеммная головка (разъём) в целях исключения несанкционированного вскрытия головки
(разъединения разъёма) и (или) вытаскивания (приподнимания) термометра должны быть опломбированы; при этом провод, с помощью которого производится опломбирование, должен опоясывать трубопровод;
-
- соединительный кабель, идущий от термометра к тепловычислителю, при его фиксации должен иметь достаточный провис, то есть, не быть натянутым в целях исключения повреждения выступающей часта термометра;
-
- термометры комплекта не требуют проведения специальных регламентных работ; в процессе эксплуатации необходимо регулярно, не реже одного раза в месяц, следить за чистотой и состоянием выступающей части корпуса, клеммной головки (разъёма), соединительного кабеля, заводских шильдиков и пломб;
-
- после истечения срока действия Свидетельства о первичной (периодической) поверке на комплект требуется его новое переосвидетельствование в уполномоченных на это органах Госстандарта.
Поверка комплектов термометров производится в соответствии с ГОСТ Р 8.624-2006 и разделом 3 «Методика поверки» в руководстве по эксплуатации ЕМТК.07.1000.00 РЭ. МЕТОДИКА ПОВЕРКИ
-
3.5.3 Проверка электрического сопротивления изоляции при комнатных температурах проводится по ГОСТ Р 8.624-2006 мегаомметром с напряжением до 100 В.
Термометры комплекта считаются выдержавшими испытания, если сопротивление изоляции каждого из них более 100 МОм.
-
3.5.4 Проверка метрологических характеристик комплекта.
-
3.5.4.1 Проверка классов комплектов термометров.
-
3.5.4.2 Производят измерения при О °C. Для этого используют нулевой термостат. Эталонный и все испытуемые термометры помещают в термостат на глубину не менее их минимальной глубины погружения. Чувствительные элементы (ЧЭ) термометров должны находиться на одном уровне.
Испытуемый термометр подключают к измерительной установке в соответствии со схемой соединения внутренних проводов и схемами внешних электрических подключений приборов. Поверхность наконечников и выводных проводов термометра должна быть очищена от пленки оксидов. Рекомендуемый измерительный ток для ЫСХ 100П, Pt 100- 1,0 мА; для 5ООП, Рг500 -0,2 мА; для 10ООП, Pt 1000-0,1 мА.
После достижения стабильного состояния (сопротивление термометра изменяется не более 0,1 допуска за 5 минут) проводят измерение температуры эталонным термометром, затем измеряют сопротивление испытуемых термометров. Необходимо провести не менее 10 отсчетов сопротивления для каждого термометра. Рассчитывают средние значения температур:
йит “ среднее значение температуры (0 °C), измеренное эталонным термометром;
tIo - среднее значение температуры (0 °C), измеренное первым испытуемым термометром из комплекта;
t20 - среднее значение температуры (0 °C), измеренное вторым испытуемым термометром из комплекта, и т.д.
Рассчитывают допуски термометров по температуре с учетом расширенной неопределенности результата измерений (раздел 11 ГОСТ Р 8.624-2006).
Atlo - допуск для первого испытуемого термометра из комплекта; At2w - допуск для второго испытуемого термометра из комплекта и т.д.
-
3.5.4.3 Проверка допусков термометров комплекта по температуре при
100 °C
В термостате переливном прецизионном ТПГМ устанавливают температуру 100 °C. Проверку допусков термометров комплекта по температуре проводят по методике 3.5.4.2. Рассчитывают средние значения температур:
Тккьт - среднее значение температуры (100 °C), измеренное эталонным термометром; tlioc - среднее значение температуры (100 °C), измеренное первым испытуемым термометром из комплекта;
t2]U0 - среднее значение температуры (100 °C), измеренное вторым испытуемым термометром из комплекта, и т.д.
Рассчитывают допуски термометров по температуре с учетом расширенной неопределенности результата измерений (раздел 11 ГОСТ Р 8.624-2006).
Atl mo - допуск для первого испытуемого термометра из комплекта;
At2iou - допуск для второго испытуемого термометра из комплекта и т.д.
-
3.5.4.4 Результаты поверки считаются положительными, если выполняются два условия:
-
1, Дпя каждого термометра комплекта класса 1 выполняются соотношения, соответствующие классу допуска термометров АА:
Atli <±(0,1 + 0,0017t); At2t<±(0,l + 0,0017t);
где t - температура, °C
Atlo<±0,l °C; Atl 1(ra<±0,27 °C;
At2(l<±0,l °C; At21W)<±0,27 °C.
Для каждого термометра комплекта класса 2 выполняются соотношения, соответствующие классу допуска термометров А:
Allt <± (0,15 + 0,002t); At2t <± (0,15 + 0,002t);
где t - температура, °C
Atl0<±0,15 °C; Atl t(l{i<±0,35 °C;
At2i)<±0,15 °C; At2joo<±O,35 °C.
-
2. Допуск значений разности температур At для комплектов класса 1:
At0,t=([tlirt2,|)- (|tOjT-tbl I) <±(0,05 + 0,001 At);
At(M=(|t2o-tltj)- (|Wtto|) <±(0,05 ± 0,001 At);
где Ato-t - допуск значений разности температур (0 °C, t °C), °C;
а) Ato-ino < ±0,15 °C;
б) Atn-o=(|tlo-t2f>|)-(]to3T-tibT|) <±0,05;
в) At|u«-ioo=(|tl tno“t2iBo|)’(|tioo3T-tiooJT|) <±0,05.
Допуск значений разности температур (At) для комплектов класса 2:
At0.,=(|tl(l-t2,|)-(|toJT-tt3T|) <±(0,10 + 0,002At)
At<M=(|t2Hlt|)- ([t(hT-tbT|) <±(0,10 + 0,002At)
а) Ate. ню <±0,30 °C.
б) Ato.(i=((tlti“t2o|)-([to3T-tnJI|) <±0,10
в) Atni(Mnn=(|tl[oo-t2io(j[)-(|t|{)tbT'tioo3T|) <±0,10
3.6 Оформление результатов поверки
-
3.6.1 При положительных результатах поверки оформляется свидетельство о поверке с указанием класса комплекта.
-
3.6.2 При отрицательных результатах комплект бракуется и оформляется извещение о непригодности комплекта.
r '
I :
г
b . ’
f
-
• 4
!
Заказы на изготовление и поставку термопреобразователей просим направлять по адресу:
Россия, 124460, Москва, Зеленоград, a/я 82у ЗАО «Термико» Тел./факс (495) 225-3017 (многоканальный), 745-0583.
■ .4
(
L
f
I
*
t
':
'.i:
.*
C<Lr v
■j. ■ * У 1
r*’:s~s
t
■ л-#
|
КТПТР-04: |
L= 70; |
98; |
133; |
223 мм. |
|
НСХ: |
юоп |
ЮОП |
100П |
100П |
|
Pt 100 |
500П |
5 00П |
500П | |
|
Pt500 |
Pt 100 |
Pt 100 |
Pt 100 | |
|
Р11000 |
Pt500 |
Pt500 |
P1500 | |
|
Pt 1000 |
Pt 1000 |
PtlOOO | ||
|
ТПТ-15-1: |
L= 70; |
98; |
133; |
223 мм. |
|
НСХ: |
ЮОП |
Ю0П |
Ю0П |
Ю0П |
|
Pt 100 |
500П |
500П |
500П | |
|
PtSOO |
Pt 100 |
Pt 100 |
Pt 100 | |
|
Pt 1000 |
Pt500 |
Pt 5 00 |
Pt500 | |
|
Pt 1000 |
Pt 1000 |
PtlOOO |
Гильзы к ним: - ГЗ-6,3-6-1- L ~ с внешней резьбой М20х1.5;
- ГЗ-6,3-6-1- L - G1/2” - с внешней трубной резьбой J4". с длинами рабочей части термометров L= 70; 98; 133; 223 мм.
|
КТПТР-05: L= 70; |
98; |
133; |
223 мм. | |
|
HCX: |
100П |
100П |
100П |
100П |
|
Pt 100 |
500П |
500П |
500П | |
|
Pt500 |
PtlOO |
PtlOO |
PtlOO | |
|
PtlOOO |
PtSOO |
Pt500 |
PtSOO | |
|
PtlOOO |
PtlOOO |
PtlOOO | ||
|
ТПТ-15-2: |
L= 70; |
98; |
133; |
223 мм. |
|
HCX: |
100П |
Ю0П |
100П |
Ю0П |
|
PtlOO |
500П |
500П |
500П | |
|
PtSOO |
PtlOO |
PtlOO |
PtlOO | |
|
1 |
PtlOOO |
Pt500 |
Pt500 |
PtSOO |
|
PtlOOO |
PtlOOO |
PtlOOO |
Гильзы к ним: - ГЗ-6,3-6-2- L - с внешней резьбой М20х1,5;
- ГЗ-6,3-6-2- L - G1/2" - с внешней трубной резьбой К".
с длинами рабочей части термометров L= 70; 98; 133; 223 мм.
Длина рабочей части термометров комплекта и гильз к ним может быть по согласованию иной, но не меньше 70 мм (для НСХ 500П - 98 мм).
-Гильза защитная предназначена для защиты термометров сопротивления от внешних давлений (Ру) до 6,3 МПа.
-Гильза рассчитана на предельную скорость потока (см. таблицу).
-Материал гильзы: нержавеющие стали и их зарубежные аналоги.
-Материал прокладки: отожженная медь Ml.
-Опытные образцы были испытаны внутренним гидростатическим давлением
Рпроби. = 10 МПа в течение 2 минут.
|
Шифр |
L, мм |
Масса, кг |
Предельная скорость потока, м/сек | ||
|
Пар |
Вода | ||||
|
ГЗ-6,3-6-1-70 |
ГЗ-6,3-6-2-70 |
70 |
0,07 |
50 |
5 |
|
ГЗ-6,3-6-1-98 |
ГЗ-6,3-6-2-98 |
98 |
50 |
5 | |
|
ГЗ-6,3-6-1-133 |
ГЗ-6,3-6-2-133 |
133 |
25 |
2,5 | |
|
ГЗ-6,3-6-1-233 |
ГЗ-6,3-6-2-233 |
223 |
0,09 |
25 |
2,5 |
Примечание: Гильзы могут поставляться в комплекте с термометрами или как самостоятельное изделие. По согласованию с заказчиком длина защитных гильз и их материал могут быть изменены.
Примеры записи при заказе:
Гильза защитная ГЗ [Условное давление] - [Под термометр сопротивления с диаметром монтажной части] - [Исполнение] - [Длина монтажной части термометра сопротивления]
Гильза защитная ГЗ-6,3-6-1-70 - внешняя резьба - М20х1,5.
КОМПЛЕКТ ТЕРМОМЕТРОВ КТПТР-05/1 ТУ 4211-071 -17113168-98
Госреестр №39145-08
Комплект термометров платиновых технических разностных КТПТР-05/1 состоит из двух и более согласованных между собой термометров ТПТ-15-3.
Номинальная статическая характеристика термометров комплекта по ГОСТ 6651-2009 может быть 100П, 500П, PtlOO, Pt500, PtlOOO.
|
Обозначение |
L, мм ' |
|
'ЕМТКОЗ. 1530-. ОО |
70 : |
|
......... -ог |
Ю0~Д |
|
-02 |
140 ; |
|
-■05 |
180 - |
-
1. Клей ЭД-9 ОС'14. Г0.029.204.
-
2. Размера для справок
J. Остальные ТТ-по ОСТ4. Г0.070.015.
Особенностью комплекта является факт его применения вместе с гильзами ГЗ-б.З-6-3, в которые термометры вставляются по типу «в гнездо» и фиксируются с помощью винта с дальнейшей пломбировкой. Специальный круговой зиг на корпусе термометра, с одной стороны определяющий его монтажную часть, исключает несанкционированный съем или приподнятие термометра, так как фиксирующий винт входит в него на глубину порядка 0.5 мм.
Указанные гильзы имеют внешнюю присоединительную резьбу М20х1,5 или G1/2".
Длина монтажной части термо метров комплекта L может быть разной для термометров, составляющих комплект, и выбирается из диапазона от 70 до 180 мм и, по согласованию, более (для ЫСХ 5ООП - от 100 мм).
Термометры в комплекте являются полностью взаимозаменяемыми между собой, поэтому нет необходимости в их конкретной привязке к тому или иному месту на объекте. Пример записи при заказе КТПТР-05/1:
КТПТР - 05/1 - Р1500-1 -100.
(Запись для заказа комплекта КТПТР-05/1, состоящего из двух термометров с НСХ Pt500, класс комплекта 1, длиной монтажной части 100 мм. и с гильзами с присоединительной резьбой М20х1,5.)
КТПТР-05/1 —1 ООП-2 - 70/140—G1/2"
(Запись для заказа комплекта КТПТР-05/I, состоящего из двух термометров с НСХ ЮОП, класс комплекта 2, с разными длинами монтажной части- 70 и 140 мм соответственно, и с гильзами с присоединительной резьбой G1/2".)
Если комплект состоит из 3-х или более термометров, то это указывается дополнительно отдельной строкой при заказе.
КТПТР-05/1 (комплект из ТПТ-15-3 с гильзами)
|
КТПТР-05/1: |
L-70; |
100; |
140; |
180 мм. |
|
НСХ: |
ЮОП |
ЮОП |
Ю0П |
100П |
|
Pt 100 |
500П |
500П |
5 ООП | |
|
Pt500 |
PtlOO |
PtlOO |
PtlOO | |
|
Pt 1000 |
Pt500 |
Pt500 |
Pt500 | |
|
PtlOOO |
PtlOOO |
PtlOOO |
|
ТПТ-15-3: |
L= 70; |
100; |
140; |
180 мм. |
|
HCX: |
100П |
100П |
100П |
Ю0П |
|
PtlOO |
500П |
500П |
500П | |
|
P1500 |
PtlOO |
PtlOO |
PtlOO | |
|
PtlOOO |
Pt500 |
PtSOO |
Pt500 | |
|
PtlOOO |
PtlOOO |
PtlOOO |
|
Гильзы к ним: |
|
для длин рабочей части термометров L= 70; 100; 140; 180 мм.
Длина рабочей части термометров комплекта и гильз к ним может быть по согласованию иной, по не меньше 100 мм для НСХ 500П и 70 мм для остальных НСХ.
20

