Руководство по эксплуатации «АНАЛИЗАТОР ПАРОВ ЭТАНОЛА В ВЫДЫХАЕМОМ ВОЗДУХЕ АЛКОТЕКТОР PRO-100 touch» (Код не указан!)

АНАЛИЗАТОР ПАРОВ
ЭТАНОЛА В ВЫДЫХАЕМОМ ВОЗДУХЕ
АЛКОТЕКТОР PRO-lOO touch
РУКОВОДСТВО ПО ЭКСПЛУАТАЦИИ

PRO-lOO touch
АЛКОТЕКТОР®
2011
Издание с изменениями № 1 от 24.10.11, № 2 от 25.06.12
СОДЕРЖАНИЕ
-
-
2.10 Порядок работы в режиме измерения без ввода данных 39
-
2.12 Просмотр и распечатка протоколов измерений, сохраненных в памяти анализатора
ПРИЛОЖЕНИЕ А (справочное) Сервисные центры
ПРИЛОЖЕНИЕ Б (справочное) Копии разрешительных документов
Настоящее Руководство по эксплуатации (далее - РЭ) предназначено для изучения устройства, принципа действия, метрологических и технических характеристик анализатора паров этанола в выдыхаемом воздухе АЛКОТЕКТОР PRO-100 touch (далее - анализатор) и содержит сведения, необходимые для его правильной эксплуатации и технического обслуживания.
Портативный автоматический анализатор паров этанола в выдыхаемом воздухе АЛКОТЕКТОР PRO-100 touch прост и удобен в применении, основан на современных достижениях микроэлектроники.
Применение анализатора АЛКОТЕКТОР PRO-100 touch обеспечивает достоверность, датированность и документированность результатов измерений.
К работе с анализатором допускаются лица, ознакомившиеся с настоящим Руководством по эксплуатации, и прошедшие соответствующий инструктаж по технике безопасности.
Фирма-изготовитель: «Shenzhen Well Electric Со., Ltd.», Китай.
Адрес: North Wing, 4F, Building 9,Tian Jian Industrial Zone, Shang Bao Road, Fu Tian, Shenzhen, China, Tel: 86-755-83160728, Fax: 86-755-83160467.
Фирма-поставщик: ООО «АЛКОТЕКТОР».
Юридический адрес: 191036, Санкт-Петербург, ул. 1-я Советская, д. 10, лит. А, пом. 2-Н, тел. (812) 456-22-97.
Почтовый адрес: 199178, Санкт-Петербург, наб. р. Смоленки, д. 5-7, а/я 120.
Анализаторы паров этанола в выдыхаемом воздухе АЛКОТЕКТОР PRO-100 touch зарегистрированы Федеральной службой по надзору в сфере Здравоохранения и социального развития и разрешены к импорту, продаже и применению на территории РФ, регистрационное удостоверение № ФСЗ 2010/07763 от 08 сентября 2010 года с неограниченным сроком действия.
Анализаторы паров этанола в выдыхаемом воздухе АЛКОТЕКТОР PRO-100 touch внесены в Государственный реестр средств измерений РФ под № 46002-10, свидетельство об утверждении типа средств измерений CN.C.31.001.A № 42002, срок действия до 11.11.2015 г.
1 ОПИСАНИЕ И РАБОТА 1.1 Назначение анализатора-
1.1.1 Анализатор паров этанола в выдыхаемом воздухе АЛКОТЕКТОР PRO-100 touch предназначен для экспрессного измерения массовой концентрации паров этанола в отобранной пробе выдыхаемого воздуха.
-
1.1.2 Анализатор паров этанола в выдыхаемом воздухе АЛКОТЕКТОР PRO-100 touch рекомендуется к применению как изделие медицинского назначения; для освидетельствования лиц, которые управляют транспортным средством, на состояние алкогольного опьянения.
-
- диапазон температуры окружающего воздуха, °C: от минус 5 до 50;
-
- относительная влажность окружающего воздуха, %: не более 95;
-
- диапазон атмосферного давления, кПа: от 84 до 106.
-
1.2.1 Диапазон измерений и пределы допускаемой основной погрешности анализаторов приведены в таблице 1.
Таблица 1
Диапазон измерений массовой концентрации этанола, мг/л |
Пределы допускаемой основной погрешности | |
абсолютной |
относительной | |
0 - 0,200 |
± 0,020 |
- |
св. 0,200- 1,200 |
- |
± 10 % |
Примечания:
окружающего воздуха, %: от 30 до 80;
|
1.2.2 Диапазон показаний, мг/л: от 0,000 до 2,500.
Примечание - При показаниях анализатора, превышающих верхний предел диапазона показаний, на экран анализатора выводится надпись «>2,500 мг/л».
-
1.2.3 Номинальная цена единицы наименьшего
разряда, мг/л: 0,001.
-
1.2.4 Пределы допускаемой дополнительной погрешности
анализатора, вызванной изменением температуры окружающего воздуха на каждые 5 °C в пределах рабочих условий относительно нормальных условий, в долях от пределов допускаемой основной погрешности: 0,2.
-
1.2.5 Дополнительная погрешность от влияния содержания неизмеряемых компонентов в анализируемой газовой смеси не превышает значений, указанных в таблице 2.
Таблица 2
Неизмеряемый компонент |
Содержание неизме-ряемого компонента в газовой смеси |
Дополнительная абсолютная погрешность, не более |
Ацетон |
не более 0,50 мг/л |
отсутствует |
Метан |
не более 0,30 мг/л |
отсутствует |
Оксид углерода |
не более 0,20 мг/л |
отсутствует |
Диоксид углерода |
не более 10 % (об.) |
отсутствует |
-
1.2.6 Параметры анализируемой газовой смеси при подаче пробы на вход анализатора (автоматический режим отбора пробы):
-
- расход анализируемой газовой смеси, л/мин: не менее 10.
-
- объем пробы анализируемой газовой смеси, л: не менее 1,2.
-
1.2.7 Время выхода анализатора на режим измерения
после включения, с: не более 5.
-
1.2.8 Время очистки после измерения, с: не более 5.
-
1.2.9 Время установления показаний, с: не более 10.
-
1.2.10 Интервал времени работы анализатора без корректировки показаний, месяцев: не менее 12.
Корректировка показаний (регулировка чувствительности) проводится при поверке по необходимости.
-
1.2.11 Электрическое питание анализатора:
-
- аккумуляторный Li-ion блок 1800 мАч, 7,4 В;
-
- внешний источник постоянного тока напряжением 12 В, 2 А;
-
- адаптер сети переменного тока 220 В\12 В, 50 Гц, 2 А.
-
1.2.12 Число измерений без подзарядки аккумуляторного блока:
-
- не менее 500 без распечатки протоколов измерений;
-
- не менее 100 при распечатке протоколов измерений.
-
1.2.13 Датчик для измерения массовой концентрации паров этанола в анализируемой пробе воздуха - электрохимический.
-
1.2.14 Срок службы электрохимического датчика, установленного в анализаторе, лет: не менее 2.
-
1.2.15 Термопринтер для распечатки протоколов измерений конструктивно совмещен с анализатором.
Термопринтер может быть отсоединен от анализатора и использован отдельно при присоединении к нему блока с аккумулятором; при этом к анализатору вместо отсоединенного принтера присоединяется заглушка. В этом случае данные от анализатора передаются на принтер по связи «Bluetooth» на расстояние до тридцати метров. Блок с аккумулятором, заглушка и инструкция по работе с отсоединенным принтером поставляются по отдельному заказу.
-
1.2.16 В термопринтер устанавливается рулон термобумаги следующих размеров: ширина 57±1 мм, внешний диаметр - 25±1 мм (длина бумаги в рулоне зависит от плотности термобумаги и составляет около 5-6 м).
-
1.2.17 Анализатор снабжен встроенным GPS-приемником для определения координат места проведения измерения и автоматического внесения их в протокол измерения.
Примечание - Функцию автоматического внесения координат места проведения измерения в распечатку протокола измерения пользователь активирует самостоятельно согласно п. 2.5.7 настоящего РЭ.
-
1.2.18 Режимы работы анализатора:
-
- режим измерения с вводом данных - это режим измерения массовой концентрации паров этанола в отобранной пробе выдыхаемого воздуха с предварительным заполнением полей протокола измерения (данные вводятся в поля с виртуальной клавиатуры сенсорного экрана);
-
- режим измерения без ввода данных - это режим измерения массовой концентрации паров этанола в отобранной пробе выдыхаемого воздуха без предварительного заполнения полей протокола измерения (данные вписываются в распечатку протокола от руки);
-
- режим скрининга - режим предварительной оценки наличия этанола в выдыхаемом воздухе;
-
- режим корректировки и проверки показаний;
-
- режим проверки по сухому газу - это специализированный режим измерения массовой концентрации паров этанола, который используется только для выполнения проверки показаний и поверки анализатора с применением ГСО-111 С в баллонах под давлением;
-
- режим передачи данных (сохраненных протоколов измерения) из памяти анализатора в ПК.
-
1.2.19 Режимы отбора пробы:
-автоматический (активный) - заборная система анализатора активируется избыточным давлением, создаваемым выдохом обследуемого;
-
- ручной (пассивный) - заборная система анализатора активируется нажатием на кнопку.
-
1.2.20 В памяти анализатора сохраняется от 20000 до 30000 результатов последних измерений (в зависимости от объема сохраняемых данных вместе с результатом измерения).
Примечание - Программа «Статистика PRO-100 touch» позволяет просматривать и сохранять базу данных из памяти анализатора на персональном компьютере.
-
1.2.21 Время автоматического отключения анализатора (уста
навливается пользователем), мин: 1/2/5/10.
-
1.2.22 Габаритные размеры анализатора, мм, не более:
-
1.2.23 Масса анализатора, г: не более 450.
1.3 Состав анализатора
-
-
1.3.1 Конструктивно анализатор выполнен в моноблочном исполнении и представляет собой малогабаритный блок.
-
1.3.2 Комплектность поставки анализатора указана в таблице 3.
Таблица 3
№ п/п |
Наименование |
Количество |
1 |
Анализатор паров этанола в выдыхаемом воз- |
1 шт. |
духе АЛКОТЕКТОР PRO-100 touch | ||
2 |
Мундштук индивидуальный |
105 шт. |
3 |
Мундштук-воронка |
1 шт. |
4 |
Аккумуляторный Li-ion блок 1800 мАч, 7,4 В |
2 шт. |
5 |
Зарядное устройство |
1 шт. |
6 |
Адаптер питания анализатора от сети переменного тока напряжением 220 В |
1 шт. |
7 |
Адаптер питания анализатора от внешнего источника постоянного тока напряжением 12 В (бортовая сеть автомобиля) |
1 шт. |
8 |
Кабель для соединения анализатора с персональным компьютером |
1 шт. |
9 |
Рулон термобумаги для принтера |
6 шт. |
10 |
Чехол для анализатора |
1 шт. |
И |
Кейс для транспортировки анализатора |
1 шт. |
13 |
Руководство по эксплуатации |
1 экз. |
14 |
Паспорт |
1 экз. |
15 |
Методика поверки МП-242-1063-2010 |
1 экз. |
Примечание - Руководство по эксплуатации и Методика поверки могут поставлять в виде одной брошюры. |
-
1.3.3 Принадлежности:
-
1. Индивидуальные мундштуки от 1 до 1100 шт.
-
2. Мундштук-воронка от 1 до 20 шт.
-
3. Аккумуляторный Li-ion блок от 1 до 5 шт.
-
4. Зарядное устройство от 1 до 3 шт.
Примечание - Комплектность поставки анализатора, указанная в таблице 3 настоящего РЭ, по специальному заказу может быть изменена за счет увеличения количества принадлежностей.
-
1.3.4 Дополнительно фирма-поставщик передает покупателю для внутреннего пользования программу «Статистика PRO-100 touch» (на компакт-диске) для сбора и сохранения данных из памяти анализатора на ПК (при необходимости).
Уникальное конструктивное решение анализатора паров этанола в выдыхаемом воздухе АЛКОТЕКТОР PRO-100 touch позволило объединить в одном корпусе электрохимический датчик, авто-8
матическую систему отбора пробы, сенсорный экран, встроенный приемник GPS и миниатюрный термопринтер, что делает анализатор исключительно удобным в эксплуатации.
-
1.4.1 Принцип действия анализатора основан на применении электрохимического датчика для измерения массовой концентрации паров этанола в анализируемой пробе воздуха.
В анализаторе применен запатентованный электрохимический датчик фирмы «Dart Sensors Ltd.», представляющий электрохимическую ячейку с двумя платиновыми электродами, на аноде которой осажден катализатор, специфичный по отношению к этанолу. Отличительными свойствами электрохимического датчика являются специфичность по отношению к этанолу, высокая чувствительность, точность и стабильность.
-
1.4.2 Встроенный микроконтроллер анализатора управляет всем процессом измерений.
Анализаторы имеют системно-прикладное программное обеспечение, разработанное фирмой-изготовителем специально для решения задачи измерения массовой концентрации паров этанола в выдыхаемом воздухе.
Программное обеспечение идентифицируется при каждом включении анализатора путем вывода на экран версии программного обеспечения «RU VI.27».
Анализаторы имеют полную конструктивную защиту программного обеспечения от преднамеренных или непреднамеренных изменений, реализованную изготовителем на этапе производства анализаторов путем установки системы защиты микроконтроллера от чтения и записи.
-
1.4.3 Управление анализатором осуществляется с помощью сенсорного экрана, а также двух кнопок, расположенных на лицевой панели.
-
1.4.4 Этапы работы анализатора сопровождаются звуковыми сигналами.
-
1.4.5 Анализатор оснащен микросхемой часов реального времени, питание которой осуществляется от встроенной в отсеке питания литиевой батареи.
-
1.4.6 Энергонезависимая память анализатора позволяет хранить данные сервисных настроек и результаты порядка 20000-30000 измерений.
Вместе с результатом измерения в памяти хранятся порядковый номер теста (измерения), дата и время его проведения, режим отбора пробы, а также данные, введенные с виртуальной клавиатуры перед измерением (имя обследуемого, место обследования и другие данные).
После заполнения памяти анализатора последующие измерения будут сохраняться, замещая измерения с наименьшим порядковым номером.
-
1.4.7 В анализаторе предусмотрена возможность блокировки работы анализатора по истечению срока действия поверки, т.е. при наступлении даты очередной поверки произойдет блокировка режимов измерения и скрининга; для дальнейшей эксплуатации анализатор необходимо представить на очередную поверку.
Данная функция активируется только по требованию заказчика (или в связи с изменениями законодательства) в сервисном центре или в организации, имеющей аккредитацию на право поверки анализаторов.
-
1.4.8 Внешний вид анализатора представлен на рисунке 1.
-
1.4.9 Кнопка включения/выключения предназначена для включения и выключения анализатора. При включении происходит подача напряжения на электрическую схему анализатора, и начинается процедура автотестирования анализатора.
-
1.4.10 Сенсорный экран (Touch Screen) размером 50 х 67 мм предназначен для предъявления пользователю информации, для управления работой анализатора, а также для ввода данных в режиме измерения с вводом данных.
Данные можно вводить буквами кириллицы, латиницы и цифрами. Выбор пунктов меню или ввод знаков осуществляется касанием соответствующей иконки сенсорного экрана стилусом или пальцем.
Сенсорный экран анализатора при продаже может быть защищен одним или двумя слоями специальной пленки. Перед эксплуатацией при наличии второй защитной пленки со стикером удалите ее, аккуратно потянув за край стикера (так, чтобы нижняя защитная пленка осталась).
-
1.4.11 Миниатюрный термопринтер, встроенный в корпус анализатора, распечатывает протокол измерения на термобумаге в заданном количестве копий.
Количество копий распечаток протокола измерения задается пользователем в меню «Установки пользователя» согласно п. 2.5.4 настоящего Руководства по эксплуатации.

химического датчика
Рисунок 1 - Внешний вид анализатора (передняя панель и вид сверху)
-
1.4.12 Коммуникационный порт mini USB предназначен для обмена данными между анализатором и персональным компьютером.
-
1.4.13 Электропитание анализатора осуществляется от перезаряжаемого аккумуляторного Li-ion блока, расположенного в отсеке питания под крышкой на задней панели анализатора.
-
1.4.14 Адаптер питания от бортовой сети автомобиля или от сети 220 В подключается через разъем питания, расположенный на боковой панели анализатора.
-
1.4.15 Между направляющими для установки мундштука анализатор имеет два входных порта заборной системы; через один (металлический) воздух поступает на датчик давления, через другой (черный пластиковый) воздух поступает на электрохимический датчик (рисунок 1, вид сверху).
-
1.4.16 Индивидуальный мундштук предназначен для формирования потока выдыхаемого воздуха, поступающего в заборную систему анализатора.
Индивидуальный мундштук находится в полиэтиленовой упаковке.
Специальная форма мундштука (рисунок 2) обеспечивает избыточное давление воздуха на входе заборной системы анализатора во время выдоха и тем самым обеспечивает возможность контроля расхода и длительности выдыхаемого воздуха.
Мундштук имеет соответствующие отверстия для входных портов анализатора:

Рисунок 2 - Мундштук индивидуальный
1.4.17 Многоразовый мундштук-воронка (рисунок 3) формирует поток выдыхаемого воздуха для отбора пробы в режиме скрининга.

фиксирующий
выступ
к электрохимическому
датчику
Рисунок 3 - Мундштук-воронка
-
1.4.18 Толкатель мундштука предназначен для удаления установленного между захватами анализатора индивидуального мундштука.
-
1.4.19 Стилус вставлен и закреплен с помощью шнура в верхней части корпуса анализатора и предназначен для ввода данных и управления анализатором с помощью сенсорного экрана.
Стилус имеет наконечник, изготовленный из специального мягкого пластика, не оставляющего царапин на сенсорном экране.
-
1.4.20 Сервисная кнопка используется для управления работой анализатора.
-
1.5.1 На передней панели анализатора нанесена следующая обязательная маркировка:
-
1) обозначение кнопок;
-
2) название анализатора: «PRO-100 touch
-
1.5.2 На задней панели анализатора нанесена следующая обязательная маркировка:
1) название анализатора: «АЛКОТЕКТОР PRO-100 touch»;
-
2) краткая инструкция;
-
3) заводской номер анализатора: «ХХХХХХ»;
-
4) название и адрес фирмы-поставщика;
-
5) название и адрес фирмы-изготовителя.
-
1.5.3 Пломбирование анализатора производится на крепежном винте в отсеке питания анализатора.
-
1.5.4 Пломбирование анализатора при продаже производится этикеткой с надписью «Нарушение пломбы лишает гарантии», са-моразрушающейся при попытке вскрытия анализатора.
-
1.6.1 Анализатор в полной комплектности (за исключением упаковки индивидуальных мундштуков в количестве 100 шт.) упаковывается в пластиковый кейс.
-
1.6.2 Кейс и индивидуальные мундштуки (упаковка 100 шт.) упаковываются в картонную коробку.
-
1.6.3 Эксплуатационная документация упаковывается в файловую папку.
-
2 ИСПОЛЬЗОВАНИЕ ПО НАЗНАЧЕНИЮ
-
2.1.1 Перед началом использования анализатора убедитесь, что условия эксплуатации удовлетворяют требованиям и. 1.1.3 настоящего Руководства по эксплуатации.
-
2.1.2 Не допускается хранить и использовать анализатор в помещениях, в которых осуществляется хранение спиртосодержащих веществ в открытых емкостях, а также проводится обработка поверхностей или оборудования спиртосодержащими растворами.
-
2.1.3 Не допускается хранить и использовать анализатор в помещениях с повышенной запыленностью и загазованностью во избежание загрязнения заборной системы анализатора.
-
2.1.4 Не допускается скопление конденсата в мундштуке-воронке при использовании анализатора в режиме скрининга.
-
2.2.1 Включение анализатора производится нажатием на кнопку включения/выключения, удерживая ее до звукового сигнала (1-2 секунды). При этом на экране появляется заставка с названием анализатора и версией программного обеспечения, и начинается процедура автотестирования работоспособности (анализатор проводит автоматический отбор пробы - слышен двойной щелчок срабатывания соленоида заборной системы).
После этого на экране появляется главное меню анализатора (рисунок 4).
-
2.2.2 В момент включения анализатора происходит автоматическая проверка даты очередной поверки. Если срок поверки истек, то при включении анализатора в сопровождении звукового сигнала на экране появляется следующее сообщение:
Требуется поверка Для продолжения прикоснитесь к экрану
Это сообщение является напоминанием о необходимости представить анализатор на очередную поверку.
2.3 Меню анализатора-
2.3.1 При включении анализатора после заставки с названием анализатора и версией программного обеспечения на сенсорном экране появляется главное меню из 9 пунктов-иконок и индикаторов, информирующих об уровне заряда аккумуляторного блока, текущем времени и дате, а также об установлении координат текущего местоположения GPS-приемником (рисунок 4).
-
2.3.2 В главном меню анализатора, в верхней части экрана, находится индикатор заряда, который информирует об уровне заряда
аккумуляторного блока. Полностью закрашенный индикатор заряда свидетельствует о полностью заряженном аккумуляторном блоке. По мере разряда аккумуляторного блока закрашенная часть индикатора будет уменьшаться.
-
2.3.3 В главном меню анализатора, в верхнем левом углу экрана, может появляться индикатор GPS, который информирует об установлении текущих координат местоположения.
-
2.3.4 В главном меню анализатора, в верхнем правом углу экрана, высвечиваются текущие день недели, время и дата, установленные в анализаторе, в следующем формате:
День недели Часы:Минуты:Секунды
День/Месяц/Г од
Текущие дата и время фиксируются при отборе пробы, сохраняются в памяти анализатора вместе с результатом измерения и распечатываются в протоколе измерения.
ВНИМАНИЕ! Во время эксплуатации анализатора пользователь самостоятельно должен следить за правильностью текущей даты и времени, и при необходимости должен скорректировать дату и время (например, при смене зимнего/летнего времени, или при возникающих погрешностях электронных часов).
индикатор индикатор
GPS заряда
день недели, время, дата
Режим измерения с вводом данных
Режим измерения без ввода данных
Режим скрининга

Просмотр Меню памяти GPS
,ата Т)емя




Режим передачи данных в ПК
заполнение памяти
дата очередной поверки


Установки Меню
инженера
пользователя

Рисунок 4 - Главное меню анализатора
-
2.3.5 В главном меню анализатора, внизу экрана, высвечивается следующая информация:
-
— дата очередной поверки (заносится в память анализатора при положительных результатах поверки);
-
— сведения о заполнении памяти (количество сохраненных в памяти анализатора тестов).
-
2.3.6 Режим измерения с вводом данных позволяет проводить документированные измерения. Это достигается благодаря возможности ввода данных перед измерением (заполнения полей протокола измерения), используя виртуальную клавиатуру на сенсорном экране, и сохранением введенных данных в памяти анализатора.
-
2.3.6.1 В зависимости от области применения в анализаторе (при продаже) установлен один из двух вариантов заводских установок с определенным набором полей для ввода данных.
-
2.3.6.2 В анализаторах, которые будут применяться в целях освидетельствования на состояние алкогольного опьянения органами ГИБДД, установлены 6 полей для ввода данных со следующими названиями (заводские установки - вариант 1):
-
Поле 1 - Имя Обследуемого;
Поле 2 - Место Обследования;
Поле 3 - Гос. Номер Машины;
Поле 4 - Нагрудный Знак (инспектора);
Поле 5 - Инспектор;
Поле 6 - Отдел ДПС.
Введенные данные полей 2, 4, 5 и 6 сохраняются в памяти анализатора до тех пор, пока пользователь не введет вместо них новые данные.
-
2.3.6.3 В анализаторах, которые будут применяться в целях медицинского освидетельствования на состояние алкогольного опьянения, установлены 6 полей для ввода данных со следующими названиями (заводские установки - вариант 2):
Поле 1 - ФИО ОБСЛЕДУЕМОГО;
Поле 2 - ГОД РОЖД ОБСЛЕД;
Поле 3 - НАПРАВЛЕН (кем направлен на освидетельствование);
Поле 4 - НОМЕР НАПРАВЛЕНИЯ;
Поле 5 - МЕСТО ОБСЛЕДОВАНИЯ;
Поле 6 - ФИО МЕДРАБОТНИКА.
Введенные данные полей 3, 5 и 6 сохраняются в памяти анализатора до тех пор, пока пользователь не введет вместо них новые данные.
-
2.3.6.4 Для применения анализаторов в других областях (например, для предрейсовых осмотров), а также при появлении соответствующих законодательных нормативных документов, в сервисном центре есть возможность изменять количество и названия полей.
Можно устанавливать до 10 полей, а также можно устанавливать (отмечать) те поля, введенные данные которых будут сохраняться в памяти анализатора до тех пор, пока пользователь не введет вместо них новые данные.
-
2.3.6.5 Введенные перед измерением данные сохраняются в памяти анализатора вместе с результатом измерения и его порядковым номером, временем и датой проведения этого измерения, а также режимом отбора пробы, который использовался для данного измерения.
Примечание - Если к моменту проведения измерения GPS-приемник анализатора определил координаты местоположения, то эти координаты сохраняются вместе с результатом измерения.
-
2.3.7 Режим измерения без ввода данных. В этом режиме заполнение полей протокола измерения (ввод данных) возможно только от руки в распечатке протокола измерения.
Вместе с результатом измерения в памяти анализатора сохраняются порядковый номер измерения (в протоколе измерения указывается как номер теста), дата и время его проведения, а также режим отбора пробы, который использовался для данного измерения.
Примечание - Если к моменту проведения измерения GPS-приемник анализатора определил координаты местоположения, то эти координаты сохраняются вместе с результатом измерения.
-
2.3.8 Режим скрининга предназначен для быстрой предварительной оценки наличия этанола в выдыхаемом воздухе. В этом режиме результат теста выдается в виде сообщения о наличии или отсутствии алкоголя в пробе.
ВНИМАНИЕ! Режим скрининга может использоваться только для оценки наличия этанола в выдыхаемом воздухе, при этом погрешность анализатора может превысить пределы допускаемой основной погрешности анализатора, указанные в 1.2.1 настоящего Руководства по эксплуатации.
Результаты тестов, проведенных в режиме скрининга, невозможно вывести на печать, и они не сохраняются в памяти анализатора.
В этом режиме целесообразно использование многоразового мундштука-воронки, входящего в комплект поставки.
-
2.3.9 Меню просмотра памяти тестов позволяет осуществить просмотр записанных в памяти тестов (сохраненных протоколов измерений), а также распечатать их протоколы.
-
2.3.10 В меню GPS пользователь может посмотреть текущие координаты местоположения (долгота и широта) и, при необходимости, активировать функцию автоматического внесения их в протокол измерения.
-
2.3.11 Режим передачи данных в ПК предназначен для сохранения данных из памяти анализатора (сохраненных протоколов измерений) в базу данных на персональном компьютере с помощью программы «Статистика PRO-100 touch».
-
2.3.12 Меню установки даты и времени предназначено для установки пользователем текущей даты и времени во время эксплуатации анализатора.
-
2.3.13 Меню установок пользователя предназначено для установки времени автоматического отключения анализатора, настройки звука и печати (количества копий распечатываемых протоколов измерений) и для выхода в режим проверки по сухому газу.
-
2.3.14 Меню инженера используется только в сервисных центрах, а также при поверке анализатора. Вход в меню защищен паролем. Описание меню, а также описание процедуры корректировки показаний (регулировки чувствительности) поставляется фирмой-поставщиком в отдельной брошюре по письменному запросу.
Для перехода между окнами меню, а также вывода на печать протокола измерения предназначены следующие виртуальные кнопки управления, расположенные внизу сенсорного экрана:

-
- переход в следующее окно меню (при достижении последнего окна меню - выход в главное меню);
-
- возвращение к предыдущему окну;
- переход в главное меню;
-
- печать протокола измерения;
-
- переход к следующему измерению (без выхода в главное меню).
Для активации нужной кнопки коснитесь ее стилусом.

-
2.5.1 Во время эксплуатации пользователь имеет возможность устанавливать по своему усмотрению время автоматического отключения анализатора и количество копий распечатки протокола измерения; настроить звук; установить или скорректировать текущую дату и время, а также активировать функцию автоматического внесения координат местоположения в протокол измерения.
-
2.5.2 Установка времени автоматического отключения, настройки печати (количество копий распечатки протокола измерения), настройки звука, а также проверка показаний анализатора с применением ГСО-111 С в баллонах под давлением производятся в меню «Установки пользователя».
-
2.5.3 Для входа в меню «Установки пользователя» в главном меню анализатора (рисунок 4) выберите пункт-иконку «Установки пользователя», касаясь стилусом соответствующей иконки. На сенсорном экране появится окно «УСТАНОВКИ» - меню из 4-х пунктов:
УСТАНОВКИ
выст.
ПЕЧАТЬ
Звук
Проверка
Г
F
л
W
[■
ВЫКЛ. - Установка времени автоматического отключения
ПЕЧАТЬ - Настройки печати (установка количества копий распечатки протокола измерения)
Звук - Настройки звука
Проверка - Выполнение измерений в режиме проверки по сухому газу
Рисунок 5 - Меню «Установки пользователя»
-
2.5.3 Установка времени автоматического отключения Включите анализатор, нажав кнопку включения/выключения.
В главном меню выберите пункт «Установки пользователя» (по и. 2.5.2 настоящего Руководства по эксплуатации).

Для установки времени автоматического отключения в открывшемся окне «УСТАНОВКИ» выберите пункт «ВЫКЛ.», касаясь стилусом соответствующей иконки (рисунок 5).
На сенсорном экране появится окно «УСТАНОВ. АВТО-ВЫКЛ.» (рисунок 6).
Рисунок 6 - Установка времени автоматического отключения
Выберите одну из четырех установок: 1, 2, 5 или 10 минут, касаясь стилусом кружочка около выбранного значения.
Анализатор будет автоматически отключаться спустя установленное количество минут после последнего действия анализатора (пользователя). За 10 секунд до автовыключения на экране анализатора появится надпись «Выключение», затем в сопровождении звуковых сигналов будет произведен обратный отсчет десяти секунд, после чего анализатор выключится. Для предотвращения автовыключения в момент отсчета дотроньтесь до экрана, анализатор перейдет в главное меню (без сохранения введенных перед измерением данных).
Рекомендуется выбирать оптимальное время автоматического отключения для экономии электропитания.
2.5.4 Настройки печати-
2.5.4.1 Во время эксплуатации пользователь по своему усмотрению может активировать функцию автоматической печати протоколов измерения в заданном количестве.
В этом случае принтер будет автоматически распечатывать протокол измерения в заданном количестве (в зависимости от результата) сразу после отображения результата измерения на экране.
Если функция автоматической печати не активирована, то печать протоколов измерений будет производиться только по нажатию на виртуальную кнопку внизу экрана.
-
2.5.4.2 Во время эксплуатации пользователь по своему усмотрению (или в соответствии с требованиями законодательства) имеет возможность устанавливать количество копий распечаток протокола измерений, печать которых будет произведена автоматически после отображения результата измерения. Максимальное количество копий протокола - 5.
Имеется возможность устанавливать различное количество копий распечатки протокола измерений для двух случаев: при результате измерения, равном 0,000 мг/л, и при результате измерения более 0,000 мг/л (рисунок 7).
-
2.5.4.3 Включите анализатор, нажав кнопку включения/вык-лючения. В главном меню выберите пункт «Установки пользователя» (по и. 2.5.2 настоящего Руководства по эксплуатации).
Для активации функции автоматической печати и установки количества копий распечаток в открывшемся окне «УСТАНОВКИ» (рисунок 5) выберите пункт «ПЕЧАТЬ», касаясь стилусом соответствующей иконки. На сенсорном экране появится окно «ПЕЧАТЬ»: установка количества копий распечатки протокола измерения при результате измерения
0,000 мг/л установка количества копий распечатки протокола измерения при результате измерения, превышающем 0,000 мг/л
активация функции автоматической печати протокола измерения
Рисунок 7 - Настройки печати
Для того, чтобы распечатка протокола в заданном количестве экземпляров производилась после измерения автоматически, следует активировать функцию автоматической печати «АВТО ПЕЧАТЬ», коснувшись стилусом квадратика (рисунок 7).
Установите количество копий, касаясь стилусом виртуальных кнопок «+» и «-» до достижения нужного числа.
2.5.5 Настройки звукаВо время эксплуатации пользователь по своему усмотрению (для более комфортного восприятия) имеет возможность регулировать тональность и длительность звуковых сигналов анализатора.
Включите анализатор, нажав кнопку включения/выключения.
В главном меню выберите пункт «Установки пользователя» (по и. 2.5.2 настоящего Руководства по эксплуатации).
Выберите пункт «Звук», касаясь стилусом соответствующей иконки (в соответствии с рисунком 5).
На сенсорном экране появится окно «Звук» (рисунок 8).
Для регулировки коснитесь стилусом необходимой части диапазона тональности или длительности.
Звук

регулировка тональности звукового сигнала (слева направо - от более низкого до более высокого)
1------------1--------------------< |
L Я1 к к |
регулировка длительности звукового сигнала (слева направо - от более короткого до более длинного)
Рисунок 8 - Настройки звука
(положения движков соответствуют заводским настройкам)

Для установки текущей даты и времени в анализаторе выберите в главном меню пункт-иконку «Дата Время», для этого коснитесь стилусом соответствующей иконки (рисунок 4).
На сенсорном экране появится окно «Установки Дата, Время» (рисунок 9).
Для установки даты коснитесь стилусом соответствующей стрелки справа. В выпадающем списке выберите требуемое значение.
Например, для установки текущего месяца, коснитесь стрелки справа от номера месяца и далее выберите нужный номер месяца в выпадающем списке (рисунок 9, справа).
Текущее время устанавливается с помощью виртуальных кнопок «+» и «-».

часы минуты секунды

Рисунок 9 - Меню установки даты и время

2.5.7.1 Встроенный GPS-приемник активируется при включении анализатора. Если GPS-приёмник включается впервые, или долгое время был выключен, то инициализация будет долгой и может занять около 5-10 минут.
Для стабильной и точной работы GPS-приемнику необходимо «открытое небо», то есть отсутствие помех над головой и вблизи (зданий, деревьев, туннелей и т.п.). GPS-приемник плохо работает в облачные дни и в районах с плотной застройкой. При использовании GPS-приемника в зданиях, туннелях и т.п. сигнал спутников GPS обычно отсутствует, либо является чрезвычайно слабым.
При появлении помех GPS-приемник может либо не определять координаты вовсе, либо передавать неточные данные. Уровень точности зависит от многих факторов и не гарантируется.
-
2.5.7.2 Когда координаты местоположения будут установлены GPS-приемником, в левом верхнем углу экрана главного меню ана-лизатора появится индикатор GPS -
-
2.5.7.3 Для просмотра текущих координат местоположения (долгота и широта) и возможности активировать функцию автоматического внесения их в протокол измерения выберите в главном меню анализатора пункт-иконку «Меню GPS». Для этого коснитесь стилусом соответствующей иконки (рисунок 4).
На сенсорном экране появится окно «Меню GPS»:
GPS | |
ДОЛГОТА |
ЕОЗО’15 6945 Г |
ШИРОТА |
N59’56 94355' |
[■ Печать | |
лЗ К |
Пока координаты местоположения не будут установлены, поля «Широта» и «Долгота» будут незаполненными.
Рисунок 10 - Меню GPS
ВНИМАНИЕ! После распечатки протокола измерения GPS-приемник отключается (перестает обновлять координаты местоположения), при этом в меню GPS сохраняются координаты местоположения анализатора в момент вывода протокола на печать. Поэтому для возобновления работы GPS-приемника необходимо выключить и включить анализатор (если местоположение анализатора не изменилось с момента отключения GPS-приемника, то время поиска сигнала будет меньше, чем при первом включении).
-
2.5.7.4 Для отображения полученных координат на карте можно воспользоваться бесплатным сервисом Google Maps. Для этого в адресной строке интернет-браузера введите «http://maps.google.ru».
Веб Картинки Видео Карты Новости Переводчик Gmail ещё т
Google Карты
Россия
Е030 15.69541, N59 56.94355 И Поиск на карте

Рисунок 11 - Сервис Google Maps
На открывшейся странице в строке поиска введите координаты, указанные в распечатке, как показано на рисунке 11 и нажмите «Поиск на карте».
Примечание - при вводе координат в строку поиска использовать латинские буквы, для разделения градусов и минут использовать пробелы, для разделения целой и дробной части минут использовать точку, координаты вводить через запятую, например:
Е030 15.69541, N59 56.94355
-
2.5.7.5 Если к моменту проведения измерения GPS-приемник анализатора определил координаты местоположения, то эти координаты сохраняются вместе с результатом измерения.
-
2.5.7.6 Для активации функции автоматического внесения координат местоположения в протокол измерения, коснитесь стилусом квадратика «Печать» (рисунок 10). При этом в распечатку протокола измерения добавляется поле с координатами GPS.
Перед началом работы проведите внешний осмотр анализатора и подготовку к работе:
- проверьте наличие пломбы;
-
- убедитесь в отсутствии механических повреждений, влияющих на работоспособность анализатора;
-
- проверьте уровень заряда аккумуляторного блока и, при необходимости, зарядите его (по и. 3.1.3 настоящего Руководства по эксплуатации); или подключите анализатор к бортовой сети автомобиля или сети 220 В 50 Гц, используя соответствующие адаптеры питания, входящие в комплект поставки анализатора;
-
- проверьте наличие и правильность установки термобумаги в термопринтере (по и. 3.1.4 настоящего Руководства по эксплуатации);
-
- проверьте правильность текущей даты и времени, которые установлены в анализаторе и отображаются в главном меню; при необходимости скорректируйте дату и время согласно и. 2.5.6 настоящего Руководства по эксплуатации.
ВНИМАНИЕ! Если у анализатора истек срок поверки, и при этом в анализаторе активирована функция блокировки работы (и.
-
1.4.7 настоящего РЭ) то при выборе режима измерения с вводом данных на экране выводится сообщение:
Для дальнейшей эксплуатации анализатор необходимо представить на очередную поверку.
-
2.7.1 Включите анализатор нажатием на кнопку включе-ния/выключения, удерживая ее до звукового сигнала (1-2 секунды). При этом на экране появляется заставка с названием анализатора, и начинается процедура автотестирования работоспособности (анализатор проводит автоматический отбор пробы - слышен двойной щелчок срабатывания соленоида заборной системы).
После этого на экране появляется главное меню анализатора (рисунок 4).
-
2.7.2 Выберите режим измерения с вводом данных, касаясь стилусом соответствующей иконки. На экране появится строка вво-
да данных и виртуальная клавиатура для набора символов (букв, цифр):

Рисунок 12 - Окна ввода данных в режиме измерения с вводом данных (поле ввода имени обследуемого)


латиница, цифры
-
2.7.3 Данные следует вводить, пользуясь виртуальной клавиатурой (касаясь нужного символа стилусом).
При нажатии на виртуальную клавишу «АБВ» происходит смена раскладки виртуальной клавиатуры с кириллицы на латиницу с цифрами (рисунок 12).
При нажатии на виртуальную клавишу «УДАЛ» (или «DEL») происходит удаление последнего набранного символа из строки ввода.
-
2.7.4 Для перехода к следующему полю нажмите виртуальную
кнопку lk_LJ, при этом поля можно оставлять незаполненными, в этом случае недостающие данные следует вписывать в распечатку протокола от руки.
Примечание - Введенные данные полей 2, 4, 5 и 6 - вариант 1 заводских установок (по п. 2.2.6.2 настоящего РЭ) или полей 3, 5 и 6 - вариант 2 заводских установок (по п. 2.2.6.3 настоящего РЭ) хранятся в памяти анализатора, и при вводе данных перед следующим измерением в строке ввода этих полей сразу высвечивается ранее введенное значение этого поля. Сохраненные ранее данные можно скорректировать, удалив предыдущее значение и введя новое, которое также будет храниться до следующего изменения.
......
ную кнопку
ВНИМАНИЕ! При возвращении к предыдущему полю вновь введенные данные будут потеряны.
-
2.7.6 Когда данные всех полей будут введены, на экране появится окно с сообщением «Вставьте чистый мундштук» (рисунок 13, слева):
Проверка воздуха
Вставьте чистый мундштук
Ждите
Нажмите С Старта для теста

Рисунок 13 - Начало процедуры измерения
-
2.7.7 Вскройте упаковку индивидуального мундштука.
-
2.7.8 Установите индивидуальный мундштук так, как показано на рисунке 1.
Для этого сначала, держа мундштук отверстиями вниз под углом 45°, заведите фиксирующий выступ мундштука под захват мундштука в верхней части корпуса анализатора, затем опустите мундштук до щелчка.
Посмотрев на боковую панель анализатора (со стороны толкателя мундштука), визуально проверьте правильность установки мундштука: оба входных порта анализатора должны быть полностью утоплены в отверстия мундштука.
ВНИМАНИЕ! Для каждого обследуемого лица должен использоваться новый индивидуальный мундштук.
-
2.7.9 Нажмите виртуальную клавишу «Старт» для начала процедуры измерения.
В этот момент происходит отбор пробы воздуха из мундштука (слышен двойной щелчок срабатывания заборной системы) для проверки его на отсутствие паров этанола, а также на отсутствие остаточного алкоголя в заборной системе анализатора (рисунок 13, справа).
Если в мундштуке и заборной системе пары этанола не обнаружены, анализатор перейдет в режим готовности к отбору пробы (рисунок 14, справа).
Если в мундштуке или заборной системе будут обнаружены пары этанола, анализатор не выйдет в режим готовности к отбору пробы, в этом случае действуйте согласно п. 2.7.18 настоящего РЭ.
-
2.7.10 При готовности анализатора к отбору пробы выполните выдох согласно п. 2.7.11 настоящего Руководства по эксплуатации.
Проверка воздуха
Ждите
Рисунок 14 - Готовность к отбору пробы
В случае если выход не был сделан своевременно (в течение 30 секунд с момента появления окна о готовности к отбору пробы), то для возврата анализатора в режим готовности к отбору пробы действуйте согласно п. 2.7.19 настоящего РЭ.
Если обследуемый отказывается делать выдох (отказ от измерения), действуйте согласно п. 2.9 настоящего РЭ.
-
2.7.11 Обследуемому лицу следует дуть во входное отверстие мундштука (рисунок 2).
Выдох должен быть спокойным и равномерным (без форсирования) и длиться около 4-5 секунд (до окончания опорного звукового сигнала). Если выдыхаемый воздух поступает с достаточным расходом, во время выдоха звучит опорный звуковой сигнал, и на индикаторе продолжительности выдоха предъявляется оставшееся время выдоха в процентах (рисунок 15). Выдох следует прекратить по окончании опорного звукового сигнала.
Если расход выдыхаемого воздуха и длительность выдоха не меньше установленных значений (указанных в п. 1.2.6 настоящего РЭ), то анализатор производит автоматический отбор пробы выдыхаемого воздуха из мундштука (в момент забора пробы будет слышен щелчок срабатывания соленоида заборной системы); проба поступает на электрохимический датчик для измерения массовой концентрации паров этанола.

Автоматический отбор пробы производится в самом копие выдоха для обеспечения анализа воздуха из глубины легких.
Рисунок 15 - Индикация выдоха
ВНИМАНИЕ! Для исключения возможного влияния на результат измерения этанола, находящегося на слизистой оболочке ротовой полости, перед измерением должно пройти не менее 20 минут после употребления алкогольсодержащих лекарственных препаратов и спреев для ротовой полости, а так же слабоалкогольсодержащих пищевых продуктов (кисломолочные продукты, квас и ntd.).
Во избежание загрязнения заборной системы анализатора анализируемая проба воздуха не должна содержать частиц табачного дыма, мокрот (слюны) и остатков пищи. Поэтому перед измерением:
-
— должно пройти не менее 2 минут после курения;
-
— рекомендуется прополоскать рот водой после приема пищи непосредственно перед измерением.
-
2.7.12 При срыве дыхательной пробы (прерывание выдоха, выдох недостаточной длительности) действуйте согласно п. 2.7.20 настоящего РЭ.
-
2.7.13 Если обследуемому не хватает выдоха для автоматического отбора пробы, воспользуйтесь ручным отбором пробы согласно п. 2.8 настоящего Руководства по эксплуатации.
-
2.7.14 После того, как проба воздуха отобрана, и произведен анализ, на экране предъявляется результат измерения (в сопровождении щелчка заборной системы) (рисунок 16, справа).
Результат измерения - массовая концентрация паров этанола (алкоголя) в выдыхаемом воздухе - предъявляется на экране анализатора в миллиграммах этанола на литр выдыхаемого воздуха (мг/л).
В случае если активирована функция автоматической печати (по и. 2.5.4 настоящего РЭ), после предъявления на экране результата измерения автоматически начинается печать протокола измерения в заданном количестве экземпляров.
Примечание — Так как алкоголь всасывается в кровь в течение определенного времени, может пройти более 30 минут после употребления алкоголя до достижения максимальной его концентрации в крови. Этот фактор необходимо учитывать
при анализе результатов и назначении повторного измерения.

-
2.7.15 По нажатию на виртуальную кнопку мерения распечатывается на термопринтере.
протокол из-
-
2.7.16 При отказе от печати выйдите в главное меню по нажатию виртуальной кнопки
2.7.17Для проведения следующего измерения нажмите вирту-

альную кнопку
и повторите процедуру согласно пи. 2.7.3^-
2.7.14 настоящего Руководства по эксплуатации.
-
2.7.18 Если в мундштуке или в заборной системе будут обнаружены пары этанола, на экране анализатора появится сообщение «Обнаружен алкоголь» (рисунок 17, справа).
Для выхода в режим готовности к отбору пробы выполните следующее:
-
- вернитесь на начало процедуры измерения, нажав виртуаль-
ную кнопку в этом случае все введенные данные перед измерением не будут утеряны;
-
- убедитесь в соблюдении правил эксплуатации по п. 2.1.2 настоящего РЭ, так как пары этанола в мундштук могли попасть из окружающего воздуха;
-
- удалите мундштук, используя толкатель, и повторите процедуру по пп. 2.7.7^-2.7.9 настоящего Руководства по эксплуатации.
Проверка воздуха
Проверка воздуха
Ждите
-
Обнаружен алкогель
HI
н
Рисунок 17 - В мундштуке или в заборной системе обнаружены пары этанола
ВНИМАНИЕ! Пока в мундштуке или в заборной системе будут обнаруживаться пары этанола, анализатор не выйдет в режим готовности к отбору пробы.
-
2.7.19 Если выдох не был сделан своевременно, то сообщение о готовности к отбору пробы «Дуйте» (рисунок 18, слева) сменится сообщением «Выдоха нет» (рисунок 18, справа).
Для возобновления процедуры измерения нажмите виртуальную кнопку «Повтор», в этом случае все данные, введенные перед измерением, не будут утеряны.
-
2.7.20 Если в анализатор поступает выдыхаемый воздух с недостаточным расходом, а также в случае слишком раннего прекращения дыхательной пробы, на экране появляется сообщение «Выдох прерван» (рисунок 19, справа).
Необходимо прекратить выдох. Для повторного выдоха нажмите виртуальную кнопку «Повтор», и после появления сообщения на экране о готовности к отбору пробы (рисунок 18, слева), обследуемый должен повторить выдох.

Рисунок 18 - Смена окон при отсутствии выдоха

В анализаторе предусмотрена возможность зафиксировать факт(ы) прерывания выдоха, если в этом есть необходимость, для этого нажмите виртуальную кнопку «Выдох Прерван», на экране появится соответствующее сообщение (рисунок 20).

индикация выдоха
Рисунок 19 - Срыв дыхательной пробы

выдох прерван

В памяти анализатора в этом случае в качестве результата измерения сохраняется «Выдох Прерван», что свидетельствует о том, что была сделана попытка выдоха, которая не завершилась автоматическим отбором пробы с последующим анализом.
В распечатке протокола в этом случае отсутствуют строки с режимом отбора пробы и результатом измерения, вместо них появляется строка «Выдох Прерван».
Рисунок 20 - Результат «Выдох Прерван»
Примечание - Если обследуемому по физиологическим причинам не удается выполнить достаточный для автоматического отбора пробы выдох, можно зафиксировать факт попытки выдоха (с результатом «Выдох Прерван»); в этом случае целесообразно провести измерение с ручным (пассивным) отбором пробы согласно п. 2.8. настоящего РЭ.
Для продолжения работы следуйте указаниям пи. 2.7.15^-2.7.17 настоящего РЭ.
2.8 Ручной отбор пробы-
2.8.1 Успешно применять выдыхаемый воздух как диагностическую среду для определения содержания алкоголя в крови человека позволяет тот факт, что количество алкоголя, испаряющегося в выдыхаемый воздух, зависит от его содержания в венозной крови. Эта зависимость является следствием закона Генри, который гласит, что давление летучего (газообразного) компонента в растворе и, следовательно, содержание паров этого компонента над раствором прямо пропорционально его содержанию в растворе.
Ближе всего соприкасается с кровью легочный воздух, близкий к альвеолярному, анализ которого становится возможным только при глубоком выдохе.
Именно поэтому для измерения массовой концентрации паров этанола в выдыхаемом воздухе рекомендуется использовать автоматический отбор пробы, при котором контролируются параметры дыхательной пробы (расход и объем).
ВНИМАНИЕ! При ручном (пассивном) режиме отбора пробы не осуществляется контроль параметров выдоха (расход и объем).
Воздух, находящийся в ротовой полости, а также в верхней части дыхательных путей, не находится в тесном соприкосновении с венозной кровью.
При ручном (пассивном) отборе пробы результат измерения массовой концентрации этанола в отобранной пробе выдыхаемого воздуха может быть несколько занижен по сравнению с результатом, полученным при срабатывании автоматического отбора пробы, вследствие того, что при ручном отборе - проба содержит большую долю воздуха из верхних дыхательных путей. Воздух из верхних дыхательных путей менее насыщен парами этанола, нежели легочный воздух, отбор которого происходит при автоматическом отборе пробы.
-
2.8.2 Если обследуемому не удается сделать выдох, при котором срабатывает автоматический отбор пробы, можно воспользоваться ручным (пассивным) режимом отбора пробы.
Для этого во время выдоха обследуемого нажмите виртуальную кнопку «РУЧНОЙ ЗАБОР» (рисунок 15), при этом анализатор произведет ручной (пассивный) отбор пробы - будет слышен щелчок срабатывания соленоида заборной системы.
Производите ручной отбор пробы в самом конце выдоха, на который способен обследуемый.
2.9 Отказ от измеренияЕсли выдох не был сделан своевременно, то сообщение о готовности к отбору пробы «Дуйте» сменится сообщением «Выдоха нет» (рисунок 21, слева).
В случае отказа обследуемого от проведения измерения (обследуемый отказывается делать выдох) в анализаторе предусмотрена возможность зафиксировать факт отказа от измерения; для этого нажмите виртуальную кнопку «Отказ», на экране появится сообщение об отказе от измерения (рисунок 21, справа).

Рисунок 21 - Результат «Отказ от измерения»
В памяти анализатора в этом случае в качестве результата измерения сохраняется слово «Отказ», что свидетельствует о том, что выдоха обследуемого не было.
В распечатке протокола при отказе от измерения отсутствуют строки с режимом отбора пробы и результатом измерения, вместо них появляется строка «Отказ от теста».
Для продолжения работы следуйте указаниям пи. 2.7.15^-2.7.17 настоящего РЭ.


ВНИМАНИЕ! Если у анализатора истек срок поверки, и при этом в анализаторе активирована функция блокировки работы (и. 1.4.7 настоящего РЭ) то при выборе режима измерения без ввода данных на экране выводится сообщение:
Требует Поверки
Для дальнейшей эксплуатации анализатор необходимо представить на очередную поверку.
-
2.10.1 Включите анализатор нажатием на кнопку включе-ния/выключения, удерживая ее до звукового сигнала (1-2 секунды). При этом на экране появляется заставка с названием анализатора, и начинается процедура автотестирования работоспособности (анализатор проводит автоматический отбор пробы - слышен двойной щелчок срабатывания соленоида заборной системы).
После этого на экране появляется главное меню анализатора (рисунок 4).
-
2.10.2 Выберите режим измерения без ввода данных, касаясь стилусом соответствующего пункта-иконки (рисунок 4). На экране появится следующее сообщение:
Вставьте чистый мундштук
Проверка воздуха
Ждите
Нажмите ССтарт> для теста
Старт

Рисунок - 22 Начало процедуры измерения в режиме измерения без ввода данных
-
2.10.3 Проведите измерение согласно пп.2.7.7^-2.7.17 настоящего Руководства по эксплуатации.
-
2.10.4 В поля распечатки протокола измерения, предназначенные для заполнения, можно вписать данные от руки.
ВНИМАНИЕ! Если у анализатора истек срок поверки, и при этом в анализаторе активирована функция блокировки работы (и. 1.4.7 настоящего РЭ) то при выборе режима скрининга на экране выводится сообщение:
Требует ПоверкиДля дальнейшей эксплуатации анализатор необходимо представить на очередную поверку.
-
2.11.1 Включите анализатор нажатием на кнопку включе-ния/выключения, удерживая ее до звукового сигнала (1-2 секунды). При этом на экране появляется заставка с названием анализатора, и начинается процедура автотестирования работоспособности (анализатор проводит автоматический отбор пробы - слышен двойной щелчок срабатывания соленоида заборной системы). После этого на экране появляется главное меню анализатора (рисунок 4).
-
2.11.2 Выберите режим скрининга, касаясь стилусом соответствующего пункта-иконки. На сенсорном экране появится сообщение о готовности к тесту (рисунок 23, слева).
готовность к тесту
индикация выдоха
Рисунок 23 - Режим скрининга
-
2.11.3 Установите мундштук-воронку следующим образом: держа мундштук-воронку отверстиями вниз под углом 45°, заведите фиксирующий выступ мундштука-воронки под захват мундштука в верхней части корпуса анализатора (рисунки 1, 3), затем опустите мундштук-воронку до щелчка.
Посмотрев на боковую панель анализатора (со стороны толкателя мундштука), визуально проверьте правильность установки мундштука-воронки: оба входных порта анализатора должны быть полностью утоплены в отверстия мундштука.
-
2.11.4 Для проведения тестирования обследуемый должен дуть в мундштук-воронку сильно и непрерывно (но без форсирования) около 1-2 секунд. Мундштук-воронка должен находиться прямо напротив рта обследуемого, почти перпендикулярно поверхности лица, на расстоянии 1,5-^2 см.
Примечание - Рекомендуется для лучшего срабатывания автоматического отбора пробы поток выдыхаемого воздуха направлять в вытянутую часть мундштука-воронки (напротив отверстия в мундштуке-воронке на датчик давления - на рисунке 3 отмечено стрелкой).
Если выдыхаемый воздух поступает с достаточным расходом, во время выдоха звучит опорный звуковой сигнал и на индикаторе продолжительности выдоха предъявляется оставшееся время выдоха в процентах (рисунок 23, справа).
Выдох следует прекратить по окончании опорного звукового сигнала; если расход и длительность выдыхаемого воздуха будут достаточными, в момент окончания выдоха будет слышен щелчок срабатывания соленоида заборной системы - анализатор произведет автоматический отбор пробы выдыхаемого воздуха из мундштука-воронки.
-
2.11.5 Если обследуемому не хватает выдоха для автоматического отбора пробы, воспользуйтесь ручным отбором пробы согласно п. 2.8.2 настоящего Руководства по эксплуатации.
ВНИМАНИЕ! Не удаляйте анализатор ото рта обследуемого до окончания ручного (пассивного) отбора пробы. В противном случае будет произведен отбор пробы окружающего воздуха, а не выдыхаемого.
-
2.11.6 В зависимости от результата тестирования на экране анализатора появляется одно из двух сообщений (рисунок 24).
ВНИМАНИЕ! Режим скрининга может использоваться только для оценки наличия этанола в выдыхаемом воздухе при этом погрешность анализатора может превысить пределы допускаемой основной погрешности анализатора, указанные в 1.2.1 настоящего Руководства по эксплуатации (результат будет занижен).

Рисунок 24 - Результаты теста в режиме скрининга

Если в выдыхаемом воздухе обнаружено присутствие алкоголя, необходимо провести измерение в одном из режимов измерения (по пп. 2. 7, 2.10 настоящего РЭ).
-
2.11.7 Для выхода в главное меню нажмите виртуальную кнопку
-
2.11.8 Для проведения следующего тестирования нажмите
виртуальную кнопку iiL.
и повторите процедуру согласно пп.
2.11.4^- 2.11.6 настоящего Руководства по эксплуатации.
-
2.11.9 При использовании анализатора для многократных измерений с использованием многоразового мундштука-воронки, особенно при низких температурах, необходимо периодически протирать внутреннюю поверхность воронки, не допуская появления конденсата.
ВНИМАНИЕ! Попадание конденсата на электрохимический датчик может привести к выходу последнего из строя.

Пункт главного меню «Просмотр памяти» позволяет вывести на экран записанные в памяти результаты всех измерений.
-
2.12.1 Для просмотра и распечатки протоколов измерений, сохраненных в памяти анализатора, выберите «Просмотр памяти» в главном меню анализатора, для этого коснитесь стилусом соответствующего пункта-иконки (рисунок 4).
На сенсорном экране появится окно «Запись» с протоколом последнего измерения:
Запись
Запись
Тест NO
ДАТА
Время
Режим
РЕЗУЛЬТАТ
00215
03/09/2010
13:06:58
РУЧНОЙ ЗАБОР
0.151 МГ/Л
Тест NO
ДАТА
Время
Режим
РЕЗУЛЬТАТ
00216
03/09/2010
13:09 17
Автомаггич
1 528 мг/л
Имя Обследуемого ИВАНОВ
Место ОбследоВниУЛ ЭНГЕЛЬСА
имя Обследуемого Место Обследовани
Г ос номер Машины А 777 АВ 78 Нагрудный Знак 123-78
Инспектор Отдел ДПС
ПЕТРОВ A M
1
Гос Номер Машины
Нагрудный Знак Инспектор отдел дпе





Рисунок 25 - Просмотр памяти
2.12.2 Если измерения производились в режиме измерения с
вводом данных, результаты измерения хранятся в памяти совместно с автоматически сохраняемыми данными (дата, время и т.д.) и с данными, введенными в предназначенные для заполнения поля (рисунок 25, слева).
-
2.12.3 Если измерения производились в режиме измерения без ввода данных, в памяти хранятся только результаты измерения совместно с автоматически сохраняемыми данными (рисунок 25, справа).
-
2.12.4 Перебор записей протоколов измерений через один -осуществляется нажатием виртуальных кнопок НН.
-
2.12.5 Перебор записей протоколов измерений через 10 - осуществляется кратковременным нажатием сервисной кнопки (влево) и кратковременным нажатием кнопки включения/выключения (вправо).
-
2.12.6 Для быстрого перехода к первой записи, к последней записи, а также к записи протокола под требуемым номером, выполните следующее:
- находясь в окне «Запись» (рисунок 25), зажмите и удерживайте сервисную кнопку и кратковременно нажмите кнопку включения/выключения; на экране появится окно перехода к требуемому протоколу (рисунок 26);

- нажатие виртуальных кнопок «Начало» и «Конец» осуществляет переход к первой и последней записи соответственно;
строка ввода номера теста
Рисунок 26 - Быстрый переход к требуемому протоколу
- для быстрого перехода к протоколу измерения с определенным номером, наберите требуемый номер теста, касаясь виртуальных кнопок «+» и «-» (старший разряд слева направо), и нажмите виртуальную кнопку «Переход». В том случае, если набранный номер превышает количество проведенных тестов, переход осуществ
ляется на последнюю по времени запись.

требуемый
-
2.12.7 По нажатию на виртуальную кнопку протокол измерения распечатывается на термопринтере.
Пример распечатки протокола измерения, выполненного в режиме измерения с вводом данных, представлен на рисунке 27.
Данные, отмеченные знаком «*», вводятся с виртуальной клавиатуры перед измерением или вписываются от руки в распечатанный протокол.
Набор полей для ввода и хранения данных устанавливается в сервисном центре и может быть изменен по желанию пользователя (по письменному запросу) или в связи с изменениями в нормативных документах, регулирующих вопросы освидетельствования на состояние алкогольного опьянения.
2.14 Выключение анализатора-
2.14.1 Анализатор выключается продолжительным (около 3 секунд) нажатием на кнопку включения/выключения до появления на экране сообщения «Выключение».
-
2.14.2 С целью экономии заряда аккумуляторного блока предусмотрена функция автоматического отключения анализатора. Пользователь может самостоятельно установить удобное время автоматического отключения после последней операции (согласно п. 2.4.3 настоящего Руководства по эксплуатации).
Номер Прибор»: 8G0002 4
Тест N0,
: 00215
Да га =
03/09/2010
Бреют
13:06-
ЕОЗДух:
0. 00 МГ/Л
Дата регулировки
наименование анализатора; заводской номер анализатора;
01/09/2010

Режим: РУЧНОЙ. ЗАБОР
Результат:
О. 151 мг/л

Имя Обследуемого: ИВАНОВ Н. П.
порядковый номер измерения;
дата измерения;
время измерения;
результат проверки мундштука и заборной системы на наличие паров этанола перед измерением;
дата последней корректировки показаний анализатора;
режим отбора пробы («Автоматический», «РУЧНОЙ ЗАБОР»;
результат измерения массовой концентрации этанола в выдыхаемом воздухе («Результат: Х.ХХХ мг/л», «Выдох Прерван» или «Отказ от теста»);
фамилия и инициалы обследуемого лица*;
Место Обследование
УЛ. ЭНГЕЛЬСА 4
Гос. Номер Машины:
А ??7 ЙЕ 78
Нагрудный Знак^
123-78
Инспектор: ПЕТРОВ А. М.
Отдел ДПС= <
1
место обследования*;
государственный номер автотранспортного средства*;
номер нагрудного знака инспектора ГИБДД*;
фамилия и инициалы инспектора*;
GPS:
Е030* 15. 75859’
N59' 56. 88494’

номер отдела ДПС*;
координаты GPS;
Темп. = 24* С ◄----
Подпись Обслед. :4
температура измерительной камеры; подпись обследуемого лица;
Подпись: |
◄---------------подпись инспектора. Рисунок - 27 Распечатка протокола измерения |
Возможные неисправности анализатора и способы их устра
нения приведены в таблице 4.
Таблица 4
№ п/п |
Возможная неисправность |
Вероятная причина |
Способ устранения |
1. |
Анализатор не включается |
1. Отсутствие/ низкое напряжение аккумуляторного блока. |
Установить/ зарядить аккумуляторный блок согласно п. 3.1.3 настоящего РЭ. |
2. Анализатор неисправен. |
Анализатор необходимо отправить в сервисный центр для ремонта. | ||
2. |
Остановились часы реального времени |
1. Пониженное напряжение литиевой батареи. |
Заменить литиевую батарею согласно п. 3.1.6 настоящего РЭ. |
2. Выход из строя микросхемы часов реального времени. |
Анализатор необходимо отправить в сервисный центр для ремонта. | ||
3. |
Анализатор не производит автоматический отбор пробы |
1. Недостаточный расход или объем выдыхаемого воздуха. |
Повторите выдох в соответствие с п. 2.7.11 настоящего РЭ. |
2. Анализатор неисправен. |
Анализатор необходимо отправить в сервисный центр для ремонта. | ||
4. |
Отсутствует звуковая сигнализация работы анализатора |
1. Некорректные настройки звука. |
Выполните настройку звука согласно п. 2.5.5 настоящего РЭ. |
2. Анализатор неисправен. |
Анализатор необходимо отправить в сервисный центр для ремонта. |
5. |
В протоколе измерения распечатывается бледный текст или текст вообще отсутствует |
1. Низкое напряжение аккумуляторного блока. |
Зарядить аккумуляторный блок согласно и. 3.1.3 настоящего РЭ. |
2. Плохой прижим бумаги прижимным резиновым валиком принтера. |
Убедитесь, что прижимной валик чистый; при необходимости очистите его; плотно закройте крышку принтера. | ||
3. Рулон термобумаги установлен неправильной стороной, либо используется неподходящая бумага. |
Убедитесь, что используется подходящая бумага и проверьте правильность ее установки согласно и.3.1.4 настоящего РЭ. | ||
4. Неисправен принтер анализатора. |
Анализатор необходимо отправить в сервисный центр для ремонта. | ||
6. |
Не распечатывается протокол измерения после отобра-жения результата измерения |
1. Некорректные установки печати. |
Задайте необходимое количество копий согласно и.2.5.4 настоящего РЭ. |
2. Неисправен принтер анализатора. |
Анализатор необходимо отправить в сервисный центр для ремонта. | ||
7. |
При включении анализатора появляется сообщение «Высокая (низкая) температура» и анализатор отключается |
Условия эксплуатации не соответствуют рабочим. |
Необходимо соблюсти температурный диапазон рабочих условий эксплуатации (согласно и. 1.1.3 настоящего РЭ). |
8. |
Анализатор не выходит в |
1. Наличие паров этанола в мундштуке |
Смените мундштук и действуйте согласно |
режим готовности к отбору пробы |
или заборной системе анализатора. |
и. 2.7.18 настоящего РЭ. | |
2. Анализатор неисправен. |
Анализатор необходимо отправить в сервисный центр для ремонта. |
Техническое обслуживание анализатора производится с целью обеспечения постоянной исправности и готовности к эксплуатации.
3.1 Текущее техническое обслуживание-
3.1.1 Текущее техническое обслуживание анализатора включает в себя:
-
• внешний осмотр перед началом работы;
-
• заряд аккумуляторного блока при низком уровне заряда;
-
• заправку термопринтера бумагой по мере ее расходования;
-
• чистку анализатора по мере загрязнения;
-
• замену литиевой батареи по мере необходимости.
-
3.1.2 При внешнем осмотре анализатора необходимо проверять:
-
- наличие всех крепежных элементов;
-
- наличие пломбирования и отсутствие внешних повреждений, влияющих на работоспособность анализатора.
-
3.1.3.1 Чтобы проверить уровень заряда аккумуляторного блока, надо выйти в главное меню анализатора (и. 2.3.2 настоящего РЭ).
При низком уровне заряда лишь небольшая часть индикатора заряда в главном меню остается закрашенной; когда уровень заряда аккумуляторного блока станет ниже допустимого, анализатор отключится. В этих случаях требуется произвести заряд аккумуляторного блока.
Примечание - Отключение анализатора в случае пониженного питания может произойти на всех этапах его работы, поэтому следите за индикатором заряда в главном меню и производите заряд аккумуляторного блока заблаговременно.
-
3.1.3.2 Заряд аккумуляторного блока можно произвести одним из двух способов:
-
1) Подсоединить к выключенному анализатору адаптер питания из комплекта поставки (адаптер питания от сети 220 В, либо от бортовой сети 12 В). В этом случае аккумуляторный блок будет заряжаться, находясь непосредственно в отсеке питания анализатора. При таком способе заряд необходимо производить около 2-х часов.
-
2) Использовать зарядное устройство, входящее в комплект поставки анализатора. Для этого необходимо достать аккумуляторный блок из отсека питания и установить его в зарядное устройство, следуя указаниям:
а) поверните фиксирующий винт крышки отсека питания анализатора на 180 градусов против часовой стрелки и снимите крышку отсека питания;
б) потяните аккумулятор вверх, держась за специальный выступ на аккумуляторном блоке (для него сделана выемка внизу отсека питания анализатора), и достаньте аккумуляторный блок из отсека питания;
в) установите аккумуляторный блок в зарядное устройство: сначала совместите контактную поверхность блока с контактами зарядного устройства, затем опустите аккумуляторный блок вниз до конца;
г) подсоедините адаптер питания к зарядному устройству (используйте адаптеры питания либо от сети переменного тока 220 В, либо от бортовой сети автомобиля, входящие в комплект поставки анализатора);
д) подсоедините адаптер питания к источнику питания, при этом индикатор зарядного устройства загорается красным цветом; заряд необходимо продолжать до тех пор, пока цвет индикатора не изменится на зеленый;
е) вставьте заряженный аккумуляторный блок обратно в отсек питания; для этого сначала совместите контактные поверхности аккумуляторного блока и анализатора, а затем утопите блок до плотного прилегания к отсеку питания;
ж) установите крышку отсека питания, совместив выступы на крышке с внутренними пазами в корпусе прибора, и поверните фиксирующий винт крышки отсека на 180 градусов по часовой стрелке.
3.1.4 Заправка термопринтера бумагойЕсли в принтере отсутствует бумага, после включения анализатора на экране появляется сообщение:
Нет бумагиВ этом случае требуется заправить в принтер новый рулон термобумаги. Для этого выполните следующие действия:
откройте принтер поворотом язычка вверх;
вставьте новый рулон термобумаги, расположив рулон так, как указано на рисунке 28;
Примечание - Термостороиу бумаги легко определить: если быстро чиркнуть стилусом по термостороне, то останется черный след.
- закройте принтер, прижав крышку принтера до щелчка.

Рисунок 28 - Внешний вид встроенного термопринтера
Во встроенный термопринтер устанавливается рулон термобумаги следующих размеров: ширина 57±1 мм, внешний диаметр -25±1 мм (длина бумаги в рулоне в зависимости от плотности око-лоб-6 м), которого будет достаточно для распечатки около 30 протоколов измерений.
-
3.1.5 Чистка корпуса анализатора производится слегка влажной тряпочкой.
Нельзя применять абразивные или химические вещества для чистки анализатора — это может повредить корпус, сенсорный экран и/или электрохимический датчик анализатора.
При чистке необходимо убедиться в отсутствии грязи и пыли во входных портах заборной системы анализатора. При наличии загрязнений удалите их.
Удаление конденсата из мундштука воронки анализатора при эксплуатации производить мягкой тканью без ворса.
Чистка прижимного резинового валика термопринтера производится сухой тряпочкой, не оставляющей волокна на валике.
3.1.6 Замена литиевой батареиВ процессе эксплуатации анализатора заряд литиевой батареи постепенно снижается.
Для замены литиевой батареи выполните следующие действия:
-
1) поверните фиксирующий винт крышки отсека питания анализатора на 180 градусов против часовой стрелки и снимите крышку отсека питания;
-
2) потяните аккумулятор вверх, держась за специальный выступ на аккумуляторном блоке (для него сделана выемка внизу отсека питания анализатора), и достаньте аккумуляторный блок из отсека питания;
-
3) извлеките литиевую батарею из гнезда, аккуратно сместив металлическую планку-контакт;
-
4) установите новую литиевую батарею типа CR 1220 3V в гнездо, соблюдая полярность («+» контакт сверху), и нажмите на нее до щелчка;
-
5) вставьте аккумуляторный блок обратно в отсек питания; для этого сначала совместите контактные поверхности аккумуляторного блока и анализатора, а затем утопите аккумуляторный блок до плотного прилегания;
-
6) установите крышку отсека питания, совместив выступы на крышке с внутренними пазами в корпусе прибора, и поверните фиксирующий винт крышки отсека на 180 градусов по часовой стрелке.
Периодическое техническое обслуживание анализатора в течение всего периода эксплуатации включает в себя:
-
• проверку показаний (чувствительности) анализатора - по необходимости;
-
• поверку анализатора - 1 раз в год;
-
• корректировку показаний (далее - регулировку чувствительности) анализатора - по необходимости.
-
3.2.1.1 Проверка показаний анализатора может выполняться:
-
- при эксплуатации анализатора (по желанию пользователя);
-
- перед или при проведении периодической или внеочередной поверки анализатора (рекомендуется фирмой-поставщиком).
-
3.2.1.2 Проверка показаний анализатора может выполняться пользователем или сервисным центром при условии наличия оборудования, указанного в таблице 5.
-
3.2.1.3 Работа по проверке показаний анализатора должна быть отмечена в паспорте анализатора в таблице учета технического обслуживания анализатора.
-
3.2.1.4 Проверку показаний анализатора следует проводить при следующих условиях:
-
- диапазон температуры окружающего воздуха, °C от 20 до 25;
-
- диапазон относительной влажности
окружающего воздуха, %: от 30 до 80;
-
- диапазон атмосферного давления, кПа: от 84 до 106;
-
- анализатор выдерживают в помещении, в котором проводят проверку показаний, в течение 1,5-2 ч.
Таблица 5
№№ |
Наименование, марка |
1 |
Генератор газовых смесей паров этанола в воздухе GUTH модель 10-4D - рабочий эталон 1-го разряда по ГОСТ 8.578-2008 (№ 40633-09 по Госреестру СИ РФ). Пределы допускаемой относительной погрешности: ± 5 %. |
2 |
Государственные стандартные образцы состава водных растворов этанола ВРЭ-2 (ГСО 8789-2006). Границы относительной погрешности при Р=0,95: ± 1 %. Номинальное значение массо- |
вой концентрации этанола в растворе 0,386±0,019 мг/см3. | |
3 |
Воздух в баллоне под давлением по ТУ 6-21-5-82. |
4 |
Редуктор баллонный кислородный одноступенчатый БКО-50-4. |
5 |
Ротаметр РМ-1 ГУЗ по ГОСТ 13045-81. Верхний предел диапазона измерений 1,0 м3/ч. |
6 |
Барометр-анероид М-67 по ТУ 2504-1797-75. Цена деления 1 мм рт. ст. |
7 |
Психрометр аспирационный М-34-М по ГРПИ 405132.001 ТУ. Диапазон измерений от 10 % до 100 %. |
8 |
Термометр лабораторный ТЛ4 по ГОСТ 28498-90. Диапазон измерений от 0 °C до 50 °C, цена деления 0,1 °C. |
9 |
ГСО-ПГС 1-го разряда состава C2H5OH/N2 в баллонах под давлением по ТУ 6-16-2956-92 (ГСО 8364-2003) с редуктором, обеспечивающим номинальный расход 1 л/мин. Номинальное значение массовой концентрации этанола в ГСО-111 С в баллонах 0,150±0,015 мг/л. |
Примечания:
|
-
3.2.1.5.1 Для проверки показаний анализатора с помощью генератора газовых смесей паров этанола в воздухе требуется оборудование, указанное в пп. 1-8 таблицы 5 настоящего РЭ.
-
3.2.1.5.2 Подготовка к проверке показаний.
а) В соответствии с руководством по эксплуатации генератора приготовьте газовую смесь, используя соответствующий ГСО состава водного раствора этанола (и. 2 таблицы 5).
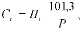
б) Рассчитайте действительное значение массовой концентрации этанола в ГС на выходе генератора Сд, мг/л, по формуле:
Сд =0,38866 XcJ, (1)
где cj - аттестованное значение массовой концентрации этанола в используемом ГСО состава водного раствора этанола, мг/см3.
в) Соберите газовую систему, схема которой изображена на рисунке 29. Сборку ведут ПВХ трубкой. При этом анализатор включается в систему только в момент отбора пробы.
При сборке газовой системы генератор следует расположить так, чтобы на него не падали прямые солнечные лучи и вблизи отсутствовали источники охлаждения или нагрева. Перед началом работы необходимо убедиться в отсутствии влаги и конденсата на внутренней поверхности соединительных трубок. При наличии влаги или конденсата просушите все элементы.
1 2 3 4 5

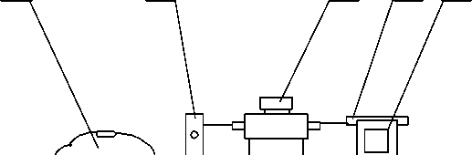
"О------------сг
1 - компрессор; 2 - ротаметр; 3 - генератор ГС;
4 - анализатор.
Рисунок 29 - Схема газовой системы при подаче на анализатор ГС от генератора
г) Включите компрессор. Отрегулируйте расход воздуха компрессора, контролируя по ротаметру, таким образом, чтобы установился расход газовой смеси 6-7 л/мин.
-
3.2.1.5.3 Проведение проверки показаний анализатора.
Проверку показаний анализатора проводят путем подачи на анализатор газовой смеси (ГС) и регистрации показаний.
Выполните три измерения в режиме измерения без ввода данных, с ручным отбором пробы при подаче на анализатор ГС, следуя указаниям:
а) Включите анализатор, выберите режим измерения без ввода данных. Нажмите виртуальную кнопку «Старт».
б) Вставьте мундштук и подсоедините анализатор в газовую систему (рисунок 29).
в) Включите компрессор (при этом расход установлен 6-7 л/мин). Через 2-3 секунды нажмите виртуальную кнопку «РУЧНОЙ ЗАБОР», через 1 -2 секунды прекратите подачу газовой смеси от генератора (выключив или отсоединив компрессор из газовой системы) и отсоедините анализатор из газовой системы, удаляя при этом мундштук из анализатора.
г) Зарегистрируйте показания. Перейдите к следующему изме-
ГлЛ
рению, нажав виртуальную кнопку
д) Нажмите виртуальную кнопку «Старт» для следующего измерения.
е) Рассчитайте основную абсолютную погрешность AOCHj, мг/л, по формуле: где С, - измеренное значение массовой концентрации этанола в ГС, мг/л


(2)
Со - действительное значение массовой концентрации
этанола в ГС, рассчитанное по формуле (1), мг/л.
Примечание 1 - Заменяйте мундштук на новый после каждых 5-8 тестов, не допуская скопления конденсата.
Примечание 2 - Заменяйте водный раствор этанола в генераторе в соответствии с руководством по эксплуатации генератора.
ж) Повторите действия по пи. б) - е) еще два раза.
з) Результат проверки показаний считают положительным, если максимальное из трех полученных действительных значений основной абсолютной погрешности Досм;. не выходит за пределы допускаемой основной абсолютной погрешности, равной ± 0,020 мг/л.
и) При положительном результате проверки показаний рекомендуется сделать отметку в паспорте анализатора в таблице учета технического обслуживания факт проведения проверки показаний записью «Проверка показаний».
Примечание - Записи в паспорте о выполненной проверке показаний делают только сервисные центры; пользователю рекомендуется вести отдельный журнал учета технического обслуживания анализатора.
к) При отрицательном результате проверки показаний - если максимальное из трех полученных действительных значений основной абсолютной погрешности A ocHi выходит за пределы допускаемой основной абсолютной погрешности, требуется выполнить корректировку показаний (регулировку чувствительности) анализатора (п. 3.2.2 настоящего Руководства по эксплуатации) с последующей поверкой анализатора.
3.2.1.6 Проверка показаний анализатора с помощью ГСО-ПГС в баллонах под давлением-
3.2.1.6.1 Для проверки показаний анализатора с ГСО-111 С в баллонах под давлением требуется оборудование, указанное в пп. 6-9 таблицы 5 настоящего РЭ.
-
3.2.1.6.2 Подготовка к проверке показаний.
Баллоны с газовыми смесями выдерживают в помещении, в котором проводят проверку показаний, не менее 24 часов.
Перед проверкой показаний с применением ГСО-111 С в баллонах под давлением (сухих газовых смесей) в течение 6 часов не допускается подавать на анализатор пробы выдыхаемого воздуха или газовой смеси от генератора.
-
3.2.1.6.3 Проведение проверки показаний.
Выполните три измерения в режиме проверки показаний по сухому газу, с ручным отбором пробы при подаче на анализатор ГСО-ПГС, следуя указаниям:
а) Приверните редуктор к баллону.
б) Соберите газовую систему, схема которой изображена на рисунке 30. Присоединять анализатор следует к патрубку редуктора через переходник и мундштук анализатора.
в) Включите анализатор, войдите в режим проверки показаний по сухому газу, для этого в главном меню выберите пункт «Установки пользователя» (по и. 2.5.3 настоящего Руководства по эксплуатации).
г) Выполните измерение следующим образом:
- подсоедините анализатор в газовую систему (рисунок 30);
2
3
4

1 - баллон с ГСО-ПГС; 2 - редуктор;
-
3 - переходник из комплекта баллона;
-
4 - анализатор с мундштуком из комплекта анализатора.
Рисунок 30 - Схема газовой системы при подаче на анализаторы ГСО-ПГС из баллона с редуктором
-
- нажмите и удерживайте в нажатом состоянии кнопку в верхней части редуктора, подавая ГСО в мундштук (в течение 3-4 секунд);
-
- нажмите виртуальную кнопку «Проверка»;
-
- через 1-2 секунды прекратите подачу газовой смеси от баллона, отпустив кнопку в верхней части редуктора;
-
- отсоедините анализатор из газовой системы, удаляя при этом мундштук из анализатора.
д) Зарегистрируйте показания 77,. Перейдите к следующему
К
ипи IL л

измерению, нажав виртуальную кнопку
е) Рассчитайте измеренное значение массовой концентрации этанола в ГС С, , мг/л, по формуле

где Р - атмосферное давление, измеренное с помощью барометра-анероида, кПа.
ж) Рассчитайте основную абсолютную погрешности Досм,,
мг/л, по формуле:
Д =С -С
(4)
^ост '“'d ’ где С, - измеренное значение массовой концентрации этанола в ГС, рассчитанное по формуле (3), мг/л
Со - действительное значение массовой концентрации этанола в ГС, указанное в паспорте ГСО-ПГС, мг/л.
Примечание - При использовании ГСО-ПГС в баллонах под давлением следите за показаниями шкалы манометра на редукторе. Когда давление опустится до минимального допустимого значения (стрелка манометра опуститься до верхней границы области с нулевой отметкой), использование баллона необходимо прекратить (рисунок 31).

верхняя граница области
с нулевой отметкой
Рисунок 31 - Манометр на редукторе баллона
з) Повторите действия по пп. г)- ж) еще два раза.
и) Результат проверки показаний считают положительным, если максимальное из трех полученных действительных значений основной абсолютной погрешности Доси;. не выходит за пределы допускаемой основной абсолютной погрешности, равной ± 0,020 мг/л.
к) При положительном результате проверки показаний рекомендуется сделать отметку в паспорте анализатора в таблице учета технического обслуживания факт проведения проверки показаний записью «Проверка показаний».
Примечание - Записи в паспорте о выполненной проверке показаний делают только сервисные центры; пользователю рекомендуется вести отдельный журнал учета технического обслуживания анализатора.
л) При отрицательных результатах проверки показаний - если максимальное из трех полученных действительных значений основной абсолютной погрешности Досм;. выходит за пределы допускаемой основной абсолютной погрешности, требуется выполнить корректировку показаний (регулировку чувствительности) анализатора (п. 3.2.2 настоящего Руководства по эксплуатации) с последующей поверкой анализатора.
3.2.2 Корректировка показаний анализатораПри отрицательных результатах проверки показаний требуется произвести корректировку показаний (регулировку чувствительности) анализатора.
Корректировка показаний (регулировка чувствительности) анализатора проводится в соответствии с технической документацией фирмы-изготовителя.
Корректировка показаний (регулировка чувствительности) анализатора производится в организациях, имеющих оборудование, указанное в таблице 5, а также имеющих техническую документацию и технические средства по проведению регулировки (поставляются по отдельному заказу фирмой-поставщиком).
Факт проведения корректировки показаний (регулировки чувствительности) анализатора рекомендуется отметить в паспорте анализатора в таблице учета технического обслуживания записью «Корректировка показаний» или «Регулировка чувствительности».
ВНИМАНИЕ! После проведения корректировки показаний (регулировки чувствительности) анализатора, обязательно проведение поверки анализатора.
Инструкция по проведению корректировки показаний (регулировки чувствительности) анализатора по отдельному запросу поставляется фирмой-поставщиком в сервисные центры и в организации, имеющие аккредитацию на право поверки анализаторов паров этанола в выдыхаемом воздухе.
3.2.3 Поверка анализатора-
3.2.3.1 Поверка анализаторов паров этанола в выдыхаемом воздухе АЛКОТЕКТОР PRO-100 touch осуществляется по МП-242-1063-2010 «Анализаторы паров этанола в выдыхаемом воздухе исполнения АЛКОТЕКТОР PRO-100 touch, АЛКОТЕКТОР PRO-100 touch-K. Методика поверки», разработанной и утвержденной ГЦИ СИ «ВНИИМ им. Д.И. Менделеева» 15 сентября 2010 г.
-
3.2.3.2 Межповерочный интервал - 1 год.
-
3.2.3.3 Основные средства поверки:
- генератор газовых смесей паров этанола в воздухе GUTH модель 10-4D - рабочий эталон l-ro разряда по ГОСТ 8.578-2008 (№ 40633-09 по Госреестру СИ РФ) в комплекте с ГСО состава водных растворов этанола ВРЭ-2 (ГСО 8789-2006).
или
- ГСО-ПГС 1-го разряда состава C2H5OH/N2 в баллонах под давлением по ТУ 6-16-2956-92 (ГСО 8364-2003, ГСО 8366-2003).
-
3.2.3.4 Перед поверкой рекомендуется выполнить проверку показаний (по п. 3.2.1.5 или 3.2.1.6 настоящего РЭ) и при необходимости корректировку.
-
3.2.3.5 При положительных результатах поверки выдается свидетельство о поверке. Проведенные работы по поверке рекомендуется отмечать в таблице учета технического обслуживания в паспорте анализатора.
-
3.2.3.6 При положительных результатах поверки фирма-поставщик рекомендует занести дату очередной поверки в память анализатора, которая отображается в главном меню, тем самым облегчая пользователю при эксплуатации контроль за соблюдением сроков поверки. Инструкцию по этой процедуре следует запросить у фирмы-поставщика. Данная инструкция распространяется фирмой-поставщиком только аккредитованным на право поверки учреждениям и сервисным центрам.
Примечание - По желанию пользователя или при наличии требований в нормативных документах, регулирующих применение анализаторов, при внесении даты очередной поверки может быть активирована функция блокировки работы анализатора по дате поверки.
При активации функции блокировки работы анализатора по дате поверки необходимо сделать соответствующую отметку в таблицу учета технического обслуживания паспорта анализатора.
4 ТРАНСПОРТИРОВАНИЕ И ХРАНЕНИЕ-
4.1 Анализаторы транспортируются в транспортной таре фирмы-поставщика в крытых транспортных средствах.
-
4.2 Хранение анализаторов должно проводиться в закрытых отапливаемых помещениях.
ВНИМАНИЕ! Не допускается хранение анализаторов в местах с повышенной запыленностью и загазованностью, а также в которых осуществляется хранение спиртосодержащих веществ в открытых емкостях или проводится обработка поверхностей (оборудования) спиртосодержащими растворами.
ПРИЛОЖЕНИЕ А(СПРАВОЧНОЕ)
Сервисные центры
Город |
Организация |
Контакты |
Адрес |
Вид тех. обслуживания |
Абакан |
ООО «Медтехника» |
(3902) 25-73-41, факс23-15-74 |
655016, Республика Хакасия, Абакан, ул. Комарова, 8А |
поверка, проверка и регулировка, ремонт |
Архангельск |
ФГУ «Архангельский цсм» |
(8182) 20-35-77, факс 20-38-32 arhcsm@arh.ru |
163060, Архангельск, ул. Шаблина, д. 3 |
поверка, проверка и регулировка, ремонт |
Барнаул |
ООО «Дельрус (Алтай)» |
(3852) 289-529, факс 289-530 delrusabr@intelbi.ru |
656067, Алтайский край, Барнаул, Павловский тракт, 283 |
поверка, проверка и регулировка, ремонт |
Барнаул |
АКГУП «Алтаймедтехника» |
(3852) 34-01-97, 34-19-33, 77-36-97, altmedtc@mail.ru |
656023, Барнаул, ул. Тимуровская, 72 |
поверка, проверка и регулировка, ремонт |
Белгород |
ФГУ «Белгородский ЦСМ» |
(4722)031-18-29, 31-18-29, 26-43-52 |
308007, Белгород, ул. Садовая, 110 |
поверка, проверка и регулировка, ремонт |
Благовещенск |
ФГУ «Благовещенский ЦСМ» |
(4162) 35-23-28, 35-27-69, факс 35-23-28, 35-23-95, metrol@amur.ru |
675029, Благовещенск, пер. Чудиновский, 10 |
поверка, проверка и регулировка, ремонт |
Благовещенск |
ИП Колчанова Светлана Валерьевна |
(4162) 37-66-73 |
675029, Амурская область, Благовещенск, ул. Заводская, 154, оф. 30 |
проверка и регулировка, ремонт |
Владивосток |
ОАО «Мед тех ника-1» |
(4232) 36-52-61 |
690033, Владивосток, ул. Иртышская, 10А |
поверка, проверка и регулировка, ремонт |
Владимир |
ФГУ «Владимирский ЦСМ» |
(4922) 24-23-37, 24-32-78 , 53-12-87. csm@vladcsm.elcom.ru |
600022, Владимир, ул. Ново-Ямская, 73 |
поверка, проверка и регулировка, ремонт |
Волгоград |
Волгоградское отделение «Всероссийское общество автомобилистов» |
(8442) 28-96-70, т.ф.28-96-60, 28-96-70 voooovoa@vistcom.ru |
400040, Волгоград, ул. Штеменко, 66а |
проверка и регулировка, ремонт |
Волгоград |
ИП Горбунов А.Г. |
8-903-373-94-32, (8442) 72-69-46, 94-42-45 |
400054, Волгоград, Чиги ринская ул., д. 2, кв. 117 |
ремонт, проверка и регулировка |
Вологда |
ФГУ «Вологодский ЦСМ» |
(8172) 51-17-18, 53-58-17 |
160004, Вологодская обл., Вологда, ул. Ленинградская, д. 70-а |
поверка, проверка и регулировка, ремонт |
Воронеж |
ФГУ «Воронежский ЦСМ» |
(4732) 52-33-62 |
Воронеж, ул. Станкевича, Д-2 |
поверка, ремонт |
Воронеж |
ООО «Неомедсервис» |
(4732) 49-90-02, 49-90-35. 49-90-40 neomeds@yandex.ru www. neomedservice, г и |
394029, Воронеж, Ленинский проспект, 10А |
ремонт, проверка и регулировка |
Екатеринбург |
ФГУ «Уралтест» |
(343) 350-53-15, 350-40-81 |
620219, г. Екатеринбург, ул. Красноармейская, д. 2а |
поверка |
Екатеринбург |
ГУП СО «ПТП» Медтехника» |
(343) 341-05-68, 341-02-11, (факс) 341-04-27, 341-05-76 |
620137, Екатеринбург, ул. Учителей, д. 30 |
поверка, проверка и регулировка, ремонт |
Иркутск |
ООО «Технический центр диагностики автомобилей» |
(3952) 44-61-35, 44-57-35, 44-59-74 |
664040, Иркутск, ул. Розы Люксембург, 172, а/я 224 |
поверка, проверка и регулировка, ремонт |
Йошкар-Ола |
ФГУ «Марийский ЦСМ» |
(8362) 41-20-18, факс 41-16-94 |
424006, Йошкар-Ола, ул. Соловьева, д.З |
поверка, проверка и регулировка, ремонт |
Казань |
ФГУ «Татарстанский ЦСМ» |
(843) 291-08-21, 72-82-64 |
420029, Казань, ул. Журналистов, д. 24 |
поверка, проверка и регулировка, ремонт |
Калининград |
ФГУ «Калининградский ЦСМ» |
(4012) 53-17-72, 53-61-34 |
Калининград, ул. Болы ничная, д.4 |
поверка, проверка и регулировка |
Калуга |
ФГУ "Калужский ЦСМ" |
(4842) 56-31-29, сЬакс 57-42- |
248000, г. Калуга, ул. Тульская, д.16а |
поверка |
Калуга |
ООО «ЗдравСервис» |
(4842) 544-988, 59-15-30 zdravservice@kaluga.ru www.zdravservis.ru |
248003, г. Калуга, ул. Тульская 189, строение 5, офис 11 |
проверка и регулировка, ремонт |
Кемерово |
ФГУ «Кемеровский ЦСМ» |
(3842) 36-31-25 |
Кемерово, Дворцовая ул., Д-2 |
поверка, проверка и регулировка |
Киров |
ФГУ «Кировский ЦСМ» |
(8332) 63-74-66, 63-08-06 gost@gost. kirov.ru |
610035 Киров, ул. Попова, Д-9 |
поверка |
Кострома |
ФГУ «Костромской ЦСМ» |
(4942) 42-80-11, 42-80-12 , 54-62-09, факс 42-05-11 kcsm@kosnet.ru |
156005, Кострома, ул. Советская, 118А |
поверка, проверка и регулировка, ремонт |
Котлас |
МУЗ «Котласская ЦГБ» |
(8 1837) 2-10-57, т.ф. 2-36-44 Kotlgrb@alnet.ru |
165313, Архангельская область, Котлас, пр. Мира, 36 |
ремонт |
Краснодар |
ФГУ «Краснодарский цсм» |
(861) 233-65-33, 233-72-97. 235-36-57 |
Краснодар, ул. Айвазовского, д. 104 корп. А, Отдел ПИКГСИ, |
поверка, проверка и регулировка |
Красноярск |
ФГУ «Красноярский ЦСМ» |
(3912) 36-26-81, 36-12-85, 36-12-54, т.ф. 36-12-94, 36-60-09, тех. центр (ремонт) |
660093, Красноярск, ул. Вавилова, д. 1а |
поверка, проверка и регулировка, ремонт |
- 36-60-25 krascsm@standart.krsn.ru www.standart.krsn.ru | ||||
Курган |
ФГУ «Курганский ЦСМ» |
(3522) 53-37-94, 53-85-96, (факс) 53-77-26 |
Курган, ул. Дзержинского, Д. 33 |
поверка, проверка и регулировка |
Курск |
ФГУ «Курский ЦСМ» |
(4712) 58-05-54, 53-67-74 kcsms@sovtest.ru tep Io tex@ kcsms.sovtest.ru |
305029, Курск, Южный переулок, 6а |
поверка, проверка и регулировка, ремонт |
Магнитогорск |
ФГУ «Магнитогорский ЦСМ» |
(3519) 20-70-52 |
455000, Челябинская обл., г. Магнитогорск, Спартаковский пер., д. 6/1 |
поверка, проверка и регулировка, ремонт |
Майкоп |
ФГУ «Адыгейский ЦСМ» |
(8772) 53-48-57 acsms@radent.ru |
385020, Майкоп, ул. 8 Марта, 1 |
поверка, проверка и регулировка, ремонт |
Москва |
Ф-л ООО «Ал коте кто р», отдел по работе с клиентами |
(916) 041-50-90, т.ф.(495) 684-54-86 |
127473, г. Москва ул. Садовая-Самотечная, д. 13, стр. 1, оф. 310 |
сбор и выдача приборов на ТО |
Москва |
Сологуб Геннадий Романович |
(495) 336-15-41 |
проверка и регулировка, ремонт | |
Москва |
ГУП «Гормедтехника» |
(495) 952-74-20, факс 958-15- 60 |
115093, Москва, ул. Дублинская, д. 98 |
поверка, проверка и регулировка, ремонт |
Мурманск |
ФГУ «Мурманский ЦСМ» |
(8152) 47-31-49, т.Ф. 28-60-00 mcsm@mcsm.ru www.mcsm.ru |
183001, Мурманск, ул. Фестивальная, 25 |
поверка, проверка и регулировка, ремонт |
Набережные Челны |
Филиал ФГУ «Татарстанский ЦСМ» |
(8552) 592-028 |
423800, Республика Татарстан, г. Набережные Челны, р-н Новый город, д. 53/39 |
поверка, проверка и регулировка, ремонт |
Надым |
ООО "Аспект-Медсервис" |
(3499) 56-11-67 |
ремонт, проверка и регулировка | |
Нижневартовск |
ООО «Медстар» |
(3466) 62-41-72, 62-43-69, 27-01-01, 27-10-65 |
628616, Тюменская обл., Нижневартовск, ул. Северная, 8-6, строение 1 |
проверка и регулировка, ремонт |
Нижний Новгород |
ФГУ «Нижегородский ЦСМ» |
(831) 218-57-93, 218-57-48 ncsmnnov@sinn.ru |
603950, Нижний Новгород, Республиканская ул., д. 1 |
поверка |
Нижний Новгород |
ООО ПТП «Медтехника» |
(831) 415-56-46, факс 419-86- |
603005, Нижний Новгород, ул. Октябрьская, 23-в, офис 3 |
проверка и регулировка, ремонт |
Нижний Новгород |
ООО «Торговофинансовая Компания «Медтехника» |
(831) 240-30-91, 245-77-09, 245-77-08, 245-77-06 tfkmed@mail.ru |
603011, Нижний Новгород, ул. Анатолия Григорьева 16 |
проверка и регулировка, ремонт |
Нижний Новгород |
ООО «ЭКАРС» |
(831) 277-98-86, 246-44-00, 277-68-00 prib ог@ pisem.net |
603002, Нижний Новгород, ул. Коммунистическая, 41 |
поверка проверка и регулировка, ремонт |
Нижний Тагил |
ООО «Медтехника НТ» |
(3435) 31-21-32, т.Ф.31-21-36 h tip ://med technika-n t. ru ims-nt@mail.ru |
622002, Свердловская область, Нижний Тагил, Липовый Тракт, д. 13 |
поверка, проверка и регулировка, ремонт |
Нижний Тагил |
ООО «Центр медицинской техники» |
(3435) 49-56-14, 46-57-86, |
622035, Свердловская область, Нижний Тагил, ул. Тимирязева, д. 87 |
поверка, проверка и регулировка, ремонт |
Новокузнецк |
ООО «Мединфо» |
(3843) 46-36-99 |
Новокузнецк, ул. Авиаторов, д. 73 пом. 16. |
проверка и регулировка |
Новокузнецк |
ФГУ «Новокузнецкий филиал Кемеровского ЦСМ» |
(3843) 37-25-64, 36-05-70 |
Новокузнецк, Народная ул. д. 49 |
поверка, проверка и регулировка, ремонт |
Новороссийск |
Прибор-сервис |
(8617) 61-55-40 доп.100, 61- 55-40 |
353900, Новороссийск, ул. Революции 1905г.,14 |
ремонт |
Новороссийск |
ФГУ «Новороссийский ЦСМ» |
(8617) 64-81-67, 64-81-66, 64-86-06 |
353900, Новороссийск, ул. Революции 1905г.,14 |
поверка, проверка и регулировка |
Новосибирск |
ООО «МЕТРОН» |
(383) 333-33-35, 33-20-100, 332-10-48, 332-10-49 metron@nqs.ru |
630128, Новосибирск, ул. Демакова, 30 |
ремонт |
Новосибирск |
ЗАО «МЕРА» |
(383) 230-30-01, 230-30-02, факс 230-30-55 meransk@rambler.ru www.sibmera.ru |
630112, Новосибирск, а/я 530, ул. Державина, 73, оф. 8 |
поверка, проверка и регулировка, ремонт |
Норильск |
ФГУ «Таймырский ЦСМ» (филиал Красноярского ЦСМ) |
(3919) 34-04-63, 34-31-16, 46-74-99 |
Красноярский край, г. Норильск, ул.Лауреатов, д. 76 |
поверка, проверка и регулировка |
Омск |
ФГУ «Омский ЦСМ» |
(3812) 68-07-99,т.ф. 68-04-07 info@ocsm.omsk.ru http://csm.omsk.ru |
644116, Омск, ул. 24 Северная, д. 117А |
поверка, проверка и регулировка, ремонт |
Оренбург |
ГУП ОПТФ "Медтехника" |
(3532) 52-15-65, 52-15-66, 56-45-97, 56-45-98 |
Оренбург, ул. Минская, Д.2 |
поверка, проверка и регулировка |
Пермь |
ФГУ «Пермский ЦСМ» |
(342) 236-23-46 (факс), 236- 31-00. 236-07-19, 236-04-85 pcsm@permcsm.ru www.pcsm.perm.ru |
614068, г.Пермь, ул.Борчанинова, 85 |
поверка, проверка и регулировка, ремонт |
Пермь |
Медицинский центр «Предрейсовый осмотр» |
(342) 210-87-99, 210-99-01 |
Г. Пермь. Ул. Пушкина д. 27 |
поверка проверка и регулировка, ремонт |
Пермь |
ООО «УРАЛ-ТЕСТ» |
(342) 218-22-42, 218-22-43 |
614000, Пермь, Главпочтамт а/я 2676, ул. Кирова, д.8, офф. 1 |
поверка, проверка и регулировка, ремонт |
Петрозаводск |
ФГУ «Карельский ЦСМ» |
(8142) 577112, факс 57-71-01, 56-22-50, metr@onego.ru |
185005, Петрозаводск, ул. Володарского, 5 |
поверка, проверка и регулировка |
Петропавловск-Камчатский |
ФГУ «Камчатский ЦСМ» |
(4152) 23-23-91, 23-31-06, 23- 30-01, факс 23-2391, 23-31-06 |
683024, Петропавловск-Камчатский, ул. Тельмана, 42/3 |
поверка, проверка и регулировка, ремонт |
Псков |
ФГУ «Псковский ЦСМ» |
(8112) 66-80-24, 66-85-21 pskcsm@ellink.ru |
180000, Псков, ул. Крас ных Просвещенцев, 3 |
поверка, проверка и регулировка |
Псков |
ООО «Псковский ЦСМ» |
(8112) 75-25-23, 66-31-02 |
180006, Псков, Советская набережная, д. 10 |
проверка и регулировка, ремонт |
Ростов-на-Дону |
ФГУ «Ростовский ЦСМ» |
/863) 290-44-43, 264-41-77. andrey fomin@mail.ru |
344010, Ростов-на-Дону, пр-т Соколова, дом 58 |
поверка, проверка и регулировка, |
Ростов-на-Дону |
ООО «Центр метрологии и технического регулирования» |
/863) 200-83-92, 264-41-77. andrey_fomin@mail.ru |
344010, Ростов-на-Дону, пр-т Соколова, дом 59 |
ремонт |
Рязань |
ФГУ «Рязанский ЦСМ» |
(4912) 44-55-84, 27-47-79 asu@rcsm.ryazan.ru |
390011, Рязань, Старообрядческий пр., д. 5 |
поверка, проверка и регулировка, ремонт |
Самара |
ОАО «Медтехника» |
(846) 242-80-31, 242-79-31, (факс) 242-79-38 т is erv@ samaramail.ru |
Самара, ул. Садовая, д. 156 |
поверка, проверка и регулировка, ремонт |
Самара |
ООО «МЕТА-АВТОТЕСТ» |
(846) 932-49-77, 932-49-78 meta-avtotest@sama. ru |
443016, Самара, ул. Матросова, 153, оф. 217 |
поверка, проверка и регулировка, ремонт |
Санкт-Петербург |
ООО «Синтез СПб» |
(812) 456-22-96 http://www.alcotest. ru/ support/reg.htm |
Прием приборов на обслуживание: 199178, Санкт-Петербург, наб. р. Смоленки, д. 5-7. |
поверка, проверка и регулировка, ремонт, гарантийное обслуживание |
Саранск |
ФГУ «Мордовский ЦСМ» |
(8342) 35-72-06 |
430027, Саранск, ул. А. Невского, д. 64 |
поверка, проверка и регулировка, ремонт |
Саратов |
ФГУ «Саратовский ЦСМ» |
(8452) 63-26-77, 63-26-09, (факс) 63-24-26 mera@renet.ru |
Саратов, Тверская ул., д. 51-а |
поверка |
Саратов |
ООО "РСИ и К" |
(8452) 35-00-53 rciko@ra mb ler. ru |
410065, Саратов, ул. Тверская, 53 |
ремонт |
Сергиев Посад |
Сергиево-Посадский филиал ФГУ «Менделеевский ЦСМ» |
(496) 540-43-45, 547-70-99; (495) 995-19-87, 995-19-89 sergposcsm@mail.ru chumerina@spmcsm.ru |
141300, Московская обл., Сергиев Посад, пр-т Красной Армии, 212, кор. 4 |
поверка, проверка и регулировка, ремонт |
Смоленск |
ООО «Пульсар» |
(4812) 27-05-48, факс 21-88- 95, 8-910-786-0293 |
214000, Смоленск, ул. Б. Краснофлотская 11 |
поверка, корректировка показаний, ремонт |
Ставрополь |
ФГУ «Ставропольский ЦСМ» |
(8652) 95-61-94, 35-21-77, 35-28-73 |
355029, Ставрополь, ул. Доваторцев, 7а |
поверка |
Сыктывкар |
ФГУ "Коми ЦСМ" |
(8212) 24-30-03, т.ф. 44-27-60 mail@comicsm.ru www. komi. com/csm |
167982, г.Сыктывкар, ГСП-2, Октябрьский проспект, 27 |
поверка, проверка и регулировка |
Тамбов |
ООО «ТамбовМедик» |
(4752) 58-36-21, 52-63-14, факс 52-63-18 mt@hopetmb.ru tambovmedik@mail.ru 89108502850@mail.ru |
392003, г. Тамбов, ул. Рылеева, 53 ул. Магистральная, 10 |
проверка и регулировка, ремонт |
Томск |
ООО «Медэлектроника» |
(3822) 52-64-60, 52-67-59, 8- 903-913-55-41 |
634029, г. Томск, ул. Белинского, д. 15, оф. 905 |
проверка и регулировка, ремонт |
Томск |
ФГУ «Томский ЦСМ» |
(3822) 55-44-86, т.ф.56-19-61, 55-36-76 to msk@tcs ms. to ms k. r u |
634012, Томск, ул. Косарева, д.17а |
поверка, проверка и регулировка, ремонт |
Тула |
ФГУ «Тульский ЦСМ» |
(4872) 24-70-17 teplo@tulacsm.ru |
Тула, ул. Болдина, д. 91 |
поверка |
Тюмень |
ФГУ «Тюменский ЦСМ» |
(3452) 20-50-58 |
625027, Тюмень, Минская ул. д. 88 |
поверка |
Тюмень |
ЗАО «Деозал» |
(3452) 59-10-01 mas ter@ d eoza 1. г и h ttp ://w ww.d eoza 1. ru |
Тюмень, ул. 9 Января, д. 124 |
проверка и регулировка, ремонт |
Тюмень |
ООО «Мера» |
(3452) 200-900, 200-909, 200-003, mera@tyumen.ru |
625027, Тюмень, ул. Минская, д. 53/3 |
проверка и регулировка, ремонт |
Улан-Удэ, |
ФГУ «Бурятский ЦСМ» |
(3012) 41-40-54, 41-06-44, (факс) 41-26-38 |
670013, Бурятия, г. Улан- Удэ, ул. Ключевская,72 б |
поверка |
Уфа |
ЦСМ республики Башкортостан |
(3472) 76-72-96, 76-74-10 |
Уфа, бульвар Ибрагимова, д. 55/59 |
поверка |
Уфа |
Малое предприятие средств измерений |
(3472) 76-78-60, 76-72-81 mp si@mail.ru |
Уфа, бульвар Ибрагимова, д. 55/60 |
ремонт |
Ухта |
ООО «Электротехмаш» |
(82147)59-464, 89129468-517 eltm@nm.ru |
169300, Республика Коми, г. Ухта, ул. Печорская 57, строение 5 |
ремонт |
Хабаровск |
ФГУ «Хабаровский ЦСМ» |
(4212) 30-18-54, 32-92-62, 70-40-63 khcsm@mail.redcom.ru www. khcsm. marketcenter.ru |
680000, Хабаровск, ул.К.Маркса, 65 |
поверка |
Хабаровск |
ОАО «Торговый дом «Медтехника» |
(4212) 21-99-99, 22-35-13 medtech@mail.khv.ru |
680030, г. Хабаровск, пер. Облачный, 78а |
проверка и регулировка, ремонт |
Челябинск |
ОГУП «Медтехника» |
(351) 260-89-03, 232-79-52 |
Челябинск, Медгородок, Варненская ул. д. 6-а |
поверка, проверка и регулировка, ремонт |
Челябинск |
ФГУ «Челябинский ЦСМ» |
(351) 232-02-92,т.ф.232-04-01 stand@chel.surnet.ru www.chelcsm.r |
454048, Челябинск, ул. Энгелься, 101 |
поверка, проверка и регулировка, ремонт |
Ярославль |
ЗАО «Магистрань-Контроль» |
(4852) 73-69-83, 58-01-78 |
150044, Ярославль, пр. Октября, 87, оф. 408 |
проверка и регулировка, ремонт |
Список сервисных центров периодически обновляется на страничке сайта www.alcotest.ru в закладке “сервис в регионах”.
Для оказания услуг по техническому обслуживанию анализаторов организация должна иметь все необходимые разрешительные документы в соответствии с действующим законодательством Российской Федерации.
Для выполнения работ по поверке - аттестат аккредитации на право поверки средств измерений, область аккредитации должна распространяться на газоанализаторы для определения паров этанола в выдыхаемом воздухе.
Обращаясь в данные организации для оказания услуг по техническому обслуживанию, ремонту, поверке - спрашивайте о наличии вышеуказанных разрешительных документов.

Срок действия до 11 ноября 2015 г.
РЕГИСТРАЦИОННЫЙ № 46002-10
ИНТЕРВАЛ МЕЖДУ ПОВЕРКАМИ 1 год
В.Н.Крутиков
Серия СИ
Заместитель Руководителя Федерального аген тства
ДОКУМЕНТНА ПОВЕРКУ
МП-242-1063-2010
ИЗГОТОВИТЕЛЬ
Фирма "Shenzhen Well Electric Со., Ltd.", Китай
ФЕДЕРАЛЬНОЕ АГЕНТСТВО
ПО ТЕХНИЧЕСКОМУ РЕГУЛИРОВАНИЮ И МЕТРОЛОГИИ
НАИМЕНОВАНИЕ ТИПА СРЕДСТВ ИЗМЕРЕНИЙ
Анализаторы паров этанола в выдыхаемом воздухе исполнения АЛКОТЕКТОР PRO-ЮО touch, АЛКОТЕКТОР PRO-ЮО touch-K
Описание тина средств к настоящему свидетельству.
Тип средств измерений утвержден приказом Федерального агентства по техническому регулированию и метрологии от 11 ноября 2010 г. № 4522
J i
№ 000004
I
СВИДЕТЕЛЬСТВО
об утверждении типа средств измерений
дяется обязательным приложением
Ж,
СИСТЕМА СЕРТИФИКАЦИИ ГОСТ Р
ФЕДЕРАЛЬНОЕ АГЕНТСТВО ПО ТЕХНИЧЕСКОМУ РЕГУЛИРОВАНИЮ И МЕТРОЛОГИИ

СЕРТИФИКАТ СООТВЕТСТВИЯ
N°
РОСС CN.HM24.B04738
Срок действия с
15.09.2010
№>69947
ОРГАН ПО СЕРТИФИКАЦИИ
№ РОСС RU.0001.1114M24
ООО '‘ЦЕНТР СЕРТИФИКАЦИИ И ДЕКЛАРИРОВАНИЯ",
125040, г.Москва, Беговая аллея д.З, тел/факс (495) 783-42-17, факс (495) 945-64-85
ПРОДУКЦИЯ
Анализатор паров этанола в выдыхаемом воздухе "АЛКОТЕКТОР" с принадлежностями (см. Приложение на 1 листе)
Серийный выпуск
СООТВЕТСТВУЕТ ТРЕБОВАНИЯМ НОРМАТИВНЫХ ДОКУМЕНТОВ
ГОСТ Р 50444-92 (р.З, 4), ГОСТ Р 50267.0-92 (МЭИ 601-1-88),
ГОСТ Р 50267.0.2-2005 (МЭК 60601-1-2-2001), ГОСТ Р ИСО 10993.1-2009,
ГОСТ Р ИСО 10993.5-99, ГОСТ Р ИСО 10993.10-99
КодОКООЗ(ОКП):
94 4160
код TH ВЭД России:
9027 10 100 0
ИЗГОТОВИТЕЛЬ
"Шэньчжэнь Велл Электрик Кампани Лтд.", Китай, Shenzhen Well Electric Со., Ltd., North Wing, 4/F, Building 9, Tian Jian Industrial Zone, Shang Bao Road, Fu Tian, Shenzhen, China
СЕРТИФИКАТ ВЫДАН
"Шэньчжэнь Велл Электрик Кампани Лтд,", Китай, Shenzhen Well Electric Co.Ltd., North Wing, 4/F, Building 9, Tian Jian Industrial Zone, Shang Bao Road, Fu Tian, Shenzhen, China, телефон: 86 755 831 S0733. факс 86 755 831 60467
НА ОСНОВАНИИ
протокола технических испытаний № 0385-1-10 от 16.04,2010 ИЛ ФГУП "НПП "Циклон-Тест", per. № РОСС RU.0001.21МО46; протокола испытаний № 0385-2-10 от 16.04.2010 ИЛ ФГУП "НПП "Циклон-Тест", per. № РОСС К11.0001.21МЭ16; заключения токсикологических испытаний №2592.010 от 26.02.2010 ФГУ "НИ14ФХМ" ФМБА России, per. № РОСС RU.0001.21HM33.
Регистрационное удостоверение Федеральной службы по надзору в сфере здравоохранения и социального развития № ФСЗ 2010/07763 от 08.09.2010
ДОПОЛНИТЕЛЬНАЯ ИНФОРМАЦИЯ

органа

С.В. Халимоненко инициалы, фамилия
М.Ю. Василенко инициалы, фамилия
юридическую
на всей территории Российской Федерации
Бш»имогмядаЗИЧИШИОН' миц₽ол»Н101М64»ЛХПФНе№тоо1»»В|ПЖ |«45>ШШКШ7в,7. г Мое>м SUbit
СИСТЕМА СЕРТИФИКАЦИИ ГОСТ Р
ФЕДЕРАЛЬНОЕ АГЕНТСТВО ПО ТЕХНИЧЕСКОМУ РЕГУЛИРОВАНИЮ И МЕТРОЛОГИИ
№ 0298838
ПРИЛОЖЕНИЕ
К сертификату соответствия №
РОСС CN.HM24.B04738
Перечень конкретной продукции, на которую распространяется действие сертификата соответствия
код ОК 005 (ОКП)
Обозначение документации, по которой выпускается продукция
____4 Наименование и обозначение продукции, ее изготовитель код TH ВЭД России
94 41 б9 I. Анализатор ларов этанола в выдыхаемом воздухе Нормативная документация изготовителя
9027 10 100 0 "АЛКОТЕКТОР’' варианты исполнения:
-
1. PRO-100 touch, состав:
-
1.1. Прибор PRO-100 touch;
-
1.2. Кожаный чехол;
-
1.3. Кейс;
-
1.4. Зарядное устройство;
-
1.5. Адаптер питания от бортовой сети;
-
1.6. Адаптер питания от сети 220 В;
-
1.7. Аккумуляторный Li-ion блок- 2 шт.;
-
1.8. Рулоны термобумаги - 6 шт.;
-
1.9. Индивидуальные мундштуки -105 шт.;
-
1.10. Мундштук-воронка;
-
1.11. Кабель связи с компьютером.
-
-
2. PRO-100 touch-K, состав;
-
2.1. Прибор PRO-100 touch-K;
-
2.2. Кожаный чехол;
-
2.3. Кейс;
-
2.4. Адаптер питания от бортовой сети;
-
2.5. Адаптер питания от сети 220 В;
-
2.6. Аккумуляторный Li-ion блок-1 шт.;
-
2.7. Рулоны термобумаги - 6 шт.;
-
2.8. Индивидуальные мундштуки -105 шт.;
-
2.9. Мундштук-воронка;
-
2.10. Кабель связи с компьютером.
-
-
3. Alcozamok, состав;
-
3.1. Прибор Alcozamok;
-
3.2. Индивидуальные мундштуки - 5 шт.;
-
3.3. Кабель связи прибор - блок управления.
-
II. Принадлежности:
-
1. Индивидуальные мундштуки от 1 до 1100 шт.;
-
2. Мундштук-воронка от 1 до 20 шт.;
-
3. Аккумуляторный Li-ion блок от 1 до 5 шт.;
-
4. Блок управления от 1 до 3 шт.;
-
5. Кабель питания от 1 до 3 шт.;
-
6. Кабель сигнализации от 1 до Зшт.;
-
7. Зарядное устройство от 1 до 3 шт.
Организация-изготовитель:
"Шэньчжэнь Велл Электрик Кампани Лтд.", Китай, Shenzhen Well Electric Со., Ltd., North Wing, 4/F, Building 9, Tian Jian Industrial Zone, Shang Bao Road, Fu Tian, Shenzhen, China


М.Ю. Batn.iiBKo

ФЕДЕРАЛЬНАЯ СЛУЖБА ПО НАДЗОРУ В СФЕРЕ ЗДРАВООХРАНЕНИЯ И СОЦИАЛЬНОГО РАЗВИТИЯ
FEDERAL SERVICE OF HEALTH CARE AND SOCIAL DEVELOPMENT CONTROL
РЕГИСТРАЦИОННОЕ УДОСТОВЕРЕНИЕ REGISTRATION CERTIFICATE
№ ФСЗ 2010/07763
ОКП 94 4160
соответствующее комплекту регистрационной документации
КРД №39819 от 25.06.2010
приказом Росздравнадзора от 08 сентября 2010 года №9238-Пр/10
Е.А. Тельнова
010202
Настоящее удостоверение выдано
ООО "АЛКОТЕКТОР’', Россия,
191144, г. Санкт-Петербург, ул. Моисеенко, д. 43
и подтверждает, что изделие медицинского назначения (изделие медицинской техники)
Анализатор паров этанола в выдыхаемом воздухе ’’АЛКОТЕКТОР" с принадлежностями (см. Приложение на 1 листе) производства
"Шэньчжэнь Велл Электрик Кампани Лтд.", Китай,
Shenzhen Well Electric Со., Ltd., North Wing, 4/F, Building 9, Tian Jian Industrial Zone, Shang Bao Road, Fu Tian, Shenzhen, China класс потенциального риска 2a
разрешено к импорту, продаже и применению на территории Российской Федерации
Врио руководителя Федеральной службы по надзору в сфере здравоохранения и социального развития ,
от 08 сентября 2010 года
Срок действия: не ограничен.
Лист 1

Е.А. Тельнова
012223
I. Анализатор паров этанола в выдыхаемом воздухе "АЛКОТЕКТОР" варианты исполнения:
-
1. PRO-100 touch, состав:
-
1.1. Прибор PRO-100 touch.
-
1.2. Кожаный чехол.
-
1.3. Кейс.
-
1.4. Зарядное устройство.
-
1.5. Адаптер питания от бортовой сети.
-
1.6. Адаптер питания от сети 220 В.
-
1.7. Аккумуляторный Li-ion блок- 2 шт.
-
1.8. Рулоны термобумаги - 6 шт.
-
1.9. Индивидуальные мундштуки - 105 шт.
-
1.10. Мундштук-воронка.
-
1.11. Кабель связи с компьютером.
-
-
2. PRO-100 touch-K, состав:
-
2.1. Прибор PRO-100 touch-K.
-
2.2. Кожаный чехол.
-
2.3. Кейс.
-
2.4. Адаптер питания от бортовой сети.
-
2.5. Адаптер питания от сети 220 В.
-
2.6. Аккумуляторный Li-ion блок - 1 шт.
-
2.7. Рулоны термобумаги - 6 шт.
-
2.8. Индивидуальные мундштуки - 105 шт.
-
2.9. Мундштук-воронка.
-
2.10. Кабель связи с компьютером.
-
-
3. Alcozamok, состав:
-
3.1. Прибор Alcozamok.
-
3.2. Индивидуальные мундштуки - 5 шт.
-
3.3. Кабель связи прибор - блок управления.
-
II. Принадлежности:
-
1. Индивидуальные мундштуки от 1 до 1100 шт.
-
2. Мундштук-воронка от 1 до 20 шт.
-
3. Аккумуляторный Li-ion блок от 1 до 5 шт.
-
4. Блок управления от 1 до 3 шт.
-
5. Кабель питания от 1 до 3 шт.
-
6. Кабель сигнализации от 1 до 3 шт.
-
7. Зарядное устройство от 1 до 3 шт.
i
Врио руководителя Федеральной службы
по над тору в сфере здравоохранения
и социального развития
08 сентября 2010 года
ФЕДЕРАЛЬНАЯ СЛУЖБА ПО НАДЗОРУ В СФЕРЕ ЗДРАВООХРАНЕНИЯ И СОЦИАЛЬНОГО РАЗВИТИЯ
FEDERAL SERVICE OF HEALTH CARE AND SOCIAL DEVELOPMENT CONTROL
ПРИЛОЖЕНИЕ
К РЕГИСТРАЦИОННОМУ УДОСТОВЕРЕНИЮ
ATTACHMENT
№ ФСЗ 2010/07763
72

Анализаторы паров этанола в выдыхаемом воздухе исполнения АЛКОТЕКТОР PRO-100 touch, АЛКОТЕКТОР PRO-ЮО touch-K
МЕТОДИКА ПОВЕРКИ
МП-242-1063-2010
Руководитель научно-исследовательского отдела госэталонов в области
физико-химических измерений
ГЦИ СИ ФГУП «8НИИМ им Д.И. Менделеева»

Л.А. Конопельке
О, В. Фатина
Санкт-Петербург
2010
Настоящая методика поверки распространяется на анализаторы паров этанола в выдыхаемом воздухе исполнения АЛКОТЕКТОР PRO-100 touch, АЛКОТЕКТОР PRO-100 touch-K (далее - анализаторы), предназначенные для экспрессного измерения массовой концентрации паров этанола в отобранной пробе выдыхаемого воздуха, и устанавливает методику первичной поверки (при ввозе в Россию и выпуске после ремонта) и периодической поверки в процессе эксплуатации.
Межповерочный интервал - 1 год.
-
1 ОПЕРАЦИИ ПОВЕРКИ
1.1 При проведении поверки выполняют операции, указанные в таблице 1. Таблица 1
Наименование операции |
Номер пункта методики поверки |
Внешний осмотр |
6.1 |
Опробование |
6.2 |
Определение метрологических характеристик |
6.3 |
-
1.2 Если при проведении той или иной операции поверки получен отрицательный результат, дальнейшую поверку прекращают.
-
2 СРЕДСТВА ПОВЕРКИ
2.1 При проведении поверки применяют средства, указанные в таблице 2. Таблица 2
Номер пункта методики поверки |
Наименование и тип основного или вспомогательного средства поверки; обозначение нормативного документа, регламентирующего технические требования и (или) метрологические (MX) и основные технические характеристики средства поверки |
6 |
Барометр-анероид М-67 по ТУ 2504-1797-75. Цена деления: 1 мм рт. ст. |
Психрометр аспирационный М-34-М по ГРПИ 405132.001 ТУ. Диапазон измерений от 10 % до 100 %. | |
Термометр лабораторный ТЛ4 по ГОСТ 28498. Диапазон измерений от 0 °C до 50 °C. Цена деления: 0,1 °C. | |
6.3.2 |
Генератор газовых смесей паров этанола в воздухе GUTH модель 10-4D (№40633-09 по Госреестру СИ РФ) в комплекте с ГСО состава водных растворов этанола ВРЭ-2 (ГСО 8789-2006) (MX приведены в таблице Б.1 приложения Б).Пределы допускаемой относительной погрешности: ± 5 %. |
Воздух в баллоне под давлением по ТУ 6-21-5-82. | |
6.3.3 |
ГСО-ПГС 1-го разряда состава C2H5OH/N2 в баллонах под давлением по ТУ 6-16-2956-92 (ГСО 8364-2003, ГСО 8366-2003) (MX приведены в таблице Б.1 приложения Б). Пределы допускаемой относительной погрешности: ± 2 %. |
6.3 |
Ротаметр РМ-1 ГУЗ по ГОСТ 13045. Верхний предел измерений: 1,0 м7ч. |
Вентиль точной регулировки по ТУ 5Л4.463.003-02. | |
Трубка поливинилхлоридная (ПВХ) 6x1,5 мм по ТУ 64-2-286-79. | |
Примечание - При проведении поверки применяют средства в соответствии с выбранным методом поверки и типом основного средства поверки (6.3.2, 6.3.3). |
-
2.2 Допускается применение других средств поверки, тип которых утвержден и внесен в Государственный реестр средств измерений РФ, метрологические характеристики и статус которых соответствует требованиям ГОСТ 8.578, МИ 2590, ТУ 6-16-2956-92 и не хуже указанных в таблице 2.
-
2.3 Все средства измерений, применяемые при поверке, должны иметь действующие свидетельства о поверке, ГСО состава водных растворов этанола и ГСО-ПГС в баллонах под давлением - действующие паспорта.
-
3 ТРЕБОВАНИЯ БЕЗОПАСНОСТИ
При проведении поверки соблюдают следующие требования безопасности:
-
3.1 Помещение, в котором проводят поверку, оборудовано приточно-вытяжной вентиляцией.
-
3.2 Концентрации вредных компонентов в воздухе рабочей зоны соответствуют требованиям ГОСТ 12.1.005.
-
3.3 При работе с газовыми смесями в баллонах под давлением соблюдают «Правила устройства и безопасной эксплуатации сосудов, работающих под давлением», утвержденные Госгортехнадзором.
-
4 УСЛОВИЯ ПОВЕРКИ
-
4.1 При проведении поверки соблюдают следующие условия:
-
- диапазон температуры окружающего воздуха, °C:
а) при применении генератора газовых смесей паров этанола в воздухе GUTH модель 10-4D (далее - генератора): от 20 до 25;
б) при применении ГСО-ПГС в баллонах под давлением: от 15 до 25;
-
- диапазон относительной влажности окружающего воздуха, %: от 30 до 80;
-
- диапазон атмосферного давления, кПа: от 90,6 до 104,8;
-
- массовая концентрация этанола в окружающем воздухе, мг/м3: не более 10.
-
4.2 При применении ГСО состава водных растворов этанола соблюдают следующие условия:
-
- бутыль с раствором вскрывается непосредственно перед использованием;
-
- раствор используется для однократной заливки в генератор;
-
- раствор подлежит замене при превышении максимального количества поверяемых анализаторов (6.3.2.4) или при нахождении в генераторе более 6 часов;
-
- после использования раствор хранению и повторному использованию не подлежит.
-
5 ПОДГОТОВКА К ПОВЕРКЕ
Перед проведением поверки выполняют следующие подготовительные работы:
-
- подготавливают анализатор к работе в соответствии с требованиями Руководства по эксплуатации (далее - РЭ);
-
- подготавливают к работе средства поверки в соответствии с требованиями их эксплуатационной документации;
-
- проверяют наличие паспортов и сроков годности ГСО состава водных растворов этанола и ГСО-ПГС в баллонах под давлением;
-
- проверяют наличие и целостность защитных этикеток на бутылях с ГСО состава водных растворов этанола;
-
- баллоны с газовыми смесями выдерживают в помещении, в котором проводят поверку, не менее 24 ч, поверяемый анализатор - не менее 2 ч;
-
- в течение 6 часов перед проведением поверки с использованием ГСО-ПГС в баллонах под давлением не подают на поверяемый анализатор пробы выдыхаемого воздуха или газовой смеси от генератора.
-
6 ПРОВЕДЕНИЕ ПОВЕРКИ
-
6.1 Внешний осмотр
При внешнем осмотре устанавливают соответствие анализатора следующим требованиям:
-
- отсутствие внешних повреждений, влияющих на работоспособность;
-
- исправность органов управления;
-
- маркировка, соответствующая требованиям РЭ;
-
- четкость надписей на панелях.
Результаты внешнего осмотра считают положительными, если анализатор соответствует перечисленным требованиям.
-
6.2 Опробование
-
6.2.1 Проверку общего функционирования анализатора проводят в процессе автотестирования при включении:
-
- нажимают на кнопку включения/выключения анализатора, удерживая ее до звукового сигнала (1-2 с);
-
- убеждаются, что звучит одиночный сигнал, и идентифицируется программное обеспечение анализатора на экране в виде версии «RU V1.27».
Результаты проверки общего функционирования считают положительными, если все технические тесты анализатора завершены успешно.
-
6.2.2 Проверку нулевых показаний анализатора выполняют по схеме:
-
- включают анализатор согласно РЭ;
-
- выбирают «режим измерения без ввода данных» согласно РЭ и нажимают кнопку «СТАРТ» для перехода в режим готовности к отбору пробы;
-
- выполняют отбор пробы атмосферного воздуха в режиме ручного отбора пробы путем нажатия на кнопку «РУЧНОЙ ЗАБОР»;
-
- регистрируют показание анализатора.
Результаты проверки нулевых показаний анализатора считают положительными, если на экране анализатора появились нулевые показания в виде надписи «0,000 мг/л».
-
6.3 Определение метрологических характеристик
-
6.3.1 Определение основной погрешности проводят путем поочередной подачи на анализатор газовых смесей (ГС) в последовательности №№ 1-2-3 (таблица Б.1 приложения Б) и регистрации показаний анализатора.
Метрологические характеристики анализатора приведены в таблице А.1 приложения А.
-
6.3.2 Определение метрологических характеристик анализатора с помощью генератора газовых смесей паров этанола в воздухе GUTH модель 10-4D
Выполнение измерений при подаче на анализатор ГС № 1 проводят в следующем порядке:
-
6.3.2.1 Собирают газовую систему, схема которой изображена на рисунке 1.
Генератор располагают так, чтобы на него не падали прямые солнечные лучи и вблизи отсутствовали источники охлаждения или нагрева. Длина трубки выхода газовой смеси генератора: не более 5 см. Необходимо убедиться в отсутствии влаги и конденсата на внутренней поверхности генератора, соединительных трубок и мундштуков. При наличии влаги или конденсата просушить все элементы генератора.

-
1 - баллон с воздухом; 2 - вентиль; 3 - ротаметр; 4 - генератор;
5 - мундштук из комплекта анализатора; 6 - анализатор
Рисунок 1 - Схема газовой системы при подаче на анализатор ГС от генератора
-
6.3.2.2 В соответствии с РЭ генератора приготавливают ГС № 1, используя соответствующий ГСО состава водного раствора этанола (таблица Б.1 приложения Б).
После прогрева генератора необходимо убедиться, что генератор готов к работе в соответствии с требованиями его РЭ.
-
6.3.2.3 Рассчитывают действительное значение массовой концентрации этанола в
ГС на выходе генератора СдС , мг/л, по формуле Сдс =0,3 8866- сра,
О)
где cf - аттестованное значение массовой концентрации этанола в используемом ГСО состава водного раствора этанола, указанное в паспорте, мг/см3.
-
6.3.2.4 При выполнении измерений регистрируют количество анализаторов, поверенных с помощью генератора без замены ГСО состава водного раствора этанола.
Максимальное количество поверяемых анализаторов с помощью генератора газовых смесей паров этанола в воздухе GUTH модель 10-4D: 10.
Примечание - При проведении поверки с помощью генераторов паров этанола в воздухе других типов максимальное количество поверяемых анализаторов рассчитывают с учетом максимального количества генерируемых проб газовой смеси без замены водного раствора этанола, указанного в описании типа генератора.
При превышении максимального количества анализаторов выполняют замену ГСО состава водного раствора этанола в генераторе и повторяют 6.3.2.2, 6.3.2.3.
-
6.3.2.5 Проводят три цикла измерений по схеме:
-
- включают анализатор согласно РЭ;
-
- выбирают «режим измерения без ввода данных» согласно РЭ и нажимают кнопку «СТАРТ» для перехода в режим готовности к отбору пробы;
-
- при отсоединенном анализаторе открывают баллон с воздухом и с помощью вентиля точной регулировки, контролируя по ротаметру, устанавливают расход ГС на выходе генератора от 6 до 7 дм3/мин;
-
- подсоединяют анализатор и подают ГС с выхода генератора на анализатор;
-
- через 3-4 с выполняют отбор пробы ГС в режиме ручного отбора пробы путем нажатия на кнопку «РУЧНОЙ ЗАБОР»;
-
- через 1 с после щелчка (отбор пробы) отсоединяют анализатор и закрывают вентиль на баллоне;
-
- регистрируют показание анализатора С. , мг/л;
-
- соблюдают интервал между циклами измерений: не менее 10 с.
-
6.3.2.6 Повторяют измерения согласно 6.3.2.2 - 6.3.2.5 для ГС № 2 и ГС № 3.
6.3.3 Определение метрологических характеристик анализатора с помощью ГСО-ПГС в баллонах под давлением
Выполнение измерений при подаче на анализатор ГС № 1 проводят в следующем порядке:
-
6.3.3.1 Проводят три цикла измерений по схеме:
-
- включают анализатор согласно РЭ;
-
- выбирают режим «проверки по сухому газу» согласно РЭ;
-
- при отсоединенном анализаторе открывают баллон с ГСО-ПГС и с помощью вентиля точной регулировки, контролируя по ротаметру, устанавливают расход ГС от 6 до 7 дм3/мин;
-
- отсоединяют ротаметр;
-
- подсоединяют анализатор (длина соединительной трубки: не более 10 см) и подают ГС на анализатор;
-
- через 3-4 с выполняют отбор пробы ГС в режиме «проверки по сухому газу» согласно РЭ;
-
- через 1 с после щелчка (отбор пробы) отсоединяют анализатор и закрывают вентиль на баллоне;
-
- регистрируют показание анализатора 77г, мг/л.
-
6.3.3.2 Рассчитывают измеренное значение массовой концентрации этанола в ГС С., мг/л, по формуле
101,3
р
(2)
где Р - атмосферное давление, измеренное с помощью барометра-анероида, кПа.
-
6.3.3.3 Повторяют измерения согласно 6.3.3.1,6.3.3.2 для ГС № 2 и ГС № 3.
-
7 ОБРАБОТКА РЕЗУЛЬТАТОВ ИЗМЕРЕНИЙ
-
7.1 По результатам измерений, полученным в каждой точке поверки по каждому циклу измерений, определяют основную абсолютную или относительную погрешность анализатора в зависимости оттого, какая погрешность нормирована для данной точки поверки.
-
7.1.1 Основную абсолютную погрешность Аосм , мг/л, рассчитывают по формуле
Аосм=сг-с;с, (3)
где С; - измеренное значение массовой концентрации этанола в ГС, мг/л;
дД'С
^-д/ -действительное значение массовой концентрации этанола в ГС, рассчитанное по формуле (1) при поверке с помощью генератора или указанное в паспорте при поверке с помощью ГСО-ПГС в баллонах под давлением, мг/л.
-
7.1.2 Основную относительную погрешность 3 , %, рассчитывают по формуле
•100.
(4)
-
7.2 Результаты поверки считают положительными, если максимальные значения погрешности анализатора в каждой точке поверки не превышают пределов допускаемой основной погрешности, указанных в таблице А.1 приложения А.
-
8 ОФОРМЛЕНИЕ РЕЗУЛЬТАТОВ ПОВЕРКИ
-
8.1 Составляют протокол поверки по форме в соответствии с приложением В.
-
8.2 При положительных результатах поверки анализатор признают годным к применению и выписывают на него свидетельство о поверке установленной формы согласно ПР 50.2.006 (форма оборотной стороны свидетельства о поверке в приложении Г).
-
8.3 При отрицательных результатах поверки анализатор не допускают к применению и выдают извещение о непригодности с указанием причин установленной формы согласно ПР 50.2.006.
ПРИЛОЖЕНИЕ А
(обязательное) Основные метрологические характеристики анализаторов
Таблица А.1 — Диапазон измерений и пределы допускаемой основной погрешности анализаторов
Диапазон измерений массовой концентрации этанола, мг/л |
Пределы допускаемой основной погрешности | |
абсолютной |
относительной | |
0 - 0,200 |
± 0,020 мг/л |
- |
св. 0,200-1,200 |
- |
±10% |
Примечания:
|
ПРИЛОЖЕНИЕ Б
(обязательное) Перечень и метрологические характеристики поверочных газовых смесей и водных растворов этанола, применяемых при поверке
Таблица Б.1
Номинальное значение массовой концентрации этанола в ГС, подаваемых на анализатор, пределы допускаемого отклонения, мг/л |
Номинальное значение массовой концентрации этанола в водных растворах этано-ла1), пределы допускаемого отклонения, мг/см3 |
Номинальное значение массовой концентрации этанола в ГСО-ПГС в баллонах2’, пределы допускаемого отклонения, мг/л | ||
ГС № 1 |
ГС №2 |
ГС №3 | ||
0,150±0,015 |
0,386±0,019 |
0,150±0,015 | ||
0,475±0,048 |
1,22±0,06 |
0,475±0,0483) | ||
0,850±0,085 |
2,19±0,11 |
0,850±0,085 | ||
При проведении поверки анализаторов с помощью генераторов газовых смесей паров этанола в воздухе используют ГСО состава водных растворов этанола ВРЭ-2 (ГСО 8789-2006. Границы относительной погрешности при Р=0,95: ± 1 %).
|
ПРИЛОЖЕНИЕ В (обязательное) Форма протокола поверки ПРОТОКОЛ ПОВЕРКИ
Дата выпуска
Условия поверки: температура окружающего воздуха
атмосферное давление_______________________________________ кПа;
относительная влажность_______________________________________%.
РЕЗУЛЬТАТЫ ПОВЕРКИ
-
1 Результаты внешнего осмотра .
-
2 Результаты опробования .
-
3 Результаты определения метрологических характеристик:
Диапазон измерений, мг/л
Пределы допускаемой основной погрешности
Действительное значение массовой концен-трации этанола в ГС, мг/л
Показания анализатора, мг/л
Максимальное значение погрешности, полученное при поверке
абсолютной
относительной
абсолютной
относительной
0 - 0,200
± 0,020 мг/л
-
св. 0,200 -
1,200
-
±10%
Примечание-В свидетельстве о поверке указывают максимальную по абсолютному значению основную погрешность анализатора, полученную при поверке в каждом диапазоне измерений.
-
4.1 Поверка проведена с помощью генератора газовых смесей паров этанола в воздухе
(указывают тип и заводской номер генератора) в комплекте с ГСО состава водных растворов этанола ВРЭ-2 (ГСО 8789-2006)____________
(указывают номера используемых образцов)
-
4.2 Поверка проведена с помощью ГСО-ПГС состава C2H5OH/N2 в баллонах под давлением
по ТУ 6-16-2956-92________________________________________________________________________.
(указывают номера ГСО-ПГС и баллонов)
5 Заключение
Поверитель___________________________________ _________________
подпись И. О. Фамилия
ПРИЛОЖЕНИЕ Г
(обязательное)
Форма оборотной стороны свидетельства о поверке
МЕТРОЛОГИЧЕСКИЕ ХАРАКТЕРИСТИКИ
Поверка проведена в соответствии с документом МП 242-1063-2010 «Анализаторы паров этанола в выдыхаемом воздухе исполнения АЛКОТЕКТОР PRO-100 touch, АЛКОТЕКТОР PRO-100 touch-K. Методика поверки», разработанным и утвержденным ГЦИ СИ ФГУП «ВНИИМ им. Д.И. Менделеева» 15 сентября 2010 г.
-
1 Результаты внешнего осмотра______________________________________________________.
-
2 Результаты опробования___________________________________________________________.
-
3 Результаты определения метрологических характеристик:
Диапазон измерений, мг/л
Пределы допускаемой основной погрешности
Максимальное значение основной погрешности, полученное при поверке
абсолютной
относительной
абсолютной
относительной
0 - 0,200
± 0,020 мг/л
-
св. 0,200-1,200
-
±10%
-
4.1 Поверка проведена с помощью генератора газовых смесей паров этанола в воздухе
(указывают тип и заводской номер генератора)
в комплекте с ГСО состава водных растворов этанола ВРЭ-2 (ГСО 8789-2006)____________
(указывают номера используемых образцов)
-
4.2 Поверка проведена с помощью ГСО-ПГС состава C2H5OH/N2 в баллонах под давлением
по ТУ 6-16-2956-92________________________________________________________________________.
(указывают номера ГСО-ПГС и баллонов)
5 Условия поверки: температура окружающего воздуха____________________________ °C;
атмосферное давление____________________________________ кПа;
относительная влажность____________________________________%.
Поверитель______________________________________ _________________________
подпись И. О. Фамилия
дата поверки
82