Методика поверки «Турбинные счетчики объема газа ТГC» (ТO 08904123)
Контрольный (
Всероссийский научно-исследовательский институт расходометрии
( ВНШ4Р )
■ СОГЛАСОаАНб‘\ Заместитель-директора ВНИИР по наукой работе
1 М. с. РИЛИРОВ
----г~" 1994 г.
Методика поверки
(раздел технического описания и инструкции по эксплуатации) ТО 06904123
■Г

Ппстомдая методика поворки распространяется на чурбиннио (2?счетч'лкн обтсьп^о-гснис-личэс-т-зсг газа ТГС (э дальнейшем - счетчики
ТГС), те:<условия C8904I23 ТУ и устанавлнзазт методику inc первич-
ной и пехэиодичзскоП поверок.
СчетчигЗ! ТГС предназначены для учета (^перчеекю: операциях) сбъею^-о- -и-&я’н.'3(ггза
(в тем миелз при ком-
неагрессивного, кеодно
' родного по зашсоставу природ1-{ого газа при
плавно пенящихся его
потоказо и рабочей температуре от ьпгкус 10 до плпс 65 ГУ г ч объе.мсг
могут пр1п;еняться для измерения (учета) •«e-jHP-iee-rS'i-®
воздуха, азота п другзо: одно-п шюгокошюненпшх неагрессивных газов с плотностью не менее 0,7 кг/ы^..
прю-^енсния счетчзпсов - в установках кои?.унхтьных и предприятий
состоит
5В
*.1
ЕХ
о
из узла тз’рбшс-гого преобразователя расхода отсчетного з’-стройства (счетной .головки)^ре-с составе счетноП головки- 1а^дУ‘^^пвт31 i-шпульс
ньй генерв.тор предназначен для его прюленетппз при проведении опс-
•fl «ч
1Я
г* •ч
рягргя позерки счетчика.
■ Счетчиг: допускает; его прюлецегаю во взрывоопасных помедетгаях всея классов и нару/злг: установкао^, з которых могут образовываться взрызоопас!гыа смеси паров п газоо с воздухом категории н ИЗ rpymj TI, Т2, ТЗ и Т4 по ГОСТ 12.1.0П-78.
Прт-гдип Де1'ств:-ш счстапса основан на взагслодейстзии крыльчатки ■(тутбинди) с потоком измзрле’лого газа, в результате которого крылй-со скоростью, np.Tfjo пропорциональной скорости(объ-
—
<•1
о
с;
чатка врадается
енпо’иу расходу) этого газа. Далее вращекне крильчатки через черзяч-
П5ТЭ передачу и пог}глтн}пэ ир'рту пор-здаотся бескопгактно на неханн-ческий редуктор и отсчетное устройство, показывающее сушларный объем газа, прошедшего через прибор за определенное время измере-
•с
Л .<7. |
Гб дг-гу.-д. |
17г. |
06904123 ТО
НИЯ.
Основные параметры счетчиков приведены в табл.Т
Таблица I
I.
2.
3.
5.
Наименование показателей
Номиналы
Наибольшие расходы, м®/ч
Наименьшие расхода, м^/ч
Основная допускаемая относительная погрешность, для расходов (20-100)% рмакс t
для расходов (10-20)% Qmhkc Номинальные -значения диаметров
200
400
800
10
80
20
40
100
150
условного прохода, мм Измеряемая среда
неагрессивный при-
очищенный
роддый газ по ГОСТ 51.166-83
воздух, азот , аргон и дру-
6.
7.
8.
Температура измеряемой среды, °C Рабочее давление, МПа (кгс/см^^ Температура окружакяцей среды,°C
гие инертные газы с ностью не менее 0,7
Ю до плюс
от
до
от
минус
1,6 (
минус
Тб )
Ю до плюс
плот-
кг/м®
65
50
-
2. ОПЕРАЦИИ ПОВЕРКИ
2Л. При проведении поверки должны быть выполнены следующие операции:
Т) визуальЕ1ый контроль (п.7.1 настоящей методики).
Ci
-
2) опробование (п.7.2 настоящей методики),
-
3) определение основной погрешности (п.7.3).
-
2.2. Поверка, счетчиков проводится:
-
1) первичная - при выпуске из производства или ремонта,
-
2) периодическая согласно ГОСТ 8.0С’2“7Т.
Поверку проводить один раз в год согласно ГОСТ 8.513-84.
-
3. СРВДСТВА ПОВЕРКИ
-
3.1. Для проведения поверки должны быть применены следующие из нижеперечисленных средства поверки:
-
-
1) колокольная объемно-динамическая установка на расходз воздуха до 1600 м® (4,4 . 10“^ м®/с) с погрешностью измерения - 0,33%.
Комплект докултентации 676.00.00,
(
Разработка ЙФШГГ (г.Ивано-Франковс).
Эксплуатация - в ПО"Промприбор'’ (г.Ивано-Франковск),
-
2) воздупиая объемная установка фиркад ’'Роь/|бах-Роквелл’’ на расхода до 1600 м®/ч (4,4 , Ю”* м^/с) с погрешностью измерения - 0,33^' (МЦСМ Госстандарта, г.Москва),
-
3) воздзшиал поверочная установка по ГОСТ 8.369-79 в ГМКРС
при ВНПИР Госстандарта (r.Ka.sai-ib),
-
4) комплекс для измерения давления цифровой ИПДЦ класса О’,06 (предел измерений до 63 кПа),
-
5) частотомер Ф504Т по ТУ 25—04-2415-7 (частота от 10 ^Tц до 0,1 Гц, погрешность измерения - ЫО""*^),
-
6) барометр-анероид, метрологический БАШ-1,
-
7) психрометр аспирационный.
Примечание. Указанные средства измерений могут быть заменены
биллогичные по иэвнечеЕтим, если их технические характеристики
не
чиже рекомендуемых.
4. ТРГБОВАНИГ БББОПЛСНССТИ
-
4.Т. При проведении поверки должны быть соблюдены следующие требования безопасности:
Т) все работы по монтажу и демонтажу должны выполняться при отсутствии давления в технологическом трубопроводе, где уставов-•лены счетчики, и при отключенном напряжении питания,
2) на корпусе счетчика должны быть предусмотрегад элементы, отмеченные знаком по ГОСТ 2.751-73, для поЬоединения защитного за-землейия,
-
3) изоляция электрических репей, их сопротивления должны соответствовать "Правилам техники эксплуатации и правилам техники безопасности (Ш'Э и ПТБ) при работе на установках напряжением др ТГРР R. t рабочее
проверка счетчиков должна проводиться в системах, в которых давление не превышает максимального давления 1,2МПа
(12 кг с/см'”),
-
5) проведение поверки относится к нормальным условиям труда,
-
6) перед включением счетчиков и используемых при испытаниях приборов должна проводиться проверка, на надежность заземления, исправность и надежость уплотнительных прокладок и линий связи,
-
4.2. Требования к квалификации поверителей.
4.2.1. П проведению поверки и обработке результатов измерений допускапэтся лица, обученные работе с контрольно-измерительными приборами и оборудованием к правилами безопасной работы на них^име-юшие на это соответствующее удостоверение.
-- 5 -
-
5. УСЛОВИЯ ПОВЕРКИ
При проведении поверки должны быть
-
1)
-
2)
-
3)
-
4)
-
5)
измеряемая среда ~ воздух,
температура окружающего
относительная влажность
воздуха
соблюдены следующие- условия:
воздуха /й,
84 до 106 кПа (630-795 мм р-т.ст), счетчик ТГС должен быть установлен в рабочем (горизонталь
атмосфер!ое давление от
-
ном) положении с обеспечением длины прямого участка трубопровода до ТГС не менее 10 и после него не менее 5 условных проходов и равного с прибором диаметра с отклонением оси счетчика и трубопровода от прямой не более 5°.
-
6. ПС;ЦГОТОВКА К ПОЗЕРКЕ
Перед проведением поверки должны быть выполнены следующие подготовительные работы:
-
1) квалификация персонала, проводящего поверку, должна соответствовать разделу 4 настоящей методики,
-
2) должна быть собрана схемаУ* поверки счетчика, согласно приложению I,
-
3) счетчик перед поверкой должен быть выдержан при соблюдении условий раздела 5 не менее 2 ч.
-
7, ПРОВЕДЕНИЕ ПОВЕРКИ
7.Т. Визуальный контроль.
При визуальном контроле должно быть установлено соответствие поверяемых счетчиков следующим требованиям:
комплектность и маркировка, должна соответствовать требованиям чертежей и технических условий,
стекло, предохраняющее отсчетное устройство, должно быть чистым и не иметь дефектов, препятствующих правильному считыванию
показспний,
корпус счетчика ТГС и счетной забоин, отслоений покрытий, следов
7.2. Опробование.
7.2.1. Проверка герметичности
головки не должен иметь вмятин,
коррозии.
и прочности счетчика.
Опробование корпуса на прочность проводят подачей гидравлического давления в рабочую полость (проточную часть) корпуса (узел крыльчатки предварительно удаляют).
Перед проверкой кof ус должен быть очищен от стружни и металлической пыли, установлены технологические пробки.
При заполнении водой свободного объема из корпуса должен быть
удален воздух.
Перед испытанием наружная поверхность корпуса должна
быть
Бытерта нас до о.
Пр1^ проверке корпуса ТГС на прочность давление воды плавно доводиться до 2,4 МПа (24 кгс/см ).
Если не наблюдается разрушения корпуса, то испытание
ся положительным.
‘ Проверку герметичности корпуса. ТГС проводят подачей воздуха 1,6 МПа (Тб кгс/см ) в рабочую полость корпуса. Если в не наблюдается спада давления по контрольному ма-точноси не хзоже 0,4 и выхода пузырьков воздуха, то
давлением течение 2 мин.
дол?кно
считает
нометру класса прибор считают
7.2.2. Проверка работоспособности счетчика.
Опробование работоспособности проводят подачей потока воздл/ха в проточную часть корпуса, наблюдая при этом за вращением цифровых барабанов счетной головки изделия.
После заполнения колокола, расходоизмерительной установки воз-
герметичным.
духом проводят поверку счетчика на наличие посторонних шумов,св.я~
занных, например, с задеванием крыльчатки о корпус или направляю-
г, !
Проверку проводят при наибольшем расходе для донного типоразмера счетчика.
После очередного заполнения колокола воздухом открывают заслонку так, чтобы обеспечивать через счетчик значения расходов от Ю до ЮСд: наибольшего.
По частотомеру определяют наличие электрических импульсов с
индуктиБКостью генератора счетной головки, что подтверждает ра
ботоспособность счетчика.
-
7.3. Определение основной погрешности.
Определение основной погрешности счетчика проводится на поверочной установке методом сравнения показаний частотомера с показаниями образцовой расходомерной установки.
Для определения
верки в соответствии
Долее с помощью
Соотношение пределов допускаемых основных погрешностей образцового средства и поверяемого прибора дол'кно быть не более 1:3. основной погрешности выполняются условия по-с разделом бнастоящей "Методики...”, устройства (заслонки) для регулирования рас-номинальные значения расхода воздухом, соот-новом средстве.
ходз устанавливаются
ветствующие Ю, 20, 50 и 100% от наибольшего для каждого типоразмера счетчика (точность установки расхода - для рмин - плюс 3%, Qmbkc - минус Зл' , для остальных - i 2%},
На кагвдом из номинальных значений расхода производится не менее трех измерений по поверяемому и образцовому средству, при этом измеряются атмосферное давление воздуха, давление на входе в поверяемый счетчик, перепад давления на последнем и давление в образ-
При поверке счетчика при кзадом измерении с помощью электронного счетчика (по типу Ф5041) определяется количество электрических импульсов, снимаемых за время измерения (с клемт-л I и 3 блока ИР), которое фиксируется по другому частотомеру-хронометру, работающему в режиме измерения времени.
прошедший через счетчик, определяется по еле-
t
Объем воз,пуха, дующей формуле:
Рб
+ Рк
. Ъ + 273,16
Д + 273,16
(1)
■ Vk-
Рб + р2'"О,5-дР
-
- объем воздуха, определяемый по образцовому оредсту,м^ (должен составлять не более Z м^),
-
- барометрическое давление, Па (мм вод.ст),
-
- избыточное давление в образцовом средстве (под колоко' лом), Па. (мм вод.ст.),
-
- температура среда перед счетчиком, °C,
-
- избыточное давление перед счетчиком, Па (мм вод.ст.),
-
- перепэ-Д давления на счетчике, Па (мм вод.ст.),
-
- температура, среда под колоколом, °C.
измерении значения ат1^морферного (барометрического) лени,я в мм рт.ст. (Рб) в формулу для нахождениявводится
где V к -
''^3'
АР
{■ к
дав-
зна-
чение
Рб = 133,3 ' Р*б Па. (Рб = 13,6 ’ р’б мм вод.ст.)
Относительная
по формуле:
I
погрешность счетчика ТГС (5* с} определяется
V
Ст
(2)
- объем воз,пуха, прошедший через испытуемый прибор, м*'",
Гц . с
м°
п,це
— ,560коеффициент счетчика.
N'
~ количество импульсов по показанию частотомера, полусюн-ных с генератора импульсов (количество импульсов за одно измерение до^о соответствовать необходимой точности измерения объема).
Прибор считается выдеркавшим поверку, если величина «^с меньше или равна допуститлой.
-
8. ОФОРМЛЕНИЕ РЕЗУЛЬТАТОВ ПОВЕРКИ
-
8.1. Счетчик, удовлетворяющий
требованиям настоящей методики
-
, поверки, соответствует техническим
условиям и допускается к оке-
плуатации.
-
8.2. Положительные результаты
поверки оформляются путем за*
писи в паспорте на изделие результатов государственной поверки.
ваверенных подписью лица, проводившего поверку с нанесением от-
тиска повзрительного клейма.
-
8.3. Результаты поверки оформляются протоколом (приложение б).
-
8.4. При отрицательных результатах поверки счетчики возвраща-
ются предприятию-изготовителю или предприятию, проводившему ремонт, на доработку с рому прибор не
проведением повтор!ой поверки по пункту, по кото-выдержал испытаний.
-
8.5. Если после отрицательных результатов проведения повер-
ки счетчик не подлежит ремонту, выдается извещение о непригодности его к эксплуатации и изъятии из обращения.
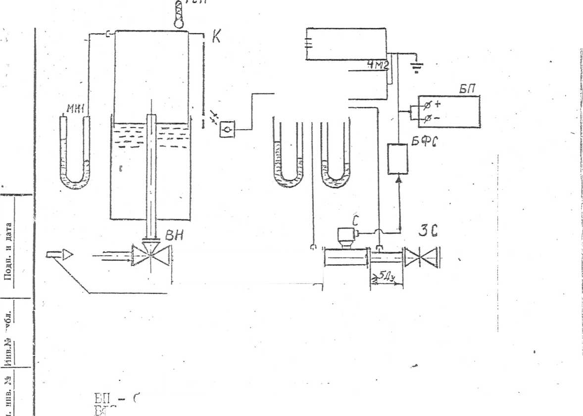
Приложение -/
СХЕМА СТЕНДА
)W СПРЕ,ВЛИ-ТИЯ ССНСВПСП ПСГРЕПБ^ССТП С'-1ЕТЧ^4КА ТГС '
ЧИ1

*1* | ||
- |
10Ду |
- |
олок питания
- блок формирования сигналов
ВИ - вентиль трехходовой
ЗС - засл онко, регулирующая
К. - колокольный мертик (образцовое средство)
МП - манометр жидкостной
С ’ - тгфбинчый снетиик газа (поверяемый прибор)
ТСП - термометр сопротивления
'-Б'.!у- иостотомер электр/онносчетный (счетчик импульсов) ^nv]2- частотомер электроинсчетный (счетчик времени)
ОЭ СП

е. |
Лист | ||||||
/' |
ic>e. |
/Л? 'f/ |
f |
08904Т23 ТО | |||
Изм. |
Лист |
№ до куч. |
По.дп. |
Л 1 |
■* *\
I
Л
Л
tl
I
к
If
/

1 ■‘■.4И. ■
* *4
■ Ч
<
Ч <3.
11
Q.
<1
г k> .
§
II
.
<1
5
’^::£JOOK -mddioiji |
' ■ ■ | ||
, ■ | |||
■ . . * ’ • ' .' • |
' ■ ■ ' ; i ' | ||
s_l4 |
. '■ ■■•': • | ||
■ ■ ■■ .' .'■•.■ •' |
',' '.. ■ . .. | ||
.■■• | |||
". | |||
- |
1 | ||
' | |||
Ul^n /\] |
. | ||
» |
’ • | ||
’ go:<:jri^ |
' ' |
, ■ '. '• |
■
f

OS90^ i£^-TO '
: 11 .t