Методика поверки «Поверка приборов типа ПНВЭ» (425-53)
). Ср.ншеиие p.ifjo’ieio прибора с образцовым З-го разряда (пли образцового разряда с образцовым 2 к* разряда) ио температуре вспышки.
11
||)ТС11рОДуКТ
1 ермометр
Температура вспышки, определснпая па образно-
Hl «.(НКа к показанию термом
N -‘j
ИС1.11-
ТВ) .1)1 по ..о-р11 : V
Температура вспышки по показании) термометра
1-я вспышка
2 я вспышка (КОНТ-рольная) tn
_
ном приборе
разряда, равп!
ipa Д/j.
|
осфер- |
Поправка | ||
|
давле- |
Попря чиа |
на ([рнведенис |
Исправлен- |
|
во нре |
к 11пг.1.»а- |
температуры |
ное значе- |
|
/преде- |
tflilA *r«»rilL4A. |
вспышки к |
пие темне- |
|
кия |
riijiv icpiviu |
нормальному |
ратуры |
|
JUIIIKII |
m 1* д L|(j о |
атмосферному |
вспышки |
|
рт. ст. |
Ui* 1 |
давлен ИЮ |
^7С11 |
|
р |
“С Д^2 |
об,
, Такая же таблица сосгаг.ыется для определения температуры вспыткп па тоном приборе).
laK.Tio'ieiiire госноверители ,'подп1гсь)
Заложено к/ц’Лмо, Bi.iniic.ii .) свидетельство №
iano извешепие о пепрпн
Дата
/law.ibHiiK .moopi
г)/)д// (подпись)
Дата
I'ocuoiiepinc.jb’
HI op Краснопольская С. Д'
I Стпияартпг) ыыпо п инбир ?, <i l'J.5 г Ноапцсаио к печати 17/1 1050 г. I п, т, Tripa.ic 1.ДВ0
Т iiiii)iT'.tiini)i .МП п.МП СС’Л'Р. .Мо.кпя, Иопп Басмлпная, 23,
liiiera
мер [i 1(змср11тел14гых н; mopou 648
инструкция 5'Т1!еря\дена приказом К стандартон,
при (.‘овеге ЛАиннстрон (ляоза (Д'Р от 17 октября в действие с 1
1955 г. и введен , февраля 1956 ■
ИНСТРУКЦИЯ 175 — 55
no ПОВЕРКЕ ПРИБОРОВ ТИПА ПВН ДЛЯ
ОПРЕДЕЛЕ 'ПЯ ТЕМПЕРАТУРЫ ВСПЫШКИ НЕФТЕПРОДУКТОВ
-
1. Ппсгрукцня ирс'дпазиачена для поверки рабочи.х и()нборо' :ипа
ПВП, применяемых для ои])еделеиия температуры вешашки : рге-Н|)одук1ов, и образцогых приборов 3-го разряда, служащих ;■ . их
поверки.
-
2. Температурой вспышки какого-либо продукта называете гем-ис-рагура, при KOTopoii пары продукта, пагревасмого в опрсдел !ны.\ условиях, tjfjpaayioT с окружающим воздухом смесь, 1$С11ыхива- иную при иолиесепнн к'Пей иламепи.
-
3. Томпература вспышки, определяемая при помощи нр тина ПВП, называется «температур{)н вспышки по ПВП.‘/.
I Ol Jprl
-
4. Соблюдение иасгоящей инструкции обязател}я1о для все.', ннзации, производящих поверку приборов типа ПВП.
-
I. НАЗНАЧЕНИЕ H УСТРОЙСТВО ПРНВОРЛ раб,,чем положении отверсиш на крышке п заслонке не совпадают, отв(‘рстня на крышке прикрыты заслонкой.
-
5. Прибор ПВП яв.'шегся прибором закрытою типа п прел, чей для определения тс'мпсратуры вспышки смазочных хмасел i кото топлива в иитсрвалс температур от I 20 до f 275 С.
-
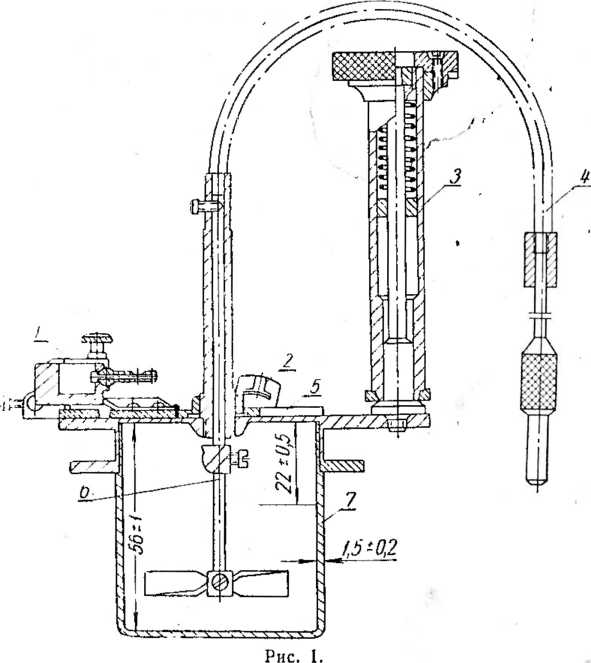
6. Прибор (рис. 1) состоит из тигля (стакана) 7 для чуемого нефтепродукта с крышкой а, на которой распо/южсш внжиая заслонка, мешалка 6 с гибким валом 7, зажпта ге. 1ыпо ночка /, трубка для термометра 2 п пустотелая колонка о’, за' вающаяся головкой из материала малой теп,топроводпостн.
Тигель вставляется в возлупшую ванну с огневым ПППО (j пли электрическим иаг])свом—ПВНЭ (рис. 3). <
1, Тигель (рис. 1) имеет Ф9рму цилиндра с плоским лно,\. ружным фланцем вверху. Па внуТрспней поверхности тнг.тя и круговой уступ, указывающий у1)овень иаиолиения шгля шч]. луктом. Фланец снабжен двумя крючками для пзвлечепня ти гнезда ванны с помощью ухвата и тремя установке тигля в Baii.iy вх’одят головки всрхисп поверхности г.анпы.
8. В крышке (рис. 4) прорезаны три отве])стня; два таких /ке отверстия ковому отверстиям крышки, имеются в зас.чоике (рис. 5 и б), , './ш'-i
nu|)e}aMif, в Koj'upi BiiinOB, раеположеш
траиеиоидальнон i
, соот'ветствующие среднему
.С11Ы-чОД-lUM' ;i4II-
2)
I
-.llCi-H
-
9. Заслонка передвигается вращением от руки головки колонки. При передвижении заслонки открываются отверстия крышки, и зубец, укрепленный на заслонке, упираясь в нижнюю часть зажигательной лампочки (рис. 6 и 7),’наклоняет ее в вертикальной плоскости. При полном совпадении отверстн)! крышки и заслонки, конец трубки лампочки опускается до середины толщины крышки. Возвра-

4
щени-» заслонки в начальное (нерабочее) положение 6ь1С'л ) под действием пружины,.находящейся внутри
происходит колонки, при этом «ажигательная лампочка автоматически принимает первоначальное положение.
5) 1*1. Для перемешивания как самого нефтепродукта, так и обра-
зуюп? йся над его поверхносгыо смеси паров с воздухом служит мешал 1« 1, представляющая собой стержень с укрепленными на нем двумя парами лопастей, расположенными под углом 45° к горизон-
ПРИЛОЖЬЕЧЕ 3
ФОРМА ПРОТОКОЛА ПОВЕРКИ ПРИБОРА
ПРОТОКОЛ №
Прибор №
типа ПВН для определения температуры di нышки
Завод-нзготовнтель
Дата поверки
Прибор пр пиал
-
1. P jeniuHfi осмотр и установление комплектности
-
2. Поверка основных размеров прибора так 1,.1Ч /10 обстоя!елIjCTHo оказывает шняние на точность определения темнера-lypi! чсш.ннки.
№№
Hz»’
Элементы, .прибора
Размеры в мм
Измеренные
б Крышка должна илот но иадева п.ся иа тигель конусным еоедщкчщеи без !а юра.
1) приборах, изгптовлснн1.!Х но 1'О('Т I 121'—12, крышка должна иаденаться на тпге.'П! с зазором не более (1,5 а/.и и плотно соприкасаться со всей поверхностью края пиля.
-
6. Движение заслонки по крынгке должно пропсхолит1, без заедания. Про-св<Ч(Л между крышкой и заслшгкой в нерабочем положении не допускаются,
1)ЫТЬ
защищены от коррозии в уск »иях работы
-
7. Новер.хн'сгн частей прибора и ирииадлсжнсстей к нему до.чжны г11!ател1.но отделаны и надежно прибора.
на ней частя должны быть оксидированы или
Крышка и все находящиеся вороиепы,
укрепляется па крышке iipii6opji гюклоипо под к горизонтальной плоскости и должна иметь прорези для падежного
б. '['рубк,'! ДЛЯ термометра
5 (ЛОМ 75 2
!ажнма iiKTi.Tbi термометра.
■»'I 5ажнгател[.иая лампочка (фнтн.пшая или газ<!»ая) должна обеспечивать полу'з пие пламени диа.четром 3 1 Jut.
«Н1, Крепление лампочки должно обеспечивать при ее наклоне отсутешне за мети; IX боковых качаний.
-11 Мешалка должна состоять из двух пар лопастей, расположенных па разной высоте (jt крышки под углом 90 друг к другу.
.'fdiiaciH должны бып. установлены иод углом 15 -*-0,5‘' к ropiiaonra.TbiioH n.IOCKl.i IH
-
12 1йч1 ШНО1ЫЯ .тамна до.тжна иметь манометр, а также снепналык (' устрин-CIB') 3 ГН pel\ тнргвання нламени.
-
13 Ртутные стеклянные термометры, прилагаемые к прибору, должны удовлетворять Г0(1Т -100—11, иметь поверочные клейма и документ о поверке с указанием понранок.
прибора Д(’лжны быть обозтрачены: номер npii6op«'i, условное прибора, товарный знак завода-изготовителя, ГОСТ и для ванн м напряжение злектрическ( го тока,
крышке, заслонке и лампочке должен бытЧ) ностанлен номер прнбо]]а. Иа кр|дн1ке прибора до.чжшя быть также нанесены товарный знак занода-нз! отошне.тя i[ помер ГОСЗТа. На крышке образцового прибора, кроме того, должна быть пьправироваиа надпись; с^Образцовый 2 р.» или «Образцовый 3 р."*-
11. Иа ванне обозначеши' тина с злекгрпобо! pi'B
15. Иа тигле, ккныюн поверхности, и НОД углом 90’ одни ни отношению к лру! J!. ЛЬ'настн расположены и укреплены винтам i па стержне так, чтсл.! нижняя их пара перемешивала продукт, и. рхияя—смесь его пар-‘В
( С <-1-'

г воздухом. Верхний конец стержня мешалки прикреплен к гибкому валу с рукояткой для вращения вручную или посредством элект} j двигателя.
-
11. в приборах с огневым нагревом—ПВНО (рис. 2) нагреватель! loii ванной служит чугунный сосуд, имеющий форму опрокинутой чаши с цилиндрическим гнездом. Наружная поверхность гпс.здн дел ас гея ребристой. К ванне с наружной стороны привинчен кожу.к

Рис. 3. Прибор типа ПВНЭ
С крхглым вырезом, через который вставляется тигель с испытуемым продуктом.
Для нагревания служит беизпиовая пли газовая горелка.
/Для равиомер1[ого нагревания испытуемого нефтепродукта между горелкой и дном ванны помещена металлическая сетка, прикрепленная к одной из иожск треножника прибора.
ТЕХНИЧЕСКИЕ ТРЕБОВАНИЯ НА ПРИБОРЫ
-
1. Комплектность вновь изготовленного прибора должна удовлетворять требованиям ГОСТ 1421—53 (комплектность ранее изготовленных приборов должна удовлетворять требованиям ГОСТ 1421—42).
-
2, Размеры наиболее ответственных деталей прибора до.тжнГ)! соответствова и. указанным в нижеследующей таблице:
1 (анменования размеров деталей
10
12
Внутренний диаметр тигля (ниже уступа) . Внутренняя высота тигля ......
Расстояние от уступа тигля до его верхнего края , ......... . .
Ширнпа больших отверстий крышки и заслонки (считая по хорде окружности, наиболее удаленной от центра) .........
Длина большего отверстия крышки и заслон КП (считая но радиусу) . .
Ширина малых отверстий крышки и заслонки (считая но хорде окружности, наиболее удаленной от центра) ..........
Длина малых отверстий крышки и заслонки (считая по радиусу) . .
Длина радиусов от центра крышки и заслонки до расположенных но дуге окружности средних линий отверстий .........
Внутренний диаметр з’иезда нагревательной ванны ...
Расстояние от конца резервуара термометра, когда он вставлен в крышку, до внутренней поверхности крышки (по перпендикуляру к крышке) . . ... ......
|
Нормальные размеры, JLM |
Допускаемые отклонения. .я.и |
|
51,0 |
-1- 1,0 |
|
56,0 |
.+ 1-9 |
|
22,0 |
4- 0..П |
|
1,5 |
+ 0,2 |
|
14,5 |
± 0,.’ |
|
11,0 |
.+ |
|
+ 0.2 | |
|
9,5 |
-р 0 ,'2 |
|
19,0 |
±0.1 |
|
17,5 |
4; 0,.б |
|
60,0 |
+ 1.9 |
|
40,0 |
+ 1,0 |
примечание, В приборах, пзготоплею’ых по ГОСЛ' 1421 —12, вмс.то распояння, указанного в п. 10, измеряют размер конической части носика зажнга 1ел1>ны.х лампочек, равный 10,0 ± 0,,5
V 3. Тигель должен быть изготовлен из металла, непроницаемого для
jicfiw гуе-
\__мых продуктов, имеющих температуру вспышки от f-20^ до j 275''С.
4. Крышка должна быть изготовлена из материала, исключающего пор, во избежание впитывания испытуемы.х продуктов и н.х паров при
По настом шей инструкции поверяются приборы;
а) типа ПВПЭ с электрическим нагревом и типа НВНО с огневым нагревом, изготовленные но ГОСТ 1421—53;
61 ранее изготовленные приборы Мартенс-Пенского.
-
12. В приборе с электрическим нагревом—ПВНЭ (рис. 3) ьоз-лушпоп ванной служит цилиндрический полый сосуд с нагреватель

И
но иаружноп поверхности. Этот сосуд
Рис. G. Фигнльная заж111’птел1>1ки[ лампочка

укреплен в центре металлического кожуха, обложенного изнутри асбестом. Концы обмотки выведены к двум зажимам на боковой
Рис. 7. Газовая зажигательная лампочка
поверхности кожуха для присоединения к электросети через автотрансформатор или реостат.
-
13. К прибору приложены; два ртутных стеклянных термометра с 51,1 НОЙ делении в один градус и пределами шкалы от •—30 до -Ы70‘С и (’1 ! 100 ЦО 1 300 (3, ухват для пе[)сцоскп тигля, газовая ;}ажш'а-те.план лампочка, кото])ои пользуются при наличии в лаборатории оспеI ительпого га?а, ан/готрансфор.матор для приборов с электро-naipi'BoM и.HI газовая и бензиновая горелки для приборов с огневым нагревом,
1 I. Для осуществления поверки приборов необходимо иметь сле-дующее оборудование; уровень, платформу с тремя установочными BHHia.MH, спнрговую горелку, барометр, часы е секундной стрелкой или секуитомор, сиабжеипый минутным циферблатом, химические сгакаиы и,’1Н коннческш' колбы с. носиком и автотрансформатор пли peoiM a r на 5 а и 50 ож.
II. ПОВЕРЯЕМЫЕ ЭЛЕМЕНТЫ И СРЕДСТВА ПОВЕРКИ
-
15. Поверка рабочих и образцовых приборов заключается-
а) во внешнем осмотре;
б) в определепип размеров;
в) в определении температуры вспышки.
-
16. Определеиис размеров производится штангенциркулем и линейкой.
Примечание. Определение размеров производится только при поверке приборов, выпущенных из производства или ремонта,
-
17. Поверка на температуру вспышки рабочих приборов производи Ге Я ПО образцовому прибору 3-го разряда, поверка образцовых приборов 3-го разряда по образцовому прибору 2-го разряда.
III. ПОВЕРКА ПРИБОРОВ
осмотре прибора удостоверяются и его ком-п тщательности изготовления прибора в целом, в пра-деиствия 11]\ужниы колонки, передвижении заслонки ио
13. При внешнем
илекIпости
ВН.ЗЬПОС I и
крышке и наклона зажигательной лампочки; в наличии и соответствии померон и надписей на деталях прнбо]ц1 и в наличии документов о поверке термомс1ров (см. прпложеине 2 и нп. 6 и 13 инструк- -ции).
1:слн при осмотре прибора обнаружены дефекты или его иеком-плектость, прибор бракуется и дальнейшей поверке не подлежит.
13. При определепип размеров поверяемого прибора удостове-ря1О1ся в их спот15етствии размерам, приш'денным в таблице раздела •*Техипческие требования» (н]и1ложсние 2).
В случае несоответствия размеров, указанных в таблице, прибор бракуется.
-
20. Поверка приборов по температуре вспышки производится путем сравнения значений температуры вспышки одного и того же пёфтенродукта, полученных последовательно на образцовом и пове-рж'.мом приборах.
г.
16 - -1 0,5'
|
ИС11Ы- T.'iiiiiii ♦ |
'1 емпература вспышки ПС показанию термометра |
Атмосфер пое давление во вре мя определения вспышки Р |
Поправка if пока нению термо-ме1 ра |
Поправка на прпнеденнс температуры вспышки к пормалыи му атмосфе1'пому давлению |
Иг ПрЛПЛ'.’И-пое значение 1 е.мне ратуры вс пы ш к II бг | |
|
1-я вспышка б |
2 я вспышка (контрольная) | |||||
|
1 |
201,0 |
203,0 |
783,3 | |||
|
2 |
202,.^) |
204,5 | ||||
|
3 |
2Щ,5 |
203,5 | ||||
|
201,7 |
- |
788,3 |
1 О.п |
1,0 |
201,'' | |
Рабочий прибор №
Индуст1)налы1ое масло 45 Температура вспышки, онррзс-.аеиная па об[)азп.овом нрпо i[ie 3-го раз [ш да №...............
равна 202 С
Разность между определениями но образцовом)’ и рабочему приборам равна 202,0—201,2 -- +0,8 С, т. е. не выходит из допускаемых пределов -'-ГС.
IV. ОФОРМЛЕНИЕ РЕЗУЛЬТАТОВ ПОВЕРКИ
-
40. Результаты поверки заносятся в протокол, форма Kofoiiino дана в нрнложеннн 3.
-
50. Рабочие приборы, прошедшие нове{)ку и удовлетворяй шпе всем описанным выше требованиям (в соогветствин с ГО (/Г и инс! рукцней но поверке), клеймятся.
-
51. На.тожснне клеима производится 1равлепием н.'ш ipaiHip-ac кой. Выбиваште клейма пуансоном не допускается.
-
52. На образцовые приборы, прошедшие иож'рку, 15ынисы1>.аь)| -я свндетел1К'1'ва о поверке; клеймо не сташися.
-
53. Если образцовый прибор не удовл('гворяег bccjm 1ребовап1ым * ГОСТ н инструкции по поверке, то па него выдается извещение о ие-
прн годности.
45. r.c;iii температура вспышки (после введения поправок на п1М(л'фер11ое давлеппе н к показанию термометра), определенная по рабочему прибору, не отличается от полученпон по образцовому прн-poj'V З-ю ])азряда больше чем на ±1''С, прибор признается год» ним к нрплп'ненпю;'* в случае больших расхождении прибор браки* )ся.
И». Образцовые приборы поверяются так же, как и рабочие. Отличие заключается в том, что поверка образцовых приборов производится обязательно по двум нефтяным продуктам: минеральному маслу и керосину марок, ксггор’ые указаны в п. 20. Среднее арифметическое значение температуры вспышки выводится из пяти опрсде-.теппп, причем расхождение между отдельными определеннямн не т.олжпо нревы1нат1> I С.‘
-
17, 11рибо[) счшастся пригодным к применению как образцовый 3-10 разряда, если определенная по нему температура вспышки отлн-чаеюя от темш'ратуры вспышки того же продукта, определенной по образцовом)' прибору 2-го разряда не больше чем на ±0,5'С.
e в c П Ы HI к и
-
18. Пример поверки по температур ра б о ч е г о и р и бора
'Гемперачура вспышки игщустрнальиого масла 45 (машинного С) оирс'лелепа на образцовом приборе 3-го разряда № поправка (-А/,) к показанию термометра №.............
образцового
прнбо))а равна CjS'C.
|
nciibl- laitnii |
Температура uciiMiiiKH по по-иазаппк) термометра |
Атмосферное давле-нпе во время определения вспышки в мм рт. ст. |
Поправка к показанию термометра в ®С Дб |
Поправка на ирппсяеипе температуры вспышки к нормальному атмосферному давлению в °C |
Леистви-тсльпая температура вспышки бсо | ||
|
1-н вспышка б |
2-я вспышка (контрольная) /к | ||||||
|
I |
203,.5 |
20.3,0 |
788,3 | ||||
|
•) |
20 ЦО |
206,0 | |||||
|
.3 |
203,.5 |
205,5 | |||||
|
•1 |
203,0 |
20.3,0 | |||||
|
21'3,.5 |
20.3,.5 |
788..3 | |||||
|
• |
203,.'') |
78 8,.3 |
~0..5 |
-1,0 |
202 | ||
■ Поправка на атмосферное давление А/г-
\/? 0,0345 (7G0 -?) 0,0345 (760 — 788,3) =--0,98 -—ПС.
Цействшельиая температура вспышки:
/г,и, 203,5 — 0,5—1,0 202’С.
to
Дли с))ап11сп!1я 11р11М1'11И1отся нефтепродукты е темнерат\роп вспышки в 11рс^1,слах ISO- 200 С, l!aпpп^tep: 1П1дуч'трпа..’1ЬП<>е л’ ело 45 (машпиное С)—ГОСТ 1707—51^глп ^l■)I()plloe Т—ГОС Т 1510 12.
Дополнигелыго для образцовых приборо;}. а также рабочих приборов, нрелпазиачеипых для нспытания нефтепродуктов -с тсмш'р.чк ]тон ВСНЫН1КН ниже 100 С.лди.мен^тся керосин марки «Kcpocniij''Пк' тнтельный»— ГОСТ 4753—10.
-
21. Онределепие температуры вспышки при сравнении приби рог. производят с сое 1'одеппем всех условий, указанных в пн. 22- 41.
’• 22. Перед испытанием тигель прибора, крышку, заслонку и мешалку необходпм<1 промыть авиационным бензином или неф1япы i или серным эфирол, и нцательно просушить путем наг]>еваипя на ы’-релке, так как остатки бензина или эфира могут ска.заться па ира 1>,илы[остн определения температуры вспышки.
23. При отсутствии газа заправляют фитильную ламн<»’1к\ (рис. 6), вставив в ее трубку фитиль и в коробку кусочек ваты, '/мо-чениые в гарном или машинном масле с добавлением растителыкно (сурепного или подсолнечного) для того, чтобы температура веньепки заправляемого масла была выше температуры вспышки испытуемою нефтепродукта. Пламя лампочки регулируют так, чтобы форма ею была близка к шару диаметром 3—4 л/л/.
у^24. Прибор устанавливают в затемненном месте, заиццценном oi ре"зкпх потоков воздуха.
25. При сборке крышки следует убедиться в том, что лопасти мешалки при ее вращении нс задевают вставленного во втулку т<рмо метра и лампочка при полном совпадении отверстий и крышке' >i пз слойке имеет наибольший наклон.
2G. Закручивание пружины при надевании заслонки с.тедуе i р»» изводить осторожно, делая во избежание ее псрскручнваш’я hi* свыше двух оборотов.
-
27. Тигель после нагревания охлаж.щют до ксимнатпой i >п( -рагуры, устанав,’игвают на платформу, вг,верейную по уровню, •чем осторожно наполняют нефтепродуктом н i колбы или хнмнчегыпо стакана с чюсиком, не допуская разбрьги ивания нефтснродук1а но стенкам тигля. Пагголиенне тигля производят до появления св( t юй струйки, пробегающей по уступу тигля.
В налитом нефтепродукте должны отсутствовать пузырьки I'o.j-духа. Если таковые обнаружены, то их следует удалить прнкосчюве-пнем конца слегка нагретой стеклянной палочки.
-
28. Наполненный нсфтепродукюм тшель закрывают Kpi^iiiii.oii, повернутой вправо той стороной, на которой укреплена ко.ч нка с шайбой так, чтобы вырезы в обойме крышки пришлись над kj юч-камн стакана и крышка плотно села на его края. После этого у‘'га-навливагот зажигательную лампочку, газовую или фитильную.
-
29. Убедившись в том, что прибор собран правильно, берут л» ’юй рукой ухват, подхватывают им тигель за крючки н, поддержкзая нр.'шой ])укой шайбу колонки, номе/цают тиге.ю> в гнездо пиччы,
следя за тем, чтобы головки трех винтов на корпусе нагревателя пришлись в соо-тветствующие полукруглые вырезы фланца тигля.
Пр и м е ч а и и е. Для нефтепродукта с температурой вспышки выше 150Х ванна предварительно может быть нагрета примерно до температуры на 50 ’ ниже ожидаемой температуры вспышки.
-
30. Скорость нагревания контролируют по часам с секундной стрелкой или но секундомеру (с минутным циферблатом), который пускается в ход одновременно с началом нагревания,
-
31. При поверке приборов по нефтепродуктам с температурой вспышки выше 150'С, вначале нагревание ведут со скоростью 10—12' в 1мипуту. За 50’ до ожидаемой температуры вспышки нагревание замедляют до 4—6'' в минуту и ведут его так, чтобы подъем темпера-1уры за 30’’ до ожидаемой температуры вспышки был равен 2" в минуту.
За 10' до ожидаемой температуры вспышки зажигают лампочку If вращением головки колонки открывают заслонку сначала через 2"", а за 5” до ожидаемой температуры вспышки—через каждый 1° повышения температуры.
При нагревании, начиная со 100—120'’, нефтепродукт перемешивают вращением мешалки, прекращая перемешивание в момент открывания заслонки.
-
32. При поверке приборов ио керосину первоначальное нагревание от комнатной температуры до температуры на 10'’ ниже ожидаемой температуры вспышки ведут со скоростью 2'’ в минуту. За 10' д<> ожидаемой температуры вспышки скорость нагрева снижают до 1,5—Г в минуту. Открывание заслонки производят через Т за 10" и ч« рез Г за 5" до ожидаемой температуры вспышки.
В этом случае перемешивание ведут с самого начала нагрева,’ 1акже прекращая его в момент открывания заслонки.
-
33. Во избежание поломки гибкого вала, вращающего стержень мешалки, пеобходп1мо производить перемешивание, плавно и медлеп-н ) вращая вал в 1паправле1ши, в котором он закручен.
Вращение мешалки может быть осуществлено и посредством э. ]ектрод8пгателя, который должен обеспечить враш.е1ние лопастей со скоростью 60+15 оборотов в минуту. По выключении тока мешалка должна прекратить вращение в продукте не позднее, чем через 5 сек.
Крепление рукоятки в соедшштелыюй муфте двигателя должно позволять легкое отключение рукоятки от электродвигателя для воз-моя^н^сти перехода на вращение мешалки вручную.
' 34, Для определения температуры вспышки поворачивают головку пружинного рычага, при этом открываются отверстия крышки и наклоняется зажигательная лармпочка. Обратное возвращение за-сл(шки происходит под действием пружины. Отверстия крышки при пспытапнн должны быть открыты на 1 сек.
-
35. При испытании следует все время следить за размером пламени зажигательной лампочки (см. п. 23).
.4
-
36. Вспышкой считается появление голубоватого пламени, быстро пробегающего по поверхности нефтепродукта; вспышка иногда сопровождается слабым звуком; часто при испытании па вспышку лампочка гаснет.
При пользовании фитильной лампочкой для быстрого ее зажигания необходимо всегда иметь зажженную спиртовую горелку.
-
37. Если вспышка не произошла, продукт продолжают нагревать и перемешивать, повторяя операцию испытания через каждый градус.
-
38. После получения первой вспышки следует продолжать нагревание продукта до получения второй, контрольной вспышки, ко торая обычно происходит после дополнительного повышения температуры продукта 1на 2°.
-
39. За температуру вспышки принимают показание термометра, при котором открывание заслонки впервые сопровождалось вспышкой.
-
40. Температура вспышки нефтепродукта выводится как среднее арифметическое из ряда измерений.
-
41. Отдельные измерения производят каждый раз со свежен пор цией нефтепродукта при соблюдении указанных выше условий поверки, причем тигель, крышку, заслонку и мешалку тщательно выти рают чисть^^, сухим полотенцем, не промывая их растворите. 1ямп. Тигель охлаждают до комнатной температуры.
-
42. При испытании на вспышку наблюдают и записывают атмосферное давление.
Для приведения температуры вспышки к нормальному ат1мос<|)ер-пому давлению руководствуются следующей формулой:
Г 7вв + 0.0345 (700--Р),
где:
- 760 — температура вспышки в С при нормальном атмосферном давлении 760 мм',
t —температура вспышки в С при атмосферном давлении, измеренном во время поверки;
Р —атмосферное давление во время поверки в мм р». ст,; 0,0345 — изменение температуры вспышки в Т на разницу давления в 1 мм рт. ст.
if
V
-
43. При поверке рабочего прибора температуру вспышки определяют три раза. Расхождение между отдельными определениями не должно превышать 2''С; в случае, если расхождение больше 2 С
испытания повторяют; если и при вторичном ислыта1нин рас.хожде-ипя поучаются больше 2 С — прибор бракуют.
-
44. 'Температура вспышки по образцовому прибору определяется непосредственно перед поверкой на вспышку поверяемого прибора. За действительную температуру вспышки принимается среднее арифметическое из 5 ее определений.
При массовой непрерывной поверке рабочих приборов пов'к.рные определения температуры вспышки на образцовом приборе З-ю разряда производят после поверки каждых 10 рабочих приборов.
