Методика поверки «ГСИ. Анализаторы растворенного в воде кислородa» (MП 205-ХХ-2022)
ФЕДЕРАЛЬНОЕ ГОСУДАРСТВЕННОЕ БЮДЖЕТНОЕ УЧРЕЖДЕНИЕ ’’ВСЕРОССИЙСКИЙ НАУЧНО-ИССЛЕДОВАТЕЛЬСКИЙ ИНСТИТУТ МЕТРОЛОГИЧЕСКОЙ СЛУЖБЫ”
(ФГБУ ’’ВНИИМС”)
СОГЛАСОВАНО
Заместитель директора по производственной метрологии ФГБУ ’’ВНИИМС ”
А.Е. Коломин 2022 г.
fl п
Государственная система обеспечения единства измерений
Анализаторы растворенного в воде кислорода
Методика поверки
МП 205- -2022 г. Москва
2022 г.
Настоящая методика поверки распространяется на анализаторы растворенного в воде кислорода (далее - анализаторы), изготовленные фирмой Hamilton Bonaduz AG, Швейцария и устанавливает методы и средства первичной и периодической поверок при вьшуске, после ремонта и в процессе эксплуатации.
Методика обеспечивает прослеживаемость СИ к Государственному первичному эталону ГПЭ единицы массовой концентрации кислорода и водорода в жидких средах ГЭТ 212-2014 в соответствии с Государственной поверочной схемой (ГНС) для средств измерений ГОСТ 8.652-2016 «Государственная система обеспечения единства измерений. Государственная поверочная схема для средств измерений массовой концентрации растворенных в воде газов (кислорода, водорода)», утвержденному Приказом Госстандарта от № 130 от 29.01.2015 и к Государственному первичному эталону единиц молярной доли, массовой доли и массовой концентрации компонентов в газовых и газоконденсатных средах ГЭТ 154-2019 в соответствии с Государственной поверочной схемой (ГПС) для средств измерений содержания компонентов в газовых и газоконденсатных средах, утвержденной Приказом Федерального агентства по техническому регулированию и метрологии от 31 декабря 2020 г. № 2315 методом прямых измерений поверяемым СИ величины, воспроизводимой с помощью эталонных растворов кислорода, прослеживаемых к первичному эталону.
Интервал между поверками —1 год.
1 ПЕРЕЧЕНЬ ОПЕРАЦИЙ ПОВЕРКИ
1.1 При проведении поверки выполняют операции, указанные в таблице 1. Таблица 1-Операции поверки
Наименование операции |
Номер пункта методики |
Обязательность проведения операции | |
Первичная поверка при выпуске из производства и после ремонта |
Периодическая поверка при эксплуатации | ||
1 Внещний осмотр |
5.1 |
Да |
Да |
2 Опробование |
5.2 | ||
- проверка общего функционирования |
5.2.1 |
Да |
Да |
- подтверждение соответствия программного обеспечения |
5.2.2 |
Да |
Да |
3 Определение метрологических характеристик |
5.3. | ||
- определение основной приведенной к диапазону и относительной погрешности измерений |
5.3.1 |
да |
да |
-
1.2 Если при проведении той или иной операции поверки получают отрицательный результат, дальнейщую проверку прекращают.
-
1.3 Предусмотрена возможность проведения периодической поверки по меньщему числу поддиапазонов измерений на основании письменного заявления владельца СИ в соответствии с пунктом 18 Приказа Министерства промыщленности и торговли РФ от 31.07.2020 г. № 2510 «Об утверждении порядка проведения поверки средств измерений, требований к знаку поверки и содержанию свидетельства о поверке»
-
1.4 На поверку анализаторы предоставляются в комплектации, обеспечивающей возможность управления датчиками и отображения результатов измерений: датчики в комплекте с соединительными коммуникациями, необходимыми адаптерами/конверторами для подключения к ПК или беспроводным каналам связи. В последнем случае на поверку должно быть предоставлено мобильное устройство с установленным ПО, применяемым для управления датчиками и получения результатов измерений. Также в комплект, предоставляемый на поверку, должны входить эксплуатационные документы. При невыполнении указанных требований к комплектации поверитель вправе отказать в проведении поверки.
-
2.1 При проведении поверки соблюдают следующие требования безопасности:
-
2.1.1 Правила безопасности, при работе с анализаторами и средствами поверки в соответствии с соответствующими разделами РЭ или инструкциями по применению (включая требования к заземлению).
-
2.1.2 Правила безопасности, действующие на месте поверки (на территории промыщлен-ного объекта (при поверке на месте эксплуатации) или в лаборатории).
-
2.1.3 Помещение, в котором проводят поверку, должно быть оборудовано приточновытяжной вентиляцией.
-
2.1.4 Концентрации вредных веществ в воздухе рабочей зоны должны соответствовать требованиям ГОСТ 12.1.005-88.
-
2.1.5 Должны быть соблюдены правила техники безопасности при эксплуатации электроустановок, ГОСТ Р 12.1.019-2009; правила пожарной безопасности, ГОСТ 12.1.004-91; «Правила промыщленной безопасности при использовании оборудования, работающего под избыточным давлением», утвержденные приказом Федеральной службы по экологическому, технологическому и атомному надзору от 15.02.2020 г.
-
2.2 Требования к специалистам, осуществляющим поверку
К проведению операций поверки допускаются поверители - сотрудники юридического лица и индивидуальные предприниматели, аккредитованные в соответствии с Федеральным Законом РФ № 412-ФЗ на проведение поверки средств измерений
Поверитель должен изучить настоящую методику поверки, ознакомиться с эксплуатационной документацией (далее - ЭД) на поверяемое средство измерений.
Допускается выполнение при поверке технических операций персоналом, обслуживающим средство измерений или сервис-инженером под контролем поверителя.
3 МЕТРОЛОГИЧЕСКИЕ И ТЕХНИЧЕСКИЕ ТРЕБОВАНИЯ К СРЕДСТВАМ ПОВЕРКИ
3.1 При проведении поверки применяют следующие средства, указанные в таблице 2. Таблица 2 - Средства поверки
Номер пункта поверки |
Наименование средств поверки, номер документа, регламентирующего требования к средствам поверки, метрологические и технические характеристики'^ |
4, 5.2.1 -5.3 |
Прибор комбинированный Testo 622, (per. № 53505-13) Барометр-анероид БАММ-1, (per. № 5738-76) |
5.3 |
Стандартные образцы состава газовых смесей O2/N2 ГСО 10531-2014 |
Термометр лабораторный электронный ЛТ-300 (per. № 61806-15) диапазон измерений от минус 50 до плюс 199,99 °C, абс. погрещность ±0,05 °C | |
Весы электронные с наибольщим пределом взвещивания 220 г, не ниже среднего класса точности по ГОСТ OIML R 76-1-2011 | |
Колба мерная 2-250-2 по ГОСТ 1770-74 | |
Стаканы стеклянные для растворов^* В-1 или В-2 ТХС вместимостью 250 см^ ГОСТ 25336-82 | |
Водяной термостат с диапазоном регулирования температуры от 10 до 50 °C, допускаемое отклонение температуры контролируемой среды в пределах ± 0,2“С | |
Мещалка магнитная, скорость вращения от 400 до 1200 об./мин | |
Вода дистиллированная по ГОСТ 6709-72"'^ Натрий сернистокислый по ГОСТ 195-77^^ Кобальт хлористый по ГОСТ 4525-77^^ | |
Примечания: Метрологические характеристики применяемых СИ приведены в их описаниях типа. Может применяться аналогичная посуда, изготовленная из химически стойких материалов и |
вмещающая необходимое количество эталонного раствора для погружения чувствительной части датчика, чистые вещества иностранного производства, а также очищенная вода с проводи-мостью не выше 5-10"^ См/м.___________________
-
3.2 Допускается применение аналогичных средств поверки, обеспечивающих определение метрологических характеристик поверяемых СИ с требуемой точностью (в т.ч. ГСО состава газовых смесей других типов не ниже 1 разряда, термометры лабораторные, обеспечивающие измерения температуры в диапазоне от 0 °C до плюс 50 °C и абсолютной погрешностью ±0,1 °C).
-
3.3 Все средства измерений, применяемые при поверке должны иметь действующие свидетельства о поверке, стандартные образцы - действующие паспорта.
-
4.1 При проведении поверки соблюдают следующие условия:
-
- температура окружающего воздуха, °C 20±5
-
- относительная влажность, % от 30 до 80
-
- атмосферное давление, кПа от 84 до 106,7
-
4.2 Перед проведением поверки выполняют следующие работы.
-
4.2.1 Анализатор подготавливают к работе в соответствии с руководством по его эксплуатации, при необходимости устанавливают на ПК ПО с сайта изготовителя (настройку, калибровку и регламентные работы должны быть выполнены до начала поверки).
-
4.2.2 Устанавливают и подготавливают к работе средства поверки в соответствии с их технической документацией.
-
4.2.3 Приготавливают раствор натрия сернокислого с массовой концентрацией 50 г/дм^ («нулевой» раствор). Навеску (12,5±1) г натрия сернокислого переносят в мерную колбу вместимостью 250 см^, добавляют дистиллированную воду до растворения , доводят раствор до метки и тщательно перемешивают. Отстаивают раствор не менее 1 часа при комнатной температуре. Для ускорения процесса деоксирования рекомендуется добавить к навеске натрия сернокислого примерно 10 мг кобальта хлористого. Раствор хранят в герметично закрытой емкости из стекла или полиэтилена не более 24 часов.
-
4.2.4 Собирают установку по схеме в приложении 1.
-
4.2.5 Устанавливают температуру термостата, выдерживают его до достижения установленной температуры, контролируя с помощью термометра.
-
5.1 Внешний осмотр
-
5.1.1 При внешнем осмотре проверяют и устанавливают:
-
-
- отсутствие механических повреждений;
-
- соответствие комплектности и маркировки анализатора технической документации;
-
- надежность крепления соединительных элементов;
-
- серийные номера.
-
5.1.2 . Анализаторы считают выдержавшими внешний осмотр, если они соответствуют требованиям, перечисленным в п. 5.1.1.
-
5.2 Опробование
-
5.2.1 При опробовании включают анализатор в соответствии с инструкцией по эксплуатации, проверяют отсутствие сообщений об ошибках и отказах при прохождении процедуры диагностики состояния прибора, проверяют отображаемую информацию (серийный номер, тип датчика). Выполняют пробное измерение в воздухе.
-
Результаты опробования считают положительными, если анализатор распознаются устройством отображения, отображаемые тип и серийный номер анализатора соответствуют маркировке, при диагностике сообщения об отказах и неисправностях отсутствуют; при выполнении пробных измерений результат измерений наблюдается на экране устройства отображения.
-
5.2 2 Проверка идентификационных данных ПО.
Проверку идентификационных данных выполняют, проверяя соответствие версии ПО версии, указанной в описании типа (2.x - для ПО трансмиттера Н100 pH и не ниже 3.5.0 для ПО Arc Air, установленное на ПК или мобильное устройство).
-
5.3 Определение метрологических характеристик. Определение основной относительной и приведенной к диапазону погрешности измерений массовой концентрации растворенного кислорода.
-
5.3.1 Измерения для «нулевого раствора, приготовленного по п. 4.2.3 проводят следующим образом. В чистый стакан наливают раствор, опускают стержень магнитной мешалки, опускают в раствор термометр и датчик и закрывают крышкой (Приложение 1). Помещают стакан в термостат, где задают термпературу плюс 25 °C. (допускается задавать температуру тер-мостатирования более близкую к температуре окружающей среды от 20 до 25 °C) Температуру раствора контролируют по термометру. После установления температуры (отклонение от температуры термостата не более ±0,2 °C) стакан с раствором достают из термостата и помещают на магнитную мешалку, предварительно протерев его салфеткой. Включают магнитную мешалку и, после установления показаний, записывают результаты измерений и температуру раствора. Показания должны установиться в течение 10 минут на уровне не более 3 % от первого поддиапазона измерений (0, 75 мкг/ дм^ для поддиапазона от 0 до 25 мкг/дм^ и 0,06 мг/дм^ для поддиапазона от о до 2 мг/дм^). В случае, если показания не устанавливаются в течение 10 минут или превышают указанные значения, повторяют указанную операцию с вновь приготовленным раствором.
-
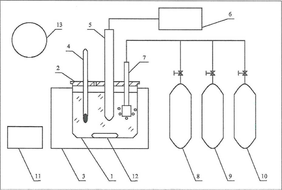
5.3.2 Измерения для контрольных (поверочных) растворов кислорода в воде выполняют следующим образом. Чистый стакан наполняют на 3/4 дистиллированной водой. В стакан 1 опускают стержень магнитной мешалки 11, закрывают крышкой 2 и помещают в термостат 3. В стакан с водой опускают датчик анализатора 5, термометр 4 и барботер 7, как показано на рисунке в приложении 1.
К барботеру через редуктор или вентиль тонкой регулировки присоединяют соответствующий баллон с ПГС (приложение 2), устанавливают примерный расход от 2 до 10 пузырьков в минуту (контролируют визуально). Проводят насыщение воды газовой смесью в течение не менее 30 минут до стабилизации показаний поверяемого анализатора.
После достижения устойчивых показаний стакан вынимают из термостата и ставят на магнитную мешалку, предварительно протерев его салфеткой. Включают магнитную мешалку и, после установления стабильных показаний, записывают показания массовой концентрации кислорода анализатора, температуру воды и атмосферное давление по барометру.
Поверочные растворы приготавливают непосредственно перед измерениями, начиная с меньшей концентрации
-
5.4 Обработка результатов поверки
-
5.4.1 Рассчитывают действительное значение массовой концентрации кислорода в контрольных (поверочных) растворах по формуле (1)
. Р ПГС V' ’
(1)
Pq ‘^0
где А - растворимость (равновесная концентрация) кислорода в воде при нормальном давлении (Ро= 101,3 кПа) и температуре t, определенная йодометрическим методом и опубликованная ISO (ИСО 5813) - таблица в приложении 3, мг/дм^;
Хпгс - значение объемной доли кислорода в ГСО состава газовой смеси (по паспорту), %;
Р - атмосферное давление при проведении поверки, кПа;
Ро - нормальное давление, Ро=1О1,3 кПа;
Хо - объемная доля кислорода в стандартной атмосфере, Хо = 20,94 %.
-
5.4.2 Основную погрешность анализатора определяют сравнением измеренного анализатором значения массовой концентрации, мг/дм^, кислорода в контрольном (поверочном) растворе и его действительным значением по формуле (2) - для основной приведенной к диапазону погрешности уо5%, и по формуле (3) - для относительной погрешности бо, %.
Zo =
С-Сп
----=^400
С
max
(2)
С-Сд ----^-100 с
(3)
где - С - результат измерений массовой концентрации растворенного в воде кислорода анализатором, мг/дм^ или мкг/дм^;
Сд - действительное значение массовой концентрации растворенного кислорода в растворе, мг/дм^ , определенное по формуле (1) (если единицы измерений - мкг/дм^; производят соответствующий пересчет);
Стах - верхняя граница поддиапазона, в котором нормирована приведенная погрешность,, мг/дм^ или мкг/дм^.
-
5.4.3 Результаты определения метрологических характеристик считают положительными, если значения основной приведенной к диапазону и относительной погрешности измерений соответствуют требованиям, приведенным в приложении 4 и в документации анализатора. В случае, если для какого-либо контрольного раствора получен отрицательный результат, допускается выполнить повторное измерение для вновь приготовленного раствора. При повторном отрицательном результате считают, что метрологические характеристики поверяемого анализатора на соответствует приведенным выше требованиям.
-
5.5 Результаты поверки считают положительными, если все операции поверки выполнены с положительным результатом. При получении отрицательного результата на каком-либо этапе поверки, поверку прекращают, прибор считают не прошедшим поверку.
-
6.1 Результаты поверки заносят в протокол произвольной формы
-
6.2 Положительные результаты поверки оформляют записью в ФГИС «Аршин» (с выдачей свидетельства по запросу заказчика) в соответствии с Порядком проведения поверки средств измерений, требований к знаку поверки и содержанию свидетельства о поверке (утв. приказом Минпромторга России № 2510 от 31.07.2020 г.).
-
6.3 На анализаторы, не удовлетворяющие требованиям настоящей методики, выдают извещение о непригодности с указанием причин в соответствии с Порядком проведения поверки средств измерений, требований к знаку поверки и содержанию свидетельства о поверке (утв. приказом Минпромторга России № 2510 от 31.07.2020 г.).
Начальник отдела
ФГБУ «ВНИИМС»
С.В. Вихрова
Приложение 1
(рекомендуемое)
Схема установки для поверки (Р 50.2.045-2005)


Рисунок 1-1 - Установка для поверки анализатора растворенного кислорода:
1 - стакан; 2 - крьппка; 3 - термостат; 4 - термометр; 5 - датчик; 6 - показывающее устройство (трансмиттер, ПК или мобильное устройство) 7 - барботер; 8, 9, 10 - баллоны с ГСО газовых смесей; 11 - магнитная мешалка; 12 - стержень магнитной мешалки; 13 - СИ для измерений давления.
Приложение 2
(рекомендуемое)
Таблица 3 - Приготовление контрольных растворов для поверки
Диапазон измерений массовой доли кислорода |
Содержание кислорода в ПГС и контрольных растворах |
Примечания | ||||
"Нулевой" раствор |
Раствор № 1 |
Раствор №2 |
Раствор №3 |
Раствор №4 | ||
от 0 до 20 мг/дм^ |
- |
(0,0968 ±0,025) |
(4,76 ± 0,05) % |
(12,42±0,07) % |
(48,8±0,1) % |
ПГС (ГСО № 10531-2014) |
раствор по п. 4.4.2 |
(0,037 ± 0,0096) мг/дм^ |
(1,80 ±0,02) мг/дм^ |
(4,80±0,03) мг/дм^ |
(18,80±0,04) мг/дм^ |
масс, конц-я О2 в воде (рассчитанная для ±25 °C и 101,3 кПа) |
Примечания;
1 Для поверки применяют ГСО состава газовых смесей не ниже 1-го разряда. Для поверки анализаторов с общим диапазоном измерений от О до 2000 мкг/дм^ могут применяться генераторы газовых смесей разбавительного типа (например, ГГС-03-03) в комплекте с ГСО газовьгх смесей, обеспечивающие приготовление поверочной газовой смеси с пределами относительной по-грещности не более ±2,5 %.
2. Значение объемной доли кислорода может незначительно выходить за рамки указанного диапазона при условии, что значение массовой концентрации, определенное по формуле (1), находится в указанном диапазоне массовой концентрации для выбранного контрольного раствора.
Приложение 3 (обязательное)
Значения равновесных концентраций Л кислорода при насыщении воды атмосферным воздухом при норма.тьиом атмосферном давлении 101,325 кПа (760 мм рт,ст.) в зависимости от тсмпсрат^'ры, мт/дм’’
0,0 |
0,1 |
0,2 |
0,3 |
0,4 |
0,5 |
0,6 |
0,7 |
0,8 |
0,9 | |
0.0 |
14,62 |
14,58 |
14,54 |
14,50 |
14,46 |
14,42 |
14,38 |
14,34 |
14,30 |
14,26 |
ко |
14,22 |
14,18 |
14,14 |
14.10 |
14,06 |
14,02 |
13.98 |
13,94 |
13,90 |
13,87 |
2.0 |
13,83 |
13,79 |
13,75 |
13^72 |
13,68 |
13,64 |
13,60 |
13.57 |
13,53 |
13,49 |
3.0 |
13,46 |
13,42 |
13,39 |
13,35 |
13.32 |
13,28 |
13,24 |
13.21 |
13,17 |
13,14 |
4,0 |
13,11 |
13,07 |
13,04 |
13,00 |
12,97 |
12,93 |
12,90 |
12.87 |
12,83 |
12,80 |
5,0 |
12,77 |
12,74 |
12,70 |
12,67 |
12,64 |
12,61 |
12,57 |
12.54 |
12,51 |
12,48 |
6,0 |
12,45 |
1^,38 |
12,35 |
12,32 |
12,29 |
12,26 |
12,23 |
12.20 |
12,17 | |
7,0 |
12,14 |
12,08 |
12,05 |
12,02 |
11,99 |
11,96 |
11.93 |
11,90 |
11,87 | |
8,0 |
11„84 |
11,81 |
11,79 |
11,76 |
11.73 |
11,70 |
11,67 |
11,64 |
11,62 |
11,59 |
9,0 |
11,56 |
11,53 |
11,51 |
11,48 |
1145 |
11,42 |
11,40 |
11,37 |
11,34 |
11,32 |
10,0 |
1L29 |
11,26 |
11,24 |
11,21 |
11,18 |
11,16 |
11,13 |
11.11 |
11,08 |
11,06 |
11,0 |
11,03 |
11,00 |
10,98 |
10,95 |
10,93 |
10,90 |
10,88 |
10,85 |
10,83 |
10,81 |
12.0 |
10.78 |
10,76 |
10,73 |
10,71 |
10,68 |
10,66 |
10,64 |
10.61 |
10.59 |
10,56 |
13.0 |
10,54 |
10,52 |
10,49 |
10,47 |
10,45 |
10,42 |
10,40 |
10.38 |
10.36 |
10,33 |
14,0 |
10,31 |
10,29 |
10,27 |
10,24 |
10.22 |
10,20 |
10,18 |
10,15 |
10,13 : |
10,11 |
15,0 |
10,08 |
10,06 |
10,04 |
10,02 |
10.00 |
9,98 |
9,96 |
9,94 |
9,92 |
9,90 |
16,0 |
9,87 |
9,85 |
9,83 |
9,81 |
9,79 |
9,77 |
9,75 |
9,73 |
9,71 |
9,69 |
17,0 |
9,66 |
9,64 |
9,62 |
9,60 |
9,58 |
9,56 |
9,54 |
9,52 |
9.50 |
9,49 |
18.0 |
9,47 |
9,45 |
9,43 |
9,41 |
9.39 |
9,37 |
9,36 |
9,34 |
9,32 |
9,30 |
19,0 |
9,28 |
9,26 |
9,24 |
9,32 |
9,21 |
9.19 |
9,17 |
9,15 |
9.13 |
9,11 |
20,0 |
9,09 |
9,08 |
9,06 |
9,04 |
9.02 |
9,01 |
8,99 |
8,97 |
8.95 |
8,93 |
21,0 |
S,91 ‘ |
8,89 |
8,87 |
8,86 |
8.85 |
8,83 |
8,81 |
8,80 |
8.78 |
8,76 |
22,0 |
8,74 |
8,73 |
8,71 |
8,69 |
8,68 |
8,66 |
8,64 |
8,63 |
8.61 |
8,60 |
23,0 |
8,58 |
8,56 |
8,55 |
8,53 |
8,51 |
8,50 |
8,48 |
8,47 |
8,45 |
8,43 |
24,0 |
8,42 1 |
8,40 |
8,39 |
8,37 |
8,36 |
8,34 |
8,32 |
8,31 |
8.29 ! |
8,28 |
25,0 |
8,26 |
8,25 |
8,23 |
8,22 |
8.20 |
8,19 |
8,17 |
8,16 |
8,14 |
8,13 |
26,0 |
8,11 |
8,10 |
8,08 |
8,07 |
8.05 |
8.04 |
8,02 |
8,01 |
7,99 |
7,98 |
27,0 |
7,91 |
7,95 |
7,94 |
7,92 |
7,91 |
7,89 |
7,88 |
7,87 |
7,85 ; |
7,84 |
28,0 |
7,83 |
7,81 |
7,80 |
7,78 |
i:?7 |
7,76 |
7,74 |
7,73 |
7,71 |
7,70 |
29,0 |
7,69 |
7,67 |
7,66 |
7,65 |
7,63 |
7,62 |
7,61 |
7,59 |
7.58 |
7,57 |
30,0 |
7,56 |
7,54 |
7,53 |
7,52 |
7,50 |
7,49 |
7,48 |
7,46 |
7,45 |
7,44 |
31,0 |
7,44 |
7,43 |
7,42 |
7.41 |
7,39 |
7,38 |
7,37 |
7,36 |
7,35 | |
1 32,0 |
7,33 |
7,32 |
7,31 |
7,30 |
7.29 |
7,28 |
7,26 |
7,25 |
7,24 |
7,23 |
33,0 |
7,22 |
7,21 |
7,19 |
7,18 |
7,17 |
7,16 |
7,15 |
7,14 |
7,13 |
7.11 |
34,0 |
7,10 |
7,09 |
7,08 |
7,07 |
7,06 |
7,05 |
7,04 |
7,03 |
7,01 |
7,00 |
35,0 |
6,99 |
6,98 |
6,97 |
6,96 |
6,95 |
6,94 |
6,93 |
6,92 |
6,90 |
6,89 |
Приложение 4 (обязательное)
Таблица 4-1 - Метрологические характеристики
Модель |
Диапазон показаний массовой концентрации растворенного О2 |
Поддиапазон измерений |
Пределы допускаемой основной погрешности | |
приведенной к поддиапазону, % |
относительной, % | |||
VisiTrace |
от 0 до 2000 мкг/дм^ |
от 0 до 25 мкг/дм^ включ. |
±5 |
- |
св. 25 до 2000 мкг/дм^ включ. |
- |
±5 |