Методика поверки «Теплосчетчики ТЭМ-104» (МРБ МП. 1419-2004)
Копия

ООО
A.I1.
2004 г


Г л. бухгалтер
СООО «АРВАС» L'W- СмО.Евина
Дгта
2004
Содержание
Вводная часть
Настоящая методика поверки (далее МП) распространяется на теплосчетчики ТЭМ-104 (в дальнейшем - теплосчетчики) и устанавливает методику и средства их первичной и периодической поверок.
Теплосчетчики предназначены для измерения, индикации и регистрации с целью коммерческого и технологического учета значений потребленного (отпущенного) количества тепловой энергии, объема и массы теплоносителя и других параметров систем теплоснабжения и горячего водоснабжения, охлаждения (кондиционирования), а также для автоматизации учета, телеметрического контроля, организации информационных сетей сбора данных с использованием ( проводных и беспроводных каналов связи. '
Области применения теплосчётчиков: предприятия тепловых сетей, тепловые пункты жилых, общественных и производственных зданий, центральные тепловые пункты, источники теплоты, тепловые сети и системы охлаждения (кондиционирования) объектов (зданий) промышленного и бытового назначения, коттеджи и квартиры.
Теплосчетчики могут быть использованы для создания автоматизированных систем контроля, учета и регулирования тепловой энергии.
Теплосчетчики подлежат обязательной первичной государственной поверке при выпуске из производства, а также после ремонта и периодической поверке по истечению межповерочного интервала согласно ТКП 8.003. Поверку теплосчётчиков проводят поэлементно.
В состав теплосчетчиков входят:
-
- электронно-вычислительный блок (ИВБ);
-
- электромагнитный первичный преобразователь расхода (ППР);
-
- термопреобразователи сопротивления (ТС) или комплект(ты) ТС;
-
- датчики избыточного давления - по заказу;
-
- измерительные преобразователи расхода с импульсным выходом (ИП) - по заказу.
В МП приняты следующие сокращения:
ИВБ - измерительно-вычислительный блок;
ППР - первичный преобразователь расхода;
DN - номинальный диаметр фланцевого соединения ППР;
ИП - измерительный преобразователь расхода;
ТС - термопреобразователъ сопротивления;
ДИД - датчик избыточного давления;
ЖКИ - жидкокристаллический индикатор;
ПК - IBM-совместимый персональный компьютер.
qi - нижний предел измерения расхода теплосчетчика (в руководстве по эксплуатации на теплосчетчик обозначается Gh)
qp - верхний предел измерения расхода теплосчетчика (в руководстве по эксплуатации на теплосчетчик обозначается Gb)
-
1. Нормативные ссылки
В настоящей МП использованы ссылки на нормативные правовые акты в области технического нормирования и стандартизации (ТНПА).
-
1. ТКП 8.003-2011 Система обеспечения единства измерений Республики Беларусь. Поверка средств измерений. Правила проведения работ
-
2. ТКП 8.004-2012 Система обеспечения единства измерений Республики Беларусь. Метрологическая аттестация средств измерений. Правила проведения работ
-
3. ТКП 181-2009 Правила технической эксплуатации электроустановок потребителей
-
4. ТКП 427-2012 Правил техники безопасности при эксплуатации электроустановок
-
5. CTBEN 1434-1-2011 Теплосчетчики. Часть 1. Общие требования
-
6. СТБ EN 1434-5-2011 Теплосчетчики. Часть 5. Первичная поверка
-
7. СТБ ГОСТ Р 51649-2004 Теплосчётчики для водяных систем теплоснабжения Общие технические условия
-
8. СТБ ISO 4064-1-2007 Измерение расхода воды в закрытых трубопроводах под полной нагрузкой. Счетчики холодной питьевой воды и горячей воды. Часть 1. Технические требования
-
9. СТБ 8039-2014 Система обеспечения единства измерений Республики Беларусь. Комплекты термопреобразователей сопротивления платиновых для теплосчетчиков. Методика поверки
-
10. ГОСТ 12.2.007-75 Изделия электротехнические. Общие требования безопасности
-
11. ГОСТ 12.2.086-83 Гидроприводы объемные и системы смазочные. Общие требования безопасности к монтажу, испытаниям и эксплуатации
-
12. ГОСТ 12 3.019-80 Испытания и измерения электрические. Общие требования безопасности
-
13. ГОСТ 8.461-2009 Государственная система обеспечения единства измерений. Гермопреобразователи сопротивления из платины, меди и никеля. Методика поверки
-
14. ГОСТ 6651-2009 Государственная система обеспечения единства измерений. Термопреобразователи сопротивления из платины, меди и никеля. Общие технические требования и методы испытаний
-
15. ГОСТ 23737-79 Меры электрического сопротивления. Общие технические условия
2. Операции поверки
При проведении поверки должны выполняться операции, указанные в таблице 1. Таблица 1
Наименование операции |
Номер пункта методики поверки |
Обязательность проведения операции | ||||
1 г S сь Z — © 1 — ф £ |
а
|
при поверке | ||||
1 2 |
|
пер-вич ной |
пе-рио-диче-скен | |||
1 |
2 |
3 |
5 |
6 |
7 |
8 |
Внешний осмотр |
6.1 |
+ |
-г |
+ |
+ | |
Опробование |
6.2 |
+ |
4- |
+ |
+ |
+ |
Проверка электрического сопротивления изоляции электродов ППР |
6.2.1 |
+ |
+ |
+ |
+ |
+ |
Проверка электрического сопротивления изоляции цепей питания 1111Р и ИВБ |
6.2.2 |
+ |
+ |
4- |
4- | |
Определение относительной погрешности измерения расхода теплоносителя |
6.3 |
+ |
+ |
+ |
+ | |
Определение относительной погрешности ИВБ при вычислении количества теплоты (погрешности вычислителя) |
6.4 |
+ |
+ |
4- |
+ |
4_ |
Поверка измерительных преобразователей расхода (ИП) |
6 5 |
- |
- |
+ |
+ | |
Поверка измерительных преобразователей температуры (ТС) |
6.5 |
+ |
■ ж |
+ |
.+ |
+ |
Определение относительной погрешности измерительного канала количества теплоты |
6.6 |
+ |
+ |
+ |
■ 4" |
+ |
Окончание таблицы 1
1 |
2 |
3 |
5 |
6 |
7 |
8 |
Определение относительной погрешности ИВБ при вычислении объема и массы теплоносителя |
6.7 |
+ |
+ |
+ |
+ |
+ |
Определение абсолютной погрешности ИВБ при преобразовании сигналов от ТС и измерении температуры |
6.8 |
+ |
+ |
+ |
+ |
+ |
Определение приведенной погрешности ИВБ при преобразовании сигналов от ДИД и измерении давления |
6.9 |
+ |
+ |
- |
4- | |
Определение приведенной погрешности преобразования измеренного значения температуры в сигнал постоянного тока в диапазоне 4-20 мА |
6.10 |
4- |
- |
X | ||
Определение относительной погрешности при измерении времени |
6.11 |
+ |
+ |
+ |
+ |
+ |
Примечания
Операции поверки (пп. 6.9, 6.10) производятся только для имеющихся в наличии и указанных в спецификации заказа измерительных каналов теплосчетчика;
"+" - операция поверки проводится, - операция поверки не проводится.
-
2.2 Если при проведении поверки будет обнаружено несоответствие теплосчетчика любому из вышеперечисленных требований, то дальнейшая поверка прекращается до устранения причин несоответствия.
3. Средства поверки
При проведении поверки должны применяться эталоны и вспомогательные средства поверки, указанные в таблице 2.
Таблица 2
Наименование |
Метрологические и основные технические характеристики |
Обозначение ТИПА |
Установка поверочная для счётчиков жидкости |
Допускаемая основная относительная погрешность - не более ±0,3 % Диапазон расходов - от 0,015 до 600,000 м3/ч |
По действующим ТИПА |
Частотомер электронно счетный вычислительный 43-64/1 |
Относительная погрешность ±5 • 10’7. Диапазон измеряемых частот непрерывных сигналов, от 0,005 до 1500,000 МГц |
[1] |
Секундомер электронный СТЦ2 |
Погрешности измерения интервалов времени не превышают А=±(15- 10'6- Т+С), где Т значение измеряемого интервала времени, С=1 при цене деления 1 с, С=0,01 при цене деления 0,01 с |
[2] |
Генератор прямоугольных импульсов Г5-60 |
Погрешность установки периода следования импульсов ±(3 нс + 0.1т) |
[3] |
Магазин сопротивлений Р4831 ......... |
Класс 0,02/2- 106,3 разряд |
ГОСТ 23737 |
Миллиамперметр Щ-300 |
Диапазон измерения: от 100 нА до 1 А; Погрешность от 0,05 % до 0,2 % |
[4] |
Калибратор программируемый П320 |
Диапазон калиброванных выходных напряжений от 10"5 до 103 В, токов от 10’9 до 10'1 А |
[5] |
Мегаомметр Е6-16 |
Относительная погрешность ± 20 %. Поминальное напряжение 500 В |
[12] |
Окончание таблицы 2
Гигрометр психрометрический ВЙТ-2 |
Д иапазон измерения относительной влажности от 20 % до 90 %. Диапазон измерения температуры от 15 °C до 40 °C. Абсолютная погрешность термометров гигрометра с учетом введения поправок не должна превышать ±0,2 °C. |
[13] |
Барометр - анероид метеорологический БАММ-1 |
Диапазон измеряемого давления от 80 до 106 кПа. Пределы допускаемых погрешностей барометра, не более: основной ±0,2 кПа; дополнительной ±0,5 кПа |
[14] |
Примечание - Допускается применение других средств поверки, обеспечивающих требуемую точность измерений в заданных диапазонах, прошедших метрологическую аттестацию в органах государственной метрологической службы и имеющих соответствующие документы подтверждения согласно ТКП 8.004 |
4. Требования безопасности
-
4.1 К проведению поверки допускаются лица, изучившие эксплуатационную документацию на теплосчетчик [8]; [9]; [10]; [11], применяемые средства поверки, прошедшие инструктаж по технике безопасности.
-
4.2 Все подключения средств поверки к теплосчетчику необходимо производить при отключенном напряжении питания.
-
4.3 При проведении поверки должны соблюдаться требования к безопасности по ГОСТ 12.2.007.0, ГОСТ 12.2.086, ГОСТ 12.3.019, ТКП 181и ТКП 427.
5. Условия поверки и подготовка к ней
-
5.1 При проведении поверки должны быть соблюдены следующие условия:
-
- поверочная жидкость - вода;
-
- температура поверочной жидкости от 10 °C до 40 °C;
-
- температура окружающего воздуха от 15 °C до 25 °C;
-
- относительная влажность окружающего воздуха от 30 % до 80 %;
-
- атмосферное давление от 86,0 до 106 кПа (от 630 до 800 мм.рт.ст.);
-
- напряжение питания ИВБ от 187 до 253 В;
-
- частота сети питания от 49 до 51 Гц;
внешние электрические и магнитные поля (кроме поля Земли), влияющие на работу теплосчётчиков, отсутствуют;
вибрация и тряска, влияющие на работу теплосчетчиков и средств измерений, отсутствуют;
прямолинейный участок трубопровода не менее трех диаметров условного прохода до плоскости электродов установленного первичного преобразователя расхода (ППР) и одного -после.
-
5.2 Подготовка к проведению поверки включает следующие операции: установку ППР теплосчетчика на измерительный участок образцовой расходомерной установки в соответствии с требованиями [8]; [9]; [10]; [11] и инструкции по эксплуатации расходомерной установки;
заполнение внутреннего объёма измерительного участка водой и выдержку не менее 5 Мин при расходе от 50 % до 90 % от наибольшего;
подключение составных частей теплосчетчика и средств поверки в соответствии с рисунками А. 1 - А.6 приложения А;
подключение теплосчетчика к сети питания и проверку функционирования органов управления (кнопок).
-
6. Проведение поверки
6.1 Внешний осмотр
При внешнем осмотре должно быть установлено:
-
- наличие паспорта с указанием комплектности теплосчетчика;
-
- комплектность, согласно паспорта;
-
- наличие пломб предприятия-изготовителя;
-
- отсутствие дефектов^ препятствующих чтению надписей, маркировки, отсчету показаний по ЖКИ;
-
- отсутствие на корпусе ИВБ трещин, сколов и Других повреждений;
-
- отсутствие повреждений сетевого шнура, герметичных вводов;
-
- отсутствие повреждений элементов коммутации;
-
- отсутствие трещин фторопласта ППР;
-
- отсутствие внутри составных частей теплосчетчика незакрепленных деталей и посторонних предметов.
6.2 Опробование
Опробование включает следующие операции:
-
- проверку индикации установленных и измеряемых параметров на индикаторе (ЖКИ) ИВБ;
-
- проверку работоспособности теплосчетчика при измерении температуры в пределах от 0 °C до 150 °C путем изменения устанавливаемых на магазинах значений сопротивлений;
-
- проверку работоспособности теплосчетчика при измерении объемного и массового расхода, объема и массы теплоносителя в пределах рабочего диапазона:
-
- проверку установки индикатора расхода теплосчетчика на ноль при отсутствии расхода;
-
- проверку работоспособности интерфейсов RS-485, RS-232, USB, Ethernet путём сличения паспортных значений установленных параметров (DN, Gb) на индикаторе теплосчетчика и выводимых на экран монитора ПК. Теплосчетчик считают прошедшим проверку, если в процессе ее проведения не обнаружено разночтений между информацией на индикаторе теплосчетчика и информацией, выводимой на монитор;
-
- соответствие электрического сопротивления изоляции установленным требованиям.
-
6.2.1 Проверку электрического сопротивления изоляции электродов ППР производят мегаомметром с номинальным напряжением 500 В. Внутренняя поверхность канала ППР должна быть сухой и чистой. Проверку проводят при отключённом ЙВБ от ППР. Один зажим мегаомметра с обозначением "ЗЕМЛЯ" соединить с корпусом, а другой - с каждым из электродов ППР.
Результаты проверки считают положительными, если значение сопротивления изоляции | электродов не менее 100 МОм.
-
6.2.2 Проверку электрического сопротивления изоляции цепей питания ППР и ИВБ относительно корпуса (защитного экрана) ПНР и ИВБ соответственно производят мегаомметром. Мегаомметр подключают между замкнутыми накоротко проводами цепи питания ИВБ (ППР) и корпусом.
Результаты проверки считают положительными, если измеренное значение сопротивления изоляции составляет не менее 40 МОм.
При проведении проверки по определению электрического сопротивления изоляции отсчет показаний по мегаомметру производят по истечению одной минуты после приложения испытательного напряжения.
Примечание опробование ИП, ТС проводится по методикам поверки на эти изделия.
6.3 Определение относительной погрешности измерения расхода теплоносителя
При проведении операции поверки используется расходомерная поверочная установка. Составные части теплосчетчика и средства поверки подключаются в соответствии со схемами, приведенными на рисунках А. 1 - А.6 приложения А.
Операция поверки проводится для каналов GI и G2.
Для исполнения теплосчетчика ТЭМ-104- (1; 2; 3; 4; К) точки поверки выбираются согласно таблице 3 с учетом диаметра условного прохода ППР.
Для исполнения теплосчетчика ТЭМ-104М- (1; 2; 3.; 4) точки поверки выбираются согласно таблице 4 с учетом диаметра условного прохода ПНР.
Если расходомерная установка не воспроизводит расходов, соответствующих 90 % qp, то допускается в 3-й контрольной точке выполнять измерения на максимальном воспроизводимом установкой расходе, при условии, что его значение не менее 60 % qp.
Поверка в 4-й контрольной точке (таблица 4) проводится только для теплосчётчиков класса 1 по СТБ EN 1434-1.
Таблица 3 - Точки поверки для исполнения теплосчетчика ТЭМ-104- (1; 2; 3; 4, К)
DN, мм |
Яр, м3/ч |
Контрольные точки при измерении расхода | |||||
1 (qi, м-/ч) |
2 (10 % от qp, м3/ч) |
3 (90 % от qp, м3/ч) | |||||
15 |
1,50 |
0,015 |
(0,01575) |
0,15 |
(0,1425-0,1575) |
1,35 |
(1,2825-1,4175) |
15 |
6,00 |
0,015 |
(0,01575) |
0,60 |
(0,57-0,63) |
5,4 |
(5,13-5,67) |
20 |
3,00 |
0,03 |
(0,0315) |
0,30 |
(0,285-0,315) |
2,7 |
(2,565-2,835) |
25 |
16,0 |
0,04 |
(0,042) |
1,60 |
(1,52-1,68) |
14,4 |
(13,68-15,12) |
32 |
30,0 |
0,075 |
(0,07875) |
3 |
(2,85-3,15) |
27 |
(25,65-28,35) |
40 |
40,0 |
0,4 |
(0,42) |
4 |
(3,8-4,2) |
36 |
(34,2-37,8) |
50 |
60,0 |
0,15 |
(0,1575) |
6 |
(5,7-6,3) |
54 |
(51,3-56,7) |
80 |
160,0 |
0,4 |
(0,42) |
16 |
(15,2-16,8) |
144 |
(136,8-151,2) |
100 |
300,0 |
0,75 |
(0,7875) |
30 |
(28,5-31,5) |
270 |
(256,5-283,5) |
150 |
600,0 |
1,5 |
(1,57) |
60 |
(57-63) |
540 |
(513-567) |
Примечания:
-
1 Установку расхода жидкости, соответствующего выбранной контрольной точке, следует осуществлять с погрешностью не более ±5 % от расчетного значения (+5 % для точки поверки 1 (qi)) В скобках указаны граничные значения объемного расхода в контрольной точке
-
2 Если расходомерная установка не воспроизводит расходов, соответствующих точке поверки, то для теплосчетчиков с датчиком потока DN 150 мм произведенных до 01.01.2015 допускается при периодической поверке в точке поверки с наибольшим значением расхода выполнять измерения на максимальном воспроизводи-мом установкой расходе, при условии, что его значение не менее 180 м3/ч
Таблица 4 - Точки поверки для исполнения теплосчетчика ТЭМ-104М- (1; 2; 3; 4)
DN, мм |
Яр> м3/ч |
Контрольные точки при измерений расхода | |||
1 (q„ м3/ч) |
2 (10 % от qp, м3/ч) |
3 (90 % от qp, м3/ч) |
4 (0,4 % от qp, м3/ч) | ||
15 |
6,30 |
0,01575 |
0,63 |
5,67 |
0,0252 |
25 |
16,0 |
0,04 |
1,60 |
14,4 |
0,064 |
32 |
25.0 |
0,0625 |
2,5 |
22,5 |
0,1 |
40 |
40,0 |
0,1 |
4 |
36 |
0,16 |
50 |
63,0 |
0,1575 |
6,3 |
56,7 |
0,252 |
80 |
160,0 |
0,4 |
16 |
144 |
0,64 |
100 |
250,0 |
0,625 |
25 |
225 |
1 |
150 |
630,0 |
1,575 |
63 |
567 |
2,52 |
Примечание - Установку расхода жидкости, соответствующего выбранной контрольной точке, следует осуществлять с погрешностью не более ±5 % от расчетного значения (+5 % для точки поверки 1 (qi))
В каждой контрольной точке проводится по фи измерения и определяется относительная погрешность.
Относительная погрешность при измерении расхода теплоносителя в процентах определяется по формуле (1) при проведении операции поверки методом сличения, по формуле (2) -при поверке объемным методом.
х 100 %,
О)
где ди показания, индицируемые на ЖКИ, м3/ч;
q0- показания расходомерной установки, усредненные за время измерения, м3/ч.




100

(2)
где Vo - объем, измеренный эталонным средством (мерником), м3.
1шм - интервал времени однократного измерения (интервал времени между сигналами «старт» и «стоп»), с.
Тизм рекомендуется выбирать не менее:
120 с в 1-й контрольной точке;
-
- 30 с во 2-й контрольной точке;
-
- 30 с в 3-й контрольной точке;
120 с в 4-й контрольной точке.
Теплосчетчики считают прошедшими поверку, если относительная погрешность измерения расхода теплоносителя в каждой контрольной точке не превышает значений:
для класса 2(B): - в 1-й точке ±5,0 % (4 %)♦;
- во 2-й точке ±1,6 %;
для класса 1(C): - в 1-й точке ±2,4 %;
- во 2-й точке ±0,84 %;
-в 3-й точке ±1,5%;
- в 3-й точке ±0,8 %.
-в4-йточке ±1,8%.
Примечание* - в скобках указаны пределы допускаемой относительной погрешности измерения расхода в точке 1 для теплосчетчиков ТЭМ-104-К с qP=l,5 м3/ч (DN 15 мм) и =3,0 м3/ч (DN 20 мм).
6.4 Определение относительной погрешности ИВБ при вычислении количества теплоты (погрешности вычислителя)
Операцию поверки проводить для каждого измерительного канала.
Подключить средства поверки к ИВБ в соответствии с рисунками А. 2 - А. 6 приложения А. Поверка выполняется в контрольных точках 1-3, указанных в таблице 5. Для теплосчётчиков, работающих в системах охлаждения, поверка выполняется в контрольных точках 1-4, указанных в таблице 5.
Установить переключатели магазинов сопротивлений в положение, соответствующее значениям сопротивлений термопреобразователей в контрольной точке таблицы 5.
Установить на генераторе параметры выходного сигнала для каналов G3 - G8 (число каналов определяется исполнением теплосчетчика): частота - 10 кГц , амплитуда - 5 В, положительная полярность, скважность - 2.
Перевести ИВБ в режим "Поверка".
Примечание - в режиме "Поверка" в ИВБ;
-
- автоматически имитируются значения избыточного давления, равные 0,9 и 0,5 МПа в подающих и обратных трубопроводах соответственно;
-
- автоматически имитируются значения объемных расходов в каналах G1 и G2, равныезиачениямнаиболь-шего расхода qp каждого канала;
-
- автоматически устанавливаются значения частот, соответствующих максимальным расходам в каналах с G3, G4, равными ГО кГц.
Таблица 5
онтрольной точки
Значение температуры тсп-
Разность температуры теп-| доносителя в трубопрово- 1 дахАв,°С
Тепловой коэффициент К, 1 МДж/м3
Обозначение НСХ термопреобразователей
лоносн трубой
теля в роводе
100 П 1 Pt 100
(W100=13910) 1 (W100=13850)
soon (W10o=l,3910)
Pt 500 (Wi00=l,3850)
h.
с
£ и
С5 ° „ Си О 3 ф
Значения сопротивлений, Ом, соответствующие ...... значениям температуры воды в трубопроводе
Номер к
подающ
обрати
подающ
обрати
подающ
обрати
подающ
обрати
1
60
58
2
8,55576
123,61
122,83
123,24
122,47
618,05
614,15
616,20
612,35
2
80
65
15
61,4196
131,39
125,56
130,90
125,16
656,95
627,80
654,50
625,80
3
145
10
135
523,98
156,32
103,96
155,46
103,90
781,60
519,80
777,30
519,5
4
145
135
10
39,7205| 156,32
152,52
155,46
151,71
781,60
762,60
777,30
758,55
Программно установить в вычислителе интервал времени наблюдения (рекомендуемый -120 с). Перевести ИВБ в режим счета с накоплением. Счет с накоплением будет вестись по каждому измерительному каналу количества теплоты. Остановка накопления по истечении времени наблюдения производится автоматически с допуском, определяемым внутренним таймером ИВБ.
Примечание - в ИВБ имеется возможность изменять время наблюдения программно в интервале от 30 до 600 с
Зафиксировать накопленное значение количества теплоты QH в каждом измерительном канале от G1 до G4.
Относительная погрешность вычислителя при определении количества теплоты Ес в процентах рассчитывается по формуле (3)
Ес =
-Л--1 -100%
(3)
<QP J
(5)
где QH - значение количества теплоты, накопленное за время наблюдения, кВт-ч; Qp - расчетное значение количества теплоты с нарастающим итогом за время наблюдения в выбранной точке, кВт-ч, определять по формуле (4).
Qp = K-Vp (4)
где К - тепловой коэффициент, соответствующий контрольной точке, кВт-ч/м3, приведенный в таблице 5;
Vp - расчетное значение объема теплоносителя в контрольной точке, м3.
Vp в каналах G1 и G2 определяется по формуле (5) Vp = Т • qp / 3600
Vp в каналах с G3 по G8 определяется по формуле (6)
T-q
V =-----Р--f
(6)
Р 3600-fmax
где f0 - значение частоты по показаниям образцового частотомера, Гц;
Стах а значение частоты при максимальном расходе, Гц (в режиме fmax=10000 Гц);
"Поверка"
qp - значение максимального расхода, м3/ч (установлено в ИВБ программно и соответствует паспортному значению ИП, подключаемого к измерительному каналу ИВБ);
Т - время наблюдения, с (Т = 120 с).
Теплосчетчики считают прошедшими поверку, если относительная погрешность ИВБ, определяемая по формуле (3), в каждом измерительном канале не превышает ±1,5 %, ±0,6 %, ±0,5 % и ±0.7 % в 1-й, 2-й, 3-й и 4-й контрольных точках соответственно.
6.5 Поверка измерительных преобразователей (ИП, ТС)
Поверка термопреобразователей сопротивления производится по ГОСТ 8.461, на соответствие классам А или В по 1 ОСТ 6651.
Поверка входящих в состав теплосчетчика комплектов ТС, зарегистрированных в Государственный реестр средств измерений Республики Беларусь как средства измерений с установленными для них собственными межповерочными интервалами, выполняется в сроки и по методикам поверки на эти изделия, утвержденным и согласованным в установленном порядке или но СТБ 8039-2014.
Для комплектов ТС, устанавливаемых в составе теплосчётчика на системах охлаждения, должна быть дополнительно проведена поверка по СТБ 8039 в точке с разностью температур в диапазоне от 35 °C до 45 °C
Поверка РСМ-05 производится по [15], РЭМ-01- по [16], крыльчатых и турбинных счетчиков-по [6; 7], [17, п.7.3.3], [18, п.4.3.1.2].
6.6 Определение относительной погрешности измерительного канала количества теплоты
Операция поверки проводится для каждого канала в контрольных точках:
-
- A®=A®min и q=0,9qP;
-
- А® =15°С и q=0,l qp;
-
- Д®=135°С Hq=qj.
Определение относительной погрешности измерительных каналов количества теплоты Е, в процентах, производить путем расчёта по формуле (7) в каждой контрольной точке.
Е =±(|Ef| + |Ec| + | Et ) (7)
где Ef - относительная погрешность канала измерения расхода, %.
Для каналов G1 и G2 это максимальное абсолютное значение Ef, полученное в контрольных точках таблицы 3 (п.5.3), %.
Для каналов G3-G4 это относительная погрешность измерительного преобразователя расхода (расходомера или счетчика жидкости);
Ес - относительная погрешность ИВБ при вычислении количества теплоты в контрольных точках таблицы 5, %;
Et - относительная погрешность комплекта ТС при измерении разности температур теплоносителя в контрольных точках, %. При отсутствии технической возможности измерения температуры холодной воды теплосчётчик может комплектоваться одиночными термопреобразователями сопротивления. В этом случае для определения относительной погрешности измерительного канала количества теплоты используется максимальная допускаемая относительная погрешность комплекта ТС при измерении разности температур теплоносителя в контрольных точках, %.
Так как у теплосчетчиков измерение количества теплоты может производиться по нескольким независимым системам, то определение относительной погрешности измерительных каналов количества теплоты рассчитывается для каждой системы отдельно.
Относительная погрешность измерительного канала количества теплоты, определяемая по формуле (7), не должна превышать пределы допускаемой относительной погрешности измерительного канала количества теплоты Е, рассчитанные по формулам:
для класса 2 по СТБ EN 1434 (В по СТБ ГОСТ Р 51649)
Е = ±(3+4A0min /A®+0,02qp/q)
что составляет:
при А® =А® mtn и q=0,9qp при Д0=15°С Hq=O,lqp при А® =135°С и q= qt
Зам. 5
Теплосчётчики ТЭМ-104 Методика поверки МП для класса 1 по СТБ EN 1434 (С по СТБ ГОСТ Р 51649)
Е = ±(2+4A0mjn /Д0 +0,01 qp/q) (9)
что составляет: при Д0 =Д0 mjn и q=0,9qp ±6,0 %;
при Д0=15ЦС Hq=0,lqp ±2,63%;
при Д0=135°С Hq=qj ±6,06%.
-
6.7 Определение относительной погрешности ИВБ при вычислении объема и мас
сы теплоносителя
Операция поверки выполняется в 3-й контрольной точке таблицы 5 для всех каналов измерения расхода.
Допускается совмещать с операцией поверки по п. 6.4. При выполнении п. 6.4 зафиксировать показания объема V„ и массы Ми, накопленные в каждом измерительном канале за интервал времени измерения.
Относительная погрешность ИВБ при вычислении объема теплоносителя (£д) рассчитывается в процентах по формуле

•100% (10)
где Уи - значение объема теплоносителя, накопленное за интервал времени наблюдения, м3;
Vp определять по формуле (5) или (6) (см. п. 6.4).
Относительная погрешность ИВБ при вычислении массы теплоносителя (£>), в процентах, рассчитывается по формуле

-*--1 М
•100%
(Н)
< р ;
где Ми - значение массы теплоносителя, накопленное за время наблюдения, т;
Мр определяется по формуле
Мр = 0,001 • р- Vp (12)
где р - плотность воды, кг/м3 (по [19] при t = 145 °C, Ризб = 0,9 МПа плотность воды р = 921,97 кг/м3).
Теплосчётчики считаются прошедшими поверку, если относительная погрешность при вычислении объёма теплоносителя не превышает +0,1 %, относительная погрешность при вычислении массы теплоносителя не превышает ±0,15 %.
6.8 Определение абсолютной погрешности ИВБ при преобразовании сигналов от ТС и измерении температуры
Операцию поверки проводить для всех каналов измерения температуры. Поверку проводить путем имитаций сигналов от ТС магазинами сопротивлений (см. схемы на рисунках А.2 -А.6 приложения А) в соответствии с номинальной статической характеристикой используемых термопреобразователей. Допускается совмещать с операцией поверки по п. 6.4.
Установить переключатели магазинов сопротивлений в положение, соответствующее значениям сопротивлений ТС при температуре 0 °C (100,00 Ом для ТС с номинальной статической характеристикой Pt 100 и 100 П) и зафиксировать в протоколе показания температуры, индицируемые на ЖКИ.
Повторить операцию при значениях сопротивлений ТС при температуре 60 °C и 145 °C.
Абсолютную погрешность измерения сигнала от ТС вычислять по формуле
А0и = 0и-® (13)
где Ои - значение температуры, индицируемое на ЖКИ, °C;
0 - значение температуры в контрольных точках (0; 60; 145), °C.
Теплосчётчики считают прошедшими поверку, если абсолютная погрешность измерения каждого температурного канала, определенная по формуле (13), не превышает ±(0,2+0,0010) °C.
6.9 Определение приведенной погрешности ИВБ при преобразовании сигналов от ДИД и измерении давления
Установить в ИВБ режим измерения сигналов от датчиков Избыточного давления в диапазоне от 4 до 20 мА и войти в меню индикации избыточного давления.
Операцию поверки проводить в контрольных точках согласно таблице 6.
Подать с калибратора тока на вход ДИД1 ток, пропорциональный значениям избыточного давления (таблица 6).
Таблица 6
Диапазон |
Диапазон |
Номер контрольной точки | |||||
выходных |
1 |
2 |
3 | ||||
U s*IVl V IL> VJU ti М j МПа |
токов ДИД, |
Ток, I, |
РизбР, |
Ток, I, |
РизвРз |
Ток, I, |
Р избР, |
мА |
мА |
МПа |
мА |
МПа |
мА |
МПа | |
0-1,6 |
4-20 |
4,800 |
0,08 |
12,00 |
0,80 |
20,00 |
1,60 |
Зафиксировать индицируемые на ЖКИ теплосчетчика показания избыточного давления в каждом канале. Приведенная погрешность измерения избыточного давления ур в процентах рассчитывается по формуле

х100% (14)
\ - max /
где Ршби - значение давления, индицируемое на ЖКИ, МПа;
Ри3бР ~ расчетное значение давления, приведенное в таблице 6, МПа,
Ртах. - максимальное значение измеряемого давления (Ртах =1,6 МПа).
Повторить операцию поверки для каналов ДИД2-ДИД4. Результаты измерений внести в протокол.
Теплосчётчики считают прошедшими поверку, если приведенная погрешность измерения каждого канала во всех контрольных точках не превышает ±0,15 %.
6.10 Определение приведённой погрешности преобразования измеренного значения температуры в сигнал постоянного тока в диапазоне от 4 до 20 мА
На магазине сопротивлений установить значение Ro согласно таблице 7 и зафиксировать значение тока на токовом выходе в контрольных точках.
Таблица 7
Контрольная точка |
100П |
Pt 100 |
500П |
Pt 500 |
t,°c |
Ro, Ом |
Ro, Ом |
Ro, Ом |
Ro, Ом | ||
1 |
156,33 |
.....155,46 |
781,65 |
777,30 |
145 |
2 |
103,96 |
103,90 |
519,80 |
519,50 |
10 |
Приведенная погрешность преобразования измеренного значения температуры в унифицированный сигнал постоянного тока определяется по формуле
( I -I 'I
х1()0
(15)
I -I
\1тах ‘пип у
где 1и - измеренное значение тока в выбранной точке, мА;

lp~ t ‘max

max ^min ) + ^min
- расчетное значение выходного тока;
tp- температура соответствующая поверяемой контрольной точке, °C;
Imax > Imin ~ максимальное и минимальное значения выходного тока, мА (20 и 4 мА соответственно);
tmax - верхний предел измерения температуры, (150 °C).
Теплосчётчики считают прошедшими поверку, если погрешность, определённая по формуле (15), не превышает ±0,5 % в каждой контрольной точке.
6.11 Определение относительной погрешности при измерении времени
Операцию поверки допускается совмещать с п. 6.4.
Подключить частотомер к LPT-порту верхней платы ИВБ (приложение А, рисунок А.З). Для модификации ТЭМ-104-К- к выходу WP (приложение А, рисунок А.4). Установить на частотомере режим измерения длительности импульса.
Перевести ИВБ в режим "Поверка". Программно установить в вычислителе интервал времени наблюдения (рекомендуемый -120 с). Перевести ИВБ в режим счета с накоплением. При этом на выходе LPT-порта генерируется импульс с длительностью Т, равной программно установленному в ИВБ интервалу времени наблюдения. Передний фронт импульса запускает, а задний фронт импульса останавливает измерение длительности этого импульса частотомером.
Относительная погрешность при измерении времени определяется по формуле
( Т 'I Зг=--1 Х100 %, (16)
V» /
где То - интервал времени наблюдения (длительность импульса) по показаниям образцового частотомера, с.
Теплосчетчики считают прошедшими поверку, если относительная погрешность при измерений времени, определенная по формуле (16), не превышает ±0,01 %.
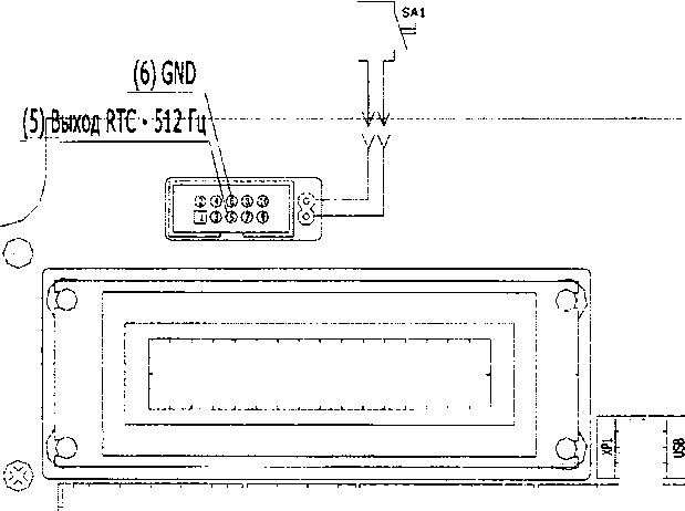
Для модификации ТЭМ-104М необходимо подключить частотомер к контактам 5, 6 разъёма ХР7 (выход контрольной частоты таймера реального времени, приложение А, рисунки А.5 и А.6). Установить На частотомере режим измерения частоты.
Перевести вычислитель в режим "Поверка". При этом на контактах 5, 6 выхода ХР4 генерируются импульсы с частотой следования f » 512 Гц
Относительную погрешность измерения времени, в процентах, определять по формуле ( f > _
8Т =
^--1 -100%,
(17)
U J
где f0 - частота по показаниям образцового частотомера, Гц.
Теплосчетчики считают прошедшими поверку, если относительная погрешность измерения времени, определенная по (17), не превышает ±0,01 %.
7. Оформление результатов поверки
-
7.1 По результатам поверки поверитель оформляет протокол по форме, приведённой в приложении Б. При положительных результатах оформляется свидетельство о поверке по форме, приведенной в ТКП 8.003, а также наносится оттиск клейма поверителя в месте, прёдйа-
Зам. 5
Теплосчетчики ТЭМ-104 Методика поверки МП значением для пломбы, расположенном на экране, защищающем платы ИВБ от несанкционированного доступа.
-
7.2 При отри нагельных результатах поверки после выпуска из производства прибор возвращается изготовителю для устранения дефектов с последующим предъявлением на повторную поверку.
-
7.3 При отрицательных результатах поверки теплосчетчики, находившиеся в эксплуатации, к дальнейшему применению не допускают. Гасят оттиск клейма поверителя на экране, защищающем платы ИВБ от несанкционированного доступа. Оформляется извещение о непригодности по форме, приведенной в ТКП 8.003.
Приложение А
(обязательное)
Схемы электрических соединений







кнопка, ’служебная"
Плата аналоговой обработки



640

Плата цифровой обработки

F/Nl F/N2 * - + - 4+5В |
RS-485 ДШ |
I + |


Рисунок А.1 - Схема подключения ППР к теплосчётчикам ТЭМ-104,
ТЭМ-104М

2
2
Магазин еслротиела»
<8>®|®<Э®
5
XF2
т<
h rf
h
Плата
ЧаО' цифровой обработки Л л а та аналоговой обработки


кнопка "служебная*
F/N1 + |
F/N2 -F • |
RS-485 |
4- | |
А 1+1в | ||||
СОП0«ТИ1Л«КМЙ
/\ |
/\ |
1-----►!*- | ||
4ZZH |
4TZH |
ч—4 |
1 |
Машин
>0 солрегиаяаиий еопвотиалаии*
Примечания
1.
-
- К калибратор (П 320);
-
- Г - генератор;
-
- Ч - частотомер
2. Допускается входы F/N 1 - F/N 6 (G3 - G8) подключать параллельно к одному генератору. Количество входов может быть 2, 4 или 6 в зависимости от исполнения теплосчетчика. При этом генератор должен обеспечивать выходной ток не менее 60 МА.
Рисунок А.2 - Схема электрических соединении нижней платы теплосчетчиков ТЭМ-104

Рисунок А.З - Схема электрических соединений верхней платы теплосчетчиков ТЭМ-104


ХР4 XPS


XS4 XS5 ХЗб XS7
ПРПК |
ТС1 |
ТС2 |
СИГМ. || 0ОЗб |
<■! -и -I |
■Ff -FU -U -1 |
1 |2|з||7|4|5 |
1 |2|3|4 |
1 12 | 3 |4 |
+


(по заказу)
2 |
I |
л |
i н.......4 |
I г If |
Магазин Магазин
сопротивлений сопротивлений
имп.


кПРПК

Примечание - На схеме использованы следующие сокращения:
I - милиамперметр (Щ-300);
Ч - частотомер
RS 232 / RS 485 - преобразователь (конвертер) интерфейса RS 232 / RS 485 (1-7520);
ПК - персональный компьютер.
Рисунок А.4 - Схема электрических соединений платы теплосчетчика ТЭМ-104-К

Примечания
1
-
- К - калибратор тока (П 320);
-
- Г - генератор;
-
- Ч - частотомер
2 Допускается входы G3-G4 подключать параллельно к одному генератору. При этом генератор должен обеспечивать выходной ток не менее 60 мА.
Рисунок А.5 - Схема электрических соединений теплосчетчика ТЭМ-104М-(2.3.4)

1 |
j j | ||||||||||
1 .....L.J |
J1 |
l"l Vbus | |
₽• | |
СП |
ж. |
'*■ |
да |
+ 1 • Ш • |
;£|| A Icoml В Я |
1 MnnwnL ■ i |
SB1 i |
FUi | |
кз F/N ! V |
Oil RS-485 |
нОДУЛь | w ; |
Яг |
служаке i |
ООО
000
\

00
/
Магазин Магазин
солротиеле ни й сопроти влен ий
щ
+I+U
2 3 L РЁ
6 i о'Г а
ППР1
Рисунок А. 6- Схема электрических соединений теплосчетчика ТЭМ-104М-1
Нов.5
Теплосчетчики ТЭМ-104 Методика поверки МП
Приложение Б
Форма протокола поверки теплосчетчика
ПРОТОКОЛ
поверки теплосчетчика ТЭМ-104 №___________
Предприятие изготовитель...............................................................................................
Предприятие, проводившее поверку........................................................................................
Эталонные средства поверки...........................................................................
Условия проведения поверки: температура окружающего воздуха, °C _____
относительная влажность окружающего воздуха, % ______
атмосферное давление, кПа _______
Внешний осмотр теплосчетчика:__________________________
Результаты опробования: __________________
Результаты поверки:
Канал G2 |
Измерение 1 |
Измерение 2 |
Измерение 3 | |||||||||
q„, м3/ч |
Тизм? С |
q0. м3/ч |
Ef % |
q„, м3/ч |
Тизм> С |
q0. м3/ч |
Ef, % |
Чи, м3/ч |
Q |
Чо.м3/ч |
Ef,% | |
%qBV л | ||||||||||||
%qDV л | ||||||||||||
%qpV л | ||||||||||||
Таблица Б.2 -
Таблица Б.1 - Определение относительной погрешности при измерении расхода теплоносителя
Канал G1 |
Измерение 1 |
Измерение 2 |
Измерение 3 | ||||||||||
Ч«, м3/ч |
X,,, С |
q0 м3/ч |
Ef. % |
Чи, м3/ч |
qo.M3/4 |
Ef,% |
q„, м3/ч |
Тады» С |
Чо. м3/ч |
Ef, % | |||
%q₽V |
л | ||||||||||||
%qpV |
Л | ||||||||||||
%q₽v |
л | ||||||||||||
%qPV |
л |
ИВБ
вычислении количества теплоты
относительной
№ точки поверки |
№ измерительного канала количества теплоты |
Количество теплоты, Q, |
Ес,% |
Ес мах, % | | |
Qp |
Qh | ||||
1 |
1 |
+1,5 | |||
2 | |||||
3 | |||||
4 | |||||
2 |
1 |
±0,6 | |||
2 | |||||
3 | |||||
4 | |||||
3 |
1 |
±0,5 | |||
2 | |||||
3 | |||||
4 | |||||
1 4 (системы охлаждения) |
1 | ||||
2 | |||||
3 | |||||
4 |
Таблица Б.З - Определение приведенной погрешности ИВБ при измерении сигналов от ДИД
№ канала |
РИзбР=О.О8 МПа (4,8 мА) |
Ризбр^О.ЗМПаагДмА) |
РизбР-1 -6 МПа (20,0 мА) | ||||||
Р избИ, МПа |
Yp, % |
Ур max, % |
РизбИ, МПа |
Yp, % |
Yp max, % |
Р избИ, МПа |
Yp, % |
Ур max, % | |
1 |
±0,15 |
±0,15 |
±0,15 | ||||||
2 | |||||||||
3 | |||||||||
4 |
Таблица Б.4 - Определение относительной
ИВБ при вычислении объема и массы
Канал изме-1 Объем, рения рас- | м3 |
Еь,, % |
Efv мах, % |
Масса, т |
Efw, % |
EfM мах, % | ||
хода [ ур |
Vh |
Мр |
Ми | ||||
G1 I |
±0,10 |
±0,15 | |||||
G2 | | |||||||
03 | |||||||
04 1 |
ИВБ
сигналов от ТС
ТаблицаБ.5 -
абсолютной
№ канала |
9=0 С |
0 =60 С |
0 |
= 145 С | |||||
®и, °C |
дои, о с |
Дйи max, О с |
0й, о с |
Д®И, °C |
A-Эй max, О с |
0и, °C |
Д0И, о с |
^Ои а max, С | |
1 | |||||||||
2 |
±0,2 |
±0,26 |
±0,34 | ||||||
3 | |||||||||
4 |
-..... |
............................ |
Таблица Б.6 - Определение приведенной погрешности преобразования измеренного значения температуры в сигнал постоянного тока в диапазоне от 4 до 20 мА __________
0 =145 °C |
0 =10 °C | ||||||
1и, мА |
1Р, мА |
Yi,% |
Yi max, % |
1и, мА |
Ip, мА |
Yi,% |
Yi max, % |
±0,5 |
±0,5 |
Относительная погрешность при измерении времени .......... < 0.01 %
Таблица Б.7 - Определение относительной погрешности измерительных каналов количества теплоты ___________________
Контрольные точки |
№ измерительного канала теплоты |
количества |
Е мах, % | |
1 |
2 |
3 | ||
Д0=Д0тш и q=0,9qp |
Е= % |
Е= % |
Е= % | |
Д0=15°С и q=0,lqp |
Е= % |
Е= % |
Е= % | |
Д0=135°С и q=q; |
Е= % |
Е= % |
Е= % |
Заключение: соответствует
не соответствует Теплосчетчик
Библиография
№ |
Обозначение документа |
Наименование документа |
1 |
ДЛИ2.721.006-02ТУ |
Частотомер электронно-счётный вычислительный 43-64/1. Технические условия |
2 |
ТУ 25-1801.214-90 |
Секундомеры электронные с таймерным выходом С'ГЦ-2. Технические условия |
3 |
ТУ ЕХЗ.269.076 |
Генератор импульсов. Технические условия |
4 |
ГУ25-04.3717-79 |
Прибор комбинированный цифровой Щ300. Технические условия |
5 |
ТУ 25-04.3781-79 |
Калибратор программируемый П320. Технические условия |
6 |
МИ 1592-86 |
Счетчики воды крыльчатые. Методики поверки. |
7 |
МИ 1963-88 |
Водосчетчики турбинные холодной и горячей воды. Методы и средства поверки. |
8 |
АРВС.746967.039.000РЭ |
Теплосчётчик ТЭМ-104. Руководство по эксплуатации. |
9 |
АРВС.746967.037.000ИМ |
Инструкция но монтажу теплосчётчиков ТЭМ- 104, ТЭМ-106, ТЭМ-116 |
10 |
АРВС.746967.039.300РЭ |
Теплосчётчик ТЭМ-104-К. Руководство по эксплуатации. |
11 |
АРВС.746967.039.400РЭ |
Теплосчётчик ТЭМ-104М. Руководство по эксплуатации. |
12 |
ЯЫ2.722.011 ТУ |
Мегаомметры Е6-16. Технические условия |
13 |
ТУ 25-11.1645-84 |
Гигрометр психрометрический типа ВИТ. Технические условия |
14 |
ТУ 25-11.1513-79 |
Барометр-анероид метеорологический БАММ-1. Технические условия |
15 |
МП.МН 789-2001 |
Расходомеры-счетчики электромагнитные РСМ- 05. Методика поверки |
16 |
МП.МН 69-2001 |
Расходомеры РЭМ-01. Методика поверки |
17 |
МП.МН 500-98 |
Теплосчетчик Струмень ТС-05. Методика поверки |
18 |
МП.МН 877-2000 |
Теплосчетчики Multidata S1. Методика поверки |
19 |
ГСССД 98-86 |
Таблицы стандартных справочных данных. Вода. Удельный объем и энтальпия при Температурах 0 ... 800 градусов Цельсия и давлениях 0,001 ... 1000 МПа |
№ изменения |
Дата |
Номер страницы |
Краткое описание изменения |
Номер документа об изменении |
Подпись |
1 |
13.02. 2006 |
3, 7-9, 11, 13, 18, нов 16а |
Введение нового исполнения |
№1 | |
2 |
27.07. 2009 |
3,4,7-14,16, 17а, 19,20 |
Введение нового исполнения |
№2 | |
3 |
18.06. 2012 |
Листы 9, 10, 18 заменить |
Изменение ТИПА |
№3 | |
4 |
30.09. 2014 |
Листы 2-14, 18-20 заменить |
Введение нового исполнения |
№4 | |
5 |
Листы 2-21 заменить, ввести листы 22-25 |
Введение нового исполнения |
№5 | ||
УТВЕРЖДАЮ

Директор БелГИМ
ЭКСПЕРТНОЕ ЗАКЛЮЧЕНИЕ
по результатам метрологической экспертизы извещения об изменении методики поверки (МП)
Наименование МП: Теплосчетчик ТЭМ-104
Разработчик: СООО «АРВАС»
На метрологическую экспертизу представлены следующие документы:
-
1 Извещение №5 об изменении МРБ МП. 1419-2004
-
2 Акт №45-03/0411-2017
По результатам метрологической экспертизы установлено:
-
1 Представленная методика поверки с извещением №5 об изменении распространяется на теплосчетчик ТЭМ-104 и устанавливает методы и средства проведения поверки.
-
2 Методика поверки с извещением №5 об изменении соответствует требованиям ТИП 8.003-2011 «Система обеспечения единства измерений Республики Беларусь. Поверка средств измерений. Правила проведения работ».
-
3 Методика поверки с извещением №5 об изменении может быть использована при проведении поверки теплосчетчика ТЭМ-104.
Н.В. Баковец
П.В. Кривонос
Заместитель директора по науке
Начальник ПИО температурных и теплофизических измерений
классу ___ по
Поверитель
Дата______________
ФИО.
подпись
- в скобках указаны пределы допускаемой относительной погрешности измерительного канала количества теплоты для теплосчетчиков с Gb=1 .5 м3/ч (DN 15 мм) и Gb=3.0 м3/ч (DN 20 мм)