Методика поверки «ПРИСПОСОБЛЕНИЯ КАЛИБРОВОЧНЫЕ ДЛЯ УСТРОЙСТВ ДЛЯ ИЗМЕРЕНИЙ УГЛОВ УСТАНОВКИ КОЛЕС АВТОМОБИЛЕЙ EAK0277J00A, EAK0305J39A» (МП АПМ 37-16)
УТВЕРЖДАЮ
Генеральный директор
ПРИСПОСОБЛЕНИЯ КАЛИБРОВОЧНЫЕ ДЛЯ УСТРОЙСТВ ДЛЯ ИЗМЕРЕНИЙ УГЛОВ УСТАНОВКИ КОЛЕС АВТОМОБИЛЕЙ EAK0277J00A, EAK0305J39A
МЕТОДИКА ПОВЕРКИ
МП АПМ 37-16
Москва, 2016 г.
Настоящая методика поверки распространяется на приспособления калибровочные для устройств для измерений углов установки колес автомобилей EAK0277J00A, EAK0305J39A (далее - приспособления), выпускаемые «Snap- on Equipment S.r.l. a Unico Socio», Италия, и устанавливает методику их первичной и периодической поверки.
Межповерочный интервал -1 год.
1. ОПЕРАЦИИ ПОВЕРКИПри проведении поверки необходимо выполнять операции, указанные в табл. 1.
Таблица 1
|
Наименование операции |
№ пункта методики |
Обязательность проведения операций | |
|
При первичной поверке |
При периодической поверке | ||
|
Внешний осмотр, проверка маркировки и комплектности |
7.1 |
да |
да |
|
Определение геометрических размеров передней оси, задней оси и расчет установочных размеров осей |
7.2.1 |
да |
нет |
|
Определение радиального биения осей |
7.2.2 |
да |
да |
|
Определение геометрических размеров левой и правой продольных балок в сборе (только для модификации EAK0277J00A) |
7.2.3 |
да |
нет |
|
Определение отклонения от плоскостности левой и правой продольных балок в сборе (только для модификации EAK0277J00A) |
7.2.4 |
да |
да |
|
Определение геометрических размеров угловых стоек стенда |
7.2.5 |
да |
нет |
|
Определение геометрических размеров треугольных опор (только для модификации EAK0305J39A) |
7.2.6 |
да |
нет |
|
Определение геометрических размеров диагональной балки в сборе (только для модификации EAK0277J00A) |
7.2.7 |
да |
да |
|
Определение отклонения от плоскостности диагональной балки в сборе (только для модификации EAK0277J00A) |
7.2.8 |
да |
да |
|
Определение геометрических размеров измерительных пластин |
7.2.9 |
да |
нет |
|
Определение отклонения от плоскостности рабочих поверхностей измерительных пластин |
7.2.10 |
да |
да |
|
Определение концентричности измерительной пластины |
7.2.11 |
да |
нет |
|
Определение геометрических размеров двух фиксирующих штифтов диагональной балки (только для модификации EAK0277J00A) |
7.2.12 |
да |
нет |
|
Определение геометрических размеров шести втулок(только для модификации EAK0305J39A) |
7.2.13 |
да |
нет |
|
Наименование операции |
№ пункта методики |
Обязательность проведения операций | |
|
При первичной поверке |
При периодической поверке | ||
|
Определение метрологических характеристик приспособления |
7.3 | ||
|
Расчет линейных размеров отдельных деталей и узлов приспособления |
7.3.1 |
да |
да |
2. СРЕДСТВА ПОВЕРКИ
При проведении поверки необходимо применять средства, указанные в табл.2. Таблица 2
|
№ п/п |
№ пункта документа по поверке |
Наименование образцовых средств измерений или вспомогательных средств поверки и их основные метрологические и технические характеристики |
|
1. |
Машина трехкоординатная измерительная |
Horizon, ПГ ±0,02 мм |
|
2. |
Индикатор многооборотный |
цена деления 0,001 мм по ГОСТ 9696-82 |
|
3. |
Плита поверочная |
400x630, кл. 1, ГОСТ 10905-86 |
|
Штангенциркуль |
ШЦ-Ш, (0-500) мм, ГОСТ 166-89 | |
|
Штангенрейсмас |
ШР-1000-0,05, ГОСТ 164-90 | |
|
4. |
Микрометр МК |
(0-25) мм, ГОСТ 6507-90 |
|
5. |
Приспособления |
для крепления индикатора по ГОСТ 8.210-76; опорные призмы по ГОСТ 8.210-76; штатив для измерительных головок по ГОСТ 10197 |
Примечание. Вместо указанных в таблице средств измерений разрешается применять другие средства поверки, обеспечивающие определение метрологических характеристик с точностью, удовлетворяющей требованиям настоящей методики поверки.
4. УСЛОВИЯ ПОВЕРКИПри проведении поверки должны соблюдаться следующие нормальные условия измерений:
Температура окружающей среды, °C
Относительная влажность воздуха, %
5. ТРЕБОВАНИЯ К КВАЛИФИКАЦИИ ПОВЕРИТЕЛЕЙК проведению поверки допускаются лица, изучившие эксплуатационные документы, имеющие достаточные знания и опыт работы с приспособлениям, аттестованные на право выполнения поверочных работ.
6. ТРЕБОВАНИЯ БЕЗОПАСНОСТИ-
6.1. Перед проведением поверки следует изучить техническое описание и руководство по эксплуатации на поверяемое приспособление и приборы, применяемые при поверке.
-
6.2. Перед проведением поверки должны быть выполнены следующие работы:
все детали приспособления и средств поверки должны быть очищены от пыли и грязи.
-
7. ПОРЯДОК ПРОВЕДЕНИЯ ПОВЕРКИ
При внешнем осмотре должно быть установлено:
наличие маркировки (наименование или товарный знак фирмы-изготовителя, тип и заводской номер приспособления, его отдельных узлов и деталей);
отсутствие механических повреждений узлов и отдельных деталей приспособления, а также других повреждений, влияющих на эксплуатацию приспособления;
комплектность приспособления должна соответствовать руководству по эксплуатации.
-
7.2. Определение геометрических характеристик приспособления
-
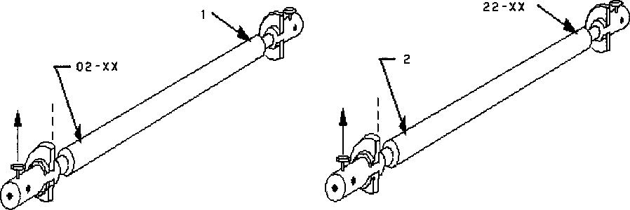
7.2.1.1. Установите соответствие маркировки каждой из этих двух осей - для модификации EAK0277J00A и передней - для модификации EAK0305J39A и сделайте соответствующие записи в отдельном протоколе для каждой оси по форме № 1957 - для модификации EAK0277J00A и № 2132 - для модификации EAK0305J39A (раздел «Приложение» данной методики). Маркировка осей в соответствии с Рис. 1а, Рис. 16.

Рис. 1а- Передняя и задняя ось приспособления EAK0277J00A 1 - передняя ось приспособления;
2 - задняя ось приспособления
Рис. 16 - Передняя и задняя ось приспособления EAK0305J39A
3 - передняя ось приспособления
При проверке маркировки стопорные винты на концах осей должны быть направлены вверх, а срезы фланцев каждой оси - назад (относительно положения: передняя ось -задняя ось).
-
7.2.1.2. Выполните измерения расстояния на оси от внешней левой стороны фланца до внешней правой стороны фланца в двух уровнях - снизу и сверху относительно марки-
ровки на оси, как показано на Рис. 2 и определите среднюю величину этих двух измерений.
Измерение 1
Рис. 2.
Измерение 2
1-общ2
Внимание! Далее, для всех отдельных частей и участков передней и задней осей приспособления линейные измерения необходимо выполнить с нижней и верхней стороны осей, (в двух уровнях - снизу и сверху относительно маркировки на оси).
Измеренное значение расстояния на оси от внешней левой стороны фланца до внешней правой стороны фланца должно быть в диапазоне значений 1880±5 мм.
-
7.2.1.3. Выполните измерения расстояния на оси от точки центра сферы до внутренней плоскости фланца шейки со стороны маркированного конца оси, как показано на Рис. 3. -для модификации EAK0277J00A
Рис. 3.
-
7.2.1.4. Выполните измерения расстояния на оси от точки центра сферы до внутренней плоскости фланца шейки со стороны противоположной маркированному концу оси, как показано на Рис. 4. - для модификации EAK0277J00A
Рис. 4.
Измеренное значение расстояния на оси от точки центра сферы до внутренней плоскости фланца шейки должно быть в диапазоне значений 18,5±5 мм
7.2.1.5. Выполните измерения длины шейки со стороны маркированного конца оси, как показано на Рис. 5.

Рис. 5.
-
7.2.1.6. Выполните измерения длины шейки со стороны противоположной маркированному концу оси, как показано на Рис. 6.

Рис. 6.
Измеренное значение длины шейки должно быть в диапазоне значений (25,1 - 26,0) мм -для модификации EAK0277J00A, (25,48 - 25,58) мм - для модификации EAK0305J39A.
-
7.2.1.7. Выполните измерения расстояния на оси от внутренней плоскости фланца шейки до внешней левой стороны фланца крепления измерительных плоскостей приспособления со стороны маркированного конца оси, как показано на Рис. 7. - для модификации EAK0277J00A

Рис. 7.
-
7.2.1.8. Выполните измерения расстояния на оси от внутренней плоскости фланца шейки до внешней правой стороны фланца крепления измерительных плоскостей приспособления со стороны противоположной маркированному концу оси, как показано на Рис. 8. -для модификации EAK0277J00A

Рис. 8.
Измеренные значения п.п. 7.2.1.7., 7.2.1.8. должны быть в диапазоне значений 16,0±1 мм
-
7.2.1.9. Измерения по п.п. 7.2.1.3. - 7.2.1.7. должны быть выполнены также, как и в п.п.
7.2.1.2 - в двух уровнях - снизу и сверху относительно маркировки но оси, и за результаты измерений должны быть взяты средние величины этих измерений. Измерения по п.п. 7.2.1.3. - 7.2.1.8. должны быть выполнены с применением координатно измерительной машины.
-
7.2.1.10. Выполните измерения диаметров опорных шеек на каждом конце оси, как показано на Рис. 9.
Рис. 9.
Измеренное значение диаметра опорных шеек должно быть в диапазоне значений 31,8±1 мм - для модификации EAK0305J39A; (30,65 - 31,85) - для модификации EAK0277J00A
-
7.2.1.11. Выполните измерения диаметров сферических опор сочленения оси и продольных балок на каждом конце оси, как показано на Рис. 10. - для модификации EAK0277J00A
Рис. 10.
-
7.2.1.12. Измерения по 7.2.1.10. - 7.2.1.11. должны быть выполнены с применением микрометра гладкого по ГОСТ 6507-90.
Измеренное значение диаметров сферических опор сочленения оси должно быть в диапазоне значений 44,15±0,1 мм
Результаты всех измерений по п.п. 7.2.1.2. - 7.2.1.11. должны быть занесены в отдельные протоколы поверки для каждой оси - передней и задней - модификация EAK0277J00A и передней - модификация EAK0305J39A. Рекомендуемые формы протоколов приведены в приложении (протоколы № 1957, № 2132).
7.2.2. Определение радиального биения осей-
7.2.2.1. Выполните измерения радиального биения оси в средней ее части. При выполнении измерений шейки оси должны быть установлены на ножевые опоры, как показано на Рис. 11.

Рис. 11.
Измеренные значения радиального биения оси в средней ее части должно быть в диапазоне значений 0 - 2,54 мм.
-
7.2.2.2. Выполните измерения радиального биения конца оси с маркированной стороны оси. При выполнении измерений шейки оси должны быть установлены на ножевые опоры, как показано на Рис. 12.

Рис.12.
-
7.2.2.3. Выполните измерения радиального биения конца оси со стороны противоположной маркированной стороне. При выполнении измерений шейки оси должны быть установлены на ножевые опоры, как показано на Рис. 13.

Рис. 13.
-
7.2.2.4. Измерения по п.п. 7.2.2.1. - 7.2.2.3. должны быть выполнены с применением индикатора многооборотного по ГОСТ 9696-75.
Измеренное значение радиального биения конца оси должно быть в диапазоне значений 0,508±0,508 мм
Результаты всех измерений по п.п. 7.2.2.1. - 7.2.2.3. должны быть занесены в отдельные протоколы поверки для каждой оси - передней и задней - модификация EAK0277J00A и передней - модификация EAK0305J39A. Рекомендуемые формы протоколов (протоколы № 1957, № 2132) приведены в приложении.
7.2.3. Определение геометрических размеров левой и правой продольных балок в сборе (только для модификации EAK0277J00A)-
7.2.3.1. Установите соответствие маркировки каждой из этих двух балок и сделайте соответствующие записи в отдельном протоколе для каждой балки по рекомендуемой форме № 1958, которая приведена в приложении методики. Маркировка осей должна быть в соответствии с Рис. 14.


Рис.14.
-
7.2.3.2. Выполните измерения расстояния между центрами сферических отверстий продольной балки в сборе (левая и правая крышки крепления балки на оси должны быть прикручены), в соответствии с Рис. 15.

Рис.15.
Измеренное значение расстояния между центрами сферических отверстий продольной балки в сборе должно быть в диапазоне значений 1990±5 мм
-
7.2.3.3. Выполните измерения диаметров сферических левого и правого отверстий продольной балки в сборе (левая и правая крышки крепления балки на оси должны быть прикручены), в соответствии с Рис. 16.

Рис. 16.
Измеренные значения диаметров сферических левого и правого отверстий продольной балки в сборе должно быть в диапазоне значений (44,40 - 44,65) мм.
7.2.3.4. Измерения по п.п. 7.2.3.2. - 7.2.3.3. должны быть выполнены с применением координатно измерительной машины.
Результаты всех измерений по п.п. 7.2.3.2. - 7.2.3.3. должны быть занесены в отдельные протоколы поверки для каждой балки - правой и левой. Рекомендуемая форма протоколов приведена в приложении (протокол №1958).
7.2.4. Определение отклонения от плоскостности левой и правой продольных балок в сборе (только для модификации EAK0277J00A)-
7.2.4.1. Выполните измерения отклонения от плоскостности левой и правой продольных балок. Для проведения измерений необходимо установить поверяемую балку на опорные призмы по ГОСТ 8.210-76 на плоскую (широкую) сторону, в соответствии с Рис. 17. Балка последовательно устанавливается вначале на одну сторону, а затем на другую, с поворотом на 180°. При выполнении измерений необходимо применять индикатор многооборотный, причем измерения должны быть выполнены не менее чем в 5 точках по длине балки, Рис. 17.

Рис. 17.
Измеренные значения должны быть в диапазоне значений (0,00 - 6,35) мм.
Результаты всех измерений по п. 7.2.4.1. должны быть занесены в протокол поверки. Рекомендуемая форма протокола приведена в приложении (протокол № 1958).
7.2.5. Определение геометрических размеров угловых стоек стенда-
7.2.5.1. Установите соответствие маркировки каждой из этих четырех стоек для модификации EAK0277J00A или двух стоек - для EAK0305J39A, маркировке и сделайте соответствующие записи в отдельном протоколе для каждой стойки по рекомендуемой форме № 1959, № 2133 (раздел «Приложения» данной методики). Маркировка стоек приведена на Рис. 18а и Рис. 186.

Рис. 18а - Маркировка стоек приспособления EAK0277J00A
Рис. 186 - Маркировка стоек приспособления EAK0305J39A
-
7.2.5.2. Выполните измерения расстояния между нижней плоскостью основания стойки и центром отверстия для установки осей. Все стойки должны быть в сборе (верхние крышки крепления балки к стойкам должны быть прикручены). Измерения выполнить в соответствии с Рис. 19.

Измеренные значения расстояния между нижней плоскостью основания стойки и центром отверстия для установки осей должно быть в диапазоне значений 300±0,5 мм -для модификации EAK0277J00A; (375,7 - 376,7) мм - для модификации EAK0305J39A.
-
7.2.5.3. Выполните измерения внутренних диаметров отверстий стоек для установки осей. Все стойки при этих измерениях должны быть в сборе (верхние крышки крепления балки к стойкам должны быть прикручены). Измерения выполнить в соответствии с Рис. 20.

Рис. 20.
Измеренное значение внутренних диаметров отверстий стоек должно быть в диапазоне значений (32,00 - 32,15) мм.
-
7.2.5.4. Измерения по п.п. 7.2.5.2. - 7.2.5.3. должны быть выполнены с применением штан-генрейсмаса по ГОСТ 164-90 и штангенциркуля по ГОСТ 166-89.
Результаты всех измерений по данному пункту методики должны быть занесены в отдельные протоколы поверки для каждой из четырех стоек - для модификации EAK0277J00A и двух стоек - для модификации EAK0305J39A. Рекомендуемые формы протоколов приведены в приложении (протоколы №1959, № 2133).
7.2.6. Определение геометрических размеров треугольных опор (только для модификации EAK0305J39A)-
7.2.6.1. Установите соответствие маркировки каждой из двух опор и сделайте соответствующие записи в отдельном протоколе для каждой опоры по рекомендуемой форме № 2134 (смотри раздел «Приложения» данной методики). Маркировка опор приведена на Рис. 21.

Рис. 21

-
7.2,6.2. Выполните измерения расстояния между основанием опоры и верхней плоскостью опоры. Измерения выполнить в соответствии с Рис. 22.
Рис. 22
7.2.6.3. Измерения по данному пункту должны быть выполнены с применением штанген-рейсмаса по ГОСТ 164-90.
Измеренные значения расстояния между основанием опоры и верхней плоскостью опоры должно быть в диапазоне значений (75,7 - 76,7) мм.
-
7.2.7.1. Установите соответствие маркировки каждой двух половин балки и сделайте соответствующие записи в отдельном протоколе для каждой половины балки по форме № 1960 (раздел «Приложения» данной методики). Маркировка половин балки в соответствии с Рис. 23.
Соберите диагональную балку из половин с помощью болтов и гаек, входящих в комплект поставки приспособления.
-
7.2.7.2. Выполните измерения расстояния между центрами отверстий для установки центрирующих штифтов диагональной балки в сборе, в соответствии с Рис. 24. Измерения по данному пункту методики должны быть выполнены с применением координатно измерительной машины. Измерения расстояний между центрами отверстий должны быть выполнены в двух уровнях - снизу и сверху относительно маркировки на оси

Рис. 24.
Измеренное значение расстояния между центрами отверстий для установки центрирующих штифтов диагональной балки в сборе должно быть в диапазоне значений (2697,0-2701,2) мм.
-
7.2.7.3. Выполните измерения внутренних диаметров отверстий для установки центрирующих штифтов диагональной балки. Измерения выполнить в соответствии с Рис. 25. Измерения по данному пункту методики должны быть выполнены с применением штангенциркуля по ГОСТ 166-89.

Рис. 25.
Измеренное значение внутренних диаметров отверстий для установки центрирующих штифтов диагональной балки должно быть в диапазоне значений (9,9 - 10,2) мм.
Результаты всех измерений по п.п. 7.2.7.2. - 7.2.7.3. должны быть занесены в протокол поверки для продольной балки. Рекомендуемая форма протокола приведена в приложении (протокол №1960).
7.2.8. Определение отклонения от плоскостности диагональной балки в сборе (только для модификации EAK0277J00A)-
7.2.8.1. Выполните измерения отклонения от плоскостности диагональной балки. Для проведения измерений необходимо установить поверяемую балку на опорные призмы по ГОСТ 8.210-76 на плоскую (широкую) сторону, в соответствии с Рис. 26. Балка последовательно устанавливается вначале на одну сторону, а затем на другую, с поворотом на 180°. При выполнении измерений необходимо применять индикатор многооборотный, причем измерения должны быть выполнены не менее чем в 5 точках по длине балки, Рис.26.

Рис 26.
Измеренное значение отклонения от плоскостности диагональной балки должно быть в диапазоне значений (0,0 - 6,35) мм.
Результаты всех измерений по п. 7.2.8.1. должны быть занесены в протокол поверки. Рекомендуемая форма протокола приведена в приложении (протокол №1960).
7.2.9. Определение геометрических размеров и отклонения от плоскостности измерительных пластин-
7.2.9.1. Установите соответствие маркировки каждой из четырех пластин - для модификации EAK0277J00A или двух - для EAK0305J39A, маркировке и сделайте соответствующие записи в отдельном протоколе для каждой пластины по форме № 1961, № 2186 (раздел «Приложения» данной методики). Маркировка пластин приведена на Рис. 27а и Рис. 276.

Рис. 27а- маркировка измерительных пластин для модификации EAK0277J00A
Рис. 276 - маркировка измерительных пластин для модификации EAK0305J39A
-
7.2.9.2. Выполните измерения толщины каждой пластины. Измерения необходимо выполнить с нижней и верхней стороны каждой пластины и среднее значение принять за окончательный результат для каждой пластины. Измерения выполнить в соответствии с Рис. 28.
Рис. 28.
Измеренное значение толщины каждой пластины должно быть в диапазоне значений (7,5 - 9,0) мм - для модификации EAK0277J00A; (11,5 - 13,0) мм - для модификации EAK0305J39A.
Результаты всех измерений по п. 7.2.9.2. должны быть занесены в протокол поверки. Рекомендуемые формы протоколов приведены в приложении (протокол №1961, № 2186).
7.2.10 Определение отклонения от плоскостности рабочих поверхностей измерительных пластин-
7.2.10.1. Выполните измерения отклонения от плоскостности каждой измерительной пластины. Для проведения измерений необходимо установить каждую поверяемую пластину на опорные призмы по ГОСТ 8.210-76 на внешнюю (измерительную) плоскость, в соответствии с Рис. 29. При выполнении измерений необходимо применять индикатор многооборотный, причем измерения должны быть выполнены не менее чем в 5 точках по обеим округлым сторонам каждой измерительной пластины, и в двух точках, расположенных вблизи центрального отверстия на каждой пластине Рис.29.



Рис. 29.
Измеренное значение отклонения от плоскостности каждой измерительной пластины должно быть в диапазоне значений (0,00 - 1,27) мм- для модификации EAK0277J00A; (0,0 - 0,254) мм - для модификации EAK0305J39A.
Результаты всех измерений по п. 7.2.10.1. должны быть занесены в протокол поверки. Рекомендуемые формы протоколов приведены в приложении (протокол №1961, № 2186).
7.2.11. Определение концентричности отверстий измерительной пластины-
7.2.11.1. Для модификации EAK0305J39A. Выполните измерения центра окружности В и каждого из четырех отверстий, находящихся на окружности D с помощью машины трехкоординатной измерительной(рисунок 30). Измерить концентричность окружности В с D.

Рис. 30
Концентричность В с D должна быть в диапазоне значений (0,00 - 0,13) мм - для модификации EAK0305J39A
Результаты всех измерений по п. 7.2.11.1. должны быть занесены в протокол поверки. Рекомендуемые формы протоколов приведены в приложении (протокол № 2186).
7.2.12. Определение геометрических размеров двух фиксирующих штифтов диагональной балки (только для модификации EAK0277J00A)-
7.2.12.1. Установите соответствие маркировки каждого из двух фиксирующих штифтов, маркировке и сделайте соответствующие записи в отдельном протоколе для каждой половины балки по форме № 1962 (раздел «Приложения» данной методики). Маркировка штифтов - в соответствии с Рис. 30.

Рис. 30.
-
7.2.12.2. Выполните измерения диаметров наружных цилиндрических поверхностей каждого из двух штифтов, предназначенных для установки диагональной балки. Измерения выполнить в соответствии с Рис. 31. Измерения по данному пункту методики должны быть выполнены с применением микрометра гладкого по ГОСТ 6507-90.


Рис. 31.
Измеренное значение диаметров наружных цилиндрических поверхностей каждого из двух штифтов должно быть в диапазоне значений (9,75 - 9,90) мм.
7.2.13. Определение геометрических размеров шести адаптеров (только для модификации EAK0305J39A)-
7.2.13.1. Установите соответствие маркировки каждой из шести адаптеров и сделайте соответствующие записи в отдельном протоколе по форме № 2201 (раздел «Приложения» данной методики). Маркировка втулок - в соответствии с Рис. 32.

-
7.2.13.2. Измерить геометрические размеры втулки в соответствии с рисунками 33, 34, 35. Измерения по данному пункту методики должны быть выполнены с применением штангенциркуля по ГОСТ 166-89.
Рис. 33
Рис. 34

Рис. 35
Измеренное значение длины адаптера А должно быть в диапазоне значений (50,67 - 50,93) мм; длины адаптера В - (51,94 - 52,20) мм; диаметр отверстия А - (10,01 - 10,13) мм; отклонение от соосности от А к В - (0,0 - 0,13) мм; отклонение от соосности от А к С -(0,0 - 0,13) мм.
7.3. Определение метрологических характеристик приспособленияЧисленные значения углов установки измерительных пластин (маркировка пластин приведена на Рис. 27а) позволяют передавать с помощью приспособления жестко заданные значения углов схождения, развала и вылета оси колес поверяемым или калибруемым устройствам для измерений углов установки колес автомобилей с заданной приспособлением точностью вблизи «нулевых» точек.
В данном разделе методики приводится расчет размеров отдельных деталей и узлов приспособления и в конечном итоге точность передачи с помощью приспособления в сборе основных углов установки колес автомобилей. Расчеты выполняются в соответствии с ранее выполненными измерениями (п.п. 7.2.1., 7.2.2., 7.2.3., 7.2.4., 7.2.7., 7.2.8., 7.2.9., 7.2.10., 7.2.11.) настоящей методики.
7.3.1. Расчет линейных размеров отдельных деталей и узлов приспособления-
7.3.1.1. Рассчитайте среднее значение расстояния между внешними поверхностями фланцев передней оси:

(1)
-
7.3.1.2. Для передней оси рассчитайте расстояние от центра сферы на маркированном конце оси до центра сферы конца оси, противоположного маркированному концу:
-
7.3.1.3. Выполните расчеты по п. п. 7.3.1.1. - 7.3.1.2. для задней оси приспособления.
-
7.3.1.4. Для передней оси рассчитайте расстояние от точки центра сферы (маркированный конец оси) до центра отверстия для фиксации диагональной балки (отверстие в крышке левой передней стойки):
‘-ц:4-д5 Е L3. “
(3)
-
7.3.1.5. Для передней оси рассчитайте расстояние от точки центра сферы (не маркированный конец оси) до точки фиксации диагональной балки (отверстие в крышке правой передней стойки):
о
(4)
-
7.3.1.6. Используя алгоритм пунктов 7.3.1.4. и 7.3.1.5. настоящей методики, для задней оси рассчитайте расстояние от точки центра сферы (маркированный конец оси) до точки фиксации диагональной балки (отверстие в крышке левой задней стойки) и расстояние от точки центра сферы (не маркированный конец оси) до точки фиксации диагональной балки (отверстие в крышке правой задней стойки).
-
7.3.1.7. Рассчитайте расстояние между центрами установочных отверстий диагональной балки в сборе:

(5)
-
7.3.1.8. Рассчитайте расстояние на передней оси между центрами отверстий, предназначенных для установки центрирующих штифтов диагональной балки:
(6)
-
7.3.1.9. Рассчитайте расстояние на задней оси между центрами отверстий, предназначенных для установки центрирующих штифтов диагональной балки:
и гф-д о
(7)
-
7.3.2 Расчет угловых параметров отдельных деталей и узлов приспособления и определение погрешностей задания приспособлением углов установки колес автомобиля. Модификация EAK0277J00A.
-
7.3.2.1 Определение отклонения от плоскости рабочих поверхностей измерительных пластин в продольном направлении (углы схождения колес)
-
7.3.2.1.1 Рассчитать угловые параметры и сделать соответствующие записи в отдельном протоколе по форме № 1965, приведенной в Приложении к настоящей методике поверки, приспособления в плоскости, параллельной основанию используя для расчетов уравнение косинуса и уравнение синуса (Рис. 36) и полученные размеры a, b, с, d и е:
a2 =b2 +с2 -2b-c-cosa (8)
|
с2 = b2 + а2 - 2а -b-cos7 |
(10) |
|
d2 = е2 + с2 - 2е ■ с ■cos 5 |
(H) |
|
е2 = d2 + с2 - 2d ■ с ■ cos г |
(12) |
|
с2 = е2 + d2 - 2d - e-cos0 |
(13) |
|
a b с sin a sin/? sin / |
(14) |
|
d e c sin 5 sin т sin 6 |
(15) |
Передняя правая стойка
b
Задняя правая стойка
Рис. 36. Схема для расчета угловых параметров приспособления
Расчет отклонения плоскостей рабочих поверхностей измерительных пластин в продольном направлении (углы схождения колес) провести по формулам:
|
a = arccos[(62 +c2 - a2) / 2b • c] |
(16) |
|
/3 = arccos[(a2 + c2 - b2) / 2a • c] |
(17) |
|
у = 180-(a + /3) |
(18) |
|
т = arccos[(e2 + c2 - d2) / 2e • c] |
(19) |
5 = arccos[(t/2 + с2 - e2) / 2d • с]
(9 = 180-(г + <7)
(20)
(21)
-
7.3.2.1.2 Рассчитать угловые параметры и сделать соответствующие записи в отдельном протоколе по форме № 1965, приведенной в Приложение к настоящей методике поверки, приспособления в плоскости, перпендикулярной основанию для передней и задней осей приспособления, используя для расчетов уравнение косинуса и уравнение синуса (Рис. 37) и полученные размеры a, b, с, d и е:
Правая стойка
Ь2 = а2 +с2 -2а-с-cos/3
Левая стойка
(22)
(23)
а b с
sin a sin/? sin/
d е _ с
sin S sin т sin в
Расчет отклонения плоскостей рабочих поверхностей измерительных пластин в вертикальном направлении (углы развала колес) провести по формулам:
а = arccos[(Z)2 +с2 -а2)/2Ь-с]
0 = arccos[(a2 + с2 - Ь2)/2а ■ с\
д = arccos[(tZ2 + с2 - е2) / 2<7 • с]
Модификация EAK0305J39A.
-
7.3.2.1.3 Рассчитать угловые параметры приспособления в плоскости, параллельной и перпендикулярной основанию.
Для расчетов использовать формулы п.п. 7.3.2.1.2 (Рис. 37), так как приспособление конструктивно выполнено одной осью и имеет две измерительные пластины.
7.3.2.2 Погрешности задания углов установки колес определить, как разность между рассчитанными значениями углов установки измерительных пластин приспособления (принимаются за результаты измерений) и углами, заданными по соответствующим параметрам в технической документации на приспособление (принимаются за действительное значение величины углов). Расчет погрешностей выполняется последовательно для передней левой измерительной пластины Л(плип), передней правой измерительной пластины А(ппип), для задней левой измерительной пластины Л(злип), задней правой измерительной пластины А(зпип) по формулам:
д«ро<) / о ч _ продПЛИП
-
(36)
-
(37)
-
(38)
-
(39)
^ПЛИП 1 ' 'Гдтств
— V _ тпродППИП ^ППИП / действ
д«Р«> =(а + §\_ фпроАЗЛИП
^ЗЛИП -г и) Y действ
кпрод f} продЗЛИП
^ЗЛИП — V ~ Y действ
где: <Р^йств'ИП ~ действительное значение угла отклонения плоскости рабочей поверх
ности передней левой измерительной пластины в продольном направлении (задается в технической документации на каждое поверяемое устройство);
(р^ИП~ действительное значение угла отклонения плоскостей рабочей поверхности передней правой измерительной пластины в продольном направлении (задается в технической документации на каждое поверяемое устройство);
(р"р"^ИП - действительное значение угла отклонения плоскости рабочей поверхности передней левой измерительной пластины в вертикальном направлении (задается в технической документации на каждое поверяемое устройство);
(р^™П - действительное значение угла отклонения плоскостей рабочей поверхности передней правой измерительной пластины в вертикальном направлении (задается в технической документации на каждое поверяемое устройство).
д'«Р'" _ / п ч _ яертПЛИП
-
(40)
-
(41)
-
(42)
-
(43)
^ПЛИП ~ 4J ' L ) Y действ
ьверт __ вертПЛИП ^ПЛИП ~ / ~ гдейств
Айерт =(а + 3}- твертЗЛИП
^ЗЛИП Yдейств
а верт Z) _ вертЗПИП
^зпип = 3~ (РоЛ™
•>
где: (рТеЛтЛ'" ~ действительное значение угла отклонения плоскостей рабочей поверх
ности передней левой измерительной пластины в вертикальном направлении (задается в технической документации на каждое поверяемое устройство);
(рЛЛт™11 ~ действительное значение угла отклонения плоскостей рабочей поверхности передней левой измерительной пластины в вертикальном направлении (задается в технической документации на каждое поверяемое устройство);
ФЛЛЛЛ" ~ действительное значение угла отклонения плоскости рабочей поверхности передней левой измерительной пластины в вертикальном направлении (задается в технической документации на каждое поверяемое устройство);
(рвЛЛвИП ~ действительное значение угла отклонения плоскостей рабочей поверхности передней правой измерительной пластины в вертикальном направлении (задается в технической документации на каждое поверяемое устройство).
Отклонение плоскости рабочих поверхностей измерительных пластин в вертикальном направлении (углы схождения колес) не должно выходить за пределы значений ±0,05°.
Отклонение плоскости рабочих поверхностей измерительных пластин в продольном направлении (углы схождения колес) не должно выходить за пределы значений ±0,05°.
Отклонение плоскости рабочих поверхностей измерительных пластин в вертикальном направлении (углы развала колес) не должно выходить за пределы значений ±0,09°.
Приспособления калибровочные для устройств для измерений углов установки колес автомобилей моделей EAK0277J00A, EAK0305J39A считаются прошедшим поверку, в том случае, если результаты измерений геометрических размеров отдельных элементов приспособления и расчетов угловых параметров положения в пространстве измерительных пластин приспособления соответствуют по размерам и допустимым погрешностям величинам, приведенным в технической документации на приспособление.
8.ОФОРМЛЕНИЕ РЕЗУЛЬТАТОВ ПОВЕРКИ.-
8.1. Результаты поверки оформляются протоколами, составленными в виде сводных таблиц результатов поверки по каждому пункту раздела 7 настоящей методики поверки. Пример протоколов приведён в приложении к настоящей методике поверки.
-
8.2. При положительных результатах поверки приспособление признается пригодной к применению и выдается свидетельство о поверке установленной формы.
Знак поверки наносится на свидетельство о поверке в виде наклейки и (или) оттиска пове-ритсльного клейма.
-
8.3. При отрицательных результатах поверхи приспособление признается непригодной к применению и выдаётся извенюьнгё'о непригодности установленной формы с указанием основных причин. f
Руководитель отдела ООО «Автопрогресс-М»
М.В. Максимов
ПРИЛОЖЕНИЯ (рекомендуемые)
Протокол 1957
|
Серийный иомер детали приспособления | |
|
Наименование детали приспособления | |
|
Приспособление принадлежит | |
|
Единицы измерения | |
|
Погрешность при измерениях | |
|
Средства поверки | |
|
Принадлежность средств поверки | |
|
Периодичность поверки | |
|
Дата проведения поверки | |
|
Поверку производил | |
|
Название организации, проводившей поверку | |
|
Дата следующей поверки |
|
Измеряемая величина |
Номинальное значение величины, мм |
Мини мальное значение величины, мм |
Максимальное значение величины, мм |
Измеренное значение мм |
Поверку прошел |
Поверку не прошел |
|
Расстояние на оси от внешней левой стороны фланца до до внешней правой стороны, (только при первичной поверке) | ||||||
|
Расстояние на оси от точки центра сферы до внутренней плоскости фланца шейки со стороны маркированного конца оси (только при первичной поверке) | ||||||
|
Расстояние на оси от точки центра сферы до внутренней плоскости фланца шейки со стороны не маркированного конца оси (только при первичной поверке) | ||||||
|
Длина шейки со стороны маркированного конца оси (только при первичной поверке) | ||||||
|
Длина шейки со стороны не маркированного конца оси (только при первичной поверке) | ||||||
|
Расстояние на оси от внутренней плоскости шейки до внешней левой стороны фланца со стороны маркирован- |
|
ного конца оси (только при первичной поверке) | ||||||
|
Расстояние на оси от внутренней плоскости шейки до внешней левой стороны фланца со стороны не маркированного конца оси (только при первичной поверке) | ||||||
|
Диаметр шейки со стороны маркированного конца оси (только при первичной поверке) | ||||||
|
Диаметр шейки со стороны не маркированного конца оси (только при первичной поверке) | ||||||
|
Диаметр сферической опоры со стороны маркированного конца оси (только при первичной поверке) | ||||||
|
Диаметр сферической опоры со стороны не маркированного конца оси (только при первичной поверке) | ||||||
|
Радиальное биение оси в средней ее части | ||||||
|
Радиальное биение конца оси с маркированной стороны | ||||||
|
Радиальное биение конца оси с не маркированной стороны |
Примечание. При выполнении периодических поверок необходимо проводить измерения только трех величин радиальных биений, остальные величины измерений могут быть взяты из протокола первичной поверки.
Заключения по поверке:
Дата проведения поверки__________________________________
Поверку выполнил__________________ Подпись_________________________
Протокол № 2132
|
Серийный номер детали приспособления | |
|
Наименование детали приспособления | |
|
Приспособление принадлежит | |
|
Единицы измерения | |
|
Погрешность при измерениях | |
|
Средства поверки | |
|
Принадлежность средств поверки | |
|
Периодичность поверки | |
|
Дата проведения поверки | |
|
Поверку производил | |
|
Название организации, проводившей поверку | |
|
Дата следующей поверки |
|
Измеряемая величина |
Номинальное значение величины, мм |
Минимальное значение величины, мм |
Максимальное значение величины, мм |
Измеренное значение мм |
Поверку прошел |
Поверку не прошел |
|
Расстояние на оси от внешней левой стороны фланца до до внешней правой стороны, (только при первичной поверке) | ||||||
|
Расстояние на оси от точки центра сферы до внутренней плоскости фланца шейки со стороны маркированного конца оси (только при первичной поверке) | ||||||
|
Расстояние на оси от точки центра сферы до внутренней плоскости фланца шейки со стороны не маркированного конца оси (только при первичной поверке) | ||||||
|
Длина шейки со стороны маркированного конца оси (только при первичной поверке) | ||||||
|
Длина шейки со стороны не маркированного конца оси (только при первичной поверке) | ||||||
|
Расстояние на оси от внутренней плоско- |
|
сти шейки до внешней левой стороны фланца со стороны маркированного конца оси (только при первичной поверке) | ||||||
|
Расстояние на оси от внутренней плоскости шейки до внешней левой стороны фланца со стороны не маркированного конца оси (только при первичной поверке) | ||||||
|
Диаметр шейки со стороны маркированного конца оси (только при первичной поверке) | ||||||
|
Диаметр шейки со стороны не маркированного конца оси (только при первичной поверке) | ||||||
|
Диаметр сферической опоры со стороны маркированного конца оси (только при первичной поверке) | ||||||
|
Диаметр сферической опоры со стороны не маркированного конца оси (только при первичной поверке) | ||||||
|
Радиальное биение оси в средней ее части | ||||||
|
Радиальное биение конца оси с маркированной стороны | ||||||
|
Радиальное биение конца оси с не маркированной стороны |
Примечание. При выполнении периодических поверок необходимо проводить измерения только трех величин радиальных биений, остальные величины измерений могут быть взяты из протокола первичной поверки.
Заключения по поверке:
Дата проведения поверки__________________________________
Поверку выполнил__________________ Подпись_________________________
|
Серийный номер детали приспособления | |
|
Наименование детали приспособления | |
|
Приспособление принадлежит | |
|
Единицы измерения | |
|
Погрешность при измерениях | |
|
Средства поверки | |
|
Принадлежность средств поверки | |
|
Периодичность поверки | |
|
Дата проведения поверки | |
|
Поверку производил | |
|
Название организации, проводившей поверку | |
|
Дата следующей поверки |
|
Измеряемая величина |
Номинальное значение величины, мм |
Минимальное значение величины, мм |
Максимальное значение величины, мм |
Измеренное значение мм |
Поверку прошел |
Поверку не прошел |
|
Расстояние между центрами отверстий (только при первичной поверке) | ||||||
|
Диаметр сферического отверстия, с маркированной стороны (только при первичной поверке) | ||||||
|
Диаметр сферического отверстия, с не маркированной стороны (только при первичной поверке) | ||||||
|
Остаточная не плоскостность балки (при первичной и ежегодной поверке) |
Заключения по поверке:
Дата проведения поверки__________________________________
Поверку выполнил__________________ Подпись_________________________
|
Серийный номер детали приспособления | |
|
Наименование детали приспособления | |
|
Приспособление принадлежит | |
|
Единицы измерения | |
|
Погрешность при измерениях | |
|
Средства поверки | |
|
Принадлежность средств поверки | |
|
Периодичность поверки | |
|
Дата проведения поверки | |
|
Поверку производил | |
|
Название организации, проводившей поверку | |
|
Дата следующей поверки |
|
Измеряемая величина |
Номинальное значение величины, мм |
Минимальное значение величины, мм |
Максимальное значение величины, мм |
Измеренное значение мм |
Поверку прошел |
Поверку не прошел |
|
Высота от подошвы опоры до центра отверстия (только при первичной поверке) | ||||||
|
Диаметр отверстия (только при первичной поверке) |
Заключения по поверке:
|
Серийный номер детали приспособления | |
|
Наименование детали приспособления | |
|
Приспособление принадлежит | |
|
Единицы измерения | |
|
Погрешность при измерениях | |
|
Средства поверки | |
|
Принадлежность средств поверки | |
|
Периодичность поверки | |
|
Дата проведения поверки | |
|
Поверку производил | |
|
Название организации, проводившей поверку | |
|
Дата следующей поверки |
|
Измеряемая величина |
Номинальное значение величины, мм |
Минимальное значение величины, мм |
Максимальное значение величины, мм |
Измеренное значение мм |
Поверку прошел |
Поверку не прошел |
|
Высота от подошвы опоры до центра отверстия (только при первичной поверке) | ||||||
|
Диаметр отверстия (только при первичной поверке) |
Заключения по поверке:
|
Серийный номер детали приспособления | |
|
Наименование детали приспособления | |
|
Приспособление принадлежит | |
|
Единицы измерения | |
|
Погрешность при измерениях | |
|
Средства поверки | |
|
Принадлежность средств поверки | |
|
Периодичность поверки | |
|
Дата проведения поверки | |
|
Поверку производил | |
|
Название организации, проводившей поверку | |
|
Дата следующей поверки |
|
Измеряемая величина |
Номинальное значение величины, мм |
Минимальное значение величины, мм |
Максимальное значение величины, мм |
Измеренное значение мм |
Поверку прошел |
Поверку не прошел |
|
Высота от основания до верхней части опоры (при вводе в эксплуатацию и периодической поверки) |
Заключения по поверке:
Дата проведения поверки__________________________________
Поверку выполнил__________________ Подпись_________________________
|
Серийный номер детали приспособления | |
|
Наименование детали приспособления | |
|
Приспособление принадлежит | |
|
Единицы измерения | |
|
Погрешность при измерениях | |
|
Средства поверки | |
|
Принадлежность средств поверки | |
|
Периодичность поверки | |
|
Дата проведения поверки | |
|
Поверку производил | |
|
Название организации, проводившей поверку | |
|
Дата следующей поверки |
|
Измеряемая величина |
Номинальное значение величины, мм |
Минимальное значение величины, мм |
Максималь ное значение величины, мм |
Измеренное значение мм |
Поверку прошел |
Поверку не прошел |
|
Расстояние между центрами отверстий (при первичной и ежегодной поверке) | ||||||
|
Диаметр отверстия на конце балки с номером «0» (при первичной и ежегодной поверке) | ||||||
|
Диаметр отверстия на конце балки с номером «3» (при первичной и ежегодной поверке) | ||||||
|
Остаточная не плоскостность балки(при первичной и ежегодной поверке) |
Заключения по поверке:
Дата проведения поверки__________________________________
Поверку выполнил__________________ Подпись_________________________
|
Серийный номер детали приспособления | |
|
Наименование детали приспособления | |
|
Приспособление принадлежит | |
|
Единицы измерения | |
|
Погрешность при измерениях | |
|
Средства поверки | |
|
Принадлежность средств поверки | |
|
Периодичность поверки | |
|
Дата проведения поверки | |
|
Поверку производил | |
|
Название организации, проводившей поверку | |
|
Дата следующей поверки |
|
Измеряемая величина |
Номинальное значение величины, мм |
Мини мальное значение величины, мм |
Максимальное значение величины, мм |
Измеренное значение мм |
Поверку прошел |
Поверку не прошел |
|
Толщина пластины (только при первичной поверке) | ||||||
|
Остаточная не плоскостность пластины (при первичной и периодической поверке) |
Заключения по поверке:
|
Серийный номер детали приспособления | |
|
Наименование детали приспособления | |
|
Приспособление принадлежит | |
|
Единицы измерения | |
|
Погрешность при измерениях | |
|
Средства поверки | |
|
Принадлежность средств поверки | |
|
Периодичность поверки | |
|
Дата проведения поверки | |
|
Поверку производил | |
|
Название организации, проводившей поверку | |
|
Дата следующей поверки |
|
Измеряемая величина |
Номинальное значение величины, мм |
Мини мальное значение величины, мм |
Максимальное значение величины, мм |
Измеренное значение мм |
Поверку прошел |
Поверку не прошел |
|
Толщина пластины (только при первичной поверке) | ||||||
|
Остаточная не плоскостность пластины (при первичной и ежегодной поверке) | ||||||
|
Концентричность В с С | ||||||
|
Концентричность В с D |
Заключения по поверке:
|
Серийный номер детали приспособления | |
|
Наименование детали приспособления | |
|
Приспособление принадлежит | |
|
Единицы измерения | |
|
Погрешность при измерениях | |
|
Средства поверки | |
|
Принадлежность средств поверки | |
|
Периодичность поверки | |
|
Дата проведения поверкн | |
|
Поверку производил | |
|
Название организации, проводившей поверку | |
|
Дата следующей поверки |
|
Измеряемая величина |
Номинальное значение величины, мм |
Минимальное значение величины, мм |
Максимальное значение величины, мм |
Измеренное значение мм |
Поверку прошел |
Поверку не прошел |
|
Диаметр цилиндрической поверхности (только при первичной поверке) | ||||||
|
Отклонение от соосности резьбовой части штифта (только при первичной поверке) |
Заключения по поверке:
|
Серийный номер детали приспособления | |
|
Наименование детали приспособления | |
|
Приспособление принадлежит | |
|
Единицы измерения | |
|
Погрешность при измерениях | |
|
Средства поверки | |
|
Принадлежность средств поверки | |
|
Периодичность поверки | |
|
Дата проведения поверки | |
|
Поверку производил | |
|
Название организации, проводившей поверку | |
|
Дата следующей поверки |
|
Измеряемая величина |
Номинальное значение величины, мм |
Минимальное значение величины, мм |
Максимальное значение величины, мм |
Измеренное значение мм |
Поверку прошел |
Поверку не прошел |
|
Ширина втулки А | ||||||
|
Ширина втулки В | ||||||
|
Диаметр отверстия А | ||||||
|
Отклонение от соосности от А к В | ||||||
|
Отклонение от соосности от А к С |
Заключения по поверке:
Протокол 1965
|
Измеряемая величина или деталь приспособления |
Измеренное значение, мм |
|
Передняя ось - расстояние от фланца до фланца (включая толщину стенок фланцев) | |
|
Передняя ось - расстояние на оси от точки центра сферы до внутренней плоскости фланца шейки со стороны маркированного конца оси | |
|
Передняя ось - расстояние на оси от точки центра сферы до внутренней плоскости фланца шейки со стороны не маркированного конца оси | |
|
Передняя ось - длина шейки со стороны маркированного конца оси | |
|
Передняя ось - длина шейки со стороны не маркированного конца оси | |
|
Передняя ось - расстояние на оси от внутренней плоскости шейки до внешней левой стороны фланца со стороны маркированного конца оси | |
|
Передняя ось - расстояние на оси от внутренней плоскости шейки до внешней левой стороны фланца со стороны не маркированного конца оси | |
|
Задняя ось - расстояние от фланца до фланца (включая толщину стенок фланцев) | |
|
Задняя ось - расстояние на оси от точки центра сферы до внутренней плоскости фланца шейки со стороны маркированного конца оси | |
|
Задняя ось - расстояние на оси от точки центра сферы до внутренней плоскости фланца шейки со стороны не маркированного конца оси | |
|
Задняя ось - длина шейки со стороны маркированного конца оси | |
|
Задняя ось - длина шейки со стороны не маркированного конца оси | |
|
Задняя ось - расстояние на оси от внутренней плоскости шейки до внешней левой стороны фланца со стороны маркированного конца оси | |
|
Задняя ось - расстояние на оси от внутренней плоскости шейки до внешней левой стороны фланца со стороны не маркированного конца оси | |
|
Левая продольная балка - расстояние между центрами отверстий | |
|
Правая продольная балка - расстояние между центрами отверстий | |
|
Диагональная балка - расстояние между внутренними стенками отверстий | |
|
Диагональная балка - расстояние между внешними стенками отверстий | |
|
РЕЗУЛЬТАТЫ ИЗМЕРЕНИЙ: | |
|
Длина передней оси (от центра сферы до центра сферы) | |
|
Длина задней оси (от центра сферы до центра сферы) | |
|
Длина продольной балки (левой) (от центра сферы до центра сферы) | |
|
Длина продольной балки (правой) (от центра сферы до центра сферы) | |
|
Расстояние от левой передней сферы до левого переднего отверстия для монтажа диагональной балки (передняя ось) | |
|
Расстояние от правой передней сферы до правого переднего отверстия для монтажа диагональной балки (передняя ось) | |
|
Расстояние от левой задней сферы до левого заднего отверстия для монтажа диагональной балки (задняя ось) | |
|
Расстояние от правой задней сферы до правого заднего отверстия для монтажа диагональной балки (задняя ось) | |
|
Расстояние по диагонали между центрами крепления штифтов фиксирующих | |
|
РЕЗУЛЬТАТЫ РАСЧЕТОВ | |
|
Расстояние между центрами крепления штифтов фиксирующих на передней оси, мм | |
|
Расстояние между центрами крепления штифтов фиксирующих на задней оси, мм | |
|
Расчет для треугольника со сторонами: передняя ось - правая продольная балка - диагональная балка. | |
|
Правый передний угол | |
|
- градусы | |
|
Левый передний угол | |
|
- градусы | |
|
Правый задний угол | |
|
- градусы | |
|
Расчет суммы углов треугольника (ожидаемая величина: 180°) | |
|
Расчет для треугольника со сторонами: задняя ось - левая продольная балка - диагональная балка | |
|
Левый задний угол | |
|
- градусы | |
|
Левый передний угол | |
|
- градусы | |
|
Правый задний угол | |
|
- градусы | |
|
Расчет суммы углов треугольника (ожидаемая величина: 180°) | |
|
Левый передний суммарный угол, ° | |
|
Праывй задний суммарный угол, ° | |
|
Расчетные величины | |
|
Наименование характеристики Размерность Измеренное значение | |
|
Результаты измерений расстояния между левым передним фланцем и левой передней точкой крепления диагональной балки |
мм | |
|
Результаты измерений расстояния между правым передним фланцем и правой передней точкой крепления диагональной балки |
мм | |
|
Результаты измерений расстояния между левым задним фланцем и левой задней точкой крепления диагональной балки |
мм | |
|
Результаты измерений расстояния между правым задним фланцем и правой задней точкой крепления диагональной балки |
мм | |
|
Неплоскостность фланцев с левой стороны приспособления |
мм | |
|
Неплоскостность фланцев с правой стороны приспособления |
мм | |
|
Величина угла между фланцами с левой стороны приспособления в продольном направлении |
градусы | |
|
Величина угла между фланцами с правой стороны приспособления в продольном направлении |
градусы | |
|
Величина угла наклона плоскости левого переднего фланца к передней оси (угол схождения) |
градусы | |
|
Величина угла наклона плоскости правого переднего фланца к передней оси (угол схождения) |
градусы | |
|
Величина угла наклона плоскости левого заднего фланца к задней оси (угол схождения) |
градусы | |
|
Величина угла наклона плоскости правого заднего фланца к задней оси (угол схождения) |
градусы | |
|
Суммарный угол схождения передней оси |
градусы | |
|
Суммарный угол схождения задней оси |
градусы | |
|
Величина угла наклона плоскости левого переднего фланца к передней оси (угол развала) |
градусы | |
|
Величина угла наклона плоскости правого переднего фланца к передней оси (угол развала) |
градусы | |
|
Величина угла наклона плоскости левого заднего фланца к задней оси (угол развала) |
градусы | |
|
Величина угла наклона плоскости правого заднего фланца к задней оси (угол развала) |
градусы | |
|
Суммарный угол развала передней оси |
градусы | |
|
Суммарный угол развала задней оси |
градусы |
Заключения по поверке:
Дата проведения поверки__________________________________
Поверку выполнил
Подпись
