Методика поверки «Расходомеры 3051SFA» (МП 46963-11)
ФЕДЕРАЛЬНОЕ ГОСУДАРСТВЕННОЕ УНИТАРНОЕ ПРЕДПРИЯТИЕ
ВСЕРОССИЙСКИЙ НАУЧНО-ИССЛЕДОВАТЕЛЬСКИЙ ИНСТИТУТ МЕТРОЛОГИЧЕСКОЙ СЛУЖБЫ
(ФГУП ВНИИМС)
УТВЕРЖДАЮ
Руководитель ГЦИ СИ ВНИИМС Х'
____В.Н. Яншин
■ J ” МУ_________2011
РАСХОДОМЕРЫ
3051SFA
Методика поверки
МП 46963-11
Москва 201 1 г.
Настоящая рекомендация распространяется на расходомеры 3051SFA и устанавливает методику их первичной и периодической поверки.
Регламентируется поэлементная поверка расходомеров Межповерочный интервал :
-
- 4 года для расходомеров с преобразователями, настроенными на диапазон измерений ДИ в пределах от ДИп1ах до ДИтах/10, при условии корректировки нуля не реже 1 раза в 6 месяцев;
-
- 2 года для остальных расходомеров;
При проведении поверки должны быть выполнены следующие операции:
|
№ № и и |
Наименование операции |
Пункт методики поверки |
|
1. |
Внешний осмотр |
6.1 |
|
2. |
Опробование |
6.2 |
|
3. |
Поверка преобразователя давления измерительного (далее- преобразоватечь) 3051S, (измерение разности давлений). |
6.3 |
|
4. |
Поверка преобразователя многопараметрического (далее- преобразователь) 3051SMV, ( измерение абсолютного / избыточного давления, разности давлений, температуры и вычислении расхода). |
6.4 |
|
5. |
Оценка погрешности термомпре-образователя сопротивления Pt 100 (при его наличии) |
6.5 |
|
6. |
Определение отклонений линейных размеров осредняющих напорных трубок Annubar485 |
6.6 |
|
7. |
Определение основной погрешно- | сти расходомеров | |
6.7 |
Примечание. Операции 3) или 4) при поверке расходомера 3O51SFA проводятся в зависимости от применяемого преобразователя.
2. СРЕДСТВА ПОВЕРКИ,2.1. При проведении поверки используются следующие средства
|
№ |
Наименование сред ства по верки |
Основные метрологические и технические характеристики средств поверки |
|
1. |
Портативный калибратор давления (избыточного) ПКД-10М |
Пределы измерений от 60 кПа.до 25 МПА. Пределы допускаемой основной погрешности ±0,05% от измеряемого давления. |
|
2. |
Задатчик давления «Воздух-1600" |
Пределы воспроизведения избыточного давления от 20 Па до 16 кПа. Пределы допускаемой основной погрешности в диапазоне от 20 до 500 Па- ±0,1 Па; свыше 500 Па и до 16 кПа -±0,02% от задаваемого давления. В комплекте с блоком опорного давления (200, 300 и более Па) пределы воспроизведения разности давлений от 5 Па до 5 кПа; пределы допускаемой основной погрешности в диапазоне до 500 Па -±0,14 Па |
|
3. |
Задатчик давления «Воздух-1,6» |
Пределы воспроизведения избыточного давления от 1 до 160 кПа. Пределы допускаемой основной погрешности - ±0,02%, ±0,05% от задаваемого давления. |
|
4. |
Задатчик давления «Воздух - 2,5» |
Пределы воспроизведения избыточного давления от 2,5 до 250 кПа. Пределы допускаемой основной погрешности: ±0,02 %, ±0,05% от задаваемого давления. |
|
5. |
Задатчик давления «Воздух - 6,3» |
Пределы воспроизведения избыточного давления от 10 до 630 кПа. Пределы допускаемой основной погрешности: ±0,02%, ±0,05%. |
|
6. |
Манометр грузопоршневой МП-2,5 I и II разрядов; ГОСТ 8291-83 |
Пределы допускаемой основной погрешности: ±0,02%, ±0,05% от измеряемого давления в диапазоне измерений от 25 кПа до 0,25 МПа. |
|
7. |
Манометр грузопоршневой МП -6 I и II разрядов : ГОСТ 8291-83 |
Пределы допускаемой основной погрешности: ±0,02%, ±0,05% от измеряемого давления в диапазоне измерений от 0,04 до 0,6 МПа. |
|
8. |
Манометр грузопоршневой МП - 60 |
Пределы допускаемой основной погрешности: ±0,02%, ±0,05% от измеряемого давления в |
|
1 и II разрядов; ГОСТ 8291-83 |
диапазоне измерений от 0,1 до 6 МПа. | |
|
9. |
Манометр грузопоршневой МП-600 I и II разрядов ; ГОСТ 8291-83 |
Пределы допускаемой основной погрешности: ±0,02%, ±0,05% от измеряемого давления в диапазоне измерений от 1 до 60 МПа. |
|
10. |
Барометр М67 |
Пределы измерений (610...900) мм рт. ст.: погрешность измерений ±0,8 мм рт. ст. |
|
И. |
Манометр для точных измерений МТИ |
Пределы измерений от 0,25 до 160 МПа. Класс точности 0,6. |
|
12. |
Термометр ртутный стеклянный лабораторный |
Пределы измерений (0...55) 8С. Цена деления шкалы 0,18С. Пределы допускаемой погрешности ±0,28С. |
|
13. |
Образцовая катушка сопротивления Р331 |
Класс точности 0,01. Сопротивление 100 Ом |
|
14. |
Магазин сопротивлений Р 33, ГОСТ 23737-79 |
Класс точности 0,2. Сопротивление до 99999,9 Ом. |
|
15. |
Магазин сопротивлений Р4831. |
Класс точности 0,02/2.10'6. Сопротивление до 111111,1 Ом |
|
16. |
Вольтметр универсальный В7-54/3. ГОСТ 26104 |
Верхний предел измерений напряжения постоянного тока 200В. Предел допускаемой основной погрешности измерения напряжения постоянного тока ±0,0015% от U+2 единицы младшего разряда, где U - значение измеряемого напряжения. Цена единицы младшего разряда 100 мкВ при измерении напряжения постоянного тока в пределах 2 В. |
|
17. |
Компаратор напряжения постоянного тока Р 3003 Ml |
Класс точности 0,001. Верхний предел измерений 2,121111 В. |
|
18. |
Источник постоянного тока Б5-8 или Б5-45 |
Наибольшее значение напряжения на выходе 50 В. Допускаемое отклонение 60,5% от установленного значения напряжения. |
|
19. |
Модем HART/RS232 или HART/USB |
Преобразователь сигналов HART в сигналы интерфейса RS232 для связи преобразователя с персональным компьютером. |
|
20. |
Модем и (или) портативный коммуникатор на базе цифровых протоколов Foundation Fieldbus или Profibus РА |
Устройство для связи ПК с преобразователем с цифровым выходным сигналом в стандартах указанных протоколов. |
|
21. |
Портативный HART- |
Устройство для связи с датчиком по цифрово- |
|
коммуникатор «Метран-650» или НС-275 фирмы Rosemount |
му каналу и для обмена данными по HART-протоколу. | |
|
22. |
Персональный компьютер |
Компьютер с аппаратным обеспечением и операционной системой, удовлетворяющий требованиям программного обеспечения фирмы-изготовителя для конфигурирования преобразователя. |
|
23. |
ПО |
Программное обеспечение фирмы-изготовителя, позволяющее отображать измеренные параметры. Для преобразователей с функцией расчета расхода - с возможностью в тестовом режиме задавать значения давления, температуры и перепада и отображать рассчитанный расход, а также задавать тестовое значение токового выходного сигнала. |
|
24. |
Коммуникаторы 375, 475 или иной. |
HART или Foundation Fieldbus коммуникатор |
|
25. |
Средства поверки по ГОСТ 8.461-2009 |
В зависимости от конкретного применяемого термопреобразователя |
|
26. |
Микрометры МК по ГОСТ 6507 |
Диапазоны измерений ( 0...25; 25...50 ) мм, класс точности 2 |
|
27. |
Штангенциркули по ГОСТ 166 |
Абсолютная погрешность не более ± 0,1 мм |
-
2.2. Допускается использовать другие средства измерений, если они по своим метрологическим характеристикам не хуже указанных в п.2.1.
-
2.3. Все средства измерений должны быть поверены органами Государственной метрологической службы и иметь действующие свидетельства о поверке.
Дополнительно используется персональный IBM совместимый компьютер с программным обеспечением, позволяющим задавать и считывать информацию с преобразователей 3051S, 3051SMV.
3. ТРЕБОВАНИЯ К КВАЛИФИКАЦИИ ПОВЕРИТЕЛЕЙ-
3.1. К проведению поверки и обработке результатов измерений допускаются лица, обученные работе с приборами и испытательным оборудованием, аттестованные в качестве поверителя на право проведения поверки соответствующих средств измерений.
При проведении поверки расходомеров должны соблюдаться следующие правила техники безопасности:
-
4.1. Правила безопасности по эксплуатации используемых средств измерений, приведенные в эксплуатационной документации;
-
4.2. Правила технической эксплуатации электроустановок.
К поверке допускаются лица, прошедшие специальное обучение по технике безопасности.
5. УСЛОВИЯ ПРОВЕДЕНИЯ ПОВЕРКИПри проведении поверки должны быть соблюдены следующие условия:
-
5.1. Температура окружающего воздуха, °C, 20 ± 5;
-
5.2. Относительная влажность окружающего воздуха, %, от 30 до 80;
-
5.3. Атмосферное давление, кПа, от 86 до 106,7;
-
5.4. Электрические и магнитные поля (кроме земного), а также вибрация и тряска должны находиться в пределах, не оказывающих влияния на работу поверяемых приборов.
-
5.5. Дополнительные условия проведения поверки - в соответствии с методиками поверки на применяемые преобразователи.
-
6. ПРОВЕДЕНИЕ ПОВЕРКИ
-
6.1.1. При внешнем осмотре должны быть установлены:
-
- соответствие комплектности расходомера его эксплуатационной документации;
-
- отсутствие механических повреждений и других дефектов, препятствующих проведению поверки;
-
- соответствие маркировки требованиям эксплуатационной документации;
-
- дополнительные требования к внешнему осмотру в соответствии с методиками поверки на применяемые преобразователи.
Опробование производится в соответствии с разделами "Опробование" применяемых преобразователей.
6.3. Поверка преобразователя 3051S.Поверка преобразователя 3051S проводится в соответствии с документом "Рекомендация. ГСП. Преобразователи давления измерительные 3051S производства фирмы Emerson Process Management ( Rosemount). Методика поверки". Погрешности при измерении разности давлений не должны превышать значений, указанных в технической документации
6.4. Поверка преобразователя 3051SMV.Поверка преобразователя 3051SMV производится в соответствии с документом "Рекомендация. ГСП. Преобразователи многопараметрические 3051SMV. Методика поверки".
Примечание. Результаты поверки преобразователей могут указываться в общем свидетельстве на расходомер.
6.5. Оценка погрешности термопреобразователя сопротивления PtlOOОценка погрешности термопреобразователя сопротивления PtlOO проводится по ГОСТ 8.461 - 2009. Погрешности не должны превышать значений, указанных для класса А или В (в зависимости от класса термопреобразователя), указанных в ГОСТ 6651 - 2009 (МЭК 6075 Г)
6.6. Определение отклонений линейных размеров осредняющей напорной трубки Annubar485-
6.6.1. Определение отклонений ширины фронтальной части осредняющих напорных трубок всех моделей Annubar 485
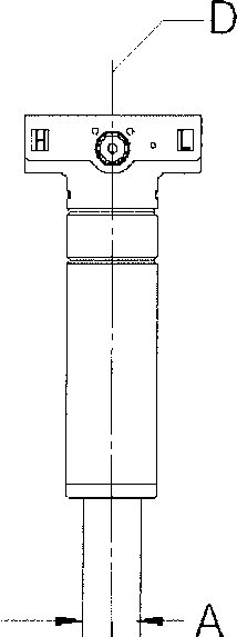
Ширину фронтальной части осредняющей напорной трубки (далее-ОНТ) измеряют микрометром в сечениях А, В и С в соответствии с приложением 1
ОНТ Annubar 485 считаются прошедшими поверку, если отклонение измеренной ширины фронтальной части ОНТ Annubar 485 от значений, приведенных в протоколе фирмы на конкретную трубку (форма QC7 ), не более допускаемых отклонений, приведенных в протоколе фирмы на конкретную трубку.
При отсутствии форм QC7 отклонение измеренных значений ширины фронтальной части от значений, указанных в таблице 1, не должно превышать допускаемых отклонений, приведенных в приложении 1
Таблица 1. - Ширина трубки ANNUBAR________________
|
Модель трубки |
Ширина, мм (дюйм) |
|
Annubar 485 | |
|
1 |
14,986(0,590) |
|
О |
26,924(1,060) |
|
3 |
49,149(1,935) |
-
6.6.2. Определение отклонения оси осредняющей трубки всех моделей Annubar 485 от прямолинейности
Отклонение оси осредняющей напорной трубки от прямолинейности определяют визуальным осмотром. Ось осредняющей напорной трубки не должна отклоняться более чем на 5°. В случае сомнения угол можно определять с помощью измерительного прибора, например, уровня.
-
6.6.3. Осредняющие напорные трубки Annubar 485 считаются прошедшими поверку, если отклонения не превышают допускаемых значений, в соответствии с таблицей 1 и приложением 1. При этом считают, что основная погрешность ОНТ находится в пределах допускаемых значений, указанных фирмой - изготовителем.
-
6.7.1. При поэлементной поверке каждый элемент (измерительный компонент) расходомеров поверяется по своей методике. При этом считают, что погрешность расходомеров лежит в пределах допускаемых значений, если при поверке всех входящих в них измерительных компонентов погрешности компонентов не выходят за пределы допускаемых значений.
-
7.1. Положительные результаты поверки оформляют в соответствии с ПР 50.2.006.
-
7.2. При отрицательных результатах поверки расходомеры к применению не допускаются, на них выдают извещения о непригодности с указанием причин, свидетельства аннулируют.
Приложение 1
Annubar Flowmeter As Built Dimensions / Отчет поверки основных размеров ОНТ
Annubar
Model____________Customer __________________Serial No. _____
Модель Заказчик Серийный №
Sales Order No. __________________________Pipe I.D.______________Wall__________
Номер заказа Внутр, диам.трубопр-да Толщина стенки
Inspector / Проверил_________________________________Date / Дата________________

Расположение размеров А, В и С (см. рис справа)
Входные отверстия

АВС
Проводится проверка размеров А, В, и С со следующими допусками:
Допуск для типоразмера 1
для ID < 3.068777.93 mm): ±0.004" (,10mm) для ID > 3.068777.93 mm): +0.008” (,20mm)
Допуск для типоразмера 2:
Для 6” (150mm) < ID < 9672400 mm): ±0.020" (,51mm)
Допуск для типоразмера 3:
для ID > 12”(300 mm): ±0.028” (.71mm)


Измерение проводится по верхней границе щели Измерено_________
Измерение проводится в центре щелевой зоны сенсора
Измерено ___________
Измерение проводится по нижней границе щели Измерено__________
DS-6709 Rev. AF
О
тле г 1
Визуально проверяется прямолинейность сенсора. Отклонение должно находиться в пределах +5°.
