Номер по Госреестру СИ: 80449-20
80449-20 Система измерительная автоматизированной системы управления технологическим процессом котла № 2 паровоздуходувной станции АО «ЕВРАЗ ЗСМК»
( )

Внешний вид.
Система измерительная автоматизированной системы управления технологическим процессом котла № 2 паровоздуходувной станции АО «ЕВРАЗ ЗСМК»
Рисунок № 1
Программное обеспечение
ИС работает под управлением программного обеспечения (ПО) состоящего из следующих компонентов:
-
- SIMATIC WinCC 6 и разработанного на его основе программного проекта автоматизации «Project_PVS_K2». ПО SCADA (метрологически значимая часть ПО ИС) выполняет функцию отображения результатов измерений технологических параметров, сообщений, мнемосхем, основных параметров технологического процесса, сигналов сигнализации, а также передачи управляющих воздействий от оператора;
-
- STEP7 v. 5.5 и разработанного на его основе программного проекта автоматизации «PVSK2_Real». ПО контроллеров SIMATIC S7-400 (метрологически значимая часть ПО ИС) осуществляет автоматизированный сбор, передачу, обработку измерительной информации, обеспечивает работу блокировок, предупредительной и аварийной сигнализации.
Защита от несанкционированного изменения параметров настроек измерительных каналов, алгоритмов измерений, преобразования и вычисления параметров метрологически значимой части ПО обеспечивается системой паролирования доступа к интерфейсу ПО. Идентификационные данные ПО ИС приведены в таблице 1.
Таблица 1- Идентификационные данные программного обеспечения
Идентификационные
Значение
данные (признаки)
Идентификационное наименование ПО
Проект контроллера PLC: «PVSK2_Real»
Проект WinCC подсистемы визуализации: «Project PVS K2»
Номер версии (идентификационный номер ПО)
Цифровой идентификатор ПО
Для файла конфигурации проекта PLC «PVSK2_Real»: \_PLC_K2\ombstx\offline\0000001a\BAUSTEIN.DBT 7e4423c9f22adabe75f2204f93f58199 \_PLC_K2\ombstx\offline\0000001a\SUBBLK.DBT 276e4b18a82a1ed37884f15c9fc2c761
Для файла конфигурации проекта WinCC «Project_PVS_K2»: \_WinCC_K2\Project_PVS_K2.MCP eb4f1fb992250087b75d116f70d83252 \_WinCC_K2\Project_PVS_K2.mdf ed00f250050adb6491e96bdcf66e25a9
Алгоритм вычисления цифрового
MD5
идентификатора ПО
Метрологические характеристики нормированы с учетом ПО контроллера. Уровень защиты ПО контроллера и ПО АРМ от непреднамеренных и преднамеренных изменений соответствует уровню "высокий" по классификации Р 50.2.077-2014.
Знак утверждения типа
Знак утверждения типа наносится на титульный лист паспорта типографским способом.Сведения о методиках измерений
Сведения о методиках (методах) измеренийприведены в эксплуатационном документе.
Нормативные и технические документы
Нормативные документы, устанавливающие требования к Системе измерительной автоматизированной системы управления технологическим процессом котла № 2 паровоздуходувной станции АО «ЕВРАЗ ЗСМК».
ГОСТ Р 8.596-2002 ГСИ. Метрологическое обеспечение измерительных систем. Основные положения
ГОСТ Р 52931-2008 Приборы контроля и регулирования технологических процессов. Общие технические условия
Поверка
Поверкаосуществляется в соответствии с документом МП ИЦ289-20 «Система измерительная автоматизированной системы управления технологическим процессом котла № 2
паровоздуходувной станции АО «ЕВРАЗ ЗСМК». Методика поверки», утвержденным ФБУ «Кемеровский ЦСМ» 20 января 2020 г.
Основные средства поверки:
-
- средства измерений и эталоны в соответствии с нормативной документацией по поверке первичных измерительных преобразователей и PLC;
-
- термогигрометр ИВА-6Р-Д, регистрационный номер в Федеральном информационном фонде № 46434-11;
-
- мультиметр цифровой 34401А, регистрационный номер в Федеральном информационном фонде № 54848-13;
-
- планшетный компьютер с фотоаппаратом, настроенный на синхронизацию шкалы времени с тайм-сервера уровня stratum 1 (ntp1.niiftri.irkutsk.ru) Восточно-Сибирского филиала ФГУП «ВНИИФТРИ».
Допускается применение аналогичных средств поверки, обеспечивающих определение метрологических характеристик поверяемых СИ с требуемой точностью.
Знак поверки наносится на свидетельство о поверке ИС в виде оттиска поверительного клейма.
Изготовитель
Акционерное общество «ЕВРАЗ Объединенный Западно-Сибирский металлургический комбинат» (АО «ЕВРАЗ ЗСМК»)ИНН 4218000951
Адрес: 654043, Кемеровская обл., г. Новокузнецк, шоссе Космическое, д. 16
Телефон: (3843) 59-59-00
Факс: (3843) 59-59-59
Web-сайт: http://www.zsmk.ru
E-mail: zsmk@evraz.com
Испытательный центр
Федеральное бюджетное учреждение «Государственный региональный центр стандартизации, метрологии и испытаний в Кемеровской области» (ФБУ «Кемеровский ЦСМ»)Адрес: 654032, Кемеровская обл., г. Новокузнецк, ул. Народная, д. 49 Юридический адрес: 650991, Кемеровская область, г. Кемерово, ул. Дворцовая, д. 2 Телефон: (3843) 36-41-41
Факс: (3843) 36-02-62
Web-сайт: http://www.csmnvkz.ru
E-mail: info@csmnvkz.ru
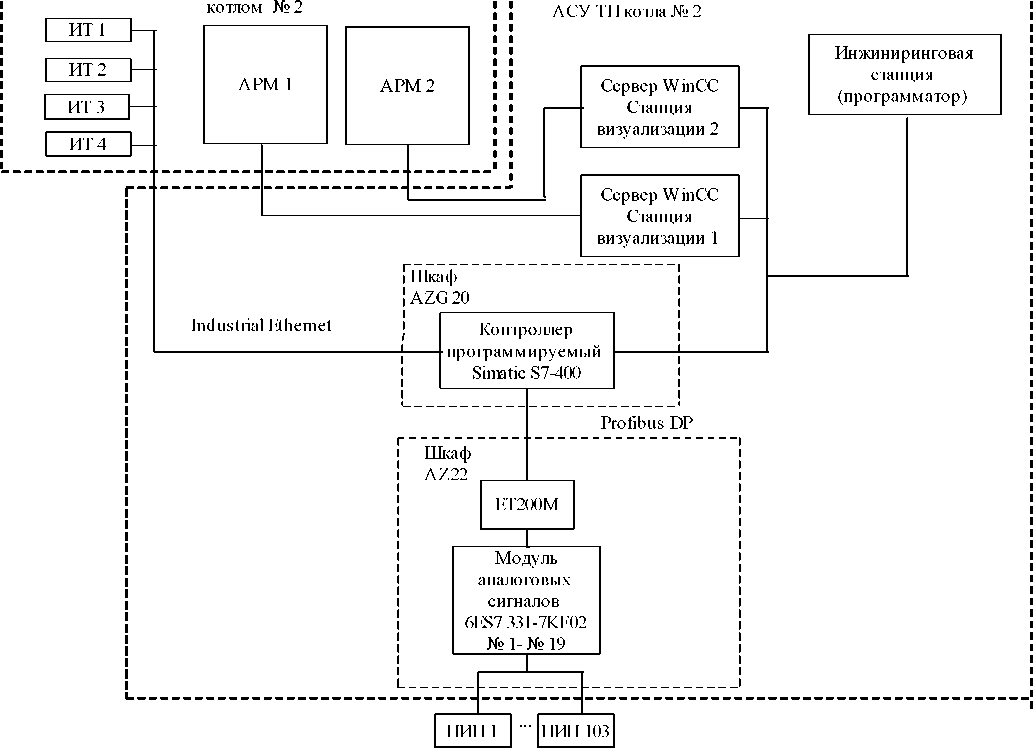
ИС является средством измерений единичного производства. Принцип действия ИС состоит в том, что первичные измерительные преобразователи непрерывно выполняют измерение физических величин и их преобразование в унифицированные электрические сигналы, поступающие на модули аналогового ввода программируемого контроллера. Контроллер циклически опрашивает поступившие сигналы и выполняет их аналого-цифровое преобразование, осуществляет преобразование цифровых кодов в значения технологических параметров. С контроллера, по цифровому каналу, информация поступает на сервера станций визуализации, предназначенных для отображения параметров технологических процессов в физических величинах и ведения архива данных. В ИС предусмотрено дублирование серверов, что обеспечивает возможность предоставления информации и долговременное хранение при отказе одного из них.
Конструктивно ИС представляет собой трехуровневую систему, построенную по иерархическому принципу.
Измерительные каналы (ИК) ИС состоят из следующих компонентов (по ГОСТ Р 8.5962002):
-
1) измерительные компоненты - первичные измерительные преобразователи, имеющие нормированные метрологические характеристики (нижний уровень ИС);
-
2) комплексный компонент - контроллер программируемый (PLC) SIMATIC S7-400 с центральным процессором CPU 416-2DP (средний уровень ИС);
-
3) вычислительные компоненты - автоматизированное рабочее место (АРМ), предназначенные для отображения параметров технологических процессов, состояния оборудования ИС, выдачи аварийной сигнализации, ввода технологических параметров (верхний ИС);
-
4) связующие компоненты - технические устройства и средства связи, используемые для приема и передачи сигналов, несущих информацию об измеряемой величине от одного компонента ИС к другому;
-
5) вспомогательные компоненты - приборы световой и звуковой сигнализации, используемые для отображения состояния отдельных рабочих процессов и работы оборудования, а также для сигнализации неисправностей. Информационные табло, предназначенные для дополнительного отображения значений технологических параметров
Измерительные каналы ИС имеют простую структуру, которая позволяет реализовать прямой метод измерений путем последовательных измерительных преобразований. ИС имеет в своем составе 103 измерительных канала. Структурная схема ИС приведена на рисунке 1.
Все компоненты ИС размещаются в специализированных запираемых шкафах, размещенных в специальных помещениях, имеющие ограничение доступа.
г
г
1
Щит КИПиА
Помещение пульта управления
Помещение оборудования
ИТ - информационное табло; ПИП - первичный измерительный преобразователь
Рисунок 1 - Структурная схема ИС
Пломбирование ИС не предусмотрено.
В состав ИС входят:
-
- технические средства (измерительные и комплексные компоненты) представлены в таблице 3;
-
- вычислительные, вспомогательные компоненты и техническая документация в
таблице 4.
Таблица 4 -
|
Наименование |
Количество |
|
Автоматизированное рабочее место |
2 шт. |
|
Контроллер программируемый SIMATIC S7-400 |
1 шт. |
|
ИЦ289.ТРП.00 ОАО «ЕВРАЗ ЗСМК». Паровоздуходувная станция. Автоматизированная система управления технологическим процессом котла № 2. Технорабочий проект |
1 экз. |
|
ИЦ289.ТРП.00-ИЭ.01-07 ОАО «ЕВРАЗ ЗСМК». Паровоздуходувная станция. Автоматизированная система управления технологическим процессом котла № 2. Технорабочий проект. Инструкция по эксплуатации для машиниста котлоагрегатов |
1 экз. |
|
ИЦ289.ТРП.00-ИЭ.02-07 ОАО «ЕВРАЗ ЗСМК». Паровоздуходувная станция. Автоматизированная система управления технологическим процессом котла № 2. Технорабочий проект. Инструкция по эксплуатации для слесаря КИПиА |
1 экз. |
|
МП ИЦ289-20 Система измерительная автоматизированной системы управления технологическим процессом котла № 2 паровоздуходувной станции АО «ЕВРАЗ ЗСМК». Методика поверки» |
1 экз. |
|
Система измерительная автоматизированной системы управления технологическим процессом котла № 2 паровоздуходувной станции АО «ЕВРАЗ ЗСМК». Паспорт |
1 экз. |
Таблица 2 - Основные технические характеристики
Наименования характеристики
Значение
220±22
50/60
24±2,4
от 4 до 20 от 0 до 45,1
от 39,35 до 82,1
Параметры электрического питания:
-
- напряжение переменного тока, В
-
- частота переменного тока, Гц
- напряжение постоянного тока, В
Параметры сигналов с измерительных преобразователей:
- электрический ток (по ГОСТ 26.011-80), мА
- сигналы с термопар с номинальными статическими характеристиками преобразования (по ГОСТ Р 8.5852001), мВ
- сигналы с термопреобразователей сопротивления с номинальными статическими характеристиками преобразования (по ГОСТ 6651-2009), Ом
Климатические условия эксплуатации
определены документацией компонентов ИС
Средний срок службы, лет, не менее
ПО ИС поддерживает синхронизацию с сервером точного времени, обеспечивая привязку времени полученных данных к национальной шкале координированного времени Российской Федерации иТС (SU) с погрешностью в пределах ±1 с.
Таблица 3 - Метрологические характеристики
|
№ ИК |
Наименование ИК |
Диапазон измерений физической величины, ед. измерений |
СИ, входящие в состав ИК ИУС |
Границы допускаемой основной погрешности ИК |
Границы допускаемой погрешности ИК в рабочих условиях | |||
|
Наименование, тип СИ |
Госреестр № |
Пределы допускаемой основной погрешности компонента ИК |
Пределы допускаемой дополнительно й погрешности компонента ИК | |||||
|
1 |
2 |
3 |
4 |
5 |
6 |
7 |
8 |
9 |
|
Центральный процессор контроллера прог] |
аммируемого Simatic S7-400 CPU41 |
16-2DP | ||||||
|
1 |
Содержание кислорода в отходящих газах (дыме) справа |
от 0 до 25 % |
Анализатор кислорода циркониевый EXA ZR |
22117-01 |
Y=±2,0 % |
Y=±1,0 %/10 °C |
Y=±2,5 % |
Y=±4,9 % |
|
6ES7 331-7KF02-0AB0 |
15772-11 |
Y=±0,5 % |
Y=±0,7 % | |||||
|
2 |
Температура питательной воды |
от 0 до +300 °С |
Термопреобразователь с унифицированным выходным сигналом УТСП, мод. УТСП-1088 (далее- УТСП-1088) |
26242-03 |
Y=±0,25 % |
Y=±0,5 %/10 °C |
Д=±0,8 °C |
Д=±12,2 °C |
|
6ES7 331-7KF02-0AB0 |
15772-11 |
Y=±0,5 % |
Y=±0,7 % | |||||
|
3 |
Давление питательной воды |
от 0 до 250 кгс/см2 |
Датчик давления Метран-55 (далее-Метран-55) |
18375-08 |
Y=±0,35 % |
- |
Y=±0,7 % |
Y=±0,9 % |
|
6ES7 331-7KF02-0AB0 |
15772-11 |
Y=±0,5 % |
Y=±0,7 % | |||||
|
4 |
Расход питательной воды (основной датчик) |
от 0 до 160 т/ч |
Преобразователь давления измерительный EJA, мод. 130 (далее- EJA, мод. 130) |
14495-09 |
Y=±0,25 % |
Y=±0,1 %/10 °C |
Y=±1,5 % |
Y=±1,6 % |
|
6ES7 331-7KF02-0AB0 |
15772-11 |
Y=±0,5 % |
Y=±0,7 % | |||||
|
1 |
2 |
3 |
4 |
5 |
6 |
7 |
8 |
9 |
|
5 |
Расход воды на поверхностное пароохлаждение |
От 0 до 63 т/ч |
Преобразователь давления измерительный EJX, мод. EJX 110 (далее -EJX, мод. EJX 110) |
28456-09 |
Y=±0,04 % |
Y=±0,1 %/10 °C |
Y=±1,5 % |
Y=±1,6 % |
|
6ES7 331-7KF02-0AB0 |
15772-11 |
Y=±0,5 % |
Y=±0,7 % | |||||
|
6 |
Расход воды на конденсатор впрыска |
от 0 до 40 т/ч |
EJA, мод. 130 |
14495-09 |
Y=±0,25 % |
Y=±0,1 %/10 °C |
Y=±1,5 % |
Y=±1,8 % |
|
6ES7 331-7KF02-0AB0 |
15772-11 |
Y=±0,5 % |
Y=±0,7 % | |||||
|
7 |
Расход конденсата на впрыск |
от 0 до 8 т/ч |
EJA, мод. 130 |
14495-09 |
Y=±0,25 % |
Y=±0,1 %/10 °C |
Y=±1,9 % |
Y=±2,1 % |
|
6ES7 331-7KF02-0AB0 |
15772-11 |
Y=±0,5 % |
Y=±0,7 % | |||||
|
8 |
Расход воды на непрерывную продувку (слева) |
от 0 до 1,6 т/ч |
Датчики давления Метран-150 (далее-Метран-150) |
32854-13 |
Y=±0,075 % |
Y=±0,2 %/10 °C |
Y=±2,3 % |
Y=±2,6 % |
|
6ES7 331-7KF02-0AB0 |
15772-11 |
Y=±0,7 % |
Y=±0,7 % | |||||
|
9 |
Расход воды на непрерывную продувку (справа) |
от 0 до 1,6 т/ч |
Датчик давления Метран-100 (далее-Метран-100) |
22235-01 |
Y=±0,25 % |
Y=±0,25 %/10 °C |
Y=±2,3 % |
Y=±2,4 % |
|
6ES7 331-7KF02-0AB0 |
15772-11 |
Y=±0,5 % |
Y=±0,7 % | |||||
|
10 |
Расход орошающей воды на газопылеулавливающую установку (слева) |
от 0 до 32 м3/ч |
Счетчик-расходомер электромагнитный ADMAG, мод. AXR (далее- ADMAG, мод. AXR) |
59435-14 |
6=±0,5 % |
- |
Y=±0,8 % |
Y=±1,0 % |
|
6ES7 331-7KF02-0AB0 |
15772-11 |
Y=±0,5 % |
Y=±0,7 % | |||||
|
11 |
Расход орошающей воды на газопылеулавливающую установку (справа) |
от 0 до 32 м3/ч |
ADMAG, мод. AXR |
59435-14 |
6=±0,5 % |
- |
Y=±0,8 % |
Y=±1,0 % |
|
6ES7 331-7KF02-0AB0 |
15772-11 |
Y=±0,5 % |
Y=±0,7 % |
|
1 |
2 |
3 |
4 |
5 |
6 |
7 |
8 |
9 |
|
12 |
Давление пара на импульсный предохранительный клапан контрольный (основной датчик) |
от 0 до 160 кгс/см2 |
Преобразователь давления измерительный Sitrans P типа 7MF, мод. серии Z7MF1563 (далее - Sitrans P 7MF, мод. серии Z7MF1563) |
45743-10 |
Y=±0,5 % |
Y=±0,3 % |
Y=±0,8 % |
Y=±1,1 % |
|
6ES7 331-7KF02-0AB0 |
15772-11 |
Y=±0,5 % |
Y=±0,7 % | |||||
|
13 |
Давление перегретого пара после главной паровой задвижки (основной датчик) |
от 0 до 160 кгс/см2 |
Sitrans P 7MF, мод. серии Z 7MF1563 |
45743-10 |
Y=±0,5 % |
Y=±0,3 % |
Y=±0,8 % |
Y=±1,1 % |
|
6ES7 331-7KF02-0AB0 |
15772-11 |
Y=±0,5 % |
Y=±0,7 % | |||||
|
14 |
Температура воздуха перед воздухоподогре-вом I ступени (справа) |
от -50 до +150°С |
Термопреобразователь с унифицированным выходным сигналом УТСМ, мод. УТСМ-1088 |
26242-03 |
Y=±0,25 % |
Y=±0,5 %/10 °C |
Д=±0,6 °С |
Д=±8,2 °C |
|
6ES7 331-7KF02-0AB0 |
15772-11 |
Y=±0,5 % |
Y=±0,7 % | |||||
|
15 |
Температура воздуха перед мельницей "А" |
от 0 до +200 °С |
Преобразователь термоэлектрический ТХАв-2088 (далее-ТХАв-2088) |
20285-10 |
Д=±2,5 °С |
- |
Д=±2,5 °С |
Д=±2,7 °C |
|
6ES7 331-7KF02-0AB0 |
15772-11 |
Y=±0,7 % |
Y=±1,1 % | |||||
|
16 |
Температура воздуха перед мельницей "Б" |
от 0 до +200 °С |
ТХАв-2088 |
20285-10 |
Д=±2,5 °С |
- |
Д=±2,5 °C |
Д=±2,7 °C |
|
6ES7 331-7KF02-0AB0 |
15772-11 |
Y=±0,7 % |
Y=±1,1 % | |||||
|
17 |
Давление воздуха после дутьевого вентилятора "A" (слева) |
от 0 до 400 мм вод. ст. |
Метран-55 |
18375-08 |
Y=±0,35 % |
- |
Y=±0,7 % |
Y=±0,9 % |
|
6ES7 331-7KF02-0AB0 |
15772-11 |
Y=±0,5 % |
Y=±0,7 % |
|
1 |
2 |
3 |
4 |
5 |
6 |
7 |
8 |
9 |
|
18 |
Давление воздуха после дутьевого вентилятора "Б" (справа) |
от 0 до 400 мм вод. ст. |
Метран-55 |
18375-08 |
Y=±0,35 % |
- |
Y=±0,7 % |
Y=±0,9 % |
|
6ES7 331-7KF02-0AB0 |
15772-11 |
Y=±0,5 % |
Y=±0,7 % | |||||
|
19 |
Давление горячего воздуха после воздухоподогревателя II ступени (слева) |
от 0 до 250 мм вод. ст. |
Метран-55 |
18375-08 |
Y=±0,35 % |
- |
Y=±0,7 % |
Y=±0,9 % |
|
6ES7 331-7KF02-0AB0 |
15772-11 |
Y=±0,5 % |
Y=±0,7 % | |||||
|
20 |
Давление горячего воздуха после воздухоподогревателя II ступени (справа) |
от 0 до 250 мм вод. ст. |
Метран-55 |
18375-08 |
Y=±0,35 % |
- |
Y=±0,7 % |
Y=±0,9 % |
|
6ES7 331-7KF02-0AB0 |
15772-11 |
Y=±0,5 % |
Y=±0,7 % | |||||
|
21 |
Разрежение воздуха перед мельницей "А" |
от -600 до 0 мм вод. ст. |
Метран-100 |
22235-01 |
Y=±0,5 % |
Y=±0,4 %/10 °C |
Y=±0,8 % |
Y=±2,4 % |
|
6ES7 331-7KF02-0AB0 |
15772-11 |
Y=±0,5 % |
Y=±0,7 % | |||||
|
22 |
Разрежение воздуха перед мельницей "Б" |
от -600 до 0 мм вод. ст. |
Метран-100 |
22235-01 |
Y=±0,5 % |
Y=±0,4 %/10 °C |
Y=±0,8 % |
Y=±2,4 % |
|
6ES7 331-7KF02-0AB0 |
15772-11 |
Y=±0,5 % |
Y=±0,7 % | |||||
|
23 |
Сопротивление воздушному потоку воздухоподогревателя № 1 |
от 0 до 160 мм вод. ст. |
Метран-100 |
22235-01 |
Y=±0,5 % |
Y=±0,2 %/10 °C |
Y=±0,8 % |
Y=±1,5 % |
|
6ES7 331-7KF02-0AB0 |
15772-11 |
Y=±0,5 % |
Y=±0,7 % | |||||
|
24 |
Давление пара в барабане котла (основной датчик) |
от 0 до 160 кгс/см2 |
Метран-55 |
18375-08 |
Y=±0,35 % |
- |
Y=±0,7 % |
Y=±0,9 % |
|
6ES7 331-7KF02-0AB0 |
15772-11 |
Y=±0,5 % |
Y=±0,7 % |
|
1 |
2 |
3 |
4 |
5 |
6 |
7 |
8 |
9 |
|
25 |
Уровень воды в барабане котла (основной датчик) |
от -315 до 315 мм вод. ст. |
Преобразователь давления измерительный EJA, мод. 110 (далее- EJA, мод. 110) |
14495-09 |
Y=±0,25 % |
Y=±0,1 %/10 °C |
Y=±0,6 % |
Y=±1,1 % |
|
6ES7 331-7KF02-0AB0 |
15772-11 |
Y=±0,5 % |
Y=±0,7 % | |||||
|
26 |
Температура доменного газа |
от -50 до +150°С |
УТСП-1088 |
26242-03 |
Y=±0,25 % |
Y=±0,5 %/10 °C |
Д=±0,6 °C |
Д=±8,2 °C |
|
6ES7 331-7KF02-0AB0 |
15772-11 |
Y=±0,5 % |
Y=±0,7 % | |||||
|
27 |
Давление доменного газа до регулирующих клапанов |
от 0 до 1000 мм вод. ст. |
Метран-55 |
18375-08 |
Y=±0,35 % |
- |
Y=±0,7 % |
Y=±0,9 % |
|
6ES7 331-7KF02-0AB0 |
15772-11 |
Y=±0,5 % |
Y=±0,7 % | |||||
|
28 |
Давление доменного газа за регулирующими клапанами |
от 0 до 1000 мм вод. ст. |
Sitrans P 7MF, мод. серии Z 7MF1563 |
45743-10 |
Y=±0,5 % |
Y=±0,3 % |
Y=±0,8 % |
Y=±1,1 % |
|
6ES7 331-7KF02-0AB0 |
15772-11 |
Y=±0,5 % |
Y=±0,7 % | |||||
|
29 |
Температура коксового газа |
от -50 до +150°С |
УТСП-1088 |
26242-03 |
Y=±0,25 % |
Y=±0,5 %/10 °C |
Д=±0,6 °C |
Д=±8,2 °C |
|
6ES7 331-7KF02-0AB0 |
15772-11 |
Y=±0,5 % |
Y=±0,7 % | |||||
|
30 |
Давление коксового газа до регулирующих клапанов |
от 0 до 2000 мм вод. ст. |
Преобразователь давления измерительный EJX, мод. EJX 530 (далее -EJX, мод. EJX 530) |
28456-09 |
Y=±0,04 % |
Y=±0,1 %/10 °C |
Y=±0,5 % |
Y=±1,1 % |
|
6ES7 331-7KF02-0AB0 |
15772-11 |
Y=±0,5 % |
Y=±0,7 % | |||||
|
31 |
Давление коксового газа за регулирующими клапанами |
от 0 до 1000 мм вод. ст. |
Метран-150 |
32854-13 |
Y=±0,075 % |
Y=±0,05 %/10 °C |
Y=±0,5 % |
Y=±0,9 % |
|
6ES7 331-7KF02-0AB0 |
15772-11 |
Y=±0,5 % |
Y=±0,7 % |
|
1 |
2 |
3 |
4 |
5 |
6 |
7 |
8 |
9 |
|
32 |
Давление коксового газа перед горелкой № 1 |
от 0 до 600 мм вод. ст. |
Преобразователь давления измерительный Sitrans Р210 (далее- Sitrans Р210) |
51587-12 |
Y=±0,5 % |
Y=±0,25 %/10 °C |
Y=±0,8 % |
Y=±2,1 % |
|
6ES7 331-7KF02-0AB0 |
15772-11 |
Y=±0,5 % |
Y=±0,7 % | |||||
|
33 |
Давление коксового газа перед горелкой № 3 |
от 0 до 600 мм вод. ст. |
Sitrans Р210 |
51587-12 |
Y=±0,5 % |
Y=±0,25 %/10 °C |
Y=±0,8 % |
Y=±2,1 % |
|
6ES7 331-7KF02-0AB0 |
15772-11 |
Y=±0,5 % |
Y=±0,7 % | |||||
|
34 |
Давление коксового газа перед горелкой № 4 |
от 0 до 600 мм вод. ст. |
Метран-100 |
22235-01 |
Y=±0,5 % |
Y=±0,2 %/10 °C |
Y=±0,8 % |
Y=±1,5 % |
|
6ES7 331-7KF02-0AB0 |
15772-11 |
Y=±0,5 % |
Y=±0,7 % | |||||
|
35 |
Давление природного газа до регулирующих клапанов |
от 0 до 1,6 кгс/см2 |
Метран-100 |
22235-01 |
Y=±0,5 % |
Y=±0,2 %/10 °C |
Y=±0,8 % |
Y=±1,5 % |
|
6ES7 331-7KF02-0AB0 |
15772-11 |
Y=±0,5 % |
Y=±0,7 % | |||||
|
36 |
Давление природного газа за регулирующими клапанами |
от 0 до 1,6 кгс/см2 |
EJX, мод. EJX 530 |
28456-09 |
Y=±0,04 % |
Y=±0,1 %/10 °C |
Y=±0,5 % |
Y=±1,1 % |
|
6ES7 331-7KF02-0AB0 |
15772-11 |
Y=±0,5 % |
Y=±0,7 % | |||||
|
37 |
Давление природного газа перед горелкой № 1 |
от 0 до 1000 мм вод. ст. |
Метран-100 |
22235-01 |
Y=±0,5 % |
Y=±0,3 %/10 °C |
Y=±0,8 % |
Y=±1,9 % |
|
6ES7 331-7KF02-0AB0 |
15772-11 |
Y=±0,5 % |
Y=±0,7 % | |||||
|
38 |
Давление природного газа перед горелкой № 2 |
от 0 до 1000 мм вод. ст. |
Метран-100 |
22235-01 |
Y=±0,5 % |
Y=±0,3 %/10 °C |
Y=±0,8 % |
Y=±1,9 % |
|
6ES7 331-7KF02-0AB0 |
15772-11 |
Y=±0,5 % |
Y=±0,7 % |
|
1 |
2 |
3 |
4 |
5 |
6 |
7 |
8 |
9 |
|
39 |
Давление природного газа перед горелкой № 3 |
от 0 до 1000 мм вод. ст. |
Метран-100 |
22235-01 |
Y=±0,5 % |
Y=±0,3 %/10 °C |
Y=±0,8 % |
Y=±1,9 % |
|
6ES7 331-7KF02-0AB0 |
15772-11 |
Y=±0,5 % |
Y=±0,7 % | |||||
|
40 |
Давление природного газа перед горелкой № 4 |
от 0 до 1000 мм вод. ст. |
Преобразователь давления измерительный Sitrans Р200 |
51587-12 |
Y=±0,5 % |
Y=±0,25 %/10 °C |
Y=±0,8 % |
Y=±2,1 % |
|
6ES7 331-7KF02-0AB0 |
15772-11 |
Y=±0,5 % |
Y=±0,7 % | |||||
|
41 |
Температура угольной пыли в бункере |
от 0 до +200 °С |
УТСП-1088 |
26242-03 |
Y=±0,25 % |
Y=±0,5 %/10 °C |
Д=±0,6 °C |
Д=±8,2 °C |
|
6ES7 331-7KF02-0AB0 |
15772-11 |
Y=±0,5 % |
Y=±0,7 % | |||||
|
42 |
Сопротивление воздушному потоку мельницы "А" |
от 0 до 600 мм вод. ст. |
Метран-100 |
22235-01 |
Y=±0,5 % |
Y=±0,2 %/10 °C |
Y=±0,8 % |
Y=±1,5 % |
|
6ES7 331-7KF02-0AB0 |
15772-11 |
Y=±0,5 % |
Y=±0,7 % | |||||
|
43 |
Сопротивление воздушному потоку мельницы "Б" |
от 0 до 600 мм вод. ст. |
Метран-100 |
22235-01 |
Y=±0,5 % |
Y=±0,2 %/10 °C |
Y=±0,8 % |
Y=±1,5 % |
|
6ES7 331-7KF02-0AB0 |
15772-11 |
Y=±0,5 % |
Y=±0,7 % | |||||
|
44 |
Температура пылевоздушной смеси за мельницей "А" |
от 0 до +180°С |
Термопреобразователь с унифицированным выходным сигналом Метран-270, мод. ТСМУ Метран-274-Exia (далее- ТСМУ Метран-274) |
21968-06 |
Y=±0,5 % |
Y=±0,45 %/10 °C |
Д=±1,0 °C |
Д=±6,0 °C |
|
6ES7 331-7KF02-0AB0 |
15772-11 |
Y=±0,5 % |
Y=±0,7 % | |||||
|
45 |
Температура пылевоздушной смеси за мельницей "Б" |
от 0 до +180°С |
ТСМУ Метран-274- Exia |
21968-11 |
Y=±0,5 % |
Y=±0,45 %/10 °C |
Д=±1,0 °C |
Д=±6,0 °C |
|
6ES7 331-7KF02-0AB0 |
15772-11 |
Y=±0,5 % |
Y=±0,7 % |
|
1 |
2 |
3 |
4 |
5 |
6 |
7 |
8 |
9 |
|
46 |
Разрежение аэросмеси перед мельничным вентилятором "А" |
от -1000 до 0 мм вод. ст. |
Метран-100 |
22235-01 |
Y=±0,25 % |
Y=±0,25 %/10 °C |
Y=±0,6 % |
Y=±1,6 % |
|
6ES7 331-7KF02-0AB0 |
15772-11 |
Y=±0,5 % |
Y=±0,7 % | |||||
|
47 |
Разрежение аэросмеси перед мельничным вентилятором "Б" |
от -1000 до 0 мм вод. ст. |
Метран-100 |
22235-01 |
Y=±0,25 % |
Y=±0,25 %/10 °C |
Y=±0,6 % |
Y=±1,6 % |
|
6ES7 331-7KF02-0AB0 |
15772-11 |
Y=±0,5 % |
Y=±0,7 % | |||||
|
48 |
Давление масла к мельнице "А" |
от 0 до 6 кгс/см2 |
Метран-150 |
32854-13 |
Y=±0,075 % |
Y=±0,05 %/10 °C |
Y=±0,5 % |
Y=±0,9 % |
|
6ES7 331-7KF02-0AB0 |
15772-11 |
Y=±0,5 % |
Y=±0,7 % | |||||
|
49 |
Давление масла к мельнице "Б" |
от 0 до 6 кгс/см2 |
Метран-100 |
22235-01 |
Y=±0,5 % |
Y=±0,3 %/10 °C |
Y=±0,8 % |
Y=±1,9 % |
|
6ES7 331-7KF02-0AB0 |
15772-11 |
Y=±0,5 % |
Y=±0,7 % | |||||
|
50 |
Давление пылевоздушной смеси в пылепроводе, горелка № 1 |
от 0 до 250 кгс/м2 |
Метран-55 |
18375-08 |
Y=±0,35 % |
- |
Y=±0,7 % |
Y=±0,9 % |
|
6ES7 331-7KF02-0AB0 |
15772-11 |
Y=±0,5 % |
Y=±0,7 % | |||||
|
51 |
Давление пылевоздушной смеси в пылепроводе, горелка № 2 |
от 0 до 250 кгс/м2 |
Метран-55 |
18375-08 |
Y=±0,35 % |
- |
Y=±0,7 % |
Y=±0,9 % |
|
6ES7 331-7KF02-0AB0 |
15772-11 |
Y=±0,5 % |
Y=±0,7 % | |||||
|
52 |
Давление пылевоздушной смеси в пылепроводе, горелка № 3 |
от 0 до 250 кгс/м2 |
Метран-55 |
18375-08 |
Y=±0,35 % |
- |
Y=±0,7 % |
Y=±0,9 % |
|
6ES7 331-7KF02-0AB0 |
15772-11 |
Y=±0,5 % |
Y=±0,7 % | |||||
|
53 |
Давление пылевоздушной смеси в пылепроводе, горелка № 4 |
от 0 до 250 кгс/м2 |
Метран-55 |
18375-08 |
Y=±0,35 % |
- |
Y=±0,7 % |
Y=±0,9 % |
|
6ES7 331-7KF02-0AB0 |
15772-11 |
Y=±0,5 % |
Y=±0,7 % |
|
1 |
2 |
3 |
4 |
5 |
6 |
7 |
8 |
9 |
|
54 |
Температура уходящих газов (справа) |
от 0 до +300 °С |
Преобразователь термоэлектрический ТХА(К) (далее-ТХА(К)) |
43741-10 |
Д=±2,5 °С |
- |
Д=±2,6 °C |
Д=±2,7 °C |
|
6ES7 331-7KF02-0AB0 |
15772-11 |
Y=±0,7 % |
Y=±1,1 % | |||||
|
55 |
Температура уходящих газов (слева) |
от 0 до +300 °С |
Преобразователь термоэлектрический кабельный ТХА-К (далее- ТХА-К) |
23411-12 |
Д=±2,5 °С |
- |
Д=±2,6 °C |
Д=±2,7 °C |
|
6ES7 331-7KF02-0AB0 |
15772-11 |
Y=±0,7 % |
Y=±1,1 % | |||||
|
56 |
Разрежение отходящих газов до скруббера № 1 |
от -300 до 0 мм вод. ст. |
Метран-100 |
22235-01 |
Y=±1,0 % |
Y=±1,3 %/10 °C |
Y=±1,3 % |
Y=±7,2 % |
|
6ES7 331-7KF02-0AB0 |
15772-11 |
Y=±0,5 % |
Y=±0,7 % | |||||
|
57 |
Разрежение отходящих газов до скруббера № 2 |
от -300 до 0 мм вод. ст. |
Метран-100 |
22235-01 |
Y=±1,0 % |
Y=±1,3 %/10 °C |
Y=±1,3 % |
Y=±7,2 % |
|
6ES7 331-7KF02-0AB0 |
15772-11 |
Y=±0,5 % |
Y=±0,7 % | |||||
|
58 |
Разрежение отходящих газов после скруббера № 1 |
от -600 до 0 мм вод. ст. |
Метран-100 |
22235-01 |
Y=±0,5 % |
Y=±0,4 %/10 °C |
Y=±0,8 % |
Y=±2,4 % |
|
6ES7 331-7KF02-0AB0 |
15772-11 |
Y=±0,5 % |
Y=±0,7 % | |||||
|
59 |
Разрежение отходящих газов после скруббера № 2 |
от -600 до 0 мм вод. ст. |
Метран-100 |
22235-01 |
Y=±0,5 % |
Y=±0,4 %/10 °C |
Y=±0,8 % |
Y=±2,4 % |
|
6ES7 331-7KF02-0AB0 |
15772-11 |
Y=±0,5 % |
Y=±0,7 % | |||||
|
60 |
Разрежение дымовых газов в топке котла (верх топки)слева |
от -12,5 до 0 мм вод. ст. |
Метран-100 |
22235-01 |
Y=±0,5 % |
Y=±0,4 %/10 °C |
Y=±0,8 % |
Y=±2,4 % |
|
6ES7 331-7KF02-0AB0 |
15772-11 |
Y=±0,5 % |
Y=±0,7 % | |||||
|
61 |
Температура воздуха в шкафу AZG20 |
от -50 до +50 °С |
ТСМУ Метран-274- Exia |
21968-11 |
Y=±0,5 % |
Y=±0,45 %/10 °C |
Д=±0,6 °C |
Д=±3,4 °C |
|
6ES7 331-7KF02-0AB0 |
15772-11 |
Y=±0,5 % |
Y=±0,7 % |
|
1 |
2 |
3 |
4 |
5 |
6 |
7 |
8 |
9 |
|
62 |
Температура воздуха на 17 отметке |
от -50 до +150°С |
Термометр сопротивления ТСМ-1193 |
40163-08 |
A=±(0,6+0,01-|t|) °С |
- |
A=±(0,8+0,01Jt|) °C |
A=±(1,1+ +0,01-|t|) °C |
|
6ES7 331-7KF02-0AB0 |
15772-11 |
Y=±0,5 % |
Y=±0,7 % | |||||
|
63 |
Расход питательной воды (резервный датчик) |
от 0 до 160 т/ч |
EJA, мод. 130 |
14495-09 |
Y=±0,25 % |
Y=±0,1 %/10 °C |
Y=±1,5 % |
Y=±1,6 % |
|
6ES7 331-7KF02-0AB0 |
15772-11 |
Y=±0,5 % |
Y=±0,7 % | |||||
|
64 |
Давление пара на импульсный предохранительный клапан контрольный (резервный датчик) |
от 0 до 160 кгс/см2 |
Sitrans P 7MF, мод. серии Z 7MF1563 |
45743-10 |
Y=±0,5 % |
Y=±0,3 % |
Y=±0,8 % |
Y=±1,1 % |
|
6ES7 331-7KF02-0AB0 |
15772-11 |
Y=±0,5 % |
Y=±0,7 % | |||||
|
65 |
Давление перегретого пара после главной паровой задвижки (резервный датчик) |
от 0 до 160 кгс/см2 |
Метран-55 |
18375-08 |
Y=±0,35 % |
- |
Y=±0,7 % |
Y=±0,9 % |
|
6ES7 331-7KF02-0AB0 |
15772-11 |
Y=±0,5 % |
Y=±0,7 % | |||||
|
66 |
Давление пара в барабане котла (резервный датчик) |
от 0 до 160 кгс/см2 |
Sitrans P 7MF, мод. серии Z 7MF1563 |
45743-10 |
Y=±0,5 % |
Y=±0,3 % |
Y=±0,8 % |
Y=±1,1 % |
|
6ES7 331-7KF02-0AB0 |
15772-11 |
Y=±0,5 % |
Y=±0,7 % | |||||
|
67 |
Уровень воды в барабане котла (резервный датчик) |
от -315 до 315 мм вод. ст. |
EJA, мод. 110 |
14495-09 |
Y=±0,25 % |
Y=±0,1 %/10 °C |
Y=±0,6 % |
Y=±1,1 % |
|
6ES7 331-7KF02-0AB0 |
15772-11 |
Y=±0,5 % |
Y=±0,7 % | |||||
|
68 |
Уровень воды в барабане котла (резервный датчик) |
от -315 до 315 мм вод. ст. |
Преобразователь давления измерительный SITRANS P типа DSIII7MF4433 |
30883-05 |
Y=±0,09 % |
Y=±0,75 %/10 °C от -40 до -10 °C включ. св. +60 до +85 °C включ. Y=±0,6 %/10 °C св. -10 до +60 °C включ. |
Y=±0,5 % |
Y=±5,5 % от -40 до -10 °C включ. св. +60 до +85 °C включ. Y=±4,4 % св. -10 до +60 °C включ. |
|
6ES7 331-7KF02-0AB0 |
15772-11 |
Y=±0,5 % |
Y=±0,7 % |
|
1 |
2 |
3 |
4 |
5 |
6 |
7 |
8 |
9 |
|
69 |
Температура перегретого пара после поверхностного пароперегревателя |
от 0 до +1100°С |
Преобразователь термоэлектрический кабельный КТХА (далее- КТХА) |
36765-09 |
Д=±2,5 °С от 0 до +333 °С включ. Д=±(0,00751) °С св. +333 до +1100 °С включ. |
- |
Д=±2,6 °С от 0 до +333 °С включ. Д=±(0,22+ +0,00751) °С св. +333 до +1100 °С включ. |
Д=±2,7 °С от 0 до +333 °С включ. Д=±(0,57+ +0,00751) °С св. +333 до +1100 °С включ. |
|
6ES7 331-7KF02-0AB0 |
15772-11 |
Y=±0,7 % |
Y=±1,1 % | |||||
|
70 |
Температура витков пароперегревателя, ступень 1, т. 1 |
от 0 до +1100°С |
ТХА-К |
65177-16 |
Д=±2,5 °С от 0 до +333 °С включ. Д=±(0,00751) °С св. +333 до +1100 °С включ. |
- |
Д=±2,6 °С от 0 до +333 °С включ. Д=±(0,22+ +0,00751) °С св. +333 до +1100 °С включ. |
Д=±2,7 °С от 0 до +333 °С включ. Д=±(0,57+ +0,00751) °С св. +333 до +1100 °С включ. |
|
6ES7 331-7KF02-0AB0 |
15772-11 |
Y=±0,7 % |
Y=±1,1 % | |||||
|
71 |
Температура витков пароперегревателя, ступень 1, т. 2 |
от 0 до +1100°С |
ТХА-К |
65177-16 |
Д=±2,5 °С от 0 до +333 °С включ. Д=±(0,00751) °С св. +333 до +1100 °С включ. |
- |
Д=±2,6 °С от 0 до +333 °С включ. Д=±(0,22+ +0,00751) °С св. +333 до +1100 °С включ. |
Д=±2,7 °С от 0 до +333 °С включ. Д=±(0,57+ +0,00751) °С св. +333 до +1100 °С включ. |
|
6ES7 331-7KF02-0AB0 |
15772-11 |
Y=±0,7 % |
Y=±1,1 % | |||||
|
72 |
Температура витков пароперегревателя, ступень 1, т. 3 |
от 0 до +1100°С |
ТХА-К |
65177-16 |
Д=±2,5 °С от 0 до +333 °С включ. Д=±(0,00751) °С св. +333 до +1100 °С включ. |
- |
Д=±2,6 °С от 0 до +333 °С включ. Д=±(0,22+ +0,00751) °С св. +333 до +1100 °С включ. |
Д=±2,7 °С от 0 до +333 °С включ. Д=±(0,57+ +0,00751) °С св. +333 до +1100 °С включ. |
|
6ES7 331-7KF02-0AB0 |
15772-11 |
Y=±0,7 % |
Y=±1,1 % |
|
1 |
2 |
3 |
4 |
5 |
6 |
7 |
8 |
9 |
|
73 |
Температура витков пароперегревателя, ступень 1, т. 4 |
от 0 до +1100°С |
ТХА-К |
65177-16 |
Д=±2,5 °С от 0 до +333 °С включ. Д=±(0,00751) °С св. +333 до +1100 °С включ. |
- |
Д=±2,6 °С от 0 до +333 °С включ. Д=±(0,22+ +0,00751) °С св. +333 до +1100 °С включ. |
Д=±2,7 °С от 0 до +333 °С включ. Д=±(0,57+ +0,00751) °С св. +333 до +1100 °С включ. |
|
6ES7 331-7KF02-0AB0 |
15772-11 |
Y=±0,7 % |
Y=±1,1 % | |||||
|
74 |
Температура витков пароперегревателя, ступень 1, т. 5 |
от 0 до +1100°С |
ТХА-К |
65177-16 |
Д=±2,5 °С от 0 до +333 °С включ. Д=±(0,00751) °С св. +333 до +1100 °С включ. |
- |
Д=±2,6 °С от 0 до +333 °С включ. Д=±(0,22+ +0,00751) °С св. +333 до +1100 °С включ. |
Д=±2,7 °С от 0 до +333 °С включ. Д=±(0,57+ +0,00751) °С св. +333 до +1100 °С включ. |
|
6ES7 331-7KF02-0AB0 |
15772-11 |
Y=±0,7 % |
Y=±1,1 % | |||||
|
75 |
Температура витков пароперегревателя, ступень 1, т. 6 |
от 0 до +1100°С |
ТХА-К |
65177-16 |
Д=±2,5 °С от 0 до +333 °С включ. Д=±(0,00751) °С св. +333 до +1100 °С включ. |
- |
Д=±2,6 °С от 0 до +333 °С включ. Д=±(0,22+ +0,00751) °С св. +333 до +1100 °С включ. |
Д=±2,7 °С от 0 до +333 °С включ. Д=±(0,57+ +0,00751) °С св. +333 до +1100 °С включ. |
|
6ES7 331-7KF02-0AB0 |
15772-11 |
Y=±0,7 % |
Y=±1,1 % | |||||
|
76 |
Температура витков пароперегревателя, ступень 1, т. 7 |
от 0 до +1100°С |
ТХА-К |
65177-16 |
Д=±2,5 °С от 0 до +333 °С включ. Д=±(0,00751) °С св. +333 до +1100 °С включ. |
- |
Д=±2,6 °С от 0 до +333 °С включ. Д=±(0,22+ +0,00751) °С св. +333 до +1100 °С включ. |
Д=±2,7 °С от 0 до +333 °С включ. Д=±(0,57+ +0,00751) °С св. +333 до +1100 °С включ. |
|
6ES7 331-7KF02-0AB0 |
15772-11 |
Y=±0,7 % |
Y=±1,1 % |
|
1 |
2 |
3 |
4 |
5 |
6 |
7 |
8 |
9 |
|
77 |
Температура витков пароперегревателя, ступень 1, т. 8 |
от 0 до +1100°С |
ТХА-К |
65177-16 |
Д=±2,5 °С от 0 до +333 °С включ. Д=±(0,00751) °С св. +333 до +1100 °С включ. |
- |
Д=±2,6 °С от 0 до +333 °С включ. Д=±(0,22+ +0,00751) °С св. +333 до +1100 °С включ. |
Д=±2,7 °С от 0 до +333 °С включ. Д=±(0,57+ +0,00751) °С св. +333 до +1100 °С включ. |
|
6ES7 331-7KF02-0AB0 |
15772-11 |
Y=±0,7 % |
Y=±1,1 % | |||||
|
78 |
Температура витков пароперегревателя, ступень 1, т. 9 |
от 0 до +1100°С |
ТХА-К |
65177-16 |
Д=±2,5 °С от 0 до +333 °С включ. Д=±(0,00751) °С св. +333 до +1100 °С включ. |
- |
Д=±2,6 °С от 0 до +333 °С включ. Д=±(0,22+ +0,00751) °С св. +333 до +1100 °С включ. |
Д=±2,7 °С от 0 до +333 °С включ. Д=±(0,57+ +0,00751) °С св. +333 до +1100 °С включ. |
|
6ES7 331-7KF02-0AB0 |
15772-11 |
Y=±0,7 % |
Y=±1,1 % | |||||
|
79 |
Температура витков пароперегревателя, ступень 2, т. 1 |
от 0 до +1100°С |
ТХА-К |
65177-16 |
Д=±2,5 °С от 0 до +333 °С включ. Д=±(0,00751) °С св. +333 до +1100 °С включ. |
- |
Д=±2,6 °С от 0 до +333 °С включ. Д=±(0,22+ +0,00751) °С св. +333 до +1100 °С включ. |
Д=±2,7 °С от 0 до +333 °С включ. Д=±(0,57+ +0,00751) °С св. +333 до +1100 °С включ. |
|
6ES7 331-7KF02-0AB0 |
15772-11 |
Y=±0,7 % |
Y=±1,1 % | |||||
|
80 |
Температура витков пароперегревателя, ступень 2, т. 2 |
от 0 до +1100°С |
ТХА-К |
65177-16 |
Д=±2,5 °С от 0 до +333 °С включ. Д=±(0,00751) °С св. +333 до +1100 °С включ. |
- |
Д=±2,6 °С от 0 до +333 °С включ. Д=±(0,22+ +0,00751) °С св. +333 до +1100 °С включ. |
Д=±2,7 °С от 0 до +333 °С включ. Д=±(0,57+ +0,00751) °С св. +333 до +1100 °С включ. |
|
6ES7 331-7KF02-0AB0 |
15772-11 |
Y=±0,7 % |
Y=±1,1 % |
|
1 |
2 |
3 |
4 |
5 |
6 |
7 |
8 |
9 |
|
81 |
Температура витков пароперегревателя, ступень 2, т. 3 |
от 0 до +1100°С |
ТХА-К |
65177-16 |
Д=±2,5 °С от 0 до +333 °С включ. Д=±(0,00751) °С св. +333 до +1100 °С включ. |
- |
Д=±2,6 °С от 0 до +333 °С включ. Д=±(0,22+ +0,00751) °С св. +333 до +1100 °С включ. |
Д=±2,7 °С от 0 до +333 °С включ. Д=±(0,57+ +0,00751) °С св. +333 до +1100 °С включ. |
|
6ES7 331-7KF02-0AB0 |
15772-11 |
Y=±0,7 % |
Y=±1,1 % | |||||
|
82 |
Температура витков пароперегревателя, ступень 2, т. 4 |
от 0 до +1100°С |
ТХА-К |
65177-16 |
Д=±2,5 °С от 0 до +333 °С включ. Д=±(0,00751) °С св. +333 до +1100 °С включ. |
- |
Д=±2,6 °С от 0 до +333 °С включ. Д=±(0,22+ +0,00751) °С св. +333 до +1100 °С включ. |
Д=±2,7 °С от 0 до +333 °С включ. Д=±(0,57+ +0,00751) °С св. +333 до +1100 °С включ. |
|
6ES7 331-7KF02-0AB0 |
15772-11 |
Y=±0,7 % |
Y=±1,1 % | |||||
|
83 |
Температура витков пароперегревателя, ступень 2, т. 5 |
от 0 до +1100°С |
ТХА-К |
65177-16 |
Д=±2,5 °С от 0 до +333 °С включ. Д=±(0,00751) °С св. +333 до +1100 °С включ. |
- |
Д=±2,6 °С от 0 до +333 °С включ. Д=±(0,22+ +0,00751) °С св. +333 до +1100 °С включ. |
Д=±2,7 °С от 0 до +333 °С включ. Д=±(0,57+ +0,00751) °С св. +333 до +1100 °С включ. |
|
6ES7 331-7KF02-0AB0 |
15772-11 |
Y=±0,7 % |
Y=±1,1 % | |||||
|
84 |
Температура витков пароперегревателя, ступень 2, т. 6 |
от 0 до +1100°С |
ТХА-К |
65177-16 |
Д=±2,5 °С от 0 до +333 °С включ. Д=±(0,00751) °С св. +333 до +1100 °С включ. |
- |
Д=±2,6 °С от 0 до +333 °С включ. Д=±(0,22+ +0,00751) °С св. +333 до +1100 °С включ. |
Д=±2,7 °С от 0 до +333 °С включ. Д=±(0,57+ +0,00751) °С св. +333 до +1100 °С включ. |
|
6ES7 331-7KF02-0AB0 |
15772-11 |
Y=±0,7 % |
Y=±1,1 % |
|
1 |
2 |
3 |
4 |
5 |
6 |
7 |
8 |
9 |
|
85 |
Температура витков пароперегревателя, ступень 2, т. 7 |
от 0 до +1100°С |
ТХА-К |
65177-16 |
Д=±2,5 °С от 0 до +333 °С включ. Д=±(0,00751) °С св. +333 до +1100 °С включ. |
- |
Д=±2,6 °С от 0 до +333 °С включ. Д=±(0,22+ +0,00751) °С св. +333 до +1100 °С включ. |
Д=±2,7 °С от 0 до +333 °С включ. Д=±(0,57+ +0,00751) °С св. +333 до +1100 °С включ. |
|
6ES7 331-7KF02-0AB0 |
15772-11 |
Y=±0,7 % |
Y=±1,1 % | |||||
|
86 |
Температура витков пароперегревателя, ступень 2, т. 8 |
от 0 до +1100°С |
ТХА-К |
65177-16 |
Д=±2,5 °С от 0 до +333 °С включ. Д=±(0,00751) °С св. +333 до +1100 °С включ. |
- |
Д=±2,6 °С от 0 до +333 °С включ. Д=±(0,22+ +0,00751) °С св. +333 до +1100 °С включ. |
Д=±2,7 °С от 0 до +333 °С включ. Д=±(0,57+ +0,00751) °С св. +333 до +1100 °С включ. |
|
6ES7 331-7KF02-0AB0 |
15772-11 |
Y=±0,7 % |
Y=±1,1 % | |||||
|
87 |
Температура пара до впрыска (слева) |
от 0 до +1100°С |
ТХА-К |
23411-07 |
Д=±2,5 °С от 0 до +333 °С включ. Д=±(0,00751) °С св. +333 до +1100 °С включ. |
- |
Д=±2,6 °С от 0 до +333 °С включ. Д=±(0,22+ +0,00751) °С св. +333 до +1100 °С включ. |
Д=±2,7 °С от 0 до +333 °С включ. Д=±(0,57+ +0,00751) °С св. +333 до +1100 °С включ. |
|
6ES7 331-7KF02-0AB0 |
15772-11 |
Y=±0,7 % |
Y=±1,1 % | |||||
|
88 |
Температура пара до впрыска (справа) |
от 0 до +1100°С |
Термопреобразователь с унифицированным выходным сигналом УТХА |
39801-08 |
Y=±1,5 % |
- |
Д=±16,6 °С |
Д=±16,7 °С |
|
6ES7 331-7KF02-0AB0 |
15772-11 |
Y=±0,5 % |
Y=±0,7 % | |||||
|
89 |
Температура пара после впрыскивающего пароохладителя (основной датчик) |
от 0 до +1100°С |
ТХА-К |
65177-16 |
Д=±2,5 °С от 0 до +333 °С включ. Д=±(0,00751) °С св. +333 до +1100 °С включ. |
- |
Д=±2,6 °С от 0 до +333 °С включ. Д=±(0,22+ +0,00751) °С св. +333 до +1100 °С включ. |
Д=±2,7 °С от 0 до +333 °С включ. Д=±(0,57+ +0,00751) °С св. +333 до +1100 °С включ. |
|
6ES7 331-7KF02-0AB0 |
15772-11 |
Y=±0,7 % |
Y=±1,1 % |
|
1 |
2 |
3 |
4 |
5 |
6 |
7 |
8 |
9 |
|
90 |
Температура пара до главной паровой задвижки |
от 0 до +1000 °С |
ТХА(К) |
43741-10 |
Д=±2,5 °С от 0 до +333 °С включ. Д=±(0,0075-|г|) °С св. +333 до +1000 °С включ. |
- |
Д=±2,6 °C от 0 до +333 °С включ. Д=±(0,19+ +0,0075-|t|) °C св. +333 до +1000 °C включ. |
Д=±2,7 °C от 0 до +333 °C включ. Д=±(0,5+ +0,0075-|t|) °C св. +333 до +1000 °C включ. |
|
6ES7 331-7KF02-0AB0 |
15772-11 |
Y=±0,7 % |
Y=±1,1 % | |||||
|
91 |
Температура пара за главной паровой задвижкой (основной датчик) |
от 0 до +1100°С |
КТХА |
36765-09 |
Д=±2,5 °С от 0 до +333 °С включ. Д=±(0,00751) °С св. +333 до +1100 °С включ. |
- |
Д=±2,6 °C от 0 до +333 °C включ. Д=±(0,22+ +0,00751) °C св. +333 до +1100 °C включ. |
Д=±2,7 °C от 0 до +333 °C включ. Д=±(0,57+ +0,00751) °C св. +333 до +1100 °C включ. |
|
6ES7 331-7KF02-0AB0 |
15772-11 |
Y=±0,7 % |
Y=±1,1 % | |||||
|
92 |
Температура воздуха за воздухоподогре-вом II ступени (слева) |
от 0 до +1100°С |
КТХА |
36765-09 |
Д=±2,5 °С от 0 до +333 °С включ. Д=±(0,00751) °С св. +333 до +1100 °С включ. |
- |
Д=±2,6 °C от 0 до +333 °C включ. Д=±(0,22+ +0,00751) °C св. +333 до +1100 °C включ. |
Д=±2,7 °C от 0 до +333 °C включ. Д=±(0,57+ +0,00751) °C св. +333 до +1100 °C включ. |
|
6ES7 331-7KF02-0AB0 |
15772-11 |
Y=±0,7 % |
Y=±1,1 % | |||||
|
93 |
Температура пара после впрыскивающего пароохладителя (резервный датчик) |
от 0 до +1100°С |
ТХА-К |
65177-16 |
Д=±2,5 °С от 0 до +333 °С включ. Д=±(0,00751) °С св. +333 до +1100 °С включ. |
- |
Д=±2,6 °C от 0 до +333 °C включ. Д=±(0,22+ +0,00751) °C св. +333 до +1100 °C включ. |
Д=±2,7 °C от 0 до +333 °C включ. Д=±(0,57+ +0,00751) °C св. +333 до +1100 °C включ. |
|
6ES7 331-7KF02-0AB0 |
15772-11 |
Y=±0,7 % |
Y=±1,1 % | |||||
|
94 |
Температура пара за главной паровой задвижкой (резервный датчик) |
от 0 до +1000 °С |
Термопреобразователь с унифицированным выходным сигналом ТХАУ |
18847-05 |
Y=±0,5 % |
Y=±0,2 %/10 °C |
Д=±5,1 °C |
Д=±16,2 °C |
|
6ES7 331-7KF02-0AB0 |
15772-11 |
Y=±0,5 % |
Y=±0,7 % |
|
1 |
2 |
3 |
4 |
5 |
6 |
7 |
8 |
9 |
|
95 |
Температура воздуха за воздухоподогре-вом II ступени (справа) |
от 0 до +1000 °С |
ТХА(К) |
43741-10 |
Д=±2,5 °С от 0 до +333 °С включ. Д=±(0,0075-|г|) °С св. +333 до +1000 °С включ. |
- |
Д=±2,6 °С от 0 до +333 °С включ. Д=±(0,19+ +0,0075-|t|) °С св. +333 до +1000 °С включ. |
Д=±2,7 °С от 0 до +333 °С включ. Д=±(0,5+ +0,0075-|t|) °С св. +333 до +1000 °С включ. |
|
6ES7 331-7KF02-0AB0 |
15772-11 |
Y=±0,7 % |
Y=±1,1 % | |||||
|
96 |
Температура отходящих газов в поворотной камере, слева |
от 0 до +1000 °С |
ТХА(К) |
43741-10 |
Д=±2,5 °С от 0 до +333 °С включ. Д=±(0,0075ф|) °С св. +333 до +1000 °С включ. |
- |
Д=±2,6 °С от 0 до +333 °С включ. Д=±(0,19+ +0,0075-|t|) °С св. +333 до +1000 °С включ. |
Д=±2,7 °С от 0 до +333 °С включ. Д=±(0,5+ +0,0075-|t|) °С св. +333 до +1000 °С включ. |
|
6ES7 331-7KF02-0AB0 |
15772-11 |
Y=±0,7 % |
Y=±1,1 % | |||||
|
97 |
Температура отходящих газов в поворотной камере, справа |
от 0 до +1000 °С |
ТХА(К) |
43741-10 |
Д=±2,5 °С от 0 до +333 °С включ. Д=±(0,0075ф|) °С св. +333 до +1000 °С включ. |
- |
Д=±2,6 °С от 0 до +333 °С включ. Д=±(0,19+ +0,0075-|t|) °С св. +333 до +1000 °С включ. |
Д=±2,7 °С от 0 до +333 °С включ. Д=±(0,5+ +0,0075-|t|) °С св. +333 до +1000 °С включ. |
|
6ES7 331-7KF02-0AB0 |
15772-11 |
Y=±0,7 % |
Y=±1,1 % | |||||
|
98 |
Температура отходящих газов за водяным экономайзером II ступени (слева) |
от 0 до +1000 °С |
ТХА(К) |
43741-10 |
Д=±2,5 °С от 0 до +333 °С включ. Д=±(0,0075ф|) °С св. +333 до +1000 °С включ. |
- |
Д=±2,6 °С от 0 до +333 °С включ. Д=±(0,19+ +0,0075-|t|) °С св. +333 до +1000 °С включ. |
Д=±2,7 °С от 0 до +333 °С включ. Д=±(0,5+ +0,0075-|t|) °С св. +333 до +1000 °С включ. |
|
6ES7 331-7KF02-0AB0 |
15772-11 |
Y=±0,7 % |
Y=±1,1 % |
|
1 |
2 |
3 |
4 |
5 |
6 |
7 |
8 |
9 |
|
99 |
Температура отходящих газов за водяным экономайзером II ступени (справа) |
от 0 до +1000 °С |
ТХА(К) |
43741-10 |
Д=±2,5 °С от 0 до +333 °С включ. Д=±(0,0075-|г|) °С св. +333 до +1000 °С включ. |
- |
Д=±2,6 °С от 0 до +333 °С включ. Д=±(0,19+ +0,0075-|t|) °С св. +333 до +1000 °С включ. |
Д=±2,7 °С от 0 до +333 °С включ. Д=±(0,5+ +0,0075-|t|) °С св. +333 до +1000 °С включ. |
|
6ES7 331-7KF02-0AB0 |
15772-11 |
Y=±0,7 % |
Y=±1,1 % | |||||
|
100 |
Температура отходящих газов за воздухоподогре-вом II ступени (слева) |
от 0 до +1100°С |
КТХА |
36765-09 |
Д=±2,5 °С от 0 до +333 °С включ. Д=±(0,00751) °С св. +333 до +1100 °С включ. |
- |
Д=±2,6 °С от 0 до +333 °С включ. Д=±(0,22+ +0,00751) °С св. +333 до +1100 °С включ. |
Д=±2,7 °С от 0 до +333 °С включ. Д=±(0,57+ +0,00751) °С св. +333 до +1100 °С включ. |
|
6ES7 331-7KF02-0AB0 |
15772-11 |
Y=±0,7 % |
Y=±1,1 % | |||||
|
101 |
Температура отходящих газов за воздухоподогре-вом II ступени (справа) |
от 0 до +1100°С |
ТХА-К |
23411-07 |
Д=±2,5 °С от 0 до +333 °С включ. Д=±(0,00751) °С св. +333 до +1100 °С включ. |
- |
Д=±2,6 °С от 0 до +333 °С включ. Д=±(0,22+ +0,00751) °С св. +333 до +1100 °С включ. |
Д=±2,7 °С от 0 до +333 °С включ. Д=±(0,57+ +0,00751) °С св. +333 до +1100 °С включ. |
|
6ES7 331-7KF02-0AB0 |
15772-11 |
Y=±0,7 % |
Y=±1,1 % | |||||
|
102 |
Температура отходящих газов за водяным экономайзером I ступени (слева) |
от 0 до +1000 °С |
ТХА(К) |
43741-10 |
Д=±2,5 °С от 0 до +333 °С включ. Д=±(0,0075ф|) °С св. +333 до +1000 °С включ. |
- |
Д=±2,6 °С от 0 до +333 °С включ. Д=±(0,19+ +0,0075-|t|) °С св. +333 до +1000 °С включ. |
Д=±2,7 °С от 0 до +333 °С включ. Д=±(0,5+ +0,0075-|t|) °С св. +333 до +1000 °С включ. |
|
6ES7 331-7KF02-0AB0 |
15772-11 |
Y=±0,7 % |
Y=±1,1 % |
|
1 |
2 |
3 |
4 |
5 |
6 |
7 |
8 |
9 |
|
103 |
Температура отходящих газов за водяным экономайзером I ступени (справа) |
от 0 до +1000°С |
ТХА(К) |
43741-10 |
Д=±2,5 °С от 0 до +333 °С включ. Д=±(0,0075-|ф °С св. +333 до +1000 °С включ. |
- |
Д=±2,6 °С от 0 до +333 °С включ. Д=±(0,19+ +0,0075-|t|) °С св. +333 до +1000 °С включ. |
Д=±2,7 °С от 0 до +333 °С включ. Д=±(0,5+ +0,0075-|t|) °С св. +333 до +1000 °С включ. |
|
6ES7 331-7KF02-0AB0 |
15772-11 |
Y=±0,7 % |
Y=±1,1 % |
Примечания - Д - абсолютная погрешность; у - приведенная погрешность к верхнему значению диапазона измерения; 6- относительная погрешность; |t|- абсолютное значение измеряемой температуры, без учета знака; t- значение измеряемой температуры.

