Номер по Госреестру СИ: 83374-21
83374-21 Счетчики-расходомеры массовые
(Turbo Flow CFM)
Назначение средства измерений:
Счётчики-расходомеры массовые Turbo Flow CFM (далее - расходомеры) предназначены для измерения массового расхода и массы жидкости и газов, объёмного расхода и объёма жидкости и газов, плотности, температуры и давления жидкости и газов.

Внешний вид.
Счетчики-расходомеры массовые
Рисунок № 1

Внешний вид.
Счетчики-расходомеры массовые
Рисунок № 2

Внешний вид.
Счетчики-расходомеры массовые
Рисунок № 3

Внешний вид.
Счетчики-расходомеры массовые
Рисунок № 4

Внешний вид.
Счетчики-расходомеры массовые
Рисунок № 5

Внешний вид.
Счетчики-расходомеры массовые
Рисунок № 6

Внешний вид.
Счетчики-расходомеры массовые
Рисунок № 7

Внешний вид.
Счетчики-расходомеры массовые
Рисунок № 8

Внешний вид.
Счетчики-расходомеры массовые
Рисунок № 9

Внешний вид.
Счетчики-расходомеры массовые
Рисунок № 10
Программное обеспечение
Программное обеспечение (далее - ПО) расходомера по аппаратному обеспечению является встроенным. Преобразование измеряемых величин и обработка измерительных данных выполняется с использованием внутренних аппаратных и программных средств.
ПО хранится в энергонезависимой памяти.
Таблица 1 - Идентификационные данные программного обеспечения
|
Идентификационные данные (признаки) |
Значение |
|
Идентификационное наименование ПО |
CFM |
|
Номер версии (идентификационный номер) ПО, не ниже |
1.0 |
|
Цифровой идентификатор ПО |
0x66808DB2 |
|
Алгоритм вычисления цифрового идентификатора программного обеспечения |
CRC-32 |
Недопустимое влияние на метрологически значимую часть ПО расходомера через интерфейс связи отсутствует. ПО расходомера не оказывает влияния на метрологические характеристики других средств измерений.
В ЭБ дополнительно реализована защита от внешних изменений с помощью переключателя.
Уровень защиты ПО от преднамеренных и непреднамеренных изменений - «высокий» в соответствии с Р 50.2.077-2014. Примененные специальные средства защиты в достаточной мере исключают возможность несанкционированной модификации, обновления (загрузки), удаления и иных преднамеренных изменений метрологически значимой части ПО и измеренных (вычисленных) данных.
Знак утверждения типа
Знак утверждения типананосится на титульные листы руководства по эксплуатации, паспорта типографским способом.
Сведения о методиках измерений
Сведения о методиках (методах) измерений приведены в п.1.4.2 ТУАС.407281.001 РЭ.Нормативные и технические документы
Нормативные и технические документы, устанавливающие требования к счётчикам-расходомерам массовым Turbo Flow CFMПриказ Федерального агентства по техническому регулированию и метрологии от 07 февраля 2018 г. № 256 «Об утверждении Государственной поверочной схемы для средств измерений массы и объёма жидкости в потоке, объёма жидкости и вместимости при статических измерениях, массового и объёмного расходов жидкости»
Приказ Федерального агентства по техническому регулированию и метрологии от 29 декабря 2018 г. № 2825 «Об утверждении Государственной поверочной схемы для средств измерений объёмного и массового расходов газа»
Приказ Федерального агентства по техническому регулированию и метрологии от 01 ноября 2019 г. № 2603 «Об утверждении Государственной поверочной схемы для средств измерений плотности»
ГОСТ 8.558-2009 ГСИ. Государственная поверочная схема для средств измерений температуры
ТУ 26.51.52-031-70670506-2020 Технические условия. Счетчики-расходомеры массовые Turbo Flow CFМ
Изготовитель
Общество с ограниченной ответственностью НПО «Турбулентность-ДОН»(ООО НПО «Турбулентность-ДОН»)
ИНН 6141021685
Адрес юридический: 129110, Москва г, Гиляровского ул, дом 47, строение 5, этаж 5 пом. II ком. 2
Адрес производства: 346800, Ростовская область, Мясниковский район, с. Чалтырь, 1 км шоссе Ростов-Новошахтинск, стр. № 6/8
Телефон/факс: +7 (863) 203-77-80 / 203-77-81
E-mail: info@turbo-don.ru
Web-сайт: www.turbo-don.ru
Испытательный центр
Федеральное государственное унитарное предприятие «Всероссийский научноисследовательский институт метрологической службы» (ФГУП «ВНИИМС»)Адрес: 119361, г. Москва, ул. Озёрная, д. 46
Тел.: +7 (495) 437-55-77, факс: +7 (495) 437-56-66
Web-сайт: www.vniims.ru
E-mail: office@vniims.ru
Принцип действия счётчиков-расходомеров основан на использовании сил Кориолиса, действующих на измерительные трубки, которые колеблются с частотой вынуждающей силы, создаваемой катушкой индуктивности при пропускании через неё электрического тока заданной частоты.
Силы Кориолиса, приложенные к двум половинам вибрирующей части трубки, тормозят движение первой по потоку половины и ускоряют движение второй. Возникающая вследствие этого разность фаз колебаний двух половин трубки, пропорциональная массовому расходу, регистрируется индуктивными датчиками. Счётчики-расходомеры не имеют вращающихся частей, и результаты измерений массового расхода не зависят от плотности, вязкости, наличия твердых частиц или иных примесей, режимов протекания измеряемой среды.
Колебания трубок возбуждаются на основной резонансной частоте системы. Функциональная зависимость резонансной частоты от плотности среды калибруется при изготовлении прибора. На основе данных калибровки, хранимых в энергонезависимой памяти прибора, измеряемый в процессе работы период колебаний пересчитывается в значение плотности рабочей среды.
Для измерений температуры проходящей через счётчик-расходомер измеряемой среды используется встроенный (интегрированный) или внешний преобразователь температуры. Коррекция показаний счётчика-расходомера при отклонении температуры и давления среды от условий калибровки компенсируются автоматически (по давлению внесением соответствующей поправки (значения статического давления) либо по показаниям внешнего преобразователя (датчика) давления).
Объёмный расход вычисляется по данным измерений массового расхода и плотности. Расходомеры состоят из:
-
- первичного преобразователя расхода (далее - ПП) с интегрированным преобразователем температуры;
-
- электронного блока (далее - ЭБ);
-
- внешнего преобразователя (датчика) давления (опционально);
-
- внешнего преобразователя (датчика) температуры (опционально);
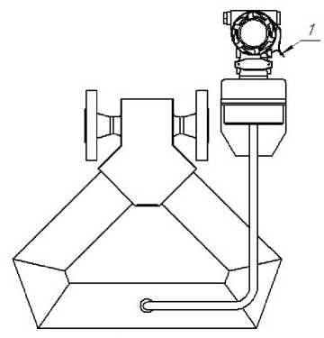
ПП имеют различные конструктивные исполнения (представлены на рисунке 1).
ПП устанавливается в трубопровод и преобразует параметры процесса (расход, плотность, температура) в электрические сигналы, которые поступают в ЭБ.
ЭБ состоит из измерительного модуля (ИМ) и вычислителя расхода (ВР).
ИМ производит преобразование, аппаратную обработку (усиление и нормирование) сигналов с первичного преобразователя и интегрированного в ПП преобразователя температуры, а так же аналого-цифровое преобразование сигналов и их фильтрацию.
ВР производит обработку измеренных параметров с ИМ, выполняет вычисления, выдаёт результат на индикатор (при наличии), ведёт архивы, формирует частотные, импульсные, дискретные, токовые (от 4 до 20 мА), цифровые выходные сигналы.
Наличие индикатора и выходные интерфейсы варьируются в зависимости от исполнения ЭБ. Компоненты ЭБ конструктивно могут быть выполнены в различных сочетаниях или выполнены отдельными модулями. Модули соединяются специальными кабелями, которые входят в комплектацию счётчика-расходомера.
Информация с расходомера считывается с помощью специализированного программного обеспечения по проводным или беспроводным интерфейсам на ПК, также имеется интерфейс для передачи информации в другие информационные системы управления или учета ресурсов
Кроме того, ЭБ обрабатывает управляющие сигналы, которые поступают на дискретные входы, и обеспечивает связь с внешними ведущими устройствами по протоколам Modbus RTU или HART.
Для возможности дистанционного (локального) считывания информации расходомер может быть укомплектован выносным терминалом (далее - ВТ или ВТ(М)) или шкафом с персональным компьютером (РШ с ПК) или организована прямая передача данных на персональный компьютер со специализированным программным обеспечением (АРМ). ВТ может быть выполнен в пластиковом (ВТ) или металлическом (ВТ(М)) корпусе. Общий вид ВТ, ВТ(М) и РШ с ПК представлены на рисунке 3.
В расходомерах реализована функция расчёта концентрации (объёмной доли) взаимнонерастворимых компонентов многофазной среды (газожидкостной смеси), основанная на измерении средней плотности и информации о плотности чистых компонентов.
Общий вид счётчиков-расходомеров массовых Turbo Flow CFМ представлен на рисунке 1 .
Рисунок 1 - Общий вид расходомеров
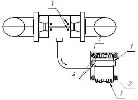
Рисунок 2 - Общий вид ЭБ
Рисунок 3 - общий вид РШ с ПК, ВТ и ВТ(М)
Схема пломбировки от несанкционированного доступа, обозначение мест нанесения знака поверки представлены на рисунках 4 - 8.
Рисунок 4 - Электронный блок


б) вид сверху
Рисунок 5 - Пломбировка Ш1 и ЭБ (расположение ЭБ на 11П)

б) вид сверху
а) вид сбоку
Рисунок 6 - Пломбировка Ш1 и ЭБ (ЭБ вынесен от 11П)
Рисунок 7 - Выносной терминал (ВТ)
Рисунок 8 - Выносной терминал в металлическом корпусе (ВТМ)
Рисунки 4-8: 1 - пломба свинцовая предприятия-изготовителя; 2 - места для нанесения знака поверки способом давления на специальную мастику; 3 - пломбы предприятия-изготовителя способом давления на специальную мастику; 4 - отверстия для пломбирования поставщиком.
Таблица 4 -
|
Наименование |
Обозначение |
Количество, шт. (компл.) |
|
Счётчик-расходомер массовый |
Turbo Flow CFM |
1 |
|
Счётчики-расходомеры массовые Turbo Flow CFM. Руководство по эксплуатации1 |
ТУАС.407281.001 РЭ |
1 |
|
Паспорт |
- |
1 |
|
Комплект монтажных частей |
- |
1 (по заказу) |
|
ПО ПК конфигурирования расходомера (компакт-диск или Flash-накопитель)1 |
- |
1 (по заказу) |
|
Система кабельных соединений |
- |
1 (по заказу) |
|
Примечание - 1 Доступно на сайте изготовителя. | ||
Таблица 2 - Метрологические характеристики
|
Наименование характеристики |
Значение |
|
Диаметр условный Ду, мм |
от 10 до 300 |
|
Верхняя граница диапазона измерений массового расхода жидкости Q , в зависимости от Ду и исполнения ПП, кг/ч |
от 28 до 3200000 |
|
Верхняя граница диапазона измерений объёмного расхода жидкости (по воде при стандартных условиях) QVmax(F) в зависимости от Ду и исполнения ПП, м3/ч |
от 0,028 до 2000 |
|
Верхняя граница диапазона измерений массового расхода газа QM , кг/ч |
QlMmaxF) ’ PG / kG , где pG - плотность газа при рабочих условиях, кг/м3; kG - коэффициент, зависящий от Ду, кг/м3 |
Лист № 6
Всего листов 10
Продолжение таблицы 2
|
Стабильность нуля при измерении массового расхода (в зависимости от Ду) Z, кг/ч |
от 0,12 до 215 | |
|
Класс точности (КТ)1 |
0,1; 0,15; 0,2; 0,25; 0,5 | |
|
Пределы допускаемой основной относительной погрешности при измерении массового расхода SQm и массы жидкости, Sm, %: при Qm > 100^Z/Jo при Qm < 100^Z/Jo |
±S0 ±(Z/Qm)-100, где Qm - измеряемый массовый расход, кг/ч; S0 - значение, численно равное КТ, %; Z - стабильность нуля, кг/ч | |
|
Пределы допускаемой основной относительной погрешности при измерении массового расхода и массы газа, %: при Qm > (100 • Z / Jg) при Qm < (100 • Z / Sg) |
±5g ±(Z/Qm)-100 где SG равен: 0,35 - для КТ 0,1; 0,15 и Ду от 10 до 32 мм; 0,5 - для КТ 0,1; 0,15 и Ду от 50 до 200 мм; и для КТ 0,2 и Ду от 10 до 200 мм 0,75 - для КТ 0,5 и Ду от 10 до 300 мм | |
|
Диапазон измерений плотности рабочей среды, кг/м3 |
от 650 до 2000 | |
|
Пределы допускаемой основной абсолютной погрешности при измерении плотности рабочей среды Др, кг/м3 |
±0,32; ±0,52; ±1; ±2; ±5 | |
|
Пределы допускаемой дополнительной абсолютной погрешности при измерении плотности рабочей среды Др, кг/м3:
|
±0,3 ±2 | |
|
Пределы допускаемой основной относительной погрешности при измерении объёмного расхода bQv и объёма 5v, %:
|
±0,15 | |
|
82v = ±^ $V = ±^ где р - изм |
(Q)2 +[^-100, | |
|
(Ш)2 100, еряемая плотность, кг/м3 | ||
|
Диапазон измерений температуры рабочей среды, °С |
от -200 до +400 | |
Продолжение таблицы 2
|
Пределы допускаемой абсолютной погрешности при измерении температуры рабочей среды при использовании:
|
±(0,3 + 0,005-М) , ±(0,15 + 0,002-iti) где t - измеряемое значение температуры, °C |
|
Верхний предел измерений избыточного давления (ВПИ), МПа |
от 0,0025 до 100 |
|
Верхний предел измерений абсолютного давления (ВПИ), МПа |
от 0,1 до 100 |
|
Пределы допускаемой относительной погрешности измерений давления, при использовании внешнего преобразователя (датчика) давления, % |
±(0,1+0,01Pmax/P), где Pmax - верхний предел измерений преобразователя давления, P - измеряемое значение давления |
|
Рабочий диапазон измерений давления, % ВПИ |
от 10 до 100 |
|
Пределы допускаемой дополнительной относительной погрешности при измерении массового расхода и массы жидкости и газа, в зависимости исполнения ПП, вызываемой изменением:
|
от ±0,001 до ±0,5 от ±(0,0001^QMnom/Q.«) до ±(0,015^ QMnom/Qm) |
|
Пределы допускаемой дополнительной абсолютной погрешности при измерении плотности жидкости, в зависимости от исполнения ПП, вызываемой изменением:
|
от ±0,03 до ±0,45 от ±0,3 до ±2,0 |
|
Потери давления на ПП расходомера при номинальном расходе воды QMnom, МПа, не более |
0,1 |
|
П р и м е ч а н и я
| |
Таблица 3 - Основные технические характеристики
|
Наименование характеристики |
Значение |
|
Диапазон выходных сигналов:
|
от 0 до 10000 от 4 до 20 оптронный, с открытым коллектором |
|
Цифровые проводные интерфейсы |
HART, MODBUS RTU |
|
Цифровые беспроводные интерфейсы |
GSM, GPRS, Bluetooth, IrDA (ИК-порт), Zig Bee, M2M 433/868 МГц, NB-IOT, NB-Fi, LoRa |
Продолжение таблицы 3
|
Напряжение питания, В:
|
от 12 до 24 220 от 12 до 24 |
|
Потребляемая мощность, Вт, не более |
10 |
|
Масса (в зависимости от модификации), кг, не более |
400 |
|
Габаритные размеры, мм, не более: - длина |
1050 |
|
- ширина |
385 |
|
- высота |
1350 |
|
Маркировка взрывозащиты: - первичный преобразователь (ПП) |
0Ex 1а IIC Т4...Т1 Ga Х |
|
- электронный блок (ЭБ) |
1Ex db ра Ga] IIC Т6 Gb Х |
|
Степень защиты по ГОСТ 14254: - преобразователя расхода кориолисового (ПП) |
IP67 |
|
- электронного блока (ЭБ) |
IP65 |
|
Условия эксплуатации: - температура окружающего воздуха, °С |
от -50 до +60 |
|
- относительная влажность воздуха, % |
до 95 |
|
- атмосферное давление, кПа |
от 84,0 до 106,7 |
|
Наработка на отказ, ч, не менее |
70 000 |
|
Средний срок службы, лет, не менее |
12 |

