Номер по Госреестру СИ: 87646-22
87646-22 Резервуар стальной горизонтальный цилиндрический
(ЕП-3-1400-1400)
Назначение средства измерений:
Резервуар стальной горизонтальный цилиндрический ЕП-3-1400-1400 (далее -резервуар) предназначен для измерения объема нефти и нефтепродуктов, а также для их приема, хранения и отпуска.

Внешний вид.
Резервуар стальной горизонтальный цилиндрический
Рисунок № 1

Внешний вид.
Резервуар стальной горизонтальный цилиндрический
Рисунок № 2

Внешний вид.
Резервуар стальной горизонтальный цилиндрический
Рисунок № 3

Внешний вид.
Резервуар стальной горизонтальный цилиндрический
Рисунок № 4
Знак утверждения типа
Знак утверждения типананосится на титульный лист паспорта резервуара типографским способом.
Сведения о методиках измерений
Сведения о методиках (методах) измерений приведены в пункте 8 паспорта на резервуар.Нормативные и технические документы
Нормативные документы, устанавливающие требования к средству измеренийПриказ Федерального агентства по техническому регулированию и метрологии от 26 сентября 2022 г. № 2356 «Об утверждении Государственной поверочной схемы для средств измерений массы и объема жидкости в потоке, объема жидкости и вместимости при статических измерениях, массового и объемного расходов жидкости».
ПравообладательАкционерное общество «Белкамнефть» имени А.А. Волкова (АО «Белкамнефть» им. А.А. Волкова)
ИНН 0264015786
Адрес: 426004, Удмуртская Республика, г. Ижевск, ул. Пастухова, д. 100
Телефон/ факс: +7(3412) 911-730/ (3412) 911-611
E-mail: belkamneft@belkam.com
Изготовитель
Акционерное общество «Белкамнефть» имени А.А. Волкова (АО «Белкамнефть» им. А.А. Волкова)ИНН 0264015786
Адрес: 426004, Удмуртская Республика, г. Ижевск, ул. Пастухова, д. 100
Телефон/ факс: +7(3412) 911-730/ (3412) 911-611
E-mail: belkamneft@belkam.com
Испытательный центр
Общество с ограниченной ответственностью «МетроКонТ» (ООО «МетроКонТ») Адрес: 420132, Республика Татарстан, г. Казань, ул. Адоратского, д. 39Б, офис 51 Телефон: +7 9372834420Факс +7 (843) 515-00-21
E-mail: trifonovua@mail.ru
Правообладатель
Акционерное общество «Белкамнефть» имени А.А. Волкова (АО «Белкамнефть» им. А.А. Волкова)ИНН 0264015786
Адрес: 426004, Удмуртская Республика, г. Ижевск, ул. Пастухова, д. 100
Телефон/ факс: +7(3412) 911-730/ (3412) 911-611
E-mail: belkamneft@belkam.com
Тип резервуара - стальной горизонтальный цилиндрический, номинальной вместимостью 3 м3 подземного расположения.
Принцип действия резервуара основан на заполнении его нефтью или нефтепродуктом до определенного уровня, соответствующего заданному значению объема.
Резервуар представляет собой горизонтально расположенный цилиндрический стальной сосуд с днищами.
Заполнение и выдача продукта осуществляется через приемно-раздаточные патрубки.
Заводской номер в виде цифрового обозначения, состоящий из арабских цифр и обеспечивающий идентификацию резервуара, нанесен ударным способом на маркировочную табличку резервуара (рисунок 1).
Резервуар ЕП-3-1400-1400 с заводским номером 263, расположен на территории Черновское месторождение нефти по адресу: Удмуртская Республика, Воткинский район.
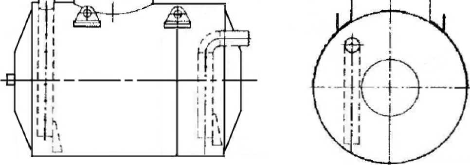
Эскиз общего вида резервуара приведен на рисунке 2. Фотография горловины и измерительного люка приведена на рисунке 3.
Нанесение знака поверки на средство измерений не предусмотрено.
Сделано в
Место нанесения заводского номера
36,i5’oo^’92225o66’2oij'. ■
Ofln ' /и',н-'<с
■: I? л' Ма^, кг_ ~;ЧЕ 1
& »©да ■
Дадыпуска.Й^_
z \ ’ - .1'' ' "
■ ' а V ’ *>
-Л > \ Г
-* _ ■ ■ ---V—7-
Рисунок 1 - Маркировочная табличка резервуара
* 1
Рисунок 2 - Эскиз общего вида резервуара
Рисунок 3 - Горловина и измерительный люк резервуара
Пломбирование резервуара ЕП-3-1400-1400 не предусмотрено.
Таблица 3-
|
Наименование |
Обозначение |
Количество |
|
Резервуар стальной горизонтальный цилиндрический |
ЕП-3-1400-1400 |
1 шт. |
|
Паспорт |
- |
1 экз. |
|
Градуировочная таблица |
- |
1 экз. |
Таблица 1 - Метрологические характеристики
|
Наименование характеристики |
Значение |
|
Номинальная вместимость, м3 |
3 |
|
Пределы допускаемой относительной погрешности определения вместимости (объемный метод), % |
±0,25 |
Таблица 2 - Основные технические характеристики
|
Наименование характеристики |
Значение |
|
Условия эксплуатации: | |
|
Температура окружающего воздуха, оС |
от -50 до +50 |
|
Атмосферное давление, кПа |
от 84,0 до 106,7 |
|
Средний срок службы, лет, не менее |
20 |

