Номер по Госреестру СИ: 92981-24
92981-24 Штангенциркули ОТК
(Обозначение отсутствует)
Назначение средства измерений:
для измерений
Штангенциркули ОТК (далее - штангенциркули) предназначены наружных и внутренних линейных размеров деталей, а также для измерений глубин.

Внешний вид.
Штангенциркули ОТК
Рисунок № 1

Внешний вид.
Штангенциркули ОТК
Рисунок № 2

Внешний вид.
Штангенциркули ОТК
Рисунок № 3

Внешний вид.
Штангенциркули ОТК
Рисунок № 4

Внешний вид.
Штангенциркули ОТК
Рисунок № 5

Внешний вид.
Штангенциркули ОТК
Рисунок № 6

Внешний вид.
Штангенциркули ОТК
Рисунок № 7

Внешний вид.
Штангенциркули ОТК
Рисунок № 8

Внешний вид.
Штангенциркули ОТК
Рисунок № 9

Внешний вид.
Штангенциркули ОТК
Рисунок № 10
Знак утверждения типа
Знак утверждения типананосится на титульный лист паспорта типографским способом.
Сведения о методиках измерений
Сведения о методиках (методах) измеренийприведены в разделе 2 «Назначение и описание» документов «Штангенциркуль ОТК модификации ШЦ-I. Паспорт», «Штангенциркуль ОТК модификации ШЦ-II. Паспорт», «Штангенциркуль ОТК модификации ШЦ-111. Паспорт», «Штангенциркуль ОТК модификации ШЦК-1. Паспорт», «Штангенциркуль ОТК модификации ШЦЦ-1. Паспорт», «Штангенциркуль ОТК модификации ШЦЦ-11. Паспорт», «Штангенциркуль ОТК модификации Ш^Ц^Ц-ПТ. Паспорт».
Нормативные и технические документы
Нормативные документы, устанавливающие требования к средству измеренийПриказ Росстандарта от 29 декабря 2018 г. № 2840 «Об утверждении Государственной поверочной схемы для средств измерений длины в диапазоне от 1^10-9 до 100 м и длин волн в диапазоне от 0,2 до 50 мкм»;
«Штангенциркули ОТК. Технические условия. ТУ 26.51.33-002-33320375-2024».
ПравообладательОбщество с ограниченной ответственностью «ОРГАНИЗАЦИЯ ТОЧНОГО КОНТРОЛЯ» (ООО «ОТК»)
ИНН 7448213854
Юридический адрес: 454008, г. Челябинск, ул. Каслинская, д. 26а, неж. помещ. 5, оф. 18А
E-mail: info@otk74.com
Тел.: +7 (351) 242-00-97
Изготовитель
ТОЧНОГООбщество с ограниченной ответственностью «ОРГАНИЗАЦИЯ КОНТРОЛЯ» (ООО «ОТК»)
ИНН 7448213854
Адрес: 454008, г. Челябинск, ул. Каслинская, д. 26а, неж. помещ. 5, оф. 18А E-mail: info@otk74.com
Тел.: +7 (351) 242-00-97
Испытательный центр
ТЕСТ»Общество с ограниченной ответственностью «ПРОММАШ (ООО «ПРОММАШ ТЕСТ»)
г. Чехов,
Адрес места осуществления деятельности: 142300, Московская обл., ш. Симферопольское, д. 2, лит. А, помещ. I
Юридический адрес: 119530, г. Москва, пр-кт Вернадского, д. 41, стр. 1, эт. 4, помещ. I, ком. 28
Правообладатель
Общество с ограниченной ответственностью «ОРГАНИЗАЦИЯ ТОЧНОГО КОНТРОЛЯ» (ООО «ОТК»)ИНН 7448213854
Юридический адрес: 454008, г. Челябинск, ул. Каслинская, д. 26а, неж. помещ. 5, оф. 18А
E-mail: info@otk74.com
Тел.: +7 (351) 242-00-97
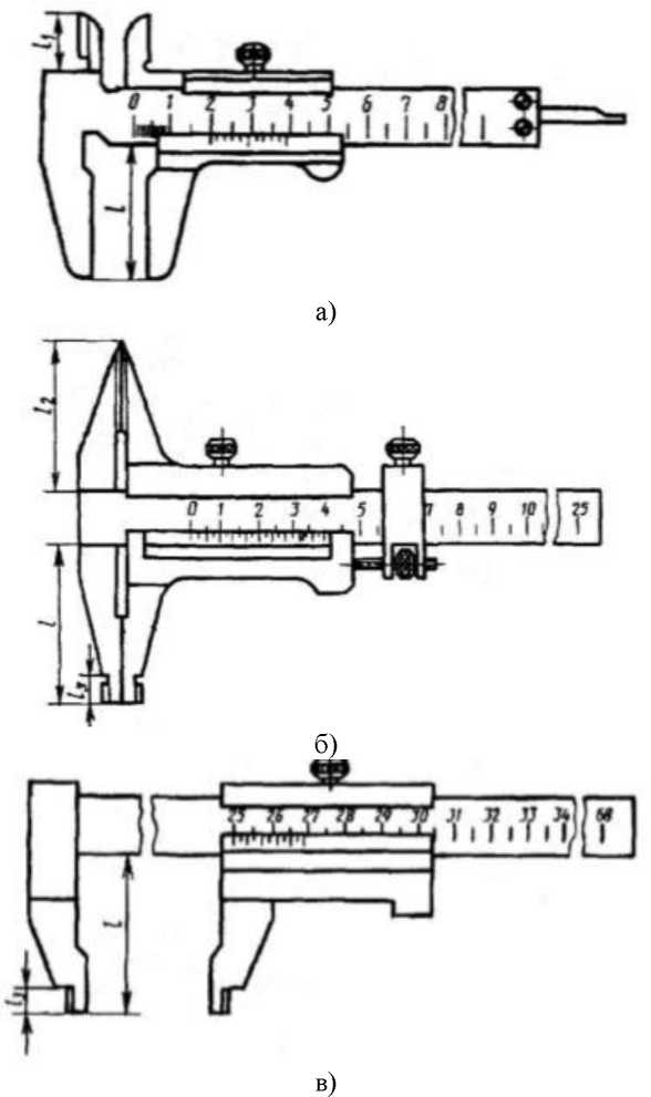
Штангенциркули выпускаются в следующих модификациях:
ШЦ-1, ШЦ-11, ШЦ-111 - с отсчетом по нониусу;
ШЦК-1 - с отсчетом по круговой шкале;
ШЦ^Ц-Т, ШЦЦ-11, ШЦЦ-111 - с цифровым отсчетным устройством.
Штангенциркули состоят из штанги со шкалой, подвижной рамки с отсчётным устройством, зажимающего элемента, губок для измерений внешних и внутренних размеров. Штангенциркули модификаций ШЦ-I, ШЦК-I, ШЦЦ-Т оснащаются глубиномером.
Принцип действия штангенциркулей модификаций ШЦ-I, ШЦ-II, ШЦ-III (с отсчётом по нониусу) основан на измерении линейных размеров методом непосредственной оценки совпадения делений шкалы на штанге с делениями нониуса, расположенного на рамке штангенциркуля. Рамка может быть цельно фрезерованной или соединённой винтами (нониусная шкала соединена винтами с рамкой).
Принцип действия штангенциркулей модификаций ШЦК-Т (со значением отсчёта по круговой шкале) основан на измерении линейных размеров методом непосредственной оценки по миллиметровым делениям шкалы штанги и по делениям круговой шкалы, встроенной в рамку. Круговая шкала вращается посредством подвижного ободка и блокируется стопорным винтом, расположенным в средней или задней части рамки.
Принцип действия штангенциркулей модификаций ШЦЦ-I, Ш^Ц^Ц-ТТ, Ш^ЦЦ-ТТТ (с цифровым отсчётным устройством) основан на преобразовании линейного перемещения рамки штангенциркуля в изменение электрического сигнала в электрической схеме блока индикации с выводом показаний на жидкокристаллический экран цифрового отсчётного устройства. Отсчет показаний производится по цифровому отсчетному устройству. Также на рамке находятся кнопки включения/выключения (OFF/ON), установки нуля (ZERO) и выбора режима единиц измерений мм/дюйм (mm/in). Кнопка (ABS) активирует функцию, которая позволяет переключать штангенциркуль из режима абсолютных измерений в режим относительных. Питание штангенциркулей осуществляется от встроенного источника питания (батарейки). Варианты исполнения цифрового отсчётного устройства для штангенциркулей модификаций ШЦЦ-Т, ШЦЦ-ТТ и ШЦЦ-ТТТ представлены на рисунке 8. Варианты исполнения штанги для штангенциркулей модификаций ШЦЦ-Т, ШЦЦ-ТТ и ШЦЦ-ТТТ представлены на рисунке 9.
Штангенциркули модификаций ШЦ-Т, ШЦЦ-Т и ШЦК-Т двусторонние с глубиномером состоят из штанги с основной измерительной шкалой на рабочей поверхности, по которой
двигается подвижная рамка, зажимающего элемента, отсчетного устройства, глубиномера, губок с кромочными измерительными поверхностями для измерения внутренних размеров, губок с плоскими измерительными поверхностями для измерения наружных размеров.
Штангенциркули двусторонние модификаций ШЦ-ТТ, ШЦЦ-ТТ без глубиномера состоят из штанги с основной измерительной шкалой на рабочей поверхности, подвижной рамки с отсчетным устройством, зажимающего элемента, устройства тонкой установки рамки, губок с плоскими и цилиндрическими измерительными поверхностями для измерения наружных и внутренних размеров соответственно, и губок с кромочными измерительными поверхностями для измерения наружных размеров.
Штангенциркули модификаций ШЦ-ТТТ, ШЦЦ-ТТТ односторонние без глубиномера состоят из штанги с основной измерительной шкалой на рабочей поверхности, подвижной рамки с отсчетным устройством, зажимающего элемента, устройства тонкой установки рамки, губок с плоскими и цилиндрическими измерительными поверхностями для измерения наружных и внутренних размеров соответственно.
Общий вид штангенциркулей модификации ШЦ-I представлен на рисунке 1, модификации ШЦ-ТТ - на рисунке 2, ШЦ-ТТТ - на рисунках 3, ШЦК-Т - на рисунке 4, ШЦЦ-Т -на рисунке 5, ШЦЦ-ТТ - на рисунке 6, ШЦЦ-ТТТ - на рисунке 7.
Штангенциркули изготавливаются семи модификаций:
-
- ШЦ-Т - двусторонние с глубиномером со значением отсчёта по нониусу 0,02, 0,05 мм, 0,1 мм, включая следующие типоразмеры: ШЦ-Т-100 0,02, ШЦ-Т-125 0,02, ШЦ-Т-150 0,02, ШЦ-Т-160 0,02, ШЦ-Т-200 0,02, ШЦ-Т-250 0,02, ШЦ-Т-300 0,02, ШЦ-Т-100 0,05, ШЦ-Т-125 0,05, ШЦ-Т-150 0,05, ШЦ-Т-160 0,05, ШЦ-Т-200 0,05, ШЦ-Т-250 0,05, ШЦ-Т-300 0,05, ШЦ-Т-100 0,1, ШЦ-Т-125 0,1, ШЦ-Т-150 0,1, ШЦ-Т-160 0,1, ШЦ-Т-200 0,1, ШЦ-Т-250 0,1, ШЦ-Т-300 0,1;
-
- ШЦ-ТТ - двусторонние со значением отсчёта по нониусу 0,02, 0,05 мм, 0,1 мм включая типоразмеры: ШЦ-ТТ-160 0,02, ШЦ-ТТ-200 0,02, ШЦ-ТТ-250 0,02, ШЦ-ТТ-300 0,02, 0,02, 0,05, 0,05,
0,05,
следующие
ШЦ-11-400 ШЦ-П-1000 ШЦ-11-160 ШЦ-11-500 ШЦ-11-1250
ШЦ-11-500
ШЦ-11-1250
ШЦ-11-200
ШЦ-П-600
0,02,
0,02,
0,05,
0,05,
ШЦ-11-600
ШЦ-11-1500
ШЦ-11-250
ШЦ-11-630
0,02,
0,02,
0,05,
0,05,
ШЦ-П-630
ШЦ-П-1600
ШЦ-П-300 ШЦ-П-800
0,02,
0,02,
0,05,
0,05,
ШЦ-П-800
ШЦ-11-2000
ШЦ-11-400
ШЦ-11-1000
ШЦ-11-1500 О,О5,
ШЦ-11-1600 О,О5, ШЦ-11-2000 О,О5, ШЦ-11-160
0,02,
0,02,
0,02,
0,05,
0,05,
0,1,
ШЦ-11-200 0,1, ШЦ-11-250 0,1, ШЦ-11-300 0,1, ШЦ-11-400 0,1, ШЦ-11-500 0,1, ШЦ-11-600 0,1, ШЦ-11-630 0,1, ШЦ-11-800 0,1, ШЦ-П-1000 0,1, ШЦ-11-1250 0,1, ШЦ-11-1500 0,1, ШЦ-11-1600 0,1, ШЦ-11-2000 0,1;
-
- ШЦ-111 - односторонние со значением отсчёта по нониусу 0,05, 0,1 включая следующие типоразмеры: ШЦ-111-400 О,О5, ШЦ-111-500 О,О5, ШЦ-111-600 О,О5, ШЦ-111-630 0,05, ШЦ-111-800 О,О5, ШЦ-111-1000 О,О5, ШЦ-111-1250 О,О5, ШЦ-111-1500 0,05, ШЦ-111-1600 0,05, ШЦ-111-2000 О,О5, , ШЦ-111-2500 О,О5, ШЦ-111-3000 О,О5, ШЦ-111-4000 О,О5, ШЦ-111-400 0,1, ШЦ-111-500 О,1, ШЦ-111-600 О,1, ШЦ-111-630 О,1, ШЦ-111-800 О,1, ШЦ-111-1000 0,1, ШЦ-111-1250 О,1, ШЦ-111-1500 О,1, ШЦ-111-1600 О,1, ШЦ-111-2000 О,1, ШЦ-111-2500 0,1, ШЦ-111-3000 О,1, ШЦ-111-4000 0,1;
-
- Ш^ТК-Т - двусторонние с глубиномером с отсчётом по круговой шкале 0,01, 0,02 мм включая следующие типоразмеры: ШЦК-Т-125 0,01, ШЦК-Т-150 0,01, ШЦК-Т-160 0,01, ШЦК-Т-200 0,01, ШЦК -Т-250 0,01, ШЦК-Т-300 0,01, ШЦК-Т-125 0,02, ШЦК-Т-150 0,02, ШЦК-Т-160 0,02, ШЦК-Т-200 0,02, ШЦК-Т-250 0,02, ШЦК-Т-300 0,02;
-
- ШЦЦ-Т - двусторонние с глубиномером с цифровым отсчетным устройством с шагом дискретности 0,01 включая следующие типоразмеры: ШЦЦ-Т-100 0,01, ШЦЦ-Т-125 0,01, ШЦЦ-Т-150 0,01, ШЦЦ-Т-160 0,01, ШЦЦ-Т-200 0,01, ШЦЦ-Т-250 0,01, ШЦЦ-Т-300 0,01;
-
- ШЦЦ-ТТ - двусторонние с цифровым отсчетным устройством с шагом дискретности 0,01 включая следующие типоразмеры: ШЦЦ-ТТ-160 0,01, ШЦЦ-ТТ-200 0,01, ШЦЦ-ТТ-250 0,01, ШЦЦ-ТТ-300 0,01, ШЦЦ-ТТ-400 0,01, ШЦЦ-ТТ-500 0,01, ШЦЦ-ТТ-600 0,01, ШЦЦ-ТТ-630 0,01,
ШЦЦ-ТТ-800 0,01, ШЦЦ-ТТ-1000 0,01, ШЦЦ-ТТ-1250 0,01, ШЦЦ-ТТ-1500 0,01, ШЦЦ-ТТ-1600 0,01, ШЦЦ-ТТ-2000 0,01;
- ШЦЦ-ТТТ - односторонние с цифровым отсчетным устройством с шагом дискретности 0,01 включая следующие типоразмеры: ШЦЦ-ТТТ-400 0,01, ШЦЦ-ТТТ-500 0,01, ШЦЦ-ТТТ-600 0,01, ШЦЦ-ТТТ-630 ШЦЦ-ТТТ-1500 ШЦЦ-ТТТ-3000 0,01, ШЦЦ-ТТТ-3500 0,01, ШЦЦ-ТТТ-4000 0,01.
Подвижная рамка штангенциркулей с цифровым отсчетным устройством может
0,01,
0,01,
ШЦЦ-111-800
ШЦЦ-111-1600
0,01,
0,01,
ШЦЦ-ТТТ-1000
ШЦЦ-ТТТ-2000
0,01,
0,01,
Ш^Ц^Ц-ТТТ-1250
ШЦЦ-111-2500
0,01,
0,01,
иметь различные варианты исполнения формы и цвета корпуса, не влияющие на метрологические характеристики.
Обозначение модификации штангенциркулей:
- для штангенциркулей модификации ШЦ-Т с диапазоном измерений от 0 до 250 мм и значением отчета по нониусу 0,05 мм:
Штангенциркули ОТК ШЦ-Т-250 0,05
- для штангенциркулей модификации ШЦ-II с диапазоном измерений от 0 до 160 мм и значением отсчета по нониусу 0,05 мм:
ШЦ-П-160 О,О5
- для штангенциркулей модификации ШЦ-Ш с диапазоном измерений от 0 до 4000 мм и значением отсчета по нониусу 0,05 мм:
ШЦ-ТТТ-4000 0,05
- для штангенциркулей модификации ШЦК-I с диапазоном измерений от 0 до 300 мм и значением отсчета по круговой шкале 0,01 мм:
ШЦК-Т-300 0,01
- для штангенциркулей модификации ШЦЦ-I с диапазоном измерений от 0 до 160 мм с шагом дискретности 0,01 мм:
ШЦЦ-1-160 О,О1
- для штангенциркулей модификации ШЦЦ-II с диапазоном измерений от 0 до 400 мм с шагом дискретности 0,01 мм:
ШЦЦ-11-400 О,О1
- для штангенциркулей модификации ШЦЦ-Ш с диапазоном измерений от 0 до 1250 мм с шагом дискретности 0,01 мм:
ШЦЦ-111-1250 0,01
По заказу потребителя, у штангенциркулей с отсчётом по нониусу на штангу может быть дополнительно нанесена шкала в дюймах, у штангенциркулей с цифровым отсчётным устройством шкала на штангу может не наносится, или наносится в миллиметрах или в миллиметрах и дюймах.
Заводской номер наносится на оборотную поверхность штанги или на не рабочую часть лицевой поверхности штанги в виде цифрового обозначения, состоящего из арабских цифр, или в виде буквенно-цифрового обозначения, состоящего из букв латинского алфавита и арабских цифр, в виде гравировки. Место нанесения заводского номера представлено на рисунке 10.
Нанесение знака поверки на средство измерений не предусмотрено.

Штангенциркули выпускаются под товарным знаком , который наносится на
нерабочую лицевую поверхность штанги, рамку или циферблат круговой шкалы, а так же на футляр методом типографской печати. Цвет товарного знака может отличаться.
Пломбирование штангенциркулей не предусмотрено.
Рисунок 1 - Общий вид штангенциркулей модификации Ш^Ц-Т
Общий вид штангенциркулей модификации ШЦ-ТТ
Рисунок 2 -
Рисунок 3 - Общий вид штангенциркулей модификации ШЦ-ТТТ
Рисунок 4 - Общий вид штангенциркулей модификации ШЦК-Т

Рисунок 6 - Общий вид штангенциркулей модификации Ш^ЦЦ-ТТ
Рисунок 7 - Общий вид штангенциркулей модификации ШЦЦ-ТТТ
I
I*'
U*
Jta
Рисунок 8 - Варианты исполнения цифрового отсчётного устройства для штангенциркулей модификаций ШЦЦ-1, ШЦЦ-11 и ШЦЦ-111
Рисунок 9 - Варианты исполнения штанги для штангенциркулей модификаций Ш^ЦЦ-Т, ШЦ^Ц-ТТ и ШЦЦ-ТТТ
а)
б)
Рисунок 1О - Место нанесения заводского номера на штангенциркули: а) в цифровом формате; б) в буквенно-цифровом формате.
Схемы обозначения губок штангенциркулей приведены на рисунке 11.
Рисунок 11 - Схемы обозначения губок штангенциркулей модификаций: а) ШЦ-I, ШЦЦ-I, ШЦК-1; б) ШЦ-П, ШЦЦ-II; в) ШЦ-111, ШЦЦ-111
Таблица 1 - штангенциркулей с отсчетом по
|
Модификация штангенциркуля |
Диапазон измерений, мм |
Значение отсчета по нониусу, мм |
Пределы допускаемой абсолютной погрешности при измерении глубины, равной 20 мм, мм |
Пределы допускаемой абсолютной погрешности измерении, мм |
|
1 |
2 |
3 |
4 |
5 |
|
шц-i |
от 0 до 100 |
0,02 |
±0,03 |
±0,03 |
|
0,05 |
±0,05 |
±0,05 | ||
|
0,1 |
±0,1 |
±0,1 | ||
|
от 0 до 125 |
0,02 |
±0,03 |
±0,03 | |
|
0,05 |
±0,05 |
±0,05 | ||
|
0,1 |
±0,1 |
±0,1 | ||
|
от 0 до 150 |
0,02 |
±0,03 |
±0,03 | |
|
0,05 |
±0,05 |
±0,05 | ||
|
0,1 |
±0,1 |
±0,1 | ||
|
от 0 до 160 |
0,02 |
±0,03 |
±0,03 | |
|
0,05 |
±0,05 |
±0,05 | ||
|
0,1 |
±0,1 |
±0,1 | ||
|
от 0 до 200 |
0,02 |
±0,03 |
±0,03 | |
|
0,05 |
±0,05 |
±0,05 | ||
|
0,1 |
±0,1 |
±0,1 | ||
|
от 0 до 250 |
0,02 |
±0,04 |
±0,04 | |
|
0,05 |
±0,05 |
±0,05 | ||
|
0,1 |
±0,1 |
±0,1 | ||
|
от 0 до 300 |
0,02 |
±0,04 |
±0,04 | |
|
0,05 |
±0,05 |
±0,05 | ||
|
0,1 |
±0,1 |
±0,1 | ||
|
ШЦ-11 |
от 0 до 160 |
0,02 |
- |
±0,03 |
|
0,05 |
±0,05 | |||
|
0,1 |
±0,1 | |||
|
от 0 до 200 |
0,02 |
±0,03 | ||
|
0,05 |
±0,05 | |||
|
0,1 |
±0,1 | |||
|
от 0 до 250 |
0,02 |
±0,04 | ||
|
0,05 |
±0,05 | |||
|
0,1 |
±0,1 | |||
|
от 0 до 300 |
0,02 |
±0,04 | ||
|
0,05 |
±0,05 | |||
|
0,1 |
±0,1 |
Продолжение таблицы 1
Продолжение таблицы 1
|
1 |
2 |
3 |
4 |
5 |
|
шц-iii |
от 0 до 1500 |
0,05 |
- |
±0,20 |
|
0,1 |
±0,20 | |||
|
от 0 до 1600 |
0,05 |
±0,20 | ||
|
0,1 |
±0,20 | |||
|
от 0 до 2000 |
0,05 |
±0,20 | ||
|
0,1 |
±0,25 | |||
|
от 0 до 2500 |
0,05 |
±0,25 | ||
|
0,1 |
±0,30 | |||
|
от 0 до 3000 |
0,05 |
±0,30 | ||
|
0,1 |
±0,35 | |||
|
от 0 до 4000 |
0,05 |
±0,40 | ||
|
0,1 |
±0,45 |
Таблица 2 - штангенциркулей с отсчетом по круговой шкале
|
Модификация штангенциркуля |
Диапазон измерений, мм |
Значение отсчета по круговой шкале, мм |
Пределы допускаемой абсолютной погрешности при измерении глубины, равной 20 мм, мм |
Пределы допускаемой абсолютной погрешности измерении, мм |
|
1 |
2 |
3 |
4 |
5 |
|
ШЦК-1 |
от 0 до 125 |
0,01 |
±0,03 |
±0,03 |
|
0,02 | ||||
|
от 0 до 150 |
0,01 | |||
|
0,02 | ||||
|
от 0 до 160 |
0,01 | |||
|
0,02 | ||||
|
от 0 до 200 |
0,01 | |||
|
0,02 | ||||
|
от 0 до 250 |
0,01 |
±0,03 |
±0,04 | |
|
0,02 | ||||
|
от 0 до 300 |
0,01 | |||
|
0,02 |
Таблица 3 - штангенциркулей с цифровым отсчетным устройством
|
Модификация штангенциркуля |
Диапазон измерений, мм |
Шаг дискретности цифрового отсчётного устройства, мм |
Пределы допускаемой абсолютной погрешности при измерении глубины, равной 20 мм, мм |
Пределы допускаемой абсолютной погрешности измерении, мм |
|
1 |
2 |
3 |
4 |
5 |
|
Ш^Ц^Ц-Т |
от 0 до 100 |
0,01 |
±0,03 |
±0,03 |
|
от 0 до 125 | ||||
|
от 0 до 150 | ||||
|
от 0 до 160 | ||||
|
от 0 до 200 | ||||
|
от 0 до 250 |
±0,04 | |||
|
от 0 до 300 | ||||
|
Ш^Ц^Ц-ТТ |
от 0 до 160 |
0,01 |
- |
±0,03 |
|
от 0 до 200 |
0,01 |
±0,04 | ||
|
от 0 до 250 |
0,01 | |||
|
от 0 до 300 |
0,01 | |||
|
от 0 до 400 |
0,01 |
±0,04 | ||
|
от 0 до 500 |
0,01 |
±0,05 | ||
|
от 0 до 600 |
0,01 |
±0,05 | ||
|
от 0 до 630 |
0,01 |
±0,05 | ||
|
от 0 до 800 |
0,01 |
±0,06 | ||
|
от 0 до 1000 |
0,01 |
±0,07 | ||
|
от 0 до 1250 |
0,01 |
±0,10 | ||
|
от 0 до 1500 |
0,01 |
±0,11 | ||
|
от 0 до 1600 |
0,01 |
±0,12 | ||
|
от 0 до 2000 |
0,01 |
±0,14 | ||
|
ШЦЦ-ТТТ |
от 0 до 400 |
0,01 |
±0,04 | |
|
от 0 до 500 |
0,01 |
±0,05 | ||
|
от 0 до 600 |
0,01 |
±0,05 | ||
|
от 0 до 630 |
0,01 |
±0,05 | ||
|
от 0 до 800 |
0,01 |
±0,06 | ||
|
от 0 до 1000 |
0,01 |
±0,07 | ||
|
от 0 до 1250 |
0,01 |
±0,10 | ||
|
от 0 до 1500 |
0,01 |
±0,11 | ||
|
от 0 до 1600 |
0,01 |
±0,12 | ||
|
от 0 до 2000 |
0,01 |
±0,14 | ||
|
от 0 до 2500 |
0,01 |
±0,22 | ||
|
от 0 до 3000 |
0,01 |
±0,26 | ||
|
от 0 до 3500 |
0,01 |
±0,30 | ||
|
от 0 до 4000 |
0,01 |
±0,34 |
Таблица 4 - , условия эксплуатации
|
Наименование характеристики |
Значение |
|
Допускаемое отклонение от плоскостности и прямолинейности измерительных поверхностей губок штангенциркулей, а также торца штанги штангенциркулей модификаций ШЦ-Т, ШЦ^Ц-I, Ш^ЦК-Т, мм |
0,02 |
|
Допускаемое отклонение от параллельности плоских измерительных поверхностей губок, мм, не более, для штангенциркулей:
|
0,02 0,03 |
|
Допускаемое отклонение размера сдвинутых до соприкосновения губок с цилиндрическими измерительными поверхностями для измерения внутренних размеров штангенциркулей модификаций ШЦ-II, ШЦ-III и ШЦЦ-II, ШЦЦ-ТТТ мм |
±0,03 |
|
Допускаемое отклонение от параллельности измерительных поверхностей губок с цилиндрическими измерительными поверхностями для измерений внутренних размеров штангенциркулей модификаций ШЦ-П, ШЦ-III и Ш^Т^Ц-П, Ш^Т^Ц-Ш, мм, не более |
0,03 |
|
Допускаемое отклонение от параллельности измерительных поверхностей губок с кромочными измерительными поверхностями для измерений внутренних размеров штангенциркулей модификаций ШЦ-I, Ш^Ц^Ц-Т, ШЦК-Т, мм |
0,02 |
|
Расстояние между измерительными поверхностями губок с кромочными измерительными поверхностями для измерений внутренних размеров штангенциркулей модификаций ШЦ-Т, ШЦ^Ц-Т, ШЦК-Т, установленных на размер 10 мм, мм |
10-0,03 10+0,07 |
|
Степень защиты по ГОСТ 14254-961): |
IP67 / IP65 / IP54 |
|
Условия эксплуатации:
|
от +15 до +25 80 |
|
Защита имеется только у штангенциркулей модификации ШЦ^Ц с соответствующей маркировкой | |
Таблица 5 - Размер сдвинутых до соприкосновения губок с цилиндрическими поверхностями, габаритные размеры и масса штангенциркулей
|
Диапазон измерений, мм |
Размер сдвинутых до соприкосновения губок с цилиндрическими поверхностями, мм |
Габаритные размеры, мм, ДхШхВ, не более |
Масса, кг, не более |
|
1 |
2 |
3 |
4 |
|
от 0 до 100 |
- |
70x25x190 |
0,14 |
|
от 0 до 125 |
- |
90x25x260 |
0,35 |
|
от 0 до 150 |
- |
90x25x260 |
0,35 |
|
от 0 до 160 |
10 |
90x25x280 |
0,45 |
|
от 0 до 200 |
10 |
110x25x350 |
0,48 |
|
от 0 до 250 |
10 |
135x25x400 |
0,50 |
|
от 0 до 300 |
10 |
140x25x450 |
0,55 |
|
от 0 до 400 |
10 / 20 |
275x30x600 |
1,10 |
|
от 0 до 500 |
10 / 20 |
275x30x680 |
1,10 |
Продолжение таблицы 5
|
1 |
2 |
3 |
4 |
|
от 0 до 600 |
10 / 20 |
275x30x800 |
1,70 |
|
от 0 до 630 |
10 / 20 |
275x30x780 |
1,70 |
|
от 0 до 800 |
10 / 20 |
355x33x1100 |
2,10 |
|
от 0 до 1000 |
10 / 20 |
355x33x1350 |
3,30 |
|
от 0 до 1250 |
10 / 20 |
485x33x1520 |
4,20 |
|
от 0 до 1500 |
10 / 20 |
485x43x1750 |
4,80 |
|
от 0 до 1600 |
10 / 20 |
485x43x1880 |
5,10 |
|
от 0 до 2000 |
20 |
485x55x2450 |
6,50 |
|
от 0 до 2500 |
20 / 30 |
450x70x3250 |
22,00 |
|
от 0 до 3000 |
20 / 30 |
500x80x3450 |
36,00 |
|
от 0 до 3500 |
20 / 30 |
550x80x3850 |
38,00 |
|
от 0 до 4000 |
40 |
600x80x4450 |
39,50 |
Таблица 6 - Длина вылета губок
|
Диапазон измерений, мм |
1 вылет губок с плоскими измерительными поверхностями для измерений наружных размеров, мм |
11 вылет губок с кромочными измерительными поверхностями для измерений внутренних размеров, мм |
12 вылет губок с кромочными измерительными поверхностями для измерений наружных размеров, мм |
13 вылет губок с цилиндрическими измерительными поверхностями для измерения внутренних размеров, мм | |
|
не менее |
не более |
не менее |
не менее |
не менее | |
|
1 |
2 |
3 |
4 |
5 |
6 |
|
Для штангенциркулей модификаций ШЦ-I, ШЦЦ-I, ШЦК-1 | |||||
|
от 0 до 100 |
30 |
60 |
12 |
- |
- |
|
от 0 до 125 |
30 |
60 |
15 |
- |
- |
|
от 0 до 150 |
30 |
60 |
15 |
- |
- |
|
от 0 до 160 |
30 |
60 |
15 |
- |
- |
|
от 0 до 200 |
40 |
100 |
18 |
- |
- |
|
от 0 до 250 |
40 |
100 |
18 |
- |
- |
|
от 0 до 300 |
40 |
100 |
18 |
- |
- |
|
Для штангенциркулей модификаций ШЦ-II, ШЦ^Ц-ТТ | |||||
|
от 0 до 160 |
30 |
60 |
- |
15 |
6 |
|
от 0 до 200 |
40 |
100 |
- |
20 |
8 |
|
от 0 до 250 |
40 |
100 |
- |
30 |
8 |
|
от 0 до 300 |
40 |
100 |
- |
30 |
9 |
|
от 0 до 400 |
63 |
250 |
- |
40 |
9 |
|
от 0 до 500 |
80 |
250 |
- |
50 |
12 |
|
от 0 до 600 |
80 |
250 |
- |
50 |
15 |
|
от 0 до 630 |
80 |
250 |
- |
50 |
15 |
|
от 0 до 800 |
80 |
300 |
- |
50 |
15 |
|
от 0 до 1000 |
80 |
300 |
- |
50 |
15 |
|
от 0 до 1250 |
100 |
300 |
- |
60 |
15 |
Продолжение таблицы 6
|
1 |
2 |
3 |
4 |
5 |
6 |
|
Для штангенциркулей модификаций ШЦ-II, ШЦ^Ц-ТТ | |||||
|
от 0 до 1500 |
100 |
300 |
- |
60 |
15 |
|
от 0 до 1600 |
100 |
300 |
- |
60 |
15 |
|
от 0 до 2000 |
100 |
300 |
- |
60 |
15 |
|
Д |
[^ля штангенциркулей модификаций Ш^Ц-Ш, ШЦЦ-111 | ||||
|
от 0 до 400 |
63 |
250 |
- |
- |
9 |
|
от 0 до 500 |
80 |
250 |
- |
- |
12 |
|
от 0 до 600 |
80 |
250 |
- |
- |
15 |
|
от 0 до 630 |
80 |
250 |
- |
- |
15 |
|
от 0 до 800 |
80 |
300 |
- |
- |
15 |
|
от 0 до 1000 |
80 |
300 |
- |
- |
15 |
|
от 0 до 1250 |
100 |
300 |
- |
- |
15 |
|
от 0 до 1500 |
100 |
300 |
- |
- |
15 |
|
от 0 до 1600 |
100 |
300 |
- |
- |
15 |
|
от 0 до 2000 |
100 |
300 |
- |
- |
15 |
|
от 0 до 2500 |
100 |
350 |
- |
- |
15 |
|
от 0 до 3000 |
150 |
400 |
- |
- |
15 |
|
от 0 до 3500 |
150 |
400 |
- |
- |
15 |
|
от 0 до 4000 |
150 |
400 |
- |
- |
15 |

