Номер по Госреестру СИ: 93355-24
93355-24 Резервуар горизонтальный
(Benza 1Р-40.3)
Назначение средства измерений:
Резервуар горизонтальный Benza 1Р-40.3 (далее - резервуар) предназначен для измерений объема нефти и нефтепродуктов, а также для их приема, хранения и отпуска.

Внешний вид.
Резервуар горизонтальный
Рисунок № 1

Внешний вид.
Резервуар горизонтальный
Рисунок № 2

Внешний вид.
Резервуар горизонтальный
Рисунок № 3

Внешний вид.
Резервуар горизонтальный
Рисунок № 4

Внешний вид.
Резервуар горизонтальный
Рисунок № 5
Знак утверждения типа
Знак утверждения типананосится методом лазерной гравировки на маркировочную табличку резервуара и типографским способом на титульный лист паспорта резервуара.
Сведения о методиках измерений
Сведения о методиках (методах) измерений приведены в пункте 8 паспорта на резервуар.Нормативные и технические документы
Нормативные документы, устанавливающие требования к средству измеренийПриказ Федерального агентства по техническому регулированию и метрологии от 26 сентября 2022 г. № 2356 «Об утверждении Государственной поверочной схемы для средств измерений массы и объема жидкости в потоке, объема жидкости и вместимости при статических измерениях, массового и объемного расходов жидкости».
ПравообладательАкционерное общество «Пензаспецавтомаш» (АО «Пензаспецавтомаш»)
ИНН 5835003258
Юридический адрес: 440015, Пензенская обл., г.о. город Пенза, г. Пенза, ул. Егорова, влд. 3
Телефон/факс: +7 (8412) 67-47-77
Web-сайт: www.benza.ru
E-mail: benza@benza.ru
Изготовитель
Акционерное общество «Пензаспецавтомаш» (АО «Пензаспецавтомаш») ИНН 5835003258Адрес: 440015, Пензенская обл., г.о. город Пенза, г. Пенза, ул. Егорова, влд. 3 Телефон/факс: +7 (8412) 67-47-77
Web-сайт: www.benza.ru
E-mail: benza@benza.ru
Испытательный центр
Общество с ограниченной ответственностью «МетроКонТ» (ООО «МетроКонТ») Адрес места осуществления деятельности: 420036, Республика Татарстан, г. Казань, ул. Тэцевская, д. 4б, помещ. 1011Юридический адрес: 420132, Республика Татарстан, г. Казань, ул. Адоратского, д. 39Б, оф. 51
Телефон: +7 9196969693 E-mail: trifonovua@mail.ru
Правообладатель
Акционерное общество «Пензаспецавтомаш» (АО «Пензаспецавтомаш»)ИНН 5835003258
Юридический адрес: 440015, Пензенская обл., г.о. город Пенза, г. Пенза, ул. Егорова, влд. 3
Телефон/факс: +7 (8412) 67-47-77
Web-сайт: www.benza.ru
E-mail: benza@benza.ru
Принцип действия резервуара основан на заполнении его нефтью или нефтепродуктом до определенного уровня, соответствующего заданному значению объема.
Резервуар представляет собой горизонтально установленный стальной трехсекционный сосуд цилиндрической формы с днищами. Секции разделены между собой перегородкой.
Резервуар Benza 1Р-40.3 с заводским номером 309 - резервуар номинальной вместимостью 40 м^, с тремя секциями с номинальной вместимостью 10, 10 и 20 м^.
Заполнение и выдача продукта осуществляется через приемно-раздаточные патрубки.
Заводской номер резервуара в виде цифрового обозначения, состоящий из арабских цифр, нанесен методом лазерной гравировки на маркировочную табличку резервуара (рисунок 1). Маркировочная табличка крепится к корпусу резервуара.
Общий вид резервуара представлен на рисунке 2.
Знак поверки наносится на пломбу и в свидетельство о поверке резервуара.
J

Давление корпуса
рабочее 0,04 МПа; пробное О.ОГМПа
Климатическое исполнение по ГОСТ У
1 I
Рисунок 1 - Маркировочная табличка резервуара
Рисунок 2 - Общий вид резервуара горизонтального Benza 1Р-40.3 с заводским номером 309
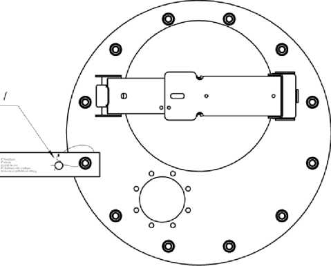
Для измерений уровня жидкости резервуар оснащен измерительными люками, к которым прикреплена табличка, на которую наносят знак поверки. Табличка крепится таким образом, чтобы ее невозможно было снять без разрушения поверительного клейма.
Схема пломбировки от несанкционированного доступа, обозначение места нанесения знака поверки представлены на рисунке 3.
Mecfna нанесения знака паЬерки
Рисунок 3 - Схема пломбировки от несанкционированного доступа, обозначение места нанесения знака поверки
Таблица 4 -
|
Наименование |
Обозначение |
Количество |
|
Резервуар горизонтальный Benza |
1Р-40.3 |
1 шт. |
|
Паспорт |
- |
1 экз. |
|
Градуировочная таблица |
- |
3 экз. |
Таблица 1 - Метрологические характеристики
|
Наименование характеристики |
Значение |
|
Номинальная вместимость, м3 |
40 |
|
Номинальная вместимость секции №1, м3 |
10 |
|
Номинальная вместимость секции №2, м3 |
10 |
|
Номинальная вместимость секции №3, м3 |
20 |
|
Пределы допускаемой относительной погрешности определения вместимости (объемный метод), % |
±0,25 |
Таблица 2 - Технические
|
Наименование характеристики |
Значение |
|
Условия эксплуатации: Температура окружающего воздуха, оС Атмосферное давление, кПа |
от -50 до +50 от 84,0 до 106,7 |
Таблица 3 - Показатели надежности
|
Наименование характеристики |
Значение |
|
Средний срок службы, лет, не менее |
20 |

