Номер по Госреестру СИ: 95882-25
95882-25 Счетчики электроэнергии однофазные компактные
(M2M-1С)
Назначение средства измерений:
Счетчики электроэнергии однофазные компактные M2M-1C предназначены для измерения и многотарифного учета активной и реактивной электрической энергии прямого и обратного направлений в однофазных сетях переменного тока промышленной частоты. Счетчики могут использоваться как автономно, так и в составе автоматизированных информационно-измерительных систем учета электрической энергии.

Внешний вид.
Счетчики электроэнергии однофазные компактные
Рисунок № 1

Внешний вид.
Счетчики электроэнергии однофазные компактные
Рисунок № 2

Внешний вид.
Счетчики электроэнергии однофазные компактные
Рисунок № 3
Программное обеспечение
Встроенное программное обеспечение (далее - ПО) производит обработку информации, поступающей от аппаратной части счетчика, формирует массивы данных и сохраняет их в энергонезависимой памяти, отображает измеренные значения на жидкокристаллическом дисплее, а также формирует ответы на запросы, поступающие по каналам связи.
Метрологические характеристики счетчиков напрямую зависят от калибровочных коэффициентов, которые записываются в память счетчиков на заводе-изготовителе на этапе калибровки.
Встроенное ПО не может быть считано без вскрытия корпуса счетчика и использования специального оборудования и программного обеспечения. Встроенное ПО разделено на метрологически значимую и метрологически незначимую (прикладную) части, которые объединены в единый файл. Номера версий ПО могут быть считаны со счётчика по каналам связи.
Уровень защиты программного обеспечения от непреднамеренных и преднамеренных изменений «высокий» в соответствии с Р 50.2.077-2014. Идентификационные данные ПО счетчиков приведены в таблице 2.
Таблица 2 - Идентификационные данные ПО
|
Идентификационные данные (признаки) |
Значение |
|
Идентификационное наименование программного обеспечения |
PWRM M2M 1 |
|
Номер версии (идентификационный номер) метрологически значимой части программного обеспечения |
1.0.0.0 |
|
Номер версии (идентификационный номер) метрологически незначимой (прикладной) части программного обеспечения, не ниже |
1.6.00 |
|
Цифровой идентификатор программного обеспечения |
- |
Знак утверждения типа
Сведения о методиках измерений
Сведения о методиках (методах) измеренийприведены в подразделе 2.8 «Устройство и работа счетчика» руководства по эксплуатации ПРЕТ.411152.009РЭ.
Нормативные и технические документы
Нормативные документы, устанавливающие требования к средству измеренийПриказ Росстандарта от 23 июля 2021 г. № 1436 «Об утверждении Государственной поверочной схемы для средств измерений электроэнергетических величин в диапазоне частот от 1 до 2500 Гц»;
Приказ Росстандарта от 26 сентября 2022 г. № 2360 «Об утверждении государственной поверочной схемы для средств измерений времени и частоты»;
ГОСТ 31818.11-2012 «Аппаратура для измерения электрической энергии переменного тока. Общие требования. Испытания и условия испытаний. Часть 11. Счетчики электрической энергии»;
ГОСТ 31819.21-2012 «Аппаратура для измерения электрической энергии переменного тока. Частные требования. Часть 21. Статические счетчики активной энергии классов точности 1 и 2»;
ГОСТ 31819.23-2012 «Аппаратура для измерения электрической энергии переменного тока. Частные требования. Часть 23. Статические счетчики реактивной энергии»;
ПРЕТ.411152.009ТУ «Счетчики электроэнергии однофазные компактные M2M-1C. Технические условия».
ПравообладательОбщество с ограниченной ответственностью «Курганский приборостроительный завод» (ООО «КПЗ»)
ИНН 7708369158
Адрес юридического лица: 640003, Курганская обл., г.о. город Курган, г. Курган, ул. Тимофея Невежина, стр. 3и, помещ. 231
Телефон: +7 (3522) 42-80-00
E-mail: info@kpsz.ru
Изготовитель
Общество с ограниченной ответственностью «Курганский приборостроительный завод» (ООО «КПЗ»)ИНН 7708369158
Адрес: 640003, Курганская обл., г.о. город Курган, г. Курган, ул. Тимофея Невежина, стр. 3и, помещ. 231
Телефон: +7 (3522) 42-80-00
E-mail: info@kpsz.ru
Испытательный центр
Федеральное бюджетное учреждение «Научно-исследовательский центр прикладной метрологии - Ростест» (ФБУ «НИЦ ПМ - Ростест»)Юридический адрес: 117418, г. Москва, Нахимовский пр-кт, д. 31
Телефон: +7 (495) 544-00-00
Факс: +7 (499) 124-99-96
E-mail: info@rostest.ru
Web-сайт: http://www.rostest.ru/
Правообладатель
Общество с ограниченной ответственностью «Курганский приборостроительный завод» (ООО «КПЗ»)ИНН 7708369158
Адрес юридического лица: 640003, Курганская обл., г.о. город Курган, г. Курган, ул. Тимофея Невежина, стр. 3и, помещ. 231
Телефон: +7 (3522) 42-80-00
E-mail: info@kpsz.ru
Принцип действия счетчиков основан на измерении входных сигналов напряжения и силы переменного тока с помощью аналого-цифрового преобразователя с последующей обработкой с помощью микроконтроллера.
Конструктивно счетчики состоят из пластикового корпуса, контактной (клеммной) колодки, печатных плат и дисплея. Счетчики имеют в своём составе датчики тока, в качестве которых служат токовый трансформатор и шунт; датчик напряжения, в качестве которого служит резистивный делитель напряжения; реле для управления нагрузкой; микросхему аналого-цифрового преобразователя (АЦП); микроконтроллер; энергонезависимые часы реального времени; энергонезависимую память для хранения данных; графический дисплей для отображения измеренных величин и другой информации; кнопки управления; оптический порт; испытательные оптические выходы активной и реактивной энергии; модули основного и резервного каналов связи; встроенный источник питания.
Контактная (клеммная) колодка служит для подключения электросети, соединяется с корпусом и закрывается прозрачной крышкой клеммного отсека. Крышка корпуса счетчика и крышка клеммного отсека допускают пломбировку.
В журналах событий фиксируются значимые события, в числе которых изменения конфигурации, попытки внешнего воздействия на процесс учета электроэнергии, превышения пороговых значений параметров электросети и нагрузки. Счетчики регистрируют события и сохраняют их в памяти с фиксацией даты и времени. Счетчики дают возможность определить тарифные расписания с использованием до 4 тарифов и до 12 тарифных зон в сутки, задаваемых при конфигурировании. При создании расписаний используются суточные расписания, тарифные недели и специальные дни, возможно определить переход зима/лето.
Счетчики изготавливаются в различных модификациях, различающихся наличием SIM-чипа; наличием внутренней или внешней антенны; типом основного канала связи; наличием и типом резервных каналов связи. Каждая модификация имеет своё уникальное условное обозначение, состав и возможные варианты характеристик которого приведены в таблице 1.
Таблица 1 - Структура условного обозначения счетчиков
М2М -
1С -
1/2 -
100
(X)
Наличие SIM-чипа
/нет индекса/ - отсутствует SC - применяется SIM-чип
Резервный канал связи /нет индекса/ - отсутствует, либо один или несколько индексов:
S - RS-485
B - Bluetooth Low Energy (BLE)
Антенна GSM
/нет индекса/ - встроенная А - внешняя антенна
Основной канал связи 2G - 2G (GSM/GPRS) 4G - 4G (LTE)
Реле управления нагрузкой D - наличие
Максимальный ток нагрузки 100 - 100 А
Класс точности по активной/реактивной энергии 1/2 - 1,0/2,0
Конструктивное исполнение и схема включения 1C - однофазный компактный щитового исполнения
Торговая марка счетчика
Общий вид счетчиков, места нанесения заводского номера и знака утверждения типа представлены на рисунке 1.
Заводской номер в виде цифрового обозначения, состоящего из двенадцати арабских цифр, наносится на лицевую панель корпуса счетчиков методом лазерной гравировки.
Место нанесения знака утверждения типа
Рисунок 1 - Общий вид счетчиков
Место нанесения заводского номера
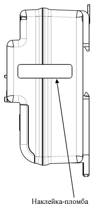
Места расположения пломб, место нанесения знака поверки указаны на рисунке 2.
Поставляемые производителем счетчики имеют две пломбы, находящиеся в верхних углах прозрачного корпуса: пломбу на проволоке со знаком поверки (слева) и пломбу со знаком завода-изготовителя (справа). Пломба со знаком завода-изготовителя может быть выполнена в виде пломбы на проволоке либо в виде пластилиновой пломбы.
Снаружи на правой стороне счетчики имеют дополнительную наклейку-пломбу.
На счетчике предусмотрено место для пломбы обслуживающей организации, которая устанавливается над крышкой клеммного отсека и выполняется в виде пломбы на проволоке.
Пломба на проволоке Пломба со знаком
со знаком поверки завода-изготовителя

Место для пломбировки обслуживающей организацией

Рисунок 2 - Схема пломбировки от несанкционированного доступа и место нанесения знака поверки
Таблица 6 -
|
Наименование |
Обозначение |
Количество, шт./экз. |
|
Счетчик электроэнергии однофазный компактный M2M-1C |
- |
1 |
|
Антенна GSM |
- |
1* |
|
Паспорт |
ПРЕТ.411152.009ПС |
1 |
|
Руководство по эксплуатации |
ПРЕТ.411152.009РЭ |
1** |
|
Примечания: * Антенна входит в комплект поставки только для счетчиков с внешней антенной. ** Электронная версия доступна на сайте производителя. Поставляется на бумажном носителе по запросу. | ||
наносится на корпус счётчиков методом лазерной гравировки, на титульный лист паспорта и руководства по эксплуатации - типографским способом.
Таблица 3 - Метрологические характеристики
|
Наименование характеристики |
Значение |
|
Класс точности
|
1,0 2,0 |
|
Номинальное напряжение, ином, В |
230 |
|
Рабочий диапазон напряжений, В |
от 0,7/Лном до 1,15-ином |
|
Базовый ток, 1б, А |
5 |
|
Максимальный ток, 1макс, А |
100 |
|
Номинальная частота сети, Г ц |
50 |
|
Рабочий диапазон частоты сети, Г ц |
от 47,5 до 52,5 |
|
Пределы погрешности хода внутренних часов за сутки, с |
±5,0 |
|
Стартовый ток (чувствительность), не менее:
|
0,004"1б 0,005-1б |
Таблица 4 - Технические характеристики
|
Наименование характеристики |
Значение |
|
Потребляемая мощность1): - цепью напряжения, активная и полная, Вт / В^А, не более2) |
2,0 / 10,0 |
|
- цепью тока, полная, В^А, не более3) |
1,5 |
|
Количество тарифов / тарифных зон |
4 / 12 |
|
Постоянная счетчика по активной и реактивной энергии, имп/(кВт^ч) и имп/(квар^ч) |
3600 и 3600 |
|
Габаритные размеры, мм, не более - длина |
123 |
|
- ширина |
106 |
|
- глубина |
62 |
|
Масса, кг, не более |
0,5 |
Окончание таблицы 4
|
Наименование характеристики |
Значение |
|
Условия эксплуатации:
|
от -30 до +55 от -40 до +70 90 от 70 до 106,7 |
|
Примечания:
| |
Таблица 5 - Показатели надежности
|
Наименование характеристики |
Значение |
|
Срок службы, лет |
30 |
|
Средняя наработка на отказ, ч |
262800 |
Комплектность средства измерений
Таблица 6 - Комплектность средства измерений
|
Наименование |
Обозначение |
Количество, шт./экз. |
|
Счетчик электроэнергии однофазный компактный M2M-1C |
- |
1 |
|
Антенна GSM |
- |
1* |
|
Паспорт |
ПРЕТ.411152.009ПС |
1 |
|
Руководство по эксплуатации |
ПРЕТ.411152.009РЭ |
1** |
|
Примечания: * Антенна входит в комплект поставки только для счетчиков с внешней антенной. ** Электронная версия доступна на сайте производителя. Поставляется на бумажном носителе по запросу. | ||

