Номер по Госреестру СИ: 26778-09
26778-09 Преобразователи измерительные
(Взлет АС)
Назначение средства измерений:
Преобразователи измерительные «ВЗЛЕТ АС» предназначены для одно- и многоканальных измерительных преобразований сигналов постоянного тока, напряжения, электрического сопротивления, частотно-импульсных сигналов, сигналов интерфейсов и сигналов с дискретным изменением параметров..
Общие сведения
Дата публикации - 07.03.2024
Срок свидетельства - 01.04.2029
Номер записи -
ID в реестре СИ - 333116
Тип производства - серийное
Описание типа
Поверка
Интервал между поверками по ОТ - 4 года
Наличие периодической поверки - Да
Модификации СИ
исп. ИВК-СК, исп. АТВ-3, ИВК-СК, ИВК СК, Взлет АС, Взлет ИВК СК, Взлет АС исполнение АТВ-3, ВЗЛЕТ АС исп.АТВ-3, Взлет АС исп. АТВ-3, Взлет АС ( исполнение АТВ-3), ВЗЛЕТ АС, АТВ-3, АССВ-030, АСВД-010, «Взлёт АС» исполнение АТВ-3, Iвых = 4-20 мА; Fмакс = 500 Гц, -, "Взлет АС" испол. АТВ-3, "ВЗЛЕТ АС" АТВ-3,
Производитель
Изготовитель - Акционерное общество "Взлет" (АО "Взлет")
Страна - РОССИЯ
Населенный пункт - г. Санкт-Петербург
Уведомление о начале осуществления предпринимательской деятельности - Да
Простой и наглядный отчет, показывающий в динамике частоту добавления во ФГИС АРШИН средств измерений по конкретному производителю.
Отчет представлен в виде графика и таблицы. График имеет возможность масштабирования и выгрузку данных в Exel. Таблица поддерживает возможность поиска и сортировки по любому из полей.
В таблице выводится информация по всем типам СИ, выбранного производителя, которая включает в себя:
- рег. номер в ФГИС АРШИН
- дата публикации
- наименование СИ и обозначение
- наименование и страну изготовителя
- ссылки на описание типа и методику поверки
- межповерочный интервал в соответствии с описанием типа
Статистика
Кол-во поверок - 2554
Выдано извещений - 3
Кол-во периодических поверок - 200
Кол-во средств измерений - 1905
Кол-во владельцев - 23
Усредненный год выпуска СИ - 2017
МПИ по поверкам - 1459 дн.
Приказы РСТ, где упоминается данный тип СИ
№755 от 2005.06.01 О предоставлении лицензии на осуществление деятельности по изготовлению и ремонту средств измерений ООО "Взлет-Челябинск"
№216 от 2012.04.09 О продлении срока действия свидетельств об утверждении типа средств измерений Регистрационный номер в Гос. реестре СИ 34543-34544-07, 33902-07, 33873-07)
№746 от 2017.04.12 О переоформлении свидетельства об утверждении типа № 35191 "Преобразователи измерительные "ВЗЛЕТ АС"
№681 от 2019.04.01 О продлении срока действия свидетельств об утверждении типа средств измерений
№2314 от 2019.09.27 О переоформлении и продлении срока действия свидетельства об утверждении типа средства измерений № 57221 "Системы информационно-измерительные "ВЗЛЕТ ИИС-Учет"
№580 от 2022.03.09 ПРИКАЗ О внесении изменений в сведения об утвержденных типах СИ (5)
№3208 от 2022.12.19 ПРИКАЗ_Об утверждении типов средств измерений (16)
№2438 от 2023.11.22 ПРИКАЗ О внесении изменений в сведения об утвержденных типах СИ (6)
№610 от 2024.03.05 ПРИКАЗ_О внесении изменений в сведения об утвержденных типах средств измерений в части продления срока действия СИ (16)
№2596 от 2024.10.31 Приказ об утверждении Программы национальной стандартизации на 2025 год
№2269 от 2024.09.24 ПРИКАЗ О внесении изменений в сведения об утвержденных типах СИ (13)
№633 от 2025.03.28 Об утверждении типов средств измерений (17)
Наличие аналогов СИ: Преобразователи измерительные (Взлет АС)
| ИМПОРТНОЕ СИ № в реестре, наименование СИ, обозначение, изголовитель |
ОТЕЧЕСТВЕННЫЙ АНАЛОГ № в реестре, наименование СИ, обозначение, изголовитель |
|---|
Все средства измерений Акционерное общество "Взлет" (АО "Взлет")
|
№ в реестре cрок св-ва |
Наименование СИ, обозначение, изголовитель | ОТ, МП | МПИ |
|---|---|---|---|
|
14510-12 19.06.2027 |
Комплексы поверочные, ВЗЛЕТ КПИ Акционерное общество "Взлет" (АО "Взлет") (РОССИЯ г. Санкт-Петербург) |
ОТ МП |
2 года |
|
22589-12 19.06.2027 |
Расходомеры-счетчики вихревые, ВЗЛЕТ ВРС Акционерное общество "Взлет" (АО "Взлет") (РОССИЯ г. Санкт-Петербург) |
ОТ МП |
2 года |
|
22590-12 19.06.2027 |
Уровнемеры ультразвуковые, ВЗЛЕТ УР Акционерное общество "Взлет" (АО "Взлет") (РОССИЯ г. Санкт-Петербург) |
ОТ МП |
4 года |
|
26778-09 01.04.2029 |
Преобразователи измерительные, Взлет АС Акционерное общество "Взлет" (АО "Взлет") (РОССИЯ г. Санкт-Петербург) |
ОТ |
4 года |
|
52856-13 20.06.2027 |
Расходомеры-счётчики электромагнитные, ВЗЛЕТ ЭР модификация Лайт М Акционерное общество "Взлет" (АО "Взлет") (РОССИЯ г. Санкт-Петербург) |
ОТ МП |
4 года |
|
72202-18 24.08.2029 |
Расходомеры-счётчики электромагнитные, ВЗЛЕТ СК Акционерное общество "Взлет" (АО "Взлет") (РОССИЯ г. Санкт-Петербург) |
ОТ МП |
4 года |
|
72477-18 13.09.2029 |
Теплосчетчики-регистраторы, ВЗЛЕТ ТСР СМАРТ Акционерное общество "Взлет" (АО "Взлет") (РОССИЯ г. Санкт-Петербург) |
ОТ МП |
4 года |
|
74739-19 17.04.2029 |
Тепловычислители, ВЗЛЕТ ТСРВ Акционерное общество "Взлет" (АО "Взлет") (РОССИЯ г. Санкт-Петербург) |
ОТ МП |
4 года |
|
79589-20 20.11.2030 |
Преобразователи измерительные, ВЗЛЕТ АС мод. 2.0 Акционерное общество "Взлет" (АО "Взлет") (РОССИЯ г. Санкт-Петербург) |
ОТ МП |
4 года |
|
80169-20 18.12.2030 |
Расходомеры-счетчики ультразвуковые, ВЗЛЕТ РГ Акционерное общество "Взлет" (АО "Взлет") (РОССИЯ г. Санкт-Петербург) |
ОТ МП |
4 года |
|
84382-22 14.01.2027 |
Расходомеры-счетчики ультразвуковые, УРСВ ВЗЛЕТ МР Акционерное общество "Взлет" (АО "Взлет") (РОССИЯ г. Санкт-Петербург) |
ОТ МП |
4 года |
|
85267-22 12.04.2027 |
Расходомеры-счётчики электромагнитные, ВЗЛЕТ ЭР Лайт М Акционерное общество "Взлет" (АО "Взлет") (РОССИЯ г. Санкт-Петербург) |
ОТ МП |
6 лет |
|
87702-22 19.12.2027 |
Теплосчетчики-регистраторы, ВЗЛЕТ ТСР Акционерное общество "Взлет" (АО "Взлет") (РОССИЯ г. Санкт-Петербург) |
ОТ МП |
4 года |
|
95007-25 28.03.2030 |
Расходомеры-счётчики электромагнитные, ВЗЛЕТ Акционерное общество "Взлет" (АО "Взлет") (РОССИЯ г. Санкт-Петербург) |
ОТ МП |
5 лет |
Справочный отчет по организации содержит следующую информацию:
1. Сведения об испытательной лаборатории, включающие наименование, статусы организации, виды полномочий, перечень мест осуществления деятельности, географическую привязку, регистрационные данные и данные о руководителе организации. Общие данные об объёмах поверки за текущий год.
2. Данные об оснащенности организации средствами поверки: СИ, СО, эталонами, ГЭТ и т.д.
3. Описание области специализации организации, содержащей сведения о типах СИ и поверках за последний год.
4. Данные о поверках и поверяемых типах СИ за последние 4 года с разбивкой на первичную и периодическую поверки.
5. Сведения о распределении поверок по видам измерений в динамике по годам.
6. Информация о том, на чем зарабатывает организация (за год - последние 365 дней)
7. Перечень контрагентов организации за последние пол года.
Кто поверяет Преобразователи измерительные (Взлет АС)
| Наименование организации | Cтатус | Поверенные модификации | Кол-во поверок | Поверок в 2026 году | Первичных поверок | Периодических поверок | Извещений | Для юриков | Для юриков первичные | Для юриков периодические |
|---|---|---|---|---|---|---|---|---|---|---|
| ООО ИК "СИБИНТЕК" (RA.RU.311951) | 13 | 0 | 11 | 0 | 13 | 0 | 11 | |||
| ООО "НМОП" (RA.RU.311359) | 20 | 0 | 20 | 0 | 8 | 0 | 8 | |||
| ФБУ "ТЕСТ-С.-ПЕТЕРБУРГ" (RA.RU.311501) | 40 | 0 | 0 | 0 | 0 | 0 | 0 | |||
| ФБУ "КИРОВСКИЙ ЦСМ" (RA.RU.311362) | РСТ | 6 | 0 | 6 | 0 | 6 | 0 | 6 | ||
| ФБУ "КРАСНОЯРСКИЙ ЦСМ" (RA.RU.311479) | РСТ | 5 | 0 | 3 | 0 | 5 | 0 | 3 | ||
| АО "ВЗЛЕТ" (RA.RU.312585) | 1987 | 21 | 1493 | 53 | 0 | 1531 | 1481 | 50 | ||
| ФБУ "УРАЛТЕСТ" (RA.RU.311249) | РСТ | 2 | 0 | 2 | 1 | 2 | 0 | 2 | ||
| ФБУ "НИЖЕГОРОДСКИЙ ЦСМ" (RA.RU.311315) | РСТ | 3 | 0 | 3 | 1 | 3 | 0 | 3 | ||
| ФБУ "САРАТОВСКИЙ ЦСМ ИМ. Б.А. ДУБОВИКОВА" (RA.RU.311232) | РСТ | 4 | 0 | 4 | 0 | 4 | 0 | 4 | ||
| ФБУ "ТЕСТ-С.-ПЕТЕРБУРГ" (RA.RU.311483) | РСТ | 1 | 0 | 0 | 0 | 1 | 0 | 0 | ||
| ФБУ «Кемеровский ЦСМ» (72) | РСТ | 1 | 0 | 0 | 0 | 0 | 0 | 0 | ||
| ООО "ГК ЖКХ РЕСУРС" (RA.RU.312041) | 1 | 0 | 1 | 0 | 1 | 0 | 1 | |||
| ООО "РИМЕЙК" (RA.RU.311565) | 1 | 0 | 1 | 0 | 0 | 0 | 0 | |||
| ФГУП «СНИИМ» (73) | РСТ | 2 | 0 | 0 | 0 | 0 | 0 | 0 | ||
| ООО ПКФ " ТЕПЛОУЧЕТ " (РОСС RU.0001.310057) | 4 | 0 | 0 | 0 | 0 | 0 | 0 | |||
| АО "СИБИАЦ" (RA.RU.312127) | 4 | 0 | 4 | 0 | 4 | 0 | 4 | |||
| ООО "ГАЗПРОМ ТРАНСГАЗ СУРГУТ" (RA.RU.311720) | 1 | 0 | 0 | 0 | 0 | 0 | 0 | |||
| АО "ВЗЛЕТ" (RA.RU.312585) | 216 | 0 | 0 | 0 | 0 | 0 | 0 | |||
| ФБУ "ИРКУТСКИЙ ЦСМ" (RA.RU.311392) | РСТ | 2 | 0 | 0 | 0 | 0 | 0 | 0 | ||
| ФБУ «Тест-С.-Петербург» (RA.RU.311483) | РСТ | 129 | 0 | 0 | 0 | 0 | 0 | 0 | ||
| ФБУ «КУЗБАССКИЙ ЦСМ» (RA.RU.311469) | РСТ | 10 | 0 | 10 | 0 | 10 | 0 | 10 | ||
| ООО "ПРИБОРАВТОМАТИКА" (1780) | 5 | 0 | 5 | 0 | 3 | 0 | 3 | |||
| ООО "РЕГИОНАЛЬНЫЙ СТАНДАРТ" (RA.RU.312407) | 1 | 0 | 1 | 0 | 1 | 0 | 1 | |||
| ФБУ "ЦСМ Татарстан" (RA.RU.311394) | РСТ | 14 | 0 | 14 | 0 | 14 | 0 | 14 | ||
| ФБУ "РОСТОВСКИЙ ЦСМ" (RA.RU.311306) | РСТ | 10 | 0 | 10 | 0 | 10 | 0 | 10 | ||
| ООО "ТАТИНТЕК" (RA.RU.311601) | 2 | 0 | 2 | 1 | 2 | 0 | 2 | |||
| ФБУ "КОМИ ЦСМ" (RA.RU.311490) | РСТ | 1 | 0 | 1 | 0 | 1 | 0 | 1 | ||
| ООО ИЦ МИТ (RA.RU.312147) | 4 | 0 | 4 | 0 | 4 | 0 | 4 | |||
| ФБУ "КОСТРОМСКОЙ ЦСМ" (RA.RU.311489) | РСТ | 12 | 0 | 12 | 0 | 8 | 0 | 8 | ||
| ФБУ "ЛИПЕЦКИЙ ЦСМ" (RA.RU.311476) | РСТ | 6 | 0 | 6 | 0 | 5 | 0 | 5 | ||
| ФБУ "ТЮМЕНСКИЙ ЦСМ" (RA.RU.311499) | РСТ | 2 | 0 | 2 | 0 | 2 | 0 | 2 | ||
| ООО «МетрЛифтСервис» (RA.RU.314115) | 1 | 0 | 1 | 0 | 1 | 0 | 1 | |||
| АО "ГОРЭЛЕКТРОСЕТЬ" (RA.RU.314414) | 5 | 0 | 5 | 0 | 5 | 0 | 5 | |||
| ФБУ "ТЕСТ-С.-ПЕТЕРБУРГ" (RA.RU.311501) | 30 | 20 | 10 | 0 | 28 | 20 | 8 | |||
| ФБУ "БЕЛГОРОДСКИЙ ЦСМ" (RA.RU.311380) | РСТ | 2 | 0 | 2 | 0 | 2 | 0 | 2 | ||
| ФБУ "АЛТАЙСКИЙ ЦСМ" (RA.RU.311486) | РСТ | 4 | 0 | 4 | 0 | 0 | 0 | 0 | ||
| ООО СЦ "ТЕПЛОКОМ" (RA.RU.312492) | 1 | 0 | 1 | 0 | 1 | 0 | 1 | |||
| ООО "ЦСМ" (RA.RU.312904) | 1 | 0 | 1 | 0 | 0 | 0 | 0 | |||
| ООО "ЭЛЕКТРОТЕХНИКА ПЛЮС" (RA.RU.311791) | 1 | 0 | 1 | 0 | 1 | 0 | 1 |
Стоимость поверки Преобразователи измерительные (Взлет АС)
| Организация, регион | Стоимость, руб | Средняя стоимость |
|---|---|---|
|
ФБУ НИЦ ПМ-Ростест Москва |
13700 | 4473 |
|
ФБУ Иркутский ЦСМ Иркутская область |
1058 | 4473 |
|
ФБУ Пермский ЦСМ Пермский край |
1826 | 4473 |
|
ФБУ Тест-С.-Петербург Санкт-Петербург |
3228 | 4473 |
|
ФБУ Тест-С.-Петербург Санкт-Петербург |
2870 | 4473 |
Программное обеспечение
Преобразователи измерительные «ВЗЛЕТ АС» имеют встроенное программное обеспечение.
Программное обеспечение выполняет измерительное преобразование сигналов, поступающих от первичных (промежуточных) устройств, управляет измерительным процессом, выполняет расчеты, обеспечивает взаимодействие с периферийными устройствами, хранение в энергонезависимой памяти результатов измерительных преобразований и их вывод на устройство индикации.
Идентификационные данные программного обеспечения приведены в таблице 1.
Таблица 1
|
Идентификационное наименование программного обеспечения |
Номер версии (идентификационный номер) программного обеспечения |
Цифровой идентификатор программного обеспечения (контрольная сумма исполняемого кода) |
ДРУгие идентификационные данные |
Алгоритм вычисления цифрового идентификатора программного обеспечения |
|
ВЗЛЕТ АС |
VZLJOT 90.00.02.00 |
0x7C6E |
— |
CRC16 |
Влияние на метрологически значимое ПО преобразователей измерительных «ВЗЛЕТ АС» через интерфейсы связи отсутствует. Метрологические характеристики средства измерений нормированы с учетом влияния программного обеспечения.
Защита ПО преобразователей измерительных «ВЗЛЕТ АС» от преднамеренных и непреднамеренных изменений соответствует уровню «С». Примененные специальные средства защиты в достаточной мере исключают возможность несанкционированной модификации, обновления (загрузки), удаления и иных преднамеренных изменений метрологически значимой части ПО и измеренных (вычисленных) данных.
Рисунок 1 - Общий вид преобразователей измерительных «ВЗЛЕТ АС»
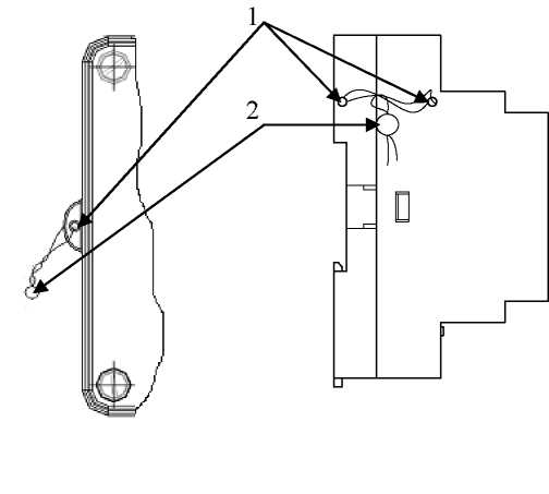
Для защиты от несанкционированного доступа корпус преобразователя должен быть опломбирован в соответствии с рисунком 2.
1 - пломбировочное отверстие;
2 - пломба .
Рисунок 2 - Схема пломбировки преобразователей измерительных «ВЗЛЕТ АС»
Знак утверждения типа
Знак утверждения типананосится на преобразователи методами шелкографии, термопечати и металлографики, а также на титульный лист паспорта типографским способом.
Лист № 4 Всего листов 5Сведения о методиках измерений
Сведения о методиках (методах) измерений приведены в эксплуатационном документе.Нормативные и технические документы
Нормативные и технические документы, устанавливающие требования к преобразователям измерительным «ВЗЛЕТ АС»1 ГОСТ 8.022-91 ГСИ. Государственный первичный эталон и государственная поверочная схема для средств измерений силы постоянного электрического тока в диапазоне 1 • 10-16 -30 А.
2 Преобразователи измерительные «ВЗЛЕТ АС». Технические условия. ТУ 4217-056-44327050-2003 (В56.00-00.00 ТУ)
Поверка
Поверкаосуществляется по документу В56.00-00.00 РЭ «Преобразователи измерительные «ВЗЛЕТ АС». Руководство по эксплуатации», раздел 4 «Методика поверки», согласованному ГЦИ СИ ВНИИР 03 декабря 2003 г.
Основные средства поверки:
- магазин сопротивлений Р4831, 2.704.0001ТУ, пределы допускаемого отклонения сопротивления ±0,022%;
- вольтметр В7-54, УШЯИ.411182.001 ТУ, диапазон 10 мкВ - 1000 В, основная погрешность измерения постоянного напряжения ±0,002%, основная погрешность измерения силы постоянного тока ±0,015%;
- частотомер Ч3-64, ДЛИ 2.721.066 ТУ, диапазон 0 - 150 МГц, относительная погрешность ±0,01%.
Допускается применение аналогичных средств поверки, обеспечивающих определение метрологических характеристик поверяемых СИ с требуемой точностью.
Изготовитель
Акционерное общество «ВЗЛЕТ» (АО «ВЗЛЕТ») ИНН 7826013976198097, г. Санкт-Петербург, ул. Трефолева, д. 2, лит.БМ
Телефон (812) 714-75-32, факс (812) 714-71-38
E-mail: mail@vzljot.ru
Испытательный центр
Федеральное государственное унитарное предприятие «Всероссийский научноисследовательский институт расходометрии»Юридический адрес: 420088 г. Казань, ул.2-я Азинская, д. 7А
Телефон (843) 272-70-62, факс (843) 272-00-32
E-mail: vniirpr@bk.ru
Преобразователи представляют собой микропроцессорные многоканальные измерительные устройства блочно-модульного типа. Измерительные блоки (модули) приборов выполняют преобразования сигналов, поступающих от первичных (промежуточных) устройств. Микропроцессорный модуль преобразователей управляет измерительным процессом, выполняет расчеты; обеспечивает взаимодействие с периферийными устройствами. Модули могут размещаться в одном или в нескольких корпусах.
Преобразователи обеспечивают вывод информации в виде сигналов постоянного тока, напряжения, электрического сопротивления, частотно-импульсных сигналов и сигналов с дискретным изменением параметров, а также сигналов интерфейсов типа RS-232, RS-485, HART, USB. В преобразователях предусмотрена возможность изменения количества и типов каналов измерений и преобразования сигналов. Сервисные функции приборов могут изменяться в соответствии с требованиями заказчика.
Основные технические и метрологические характеристики преобразователей приведены в таблице 2.
Таблица 2
|
Наименование параметра |
Значение параметра |
|
Количество каналов измерительных преобразований сигналов постоянного тока |
от 0 до 50 |
|
Количество каналов измерительных преобразований сигналов напряжения постоянного тока |
от 0 до 50 |
|
Количество каналов измерительных преобразований сигналов термоэлектродвижущей силы |
от 0 до 50 |
|
Количество каналов измерительных преобразований частотноимпульсных сигналов |
от 0 до 50 |
|
Количество каналов измерительных преобразований сигналов электрического сопротивления |
от 0 до 50 |
|
Количество каналов измерительных преобразований сигналов интерфейсов типа RS232, RS485, HART, USB |
от 0 до 50 |
|
Диапазон измерения сигналов постоянного тока, мА1) |
от 0 до 20 |
|
Диапазон измерения сигналов напряжения постоянного тока, В1) |
от - 10 до + 10 |
|
Диапазон измерения сигналов термоэлектродвижущей силы, мВ1) |
от - 200 до + 200 |
|
Диапазон частот при измерении частотно-импульсных сигналов, Гц1) |
от 0 до 3 000 |
|
Диапазон измерения сигналов электрического сопротивления, Ом1) |
от 0 до 2 000 |
|
Пределы допускаемых относительных погрешностей преобразователей при измерениях и преобразованиях составляют: - по каналам сигналов постоянного тока, электрического сопротивления (сопротивления преобразователей температуры), напряжения постоянного тока, термоэлектродвижущей силы, % |
±0,15 |
|
- по каналам частотно-импульсных сигналов (измерения частоты), %. |
±0,1 |
|
Пределы дополнительной абсолютной погрешности преобразователей при измерениях и преобразованиях по каналам частотно-импульсных сигналов (счета количества импульсов) составляют, имп.2) |
±1 |
|
Пределы допускаемой относительной погрешности измерения времени работы в различных режимах, %, не превышают |
±0,01 |
|
Питание преобразователей: напряжение переменного тока, В |
220+22/-33 / 36+4/-5 |
|
частота, Гц |
50±1 |
|
напряжение постоянного тока (в том числе от автономного источника), В, из ряда |
6, 9, 12, 24, 36 |
|
Потребляемая мощность, В • А, не более3) |
15 |
|
Среднее время наработки на отказ, ч |
75 000 |
|
Средний срок службы, лет |
12 |
|
1) Значение параметра должно оговариваться при заказе. Набор блоков (модулей), входящих | |
|
в состав преобразователей, оговаривается при заказе. Номинальные статические характери- | |
|
стики по входам программируются в зависимости от вида входного |
сигнала, необходимой |
|
функции преобразования по каналам измерения и требуемого алгоритма работы преобразова- | |
|
теля. Внутри основных диапазонов начало и конец диапазона измерений могут программиро- | |
|
ваться любыми. 2) При измерительных преобразованиях сигналов интерфейсов типа RS-232, RS-485, HART, | |
|
USB, а также сигналов с дискретным изменением параметров, погрешности не вносятся. | |
|
3) Потребляемая мощность указана для питания от сети переменного тока | |

