Номер по Госреестру СИ: 54035-13
54035-13 Расходомеры-счётчики электромагнитные
(SITRANS FM Transmag 2)
Назначение средства измерений:
Расходомеры-счётчики электромагнитные SITRANS FM Transmag 2 (далее -
расходомеры) предназначены для измерения объемного расхода и объема электропроводящих жидкостей в напорных трубопроводах.

Внешний вид.
Расходомеры-счётчики электромагнитные
Рисунок № 1

Внешний вид.
Расходомеры-счётчики электромагнитные
Рисунок № 2

Внешний вид.
Расходомеры-счётчики электромагнитные
Рисунок № 3
Программное обеспечение
Расходомеры имеют встроенное программное обеспечение (ПО). Структура и взаимосвязи частей ПО показана на рисунке 4.


Рисунок 4
Основные функции частей программного обеспечения:
-
1) Блок расчета расхода предназначен для расчетов его значений по результатам измерений сигнала, формируемого на электродах расходомера;
-
2) Блок расчета объема предназначен для расчетов его значений по результатам измерений расхода;
-
3) Блок архивации предназначен для расчетов и хранения измерительной и диагностической информации;
-
4) Блок обмена предназначен для вывода через последовательный порт измерительной, диагностической и настроечной информации на внешние устройства приема;
-
5) Блок индикации предназначен для визуального отображения на табло расходомера измерительной, диагностической и настроечной информации;
-
6) Блок реального времени предназначен для измерения времени работы расходомера и времени действия диагностируемых ситуаций;
-
7) Блок диагностики предназначен для контроля значений измеренных параметров на соответствие заданным значениям и формирования диагностических сообщений.
Идентификационные данные ПО приведены в таблице 1. Уровень защиты программного обеспечения от непреднамеренных и преднамеренных изменений по МИ 3286-2010 - С.
Знак утверждения типа
Знак утверждения типананосится на титульный лист эксплуатационной документации и на фирменную табличку прибора.
Сведения о методиках измерений
Сведения о методиках (методах) измерений
Методы измерений изложены в Руководстве по эксплуатации.
Нормативные и технические документы
Нормативные и технические документы, устанавливающие требования к Расходомерам-счётчикам электромагнитным SITRANS FM Transmag 2 техническая документация фирмы «SIEMENS»
Поверка
Поверкаосуществляется по документу МП 2550-0200-2012 «Расходомеры -счётчики электромагнитные SITRANS FM Transmag 2. Методика поверки», утвержденному ГЦИ СИ ФГУП «ВНИИМ им. Д.И. Менделеева » 20.12. 2012 г.
Основное поверочное оборудование:
Установка расходомерная с характеристиками не хуже: наибольший расход жидкости
0,5Q max, относительная погрешность ± 0,3 %.
Испытательный центр
ГЦИ СИ ФГУП «ВНИИМ им. Д.И. Менделеева»,Адрес: 190005, Санкт-Петербург, Московский пр., 19 Тел. (812) 251-76-01, факс (812) 713-0114
e-mail: info@vniim.ru
Принцип действия электромагнитного расходомера основан на использовании закона электромагнитной индукции Фарадея. В проводнике, движущемся в электромагнитном поле, индуцируется напряжение, величина которого пропорциональна скорости его движения. В качестве проводника выступает электропроводящая жидкость - вода. Электромагнитные катушки внутри первичного преобразователя создают магнитное поле, а электроды на его внутренней поверхности воспринимают разность потенциалов, возникающую при движении проводника в электромагнитном поле. Расход жидкости определяется с учетом внутреннего диаметра измерительного участка трубопровода.
Электромагнитные расходомеры состоят из первичного преобразователя 911Е и электронного блока Transmag 2, соединенных между собой кабелем.
Для преобразования измерительной информации и управления процессом измерений в состав расходомера входит электронный блок, к которому подключаются первичный преобразователь и дополнительное оборудование.
Электронный блок имеет встроенный жидкокристаллический дисплей. На жидкокристаллическом дисплее во время проведения измерений отображаются следующие значения измеряемых величин в графическом и цифровом виде:
-
- средняя скорость;
-
- общий расход;
-
- текущий расход;
-
- дата, время.
Электронный блок обеспечивает питание цепи возбуждения магнитного поля расходомера, а также преобразуют сигналы от электродов в выходные сигналы 4-20мА, частотно/импульсный, релейный сигнал и обеспечивают кодовый выход - HART - протокол, Profibus-PA.
В память электронного блока заносятся установочные параметры. Расходомер формирует сигнал сбоя в случае, если электроды не покрыты жидкостью.
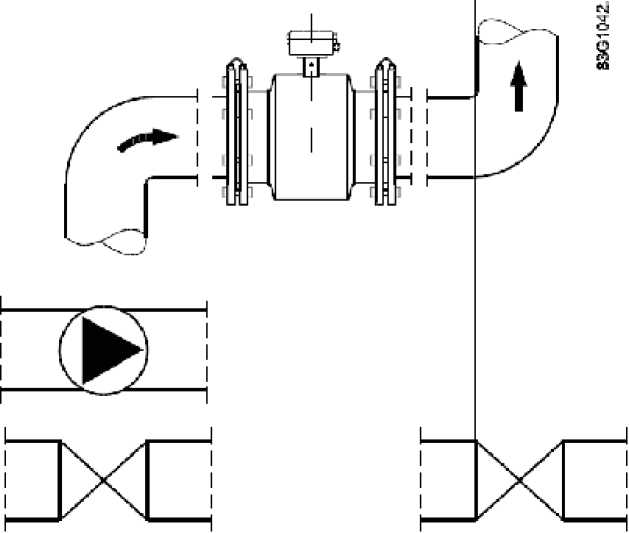
Длины прямых участков приведены на рисунке 1

рисунок 1
Внешний вид расходомеров приведен на рисунке 2.

Рисунок 2
В целях предотвращения доступа к узлам регулировки и настройки , а также к элементам конструкции, предусмотрены цифровые пароли доступа и места пломбирования, указанные на рисунке 3.
Рисунок 3.
Диапазон скорости потока, м/с
Пределы допускаемой относительной погрешности при
от 0,1 до12;
измерении расхода и объема, %
при скорости потока (0,25 < v < 12) м/с
при скорости потока (0,1 < v < 0,25) м/с где v - скорость потока, м/с
Диаметры условного прохода, мм
Температура измеряемой среды, °С
Температура окружающего среды, °С Максимальное давление среды, МПа Минимальная электропроводность среды, мкСм/см
± (0,5 + 0,12/v)
± 0,25/v;
от 15 до 1000; от 0 до 130;
от минус 20 до плюс 50;
4,0;
1;
Таблица 1.
|
Наименование программного обеспечения |
Идентификационное наименование программного обеспечения |
Номер версии (идентификационный номер) программного обеспечения |
Цифровой идентификатор программного обеспечения (контрольная сумма исполняемого кода) |
Алгоритм вычисления цифрового идентификатор а программного обеспечения |
|
Transmag Firmware |
Transmag Firmware |
3.0.14 |
071E0F56 |
MD5 |
Выходные сигналы:
-
- аналоговый, мА
с протоколом HART
-
- частотный, кГц
-
- Profibus-PA
Напряжение питания, В
-
- переменного тока
-
- постоянного тока
Потребляемая мощность, В^А
(в зависимости от исполнения и Ду)
Строительная длина первичного преобразователя, мм (в зависимости от исполнения и Ду)
от 0 до 20 от 4 до 2;
10,0;
от 85 до 264 от 10 до 28; от 120 до 630;
от 200 до 1300;
Масса, в кг:
от 5 до 620
3,4;
12; 58000
первичного преобразователя
( в зависимости от исполнения и Ду) электронного блока
Средний срок службы, лет
Средняя наработка на отказ, ч

