Номер по Госреестру СИ: 58001-14
58001-14 Расходомеры переменного перепада давления
(Deltatop)
Назначение средства измерений:
Расходомеры переменного перепада давления Deltatop (далее расходомеры) предназначены для измерений объемного расхода жидкости, газа или пара.

Внешний вид.
Расходомеры переменного перепада давления
Рисунок № 1

Внешний вид.
Расходомеры переменного перепада давления
Рисунок № 2

Внешний вид.
Расходомеры переменного перепада давления
Рисунок № 3

Внешний вид.
Расходомеры переменного перепада давления
Рисунок № 4

Внешний вид.
Расходомеры переменного перепада давления
Рисунок № 5

Внешний вид.
Расходомеры переменного перепада давления
Рисунок № 6

Внешний вид.
Расходомеры переменного перепада давления
Рисунок № 7

Внешний вид.
Расходомеры переменного перепада давления
Рисунок № 8

Внешний вид.
Расходомеры переменного перепада давления
Рисунок № 9

Внешний вид.
Расходомеры переменного перепада давления
Рисунок № 10
Программное обеспечение
Программное обеспечение расходомеров состоит из двух частей: Firmware и Software. Firmware - метрологически значимая часть программного обеспечения. Software - метрологически не значимая часть программного обеспечения, определяющая различные протоколы цифровой коммуникации, а также совместимость с сервисными программами.
Номер версии программного обеспечения имеет структуру X.Y.Z, где
Х - идентификационный номер Firmware;
Y - идентификационный номер текущей версии Software (от 00 до 99);
Z - служебный номер, идентифицирующий порядковый номер внесения изменений в метрологически не значимую часть программного обеспечения для устранения выявленных в ней неточностей (от 00 до 99).
Наименование ПО отображается на дисплее преобразователя при его включении (как неактивное, не подлежащее изменению).
Контрольная сумма не отображается на дисплее при включении.
В преобразователях расхода конструктивно предусмотрено наличие переключателя j (рис.4), расположенного внутри корпуса. Любое изменение настроек преобразователя расхода возможно только тогда, когда переключатель имеет состояние "Включен"(“оп”). Доступ к настройкам осуществляется через меню с помощью специального пароля. После внесения изменений в настройки переключатель переводят в состояние "Выключен"(“о1Т’) и переключатель ? заклеивается маркой поверителя.
При переходе переключателя в положение “off’ на дисплее прибора появляется зна
чок .
Идентификационные данные программного обеспечения преобразователей расхода приведены в таблице.
Таблица 1
Наименование программного обеспечения |
Идентификационное наименование программного обеспечения |
Номер версии (иден-тификаци-онный номер) программного обеспечения, не ниже |
Цифровой идентификатор программного обеспечения (контрольная сумма исполняемого кода) |
Алгоритм вычисления цифрового идентификатора программного обеспечения |
ПО для преобразователей давления измерительных Deltabar M/S моделей PMD** |
Pressure S-platform HART |
01.yy.zz |
не отображается |
CRC16 |
Pressure S-platform FF |
01.yy.zz |
не отображается |
CRC16 | |
Pressure S-platform PA |
01.yy.zz |
не отображается |
CRC16 | |
Pressure M-platform HART |
01.yy.zz |
не отображается |
CRC16 | |
Pressure M-platform FF |
01.yy.zz |
не отображается |
CRC16 | |
Pressure M-platform PA |
01.yy.zz |
не отображается |
CRC16 |
Программное обеспечение расходомеров имеет уровень защиты "C" от
непреднамеренных и преднамеренных изменений согласно МИ 3286-2010.
Знак утверждения типа
Знак утверждения типананосится на титульный лист паспорта и руководства по эксплуатации типографским способом и на прибор в виде наклейки.
Сведения о методиках измерений
Сведения о методиках (методах) измерений
изложены в руководстве по эксплуатации.
Нормативные и технические документы
Нормативные и технические документы, устанавливающие требования к расходомерам переменного перепада давления Deltatop-
1. ГОСТ 8.586.1-2005 Государственная система обеспечения единства измерений. Измерение расхода и количества жидкостей и газов с помощью стандартных сужающих устройств. Часть 1. Принцип метода измерений и общие требования
-
2. ГОСТ 8.586.2-2005 Государственная система обеспечения единства измерений. Измерение расхода и количества жидкостей и газов с помощью стандартных сужающих устройств. Часть 2. Диафрагмы. Технические требования
-
3. ГОСТ 8.586.3-2005 Государственная система обеспечения единства измерений. Измерение расхода и количества жидкостей и газов с помощью стандартных сужающих устройств. Часть 3. Сопла и сопла Вентури. Технические требования
-
4. ГОСТ 8.586.4-2005 Государственная система обеспечения единства измерений. Измерение расхода и количества жидкостей и газов с помощью стандартных сужающих устройств. Часть 4. Трубы Вентури. Технические требования
-
5. ISO/TR 15377:2007(E). Measurement of fluid flow by means of pressure-differential devices - Guidelines for the specification of orifice plates, nozzles and Venturi tubes beyond the scope of ISO5167.
-
6. ГОСТ Р 52931-2008. Приборы контроля и регулирования технологических процессов. Общие технические условия.
-
7. Техническая документация фирмы-изготовителя.
Поверка
Поверкапроводится по методике МП 58001-14 "ГСИ. Расходомеры переменного перепада давления Deltatop. Методика поверки", утверждённой ФГУП "ВНИИМС" в мае 2014 г.
Основное поверочное оборудование:
- установка поверочная с пределами допускаемой относительной погрешности ± 0,3 % и диапазоном расхода от 10 до 1000 м3/ч;
-
- микрометры МК по ГОСТ 6507-90 с диапазонами измерений 0...25; 25...50 мм, класс точности 2;
-
- штангенциркули по ГОСТ 166-89, абсолютная погрешность не более ± 0,1 мм;
-
- манометр грузопоршневой МП-2,5; МП-6; МП-60; МП-600 1 и 2 разряда;
-
- задатчики избыточного давления Воздух-1600; Воздух-2,5; Воздух-6,3; Воздух-1,6; классы точности 0,05; 0,02.
-
- катушка сопротивления образцовая, класс точности 0,005; сопротивление 100 Ом;
-
- вольтметр цифровой, класс точности 0,01;
-
- термометр ртутный стеклянный лабораторный; пределы измерений: 0.55 °С; цена деления шкалы 0,1°С; предел допускаемой погрешности: ± 0,2 °С.
Изготовитель
Фирма: Endress+Hauser GmbH + Co.KG, Германия.
Адрес: Haupstrasse 1, D-79689 Maulburg, Germany
Заявитель
ООО "Эндресс+Хаузер"
117105, Россия, Москва, Варшавское шоссе, д.35, стр. 1, 5 эт.
Тел.: +7(495) 783-28-50, факс: +7(495) 783-28-55 e-mail: info@ru.endress.com
Испытательный центр
Федеральное государственное унитарное предприятие «Всероссийский научноисследовательский институт метрологической службы» (ФГУП «ВНИИМС»)
Адрес: 119361, г. Москва, ул. Озерная, д.46
Тел./факс: (495)437-55-77 / 437-56-66
E-mail: office@vniims.ru, www.vniims.ru
Расходомер состоит из преобразователя давления измерительного Deltabar M/S моделей PMD55/PMD75,PMD70 и сужающего устройства (далее СУ) или осредняющей напорной трубки (далее ОНТ).
Принцип измерений основан на создании перепада давления в потоке на входе и выходе СУ или ОНТ, измерении его датчиком перепада давления и преобразования значения перепада давления в значение расхода, которое может также отображаться на ЖК дисплее датчика перепада давления. Значение расхода прямо пропорционально квадратному корню из измеренной разности давлений.
ОНТ имеют обозначение DP6** и представляют собой погружную конструкцию, устанавливаемую в трубопровод или короб прямоугольного сечения фронтальной частью навстречу потоку и имеют следующие конструктивные исполнения: DP61D - монтажная длина 34. .143 мм, сечение в виде ромба с диагоналями 11 и 12 мм; DP62D - монтажная длина 96.4463 мм, сечение в виде ромба с диагоналями 23 и 25,4 мм; DP63D - монтажная длина 276.4454 мм, сечение в виде ромба с диагоналями 36 и 42 мм; DP69D - исполнения, конструктивно выходящие за рамки прочих модификаций DP6**.
СУ имеют обозначения DO6****, DV6**, DN6**. Принцип действия СУ основан на создании разности давления в трубопроводе до и после СУ.
СУ моделей DO6**** изготавливаются в соответствии с ГОСТ 8.586.2-2005 и имеют следующие модификации:
DO61W** - бескамерные диафрагмы в комплекте с монтажными фланцами (фланцевый отбор давления);
DO62C** - бескамерные диафрагмы, выполненные из цельной цилиндрической заготовки толщины 25, 40 или 65 мм для межфланцевого монтажа (угловой отбор давления);
DO63C** - камерные диафрагмы с угловыми отборами давления, толщина 65 мм; DO64P** - бескамерные диафрагмы толщины от 3 до 10 мм для межфланцевого монтажа; DO65F** - камерные диафрагмы с угловыми отборами давления в комплекте с прямыми участками и фланцевыми подключениями к измерительному трубопроводу;
DO69S - исполнения, конструктивно выходящие за рамки прочих модификаций DO6****.
СУ моделей DN6** изготавливаются в соответствии с ГОСТ 8.586.3-2005 (п.5.3.1 - для Re<1000 и в>0,5) и имеют следующие модификации: DN61S - сопла Вентури;
DN62S - эллипсные сопла и сопла ИСА 1932.
СУ моделей DV61S (трубы Вентури) изготавливаются в соответствии с ГОСТ 8.586.4-2005.
Преобразователь обеспечивает измерение разности давления на ОНТ или СУ, пересчет в единицы объемного расхода при заданных значениях температуры и давления среды, и передачу выходного сигнала, соответствующего измеренному расходу, в формате аналогового 4.20 мА или цифрового сигнала HART, Profibus PA или Foundation Fieldbus. Преобразователи давления измерительные могут быть оснащены встроенным жидкокристаллическим дисплеем для отображения измеренных параметров, аварийных и диагностических сообщений.
Расходомер Deltatop может комплектоваться как одним, так и двумя преобразователями. Два преобразователя давления, настроенные на разные измерительные диапазоны, позволяют увеличить динамический диапазон расхода. При этом верхний предел диапазона первого преобразователя соответствует нижнему пределу диапазона второго преобразователя, а вычисление расхода может осуществляться дополнительным измерительно-вычислительным комплексом (например, RMS/RMC 621).
Для контроля изменения плотности газа или пара, расходомер может комплектоваться дополнительным преобразователем абсолютного давления ("Преобразователи давления измерительные Cerabar T/M/S"), термометром сопротивления ("Термопреобразователи сопротивления платиновые серий TR,TST"), которые устанавливаются на измерительный трубопровод, а также измерительно-вычислительным комплексом ("Комплексы измерительно-вычислительные RMS 621, RMC 621, RMM 621") для вычисления объемного и массового расхода, скомпенсированного по плотности.
Расходомеры Deltatop могут дополнительно комплектоваться вспомогательной арматурой (импульсные трубки, отсечные клапаны, вентильные блоки, сифоны, овальные фланцы) с целью удобства монтажа и обслуживания. Расходомеры, предназначенные для измерения расхода пара, дополнительно комплектуются конденсационными камерами, предназначенными для поддержания постоянства и равенства уровней конденсата в импульсных линиях, соединяющих СУ или ОНТ с преобразователем давления измерительным Deltabar M/S. Для уменьшения длины прямых участков перед расходомером, он может укомплектовываться выпрямителем потока, устанавливаемым на измерительный трубопровод.
Внешний вид расходомеров Deltatop, ОНТ и СУ, а также варианты монтажа приведены на рисунках 1, 2 и 3.



Deltatop на PMD75 и ОНТ модели DP61D
Deltatop на PMD55 и ОНТ мо- Deltatop на PMD55 и СУ модели DP62D дели DO65F


Deltatop на PMD75 и СУ модели DO61W
Deltatop на PMD55 и СУ модели DO62C
Рис.1 Внешний вид расходомеров Deltatop.

ОНТ модели DP63D

СУ модели DO64P

СУ модели DO63C

СУ модели DV61S

СУ модели DN61S

СУ модели DN62S
А


Рис.2 Типы СУ и ОНТ.

Г

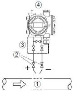
Схема монтажа расходомера Deltatop для измерений расхода жидкостей, газа, пара и монтаж с двумя датчиками.
-
1 - СУ или ОНТ
-
2 - отсечной клапан
-
3 - манифольд
-
4 - измерительный преобразователь перепада давления
-
5 - сепаратор
-
6 - конденсационная камера
-
7 - комплекс измерительно-вычислительный
Рис.3 Варианты монтажа расходомеров Deltatop.
На рисунке 4 изображен переключатель для защиты от несанкционированного доступа к настройкам.

Рис.4 Переключатель для защиты от несанкционированного доступа к настройкам преобразователя давления Deltabar (для учетных операций заклеивается маркой поверителя).
Наименование |
Обозначение |
Кол. |
Примечание | |
1. |
Расходомер переменного перепада давления Deltatop |
^р^^6**** DP6** DV6**, DN6** |
1 |
В соответствии с заказом |
2. |
Комплект монтажных принадлежностей: 71041541 - отсечной клапан DA61V; 71041546 - отсечной клапан DA62V; 52005715 - отсечной клапан PZAV; 71041539 - вентильный блок DA63M; 015674-9000 - вентильный блок PZV; 71041540 - конденсационная камера DA61C; 71041545 - конденсационная камера DA62C; 015676-9000 - конденсационная камера PZK; 7104151*, 7104152*, 7104153* - выпрямители потока DA63R**; 71041547 - блок продувки DA62P; 52005717 - сифон PZW; 015680-9000 - овальный фланец PZO; 71106219 - ограничительная диафрагма DR61S; 71098632, 71101935 - адаптеры для монтажного кронштейна; 52024609, 52024610, 52024611, 71098630, 71101934 - монтажные кронштейны; 7107187*, 7107188*, 7107189* - приварные бобышки. |
В соответствии с заказом | ||
3. |
Руководство по эксплуатации |
1 | ||
4. |
Паспорт |
1 | ||
5. |
Методика поверки |
1 |
1 на партию |
Таблица 2
~~ ' —■— Расходомер Характеристика^ —■— |
DP6** |
DO6**** |
DN6** |
DV61S | ||||
Диаметр условного прохода, мм |
от 34 до 6000 |
от 10 до 1000 |
от 50 до 630 |
от 50 до 1200 | ||||
Диапазон расхода, м3/ч |
Жидкость |
Газ, пар |
Жидкость |
Газ, пар |
Жидкость |
Газ, пар |
Жидкость |
Газ, пар |
от 1 до 1х105 |
от 25 до 2х106 |
от 0,02 до 15000 |
от 0,4 до 1,5х105 |
от 0,5 до 2,5х104 |
от 15 до 1,2х105 |
от 0,6 до 1,2х105 |
от 15 до 1х106 | |
Динамический диапазон расхода |
6:1- с одним преобразователем 36:1- с двумя преобразователями | |||||||
Пределы приведенной погрешности измерений преобразователя Deltabar,% |
Пределы допускаемой относительной погрешности измерений расходомера Deltatop, % | |||||||
±0,05 |
±1,4 |
от ±1,25 до ±1,6 для 50 < D < 1000 мм*; от ±1,7 до ±2,7 для 10 < D < 50 мм*; |
±2 для сопла Вентури (DN61S); ±1,6 для сопла ИСА1932 (DN62S); ±2,25 для эллипсного сопла (DN62S); |
от ±1,25 до ±2,55 с литой входной конической частью* от ±1,45 до ±3,35 с обработанной входной конической частью* от ±1,8 до ±3,35 с приварной входной конической частью из листовой стали | ||||
±0,075 |
±1,7 |
от ±1,6 до ±1,9 для 50 < D < 1000 мм*; от ±2 до ±2,9 для 10 < D < 50 мм*; |
±2,25 для сопла Вентури (DN61S); ±1,9 для сопла ИСА1932 (DN62S); ±2,5 для эллипсного сопла (DN62S); |
от ±1,6 до ±2,75 с литой входной конической частью* от ±1,75 до ±3,5 с обработанной входной конической частью* от ±2,05 до ±3,5 с приварной входной конической частью из листовой стали | ||||
±0,1 |
±2,1 |
от ±2 до ±2,25 для 50 < D < 1000 мм*; от ±2,3 до ±3,15 для 10 < D < 50 мм*; |
±2,55 для сопла Вентури (DN61S); ±2,25 для сопла ИСА1932 (DN62S); ±2,75 для эллипсного сопла (DN62S); |
от ±2,0 до ±3,0 с литой входной конической частью* от ±2,15 до ±3,7 с обработанной входной конической частью* от ±2,4 до ±3,7 с приварной входной конической частью из листовой стали* |
Продолжение таблицы 2
±0,15 |
±2,9 |
от ±2,85 до ±3 для 50 < D < 1000 мм*; от ±3,1 до ±3,7 для 10 < D < 50 мм*; |
±3,25 для сопла Вентури (DN61S); ±3 для сопла ИСА1932 (DN62S); ±3,4 для эллипсного сопла (DN62S); |
от ±2,85 до ±3,6 с литой входной конической частью* от ±2,95 до ±4,2 с обработанной входной конической частью* от ±3,15 до ±4,2 с приварной входной конической частью из листовой стали* |
Температура рабочей среды, °С |
от -200 до +200 (жидкость, газ); от -100 до +300 (пар) и до +1000 (при монтаже с импульсными трубками) | |||
Давление рабочей среды, МПа |
от 0 до 42 | |||
Температура окружающего воздуха, транспортировки и хранения, °С |
от -40 до +85 | |||
Напряжение постоянного тока, В |
от 10,5 до 45 | |||
Выходной сигнал:
|
4...20 HART, Profibus РА, FOUNDATION Fieldbus | |||
Относительная влажность воздуха, % |
от 4 до 100 | |||
Габаритные размеры, мм:
|
не более 111 х111 х236 в зависимости от типа СУ | |||
Масса, кг:
|
не более 8 не более 1500. |
- в зависимости от числа Re и в-