Номер по Госреестру СИ: 64218-16
64218-16 Кронциркули индикаторные
(824, 825)
Назначение средства измерений:
Кронциркули индикаторные серий 824, 825 (далее по тексту - кронциркули) предназначены для измерений наружных или внутренних линейных размеров, толщины стенок, диаметров деталей.

Внешний вид.
Кронциркули индикаторные
Рисунок № 1

Внешний вид.
Кронциркули индикаторные
Рисунок № 2
Общие сведения
Дата публикации - 08.05.2018
Срок свидетельства - 16.06.2026
Номер записи - 155482
ID в реестре СИ - 377882
Тип производства - серийное
Описание типа
Поверка
Интервал между поверками по ОТ - 1 год
Наличие периодической поверки - Да
Методика поверки
Модификации СИ
75-95, 55-75, 35-55, 33-55 0.01 ЛИНКС, 175-195-0,01, 175-195, 155-175, 15-35 0.01 серии 825, ЛИНКС, 15-35, 135-155, 115-135-0,01, 115-135 мм, 115-135, 100-120 0.01 ЛИНКС, -, (75-95), (60 - 80) мм, (35-55) мм, сериии 825, (15 - 35) мм,
Производитель
Изготовитель - Фирма "Harbin Measuring & Cutting Tool Group Co., Ltd."
Страна - КИТАЙ
Населенный пункт -
Уведомление о начале осуществления предпринимательской деятельности - Да
Отчёт «MM_6. МВИ по видам измерений (ФГИС «Аршин»)» показывает объём и динамику методик внутри выбранного вида измерений с 2020 года. После выбора вида рассчитываются ключевые показатели: дата первой и последней публикации, общее число МВИ, доля статуса «Действует», средний лаг от даты свидетельства до публикации, а также количество уникальных разработчиков и аттестующих организаций. Дополнительно отражается качество данных: наличие контактных данных разработчика и заполненность полей (величина, пределы, погрешность).
Набор графиков помогает понять структуру и активность по выбранному виду: помесячные публикации и кумулятив, распределение по статусам (stacked) и помесячная доля «Действует». Показаны топ-10 аттестующих и разработчиков, динамика среднего лага и заполненности ключевых полей, доля карточек с контактами. Для оперативного сравнения темпов есть YTD vs LYTD по ISO-неделям, тепловая карта «год×месяц», сезонность (среднее по месяцам) и тематические разрезы — топ-6 «назначений» и топ-10 «методов измерений».
Используйте подсказки при наведении и меню на графиках для экспорта. Сопоставляйте объёмы публикаций с долей «Действует» и величиной лага, чтобы находить узкие места; просматривайте сезонные пики и активность основных участников (разработчиков/аттестующих). Все метрики и визуализации относятся именно к выбранному виду измерений и учитывают данные, опубликованные с 2020 года.
Статистика
Кол-во поверок - 2248
Выдано извещений - 8
Кол-во периодических поверок - 1285
Кол-во средств измерений - 444
Кол-во владельцев - 65
Усредненный год выпуска СИ - 2017
МПИ по поверкам - 351 дн.
Приказы РСТ, где упоминается данный тип СИ
№756 от 2016.06.16 Об утверждении типов средств измерений
№159 от 2021.02.24 О продлении срока действия утвержденных типов средств измерений
Наличие аналогов СИ: Кронциркули индикаторные (824, 825)
ИМПОРТНОЕ СИ № в реестре, наименование СИ, обозначение, изголовитель |
ОТЕЧЕСТВЕННЫЙ АНАЛОГ № в реестре, наименование СИ, обозначение, изголовитель |
---|
Все средства измерений Фирма "Harbin Measuring & Cutting Tool Group Co., Ltd."
№ в реестре cрок св-ва |
Наименование СИ, обозначение, изголовитель | ОТ, МП | МПИ |
---|---|---|---|
52414-13 17.01.2018 |
Штангенциркули, 601, 602, 603, 604, 604А, 605, 605А Фирма "Harbin Measuring & Cutting Tool Group Co., Ltd." (КИТАЙ ) |
ОТ МП |
1 год |
63980-16 18.05.2026 |
Индикаторы рычажно-зубчатые, 804, 805 Фирма "Harbin Measuring & Cutting Tool Group Co., Ltd." (КИТАЙ ) |
ОТ МП |
1 год |
64218-16 16.06.2026 |
Кронциркули индикаторные, 824, 825 Фирма "Harbin Measuring & Cutting Tool Group Co., Ltd." (КИТАЙ ) |
ОТ МП |
1 год |
65066-16 09.09.2026 |
Штангенглубиномеры, 606, 615, 616 Фирма "Harbin Measuring & Cutting Tool Group Co., Ltd." (КИТАЙ ) |
ОТ МП |
1 год |
65115-16 15.09.2026 |
Приборы для двухпрофильного контроля зубчатых колес, 3100, 3101, 3102, 3103 Фирма "Harbin Measuring & Cutting Tool Group Co., Ltd." (КИТАЙ ) |
ОТ МП |
1 год |
65138-16 15.09.2026 |
Угломеры с нониусом, 613 Фирма "Harbin Measuring & Cutting Tool Group Co., Ltd." (КИТАЙ ) |
ОТ МП |
1 год |
65139-16 15.09.2026 |
Глубиномеры микрометрические, 713 Фирма "Harbin Measuring & Cutting Tool Group Co., Ltd." (КИТАЙ ) |
ОТ МП |
1 год |
65140-16 15.09.2026 |
Глубиномеры индикаторные, 819 Фирма "Harbin Measuring & Cutting Tool Group Co., Ltd." (КИТАЙ ) |
ОТ МП |
1 год |
65142-16 15.09.2026 |
Микрометры рычажные , 705, 725 Фирма "Harbin Measuring & Cutting Tool Group Co., Ltd." (КИТАЙ ) |
ОТ МП |
1 год |
67120-17 24.03.2022 |
Машины зубоизмерительные, LINKS Фирма "Harbin Measuring & Cutting Tool Group Co., Ltd." (КИТАЙ ) |
ОТ МП |
1 год |
Кто поверяет Кронциркули индикаторные (824, 825)
Наименование организации | Cтатус | Поверенные модификации | Кол-во поверок | Поверок в 2025 году | Первичных поверок | Периодических поверок | Извещений | Для юриков | Для юриков первичные | Для юриков периодические |
---|---|---|---|---|---|---|---|---|---|---|
ФБУ "НОВОСИБИРСКИЙ ЦСМ" (RA.RU.311258) | РСТ | 17 | 5 | 0 | 16 | 0 | 16 | 0 | 16 | |
АО "СЕВЕРНЫЙ ПРЕСС" (РОСС СОБ 3.00102.2013) | 12 | 1 | 3 | 8 | 0 | 11 | 3 | 8 | ||
ФБУ "КИРОВСКИЙ ЦСМ" (RA.RU.311362) | РСТ | 5 | 0 | 4 | 0 | 4 | 0 | 4 | ||
ФБУ "ЦСМ РЕСПУБЛИКИ БАШКОРТОСТАН" (RA.RU.311406) | РСТ | 38 | 0 | 26 | 0 | 26 | 0 | 26 | ||
АО "ЦЕНТР МИОТ" (RA.RU.311995) | 3 | 0 | 0 | 0 | 0 | 0 | 0 | |||
ООО "ТЕСТИНТЕХ" (RA.RU.312099) | 2 | 0 | 2 | 0 | 2 | 0 | 2 | |||
ООО "ИРЗ" (RA.RU.312795) | 4 | 0 | 4 | 0 | 4 | 0 | 4 | |||
ФБУ "ЧЕЛЯБИНСКИЙ ЦСМ" (RA.RU.311482) | РСТ | 9 | 0 | 0 | 0 | 0 | 0 | 0 | ||
АО "СЕВЕРНЫЙ ПРЕСС" (RA.RU.310611) | 5 | 0 | 0 | 0 | 0 | 0 | 0 | |||
ФБУ "УРАЛТЕСТ" (RA.RU.311249) | РСТ | 16 | 2 | 0 | 16 | 1 | 16 | 0 | 16 | |
ФБУ "ЦСМ Татарстан" (RA.RU.311394) | РСТ | 20 | 7 | 0 | 20 | 0 | 20 | 0 | 20 | |
ФБУ "РОСТЕСТ-МОСКВА" (RA.RU.311341) | 1 | 0 | 0 | 0 | 0 | 0 | 0 | |||
ООО "ЧЦМК" (RA.RU.312952) | 53 | 3 | 9 | 44 | 0 | 53 | 9 | 44 | ||
АО "ВМП "АВИТЕК" (RA.RU.312393) | 380 | 5 | 342 | 38 | 0 | 380 | 342 | 38 | ||
ФБУ "ЦСМ Татарстан" (RA.RU.311394) | РСТ | 4 | 0 | 0 | 0 | 0 | 0 | 0 | ||
ФБУ "ТЮМЕНСКИЙ ЦСМ" (RA.RU.311494) | РСТ | 1 | 0 | 0 | 0 | 0 | 0 | 0 | ||
АО «Омсктрансмаш» (RA.RU.311326) | 124 | 19 | 0 | 124 | 0 | 124 | 0 | 124 | ||
ФБУ "ТОМСКИЙ ЦСМ" (RA.RU.311225) | РСТ | 30 | 6 | 0 | 30 | 0 | 30 | 0 | 30 | |
ООО "АВТОПРОГРЕСС-М" (RA.RU.311195) | 11 | 2 | 0 | 11 | 0 | 2 | 0 | 2 | ||
ФБУ "НИЖЕГОРОДСКИЙ ЦСМ" (RA.RU.311315) | РСТ | 85 | 21 | 29 | 56 | 0 | 73 | 29 | 44 | |
ООО "ИНЭКС СЕРТ" (RA.RU.312302) | 3 | 0 | 3 | 0 | 3 | 0 | 3 | |||
ФБУ "УЛЬЯНОВСКИЙ ЦСМ" (RA.RU.311219) | РСТ | 4 | 1 | 0 | 3 | 0 | 4 | 0 | 3 | |
ФБУ "ТЕСТ-С.-ПЕТЕРБУРГ" (RA.RU.311483) | РСТ | 30 | 0 | 30 | 0 | 30 | 0 | 30 | ||
ООО РМЦ "КАЛИБРОН" (РОСС RU.0001.310096) | 99 | 24 | 5 | 73 | 0 | 67 | 1 | 66 | ||
ООО "ПРОММАШ ТЕСТ" (RA.RU.311368) | 4 | 0 | 4 | 0 | 4 | 0 | 4 | |||
ПАО АК "РУБИН" (РОСС СОБ 3.00150.2013) | 15 | 5 | 0 | 15 | 0 | 12 | 0 | 12 | ||
ФБУ "ПЕРМСКИЙ ЦСМ" (RA.RU.311363) | РСТ | 31 | 2 | 0 | 28 | 0 | 2 | 0 | 2 | |
ФБУ "УДМУРТСКИЙ ЦСМ" (RA.RU.311312) | РСТ | 11 | 0 | 11 | 0 | 11 | 0 | 11 | ||
АО "ЦЕНТР МИОТ" (RA.RU.311995) | 15 | 0 | 15 | 0 | 15 | 0 | 15 | |||
ФБУ "Волгоградский ЦСМ" (RA.RU.311474) | РСТ | 23 | 3 | 0 | 20 | 0 | 20 | 0 | 17 | |
ФБУ "ЧЕЛЯБИНСКИЙ ЦСМ" (RA.RU.311503) | РСТ | 47 | 14 | 1 | 42 | 2 | 47 | 1 | 42 | |
АО "УППО" (RA.RU.310689) | 3 | 0 | 3 | 0 | 3 | 0 | 3 | |||
ФБУ "РОСТЕСТ-МОСКВА" (RA.RU.311341) | РСТ | 61 | 0 | 59 | 1 | 31 | 0 | 31 | ||
ФБУ "САМАРСКИЙ ЦСМ" (RA.RU.311429) | РСТ | 12 | 0 | 12 | 0 | 12 | 0 | 12 | ||
ФБУ "РЯЗАНСКИЙ ЦСМ" (RA.RU.311387) | РСТ | 65 | 0 | 58 | 1 | 65 | 0 | 58 | ||
АО "КМПО" (RA.RU.311548) | 2 | 0 | 0 | 0 | 0 | 0 | 0 | |||
ФБУ "АЛТАЙСКИЙ ЦСМ" (RA.RU.311486) | РСТ | 7 | 1 | 0 | 7 | 0 | 7 | 0 | 7 | |
ФБУ "ЯРОСЛАВСКИЙ ЦСМ" (RA.RU.311391) | РСТ | 45 | 9 | 0 | 45 | 0 | 45 | 0 | 45 | |
ОАО "Казанское моторостроительное производственное объединение" (RA.RU.311548) | 3 | 0 | 0 | 0 | 0 | 0 | 0 | |||
ФБУ "ТУЛЬСКИЙ ЦСМ" (RA.RU.311348) | РСТ | 1 | 0 | 0 | 0 | 0 | 0 | 0 | ||
ООО "АЗ-И" (RA.RU.312199) | 2 | 0 | 2 | 0 | 2 | 0 | 2 | |||
ПАО "НПО "АЛМАЗ" (RA.RU.311894) | 5 | 0 | 5 | 0 | 5 | 0 | 5 | |||
ОАО "Северный пресс" (RA.RU.310611) | 13 | 0 | 0 | 0 | 0 | 0 | 0 | |||
ООО "АВТОПРОГРЕСС-М" (RA.RU.311195) | 1 | 0 | 0 | 0 | 0 | 0 | 0 | |||
ФБУ "ЦСМ РЕСПУБЛИКИ БАШКОРТОСТАН" (RA.RU.311406) | РСТ | 8 | 0 | 0 | 0 | 0 | 0 | 0 | ||
ФБУ "НОВОСИБИРСКИЙ ЦСМ" (RA.RU.311258) | РСТ | 1 | 0 | 0 | 0 | 0 | 0 | 0 | ||
ФБУ "Волгоградский ЦСМ" (RA.RU.311474) | РСТ | 2 | 0 | 0 | 0 | 0 | 0 | 0 | ||
ФБУ "АЛТАЙСКИЙ ЦСМ" (RA.RU.311486) | РСТ | 2 | 0 | 0 | 0 | 0 | 0 | 0 | ||
ООО РМЦ "Калиброн" (РОСС RU.0001.310096) | 66 | 0 | 0 | 0 | 0 | 0 | 0 | |||
ФБУ "ТУЛЬСКИЙ ЦСМ" (RA.RU.311265) | РСТ | 1 | 0 | 0 | 0 | 0 | 0 | 0 | ||
ФБУ "ПЕРМСКИЙ ЦСМ" (RA.RU.311363) | РСТ | 5 | 0 | 0 | 0 | 0 | 0 | 0 | ||
АО "КМПО" (RA.RU.311548) | 3 | 0 | 0 | 0 | 0 | 0 | 0 | |||
ФБУ «ЦСМ Московской области» (RA.RU.311341) | РСТ | 2 | 0 | 0 | 0 | 0 | 0 | 0 | ||
ФБУ «Пензенский ЦСМ» (RA.RU.311246) | РСТ | 2 | 0 | 0 | 0 | 0 | 0 | 0 | ||
ФБУ «Челябинский ЦСМ» (RA.RU.311503) | РСТ | 1 | 0 | 0 | 0 | 0 | 0 | 0 | ||
ФБУ "СЕВЕРО-КАВКАЗСКИЙ ЦСМ" (RA.RU.311488) | РСТ | 3 | 0 | 3 | 0 | 3 | 0 | 3 | ||
ФБУ "ТУЛЬСКИЙ ЦСМ" (RA.RU.311462) | РСТ | 5 | 0 | 5 | 0 | 5 | 0 | 5 | ||
ООО «ПРОММАШ ТЕСТ МЕТРОЛОГИЯ» (RA.RU.313740) | 105 | 38 | 6 | 99 | 0 | 105 | 6 | 99 | ||
ФБУ "ВЛАДИМИРСКИЙ ЦСМ" (RA.RU.311222) | РСТ | 1 | 0 | 1 | 0 | 1 | 0 | 1 | ||
АО "ИЖЕВСКИЙ МОТОЗАВОД "АКСИОН-ХОЛДИНГ" (РОСС СОБ 3.00141.2013) | 7 | 6 | 0 | 7 | 0 | 7 | 0 | 7 | ||
ФБУ "ТЮМЕНСКИЙ ЦСМ" (RA.RU.311499) | РСТ | 15 | 3 | 0 | 15 | 0 | 9 | 0 | 9 | |
ООО "МЦ СЕВР ГРУПП" (RA.RU.314078) | 408 | 92 | 373 | 35 | 0 | 408 | 373 | 35 | ||
ООО «МетрЛифтСервис» (RA.RU.314115) | 2 | 1 | 1 | 0 | 2 | 1 | 1 | |||
ФБУ "ЦСМ ИМ. А.М. МУРАТШИНА В РЕСПУБЛИКЕ БАШКОРТОСТАН" (RA.RU.311406) | РСТ | 31 | 6 | 0 | 31 | 1 | 31 | 0 | 31 | |
ООО "МЕТРОКАЛИБР" (RA.RU.314509) | 2 | 1 | 1 | 0 | 1 | 1 | 0 | |||
ФБУ "ПЕНЗЕНСКИЙ ЦСМ" (RA.RU.311246) | РСТ | 2 | 0 | 2 | 0 | 2 | 0 | 2 | ||
ООО ИЦ МИТ (RA.RU.312147) | 2 | 0 | 2 | 0 | 2 | 0 | 2 | |||
ООО "ИСКАТЕЛЬ - 2" (RA.RU.311939) | 10 | 9 | 1 | 9 | 0 | 10 | 1 | 9 | ||
ФБУ "РОСТОВСКИЙ ЦСМ" (RA.RU.311306) | РСТ | 7 | 3 | 0 | 7 | 0 | 7 | 0 | 7 | |
ФБУ "НИЦ ПМ - РОСТЕСТ" (RA.RU.311341) | 27 | 17 | 0 | 27 | 2 | 15 | 0 | 15 | ||
АО "РОСТВЕРТОЛ" (RA.RU.312919) | 8 | 8 | 0 | 8 | 0 | 8 | 0 | 8 | ||
ООО "ЮЖУРАЛ-ТЕСТ" (RA.RU.312195) | 1 | 0 | 1 | 0 | 1 | 0 | 1 | |||
ФГУП "РФЯЦ - ВНИИТФ ИМ. АКАДЕМ. Е.И. ЗАБАБАХИНА" (RA.RU.311874) | 7 | 7 | 0 | 7 | 0 | 7 | 0 | 7 | ||
НПАО "ГИДРОМАШ" (727) | 32 | 10 | 0 | 32 | 0 | 32 | 0 | 32 | ||
ПАО "РОСТВЕРТОЛ" (RA.RU.312919) | 20 | 5 | 0 | 20 | 0 | 20 | 0 | 20 | ||
АО ААК "ПРОГРЕСС" (1027) | 10 | 8 | 0 | 10 | 0 | 10 | 0 | 10 | ||
ООО "СИМПЛ" (RA.RU.314131) | 2 | 2 | 0 | 2 | 0 | 2 | 0 | 2 | ||
АО "КБ "ЛУЧ" (RA.RU.314068) | 1 | 0 | 1 | 0 | 1 | 0 | 1 | |||
ФИЛИАЛ ПАО "ОАК" - НАЗ ИМ.В.П. ЧКАЛОВА (RA.RU.310524) | 51 | 23 | 0 | 51 | 0 | 51 | 0 | 51 | ||
АО "ОБУХОВСКИЙ ЗАВОД" (1513) | 5 | 0 | 5 | 0 | 0 | 0 | 0 | |||
ФБУ "ТЕСТ-С.-ПЕТЕРБУРГ" (RA.RU.311501) | 42 | 16 | 0 | 42 | 0 | 39 | 0 | 39 | ||
ФБУ "СЕВЕРО-КАВКАЗСКИЙ ЦСМ" (RA.RU.311311) | 1 | 0 | 1 | 0 | 1 | 0 | 1 | |||
ФБУ "ПРИОКСКИЙ ЦСМ" (RA.RU.311265) | 26 | 8 | 0 | 26 | 0 | 26 | 0 | 26 |
Стоимость поверки Кронциркули индикаторные (824, 825)
Организация, регион | Стоимость, руб | Средняя стоимость |
---|---|---|
ФБУ Ивановский ЦСМ Ивановская область |
266 | 1267 |
ФБУ НИЦ ПМ-Ростест Москва |
479 | 1267 |
ФБУ НИЦ ПМ-Ростест Москва |
1300 | 1267 |
ФБУ Краснодарский ЦСМ Краснодарский край |
324 | 1267 |
ФБУ Красноярский ЦСМ Красноярский край |
885 | 1267 |
Знак утверждения типа
Знак утверждения типананосится на футляр кронциркулей методом наклейки и на титульном листе паспорта типографским методом.
Сведения о методиках измерений
Сведения о методиках (методах) измерений
приведены в эксплуатационных документах.
Нормативные и технические документы
Нормативные и технические документы, устанавливающие требования к кронциркулям индикаторным серий 824, 825ГОСТ Р 8.763-2011 «ГСИ. Государственная поверочная схема для средств измерений длины в диапазоне от 1 • 10-9 до 50 м и длин волн в диапазоне от 0,2 до 50 мкм».
Техническая документация фирмы-изготовителя.
Поверка
Поверкаосуществляется по документу МП 64218-16 «Кронциркули индикаторные серий 824, 825. Методика поверки», утвержденному ФГУП «ВНИИМС» 18 марта 2016 г.
Основные средства поверки:
-
- меры длины концевые плоскопараллельные класса точности 3 по ГОСТ 9038-90;
-
- набор принадлежностей к плоскопараллельным концевым мерам длины по ГОСТ 4119-76.
Допускается применять не указанные в перечне средства измерений, обеспечивающие определение (контроль) метрологических характеристик с требуемой точностью.
Знак поверки в виде оттиска клейма поверителя и/или в виде голографической наклейки наносятся на свидетельство о поверке.
Изготовитель
Фирма Harbin Measuring & Cutting Tool Group Co., Ltd., КНР
Адрес: 1500040, 44, Heping Road Harbin China
Телефон: 86-0451-86792688
Заявитель
ООО «Линкс-Раша»
ИНН 4345313234
Адрес: 610004 г. Киров, Химический пер., д. 1
Телефон: (8332)-21-68-88, телефон/факс: (8332)-21-66-88
Адрес электронной почты: info@links-russia.ru
Испытательный центр
Федеральное государственное унитарное предприятие «Всероссийский научноисследовательский институт метрологической службы» (ФГУП «ВНИИМС»)
Адрес: 119361, г. Москва, ул. Озерная, д.46
Тел./факс: (495)437-55-77 / 437-56-66
E-mail: office@vniims.ru, www.vniims.ru
Принцип работы кронциркулей основан на преобразовании линейных перемещений измерительных лапок в угловые перемещения стрелок относительно их шкал.
Конструктивно кронциркули состоят из корпуса, в котором установлены индикатор часового типа, измерительные лапки для наружных измерений (серия 824, рис. 1) или для внутренних измерений (серия 825, рис. 2), рычаг для отвода измерительных лапок.
Кронциркули имеют круглую индикаторную шкалу и устанавливаются на ноль путем ее вращения.
Пломбирование корпуса кронциркулей не предусмотрено.

Рисунок 1 - Общий вид кронциркулей индикаторных серии 824

Рисунок 2 - Общий вид кронциркулей индикаторных серии 825

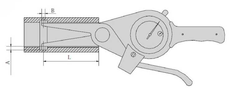
Рисунок 3 - Эскиз кронциркулей индикаторных серии 824 с обозначением основных размеров
Таблица 1 - Основные метрологические и технические характеристики кронциркулей
индикаторных серии 824
Диапазон измерений, мм |
Цена деления шкалы, мм |
Пределы допускаемой абсолютной погрешности, мм |
Длина измерительного наконечника A, мм |
Диаметр измерительного наконечника B, мм |
Вылет L, мм, не менее |
От 0 до 20 |
0,01 |
±0,04 |
6 |
3,0 |
60 |
От 20 до 40 |
0,01 |
±0,04 |
6 |
3,0 |
60 |
От 40 до 60 |
0,01 |
±0,04 |
6 |
3,0 |
55 |
От 60 до 80 |
0,01 |
±0,04 |
6 |
3,0 |
55 |
От 80 до 100 |
0,01 |
±0,04 |
6 |
3,0 |
55 |
От 100 до 120 |
0,01 |
±0,04 |
10 |
3,2 |
95 |
От 120 до 140 |
0,01 |
±0,04 |
10 |
3,2 |
95 |
От 140 до 160 |
0,01 |
±0,04 |
10 |
3,2 |
95 |
От 160 до 180 |
0,01 |
±0,04 |
10 |
3,2 |
95 |
От 180 до 200 |
0,01 |
±0,04 |
10 |
3,2 |
95 |

Ъ7777г
'//////////////7//Л
Рисунок 4 - Эскиз кронциркулей индикаторных серии 825 с обозначением основных размеров
Таблица 2 - Основные метрологические и технические характеристики кронциркулей индикаторных серии 825
Диапазон измерений, мм |
Цена деления шкалы, мм |
Пределы допускаемой абсолютной погрешности, мм |
Длина измерительного наконечника A, мм |
Диаметр измерительного наконечника B, мм |
Вылет L, мм, не менее |
От 15 до 35 |
0,01 |
±0,04 |
3 |
3,0 |
50 |
От 35 до 55 |
0,01 |
±0,04 |
6 |
3,0 |
80 |
От 55 до 75 |
0,01 |
±0,04 |
8 |
3,0 |
90 |
От 75 до 95 |
0,01 |
±0,04 |
8 |
3,0 |
100 |
От 95 до 115 |
0,01 |
±0,04 |
10 |
3,2 |
150 |
От 115 до 135 |
0,01 |
±0,04 |
10 |
3,2 |
150 |
От 135 до 155 |
0,01 |
±0,04 |
10 |
3,2 |
200 |
От 155 до 175 |
0,01 |
±0,04 |
10 |
3,2 |
200 |
От 175 до 195 |
0,01 |
±0,04 |
10 |
3,2 |
200 |
От 195 до 215 |
0,01 |
±0,04 |
10 |
3,2 |
200 |
Таблица 3 - Габаритные размеры и масса кронциркулей серии 824
Диапазон измерений, мм |
Габаритные размеры, мм, не более |
Масса, кг, не более | ||
длина |
ширина |
высота | ||
От 0 до 20 |
274 |
107 |
25 |
0,47 |
От 20 до 40 |
282 |
107 |
25 |
0,48 |
От 40 до 60 |
283 |
111 |
25 |
0,49 |
От 60 до 80 |
285 |
113 |
25 |
0,49 |
От 80 до 100 |
285 |
112 |
25 |
0,50 |
От 100 до 120 |
352 |
153 |
25 |
0,62 |
От 120 до 140 |
357 |
172 |
25 |
0,64 |
От 140 до 160 |
355 |
192 |
25 |
0,64 |
От 160 до 180 |
356 |
212 |
33 |
0,71 |
От 180 до 200 |
366 |
232 |
33 |
0,75 |
Таблица 4 - Габаритные размеры и масса кронциркулей серии 825_____________________
Диапазон измерений, мм |
Г абаритные размеры, мм, не более |
Масса, кг, не более | ||
длина |
ширина |
высота | ||
От 15 до 35 |
270 |
110 |
25 |
0,44 |
От 35 до 55 |
270 |
110 |
25 |
0,46 |
От 55 до 75 |
270 |
110 |
25 |
0,47 |
От 75 до 95 |
270 |
110 |
25 |
0,48 |
От 95 до 115 |
300 |
120 |
32 |
0,59 |
От 115 до 135 |
300 |
137 |
32 |
0,60 |
От 135 до 155 |
380 |
158 |
32 |
0,66 |
От 155 до 175 |
380 |
177 |
33 |
0,74 |
От 175 до 195 |
380 |
197 |
33 |
078 |
От 195 до 215 |
380 |
217 |
33 |
0,81 |
Размах показаний, мм, не более 0,01.
Измерительное усилие, Н от 2 до 4.
Параметр шероховатости измерительной поверхности наконечника Ra, мкм, не более 0,1. Диапазон рабочих температур, °С от плюс 15 до плюс 25.
Относительная влажность воздуха, %, не более 80.