Номер по Госреестру СИ: 37366-08
37366-08 Калибраторы температуры сухоблочные
(КС)
Назначение средства измерений:
Калибраторы температуры сухоблочные КС (далее - калибраторы) предназначены для поверки и калибровки различных средств измерения температуры (термометров сопротивления, термоэлектрических преобразователей, цифровых термометров и др.) в лабораторных и промышленных условиях.

Внешний вид.
Калибраторы температуры сухоблочные
Рисунок № 1

Внешний вид.
Калибраторы температуры сухоблочные
Рисунок № 2

Внешний вид.
Калибраторы температуры сухоблочные
Рисунок № 3
Программное обеспечение
Программное обеспечение калибратора включает встроенное программное обеспечение микроконтроллера калибратора и СПО «Калибратор», выполняемое на внешней ЭВМ.
Встроенное программное обеспечение расположено в памяти программ микроконтроллера, имеющей программно-аппаратную блокировку считывания и модификации содержимого. Встроенное программное обеспечение имеет уровень защиты «А» по МИ 3286-2010.
СПО «Калибратор» разделено на метрологически значимую и метрологически незначимую части в соответствии с ГОСТ Р 8.654.
В функции метрологически значимой части СПО входит:
- ввод параметров термометра с индивидуальной градуировкой;
- калибровка регулятора температуры;
- калибровка измерительного модуля калибратора;
- калибровка верхнего нагревателя (для КС 600-1);
- восстановление заводских (исходных) значений параметров термометра с индивидуальной градуировкой;
Уровень защиты метрологически значимой части СПО от непреднамеренных и преднамеренных изменений - «В» в соответствии с МИ 3286-2010. Защита метрологически значимых функций СПО осуществляется при помощи пароля.
Идентификационные данные метрологически значимой части программного обеспечения приведены в таблице 1:
Таблица 1
|
Наименование программного обеспечения |
Идентификационное наименование программного обеспечения |
Номер версии (идентификационный номер) программного обеспечения |
Цифровой идентификатор программного обеспечения (контрольная сумма исполняемого кода) |
Алгоритм вычисления цифрового идентификатора программного обеспечения |
|
Встроенное ПО КС |
не присвоено |
не присвоена |
исполняемый код недоступен |
- |
|
«Калибратор» |
Calibrator_teh.exe |
не присвоена 1.11) |
ce8e36adb9a94f6481f6 3ef9d5b04cff |
MD5 (RFC1321) |
1)Возможно использование более поздних версий
Знак утверждения типа
Знак утверждения типананосится на эксплуатационную документацию типографским способом и на лицевую панель калибратора методом шелкографии. Место нанесения знака утверждения типа указано на рисунке 2.
Сведения о методиках измерений
Сведения о методиках (методах) измерений приведены в эксплуатационном документе.
Нормативные и технические документы
Нормативные и технические документы, устанавливающие требования к калибраторам температуры сухоблочным КС
ГОСТ 8.558-2009 ГСИ. Государственная поверочная схема для средств измерений температуры.
ГОСТ Р 52931-2008 «Приборы контроля и регулирования технологических процессов. Общие технические условия».
ТУ4381-005-02566540-2007 Калибраторы температуры сухоблочные КС. Технические условия
Поверка
Поверкаосуществляется по документу МП 07-221-2008 «ГСИ. Калибраторы температуры сухоблочные КС. Методика поверки», утвержденному ФГУП «УНИИМ» в феврале 2008 г.
Основные средства поверки:
- вольтметр универсальный В7-54/3. Диапазон (0 - 2) кОм, пределы допускаемой основной погрешности ±(0,00004-R+0,003) Ом, где R - значение измеряемого сопротивления, Ом;
-
- меры сопротивления МС3005, номинальные значения 10, 100, 1000 Ом, пределы допускаемой основной погрешности +0,0003% (3 шт.);
-
- магазин сопротивления Р4831. Диапазон (0,001-110000) Ом. Класс точности. 0,02/2*10-6 (2 шт.);
-
- компаратор напряжения Р3003. Диапазон (0 - 300) мВ, пределы допускаемой основной погрешности ±(5-U+0,1) мкВ, где U - значение воспроизводимого напряжения, В;
-
- калибратор программируемый П320. Диапазон (0 - 100) мА, пределы допускаемой основной погрешности ±(0,1-1+1) мкА, где I - значение калиброванного тока, мА;
-
- мера напряжения МН-3. Номинальное напряжение l,0l8 В, доверительная граница относительной погрешности не более 3,5-10-6 (Р=0,99);
-
- эталонный термометр сопротивления 3-го разряда ЭТС-100. Диапазон от 0 до 660 оС, доверительная погрешность не более ±0,02 оС при 0,01 оС; ±0,04 оС при 231,9 оС; ±0,07 оС при 419,5 оС; ±0,15 оС при 660,3 оС;
-
- эталонный термометр сопротивления 3-го разряда ЭТС-100. Диапазон от минус 196 до 0 оС, доверительная погрешность не более ±0,05 оС при -196 оС; ±0,02 оС при 0,01 оС.
Допускается применение аналогичных средств поверки, обеспечивающих определение метрологических характеристик поверяемых СИ с требуемой точностью.
Знак поверки наносится на свидетельство о поверке в виде оттиска поверительного клейма и (или) саморазрушающейся голографической наклейки со штрихкодом.
Изготовитель
Акционерное общество «Научно-производственное предприятие «Эталон» (АО «НПП «Эталон»)ИНН 5504087401
Адрес: 644009, Омская обл., г. Омск, ул. Лермонтова, 175
Телефон (факс): +7 (3812) 36-84-00; 36-78-82
Web-сайт: http://omsketalon.ru
E-mail: fgup@omsketalon.ru
Испытательный центр
ГЦИ СИ Федеральное государственное унитарное предприятие «Уральский научноисследовательский институт метрологии» (ГЦИ СИ ФГУП «УНИИМ»)
Адрес: 620075, Свердловская обл., г. Екатеринбург, ул. Красноармейская, 4
Телефон (факс): +7 (343) 271-271-3; 350-20-39
Web-сайт: https://uniim.ru
E-mail: uniim@uniim.ru
Принцип действия калибратора основан на воспроизведении и поддержании заданной температуры в металлическом выравнивающем блоке с помощью элементов Пельтье или резистивных элементов, измерении сигнала поверяемого (калибруемого) средства измерения температуры и выводе его на дисплей.
Калибратор обеспечивает измерение и преобразование входных сигналов в виде напряжения и сопротивления, в том числе поступающих от термоэлектрических преобразователей и термометров сопротивления.
Калибраторы выпускаются в двух исполнениях, отличающихся диапазоном воспроизводимых температур:
-
- КС 100-1 с диапазоном от минус 10 °C до +100 °C;
-
- КС 600-1 с диапазоном от +50 °С до +600 °С.
Конструктивно калибратор состоит из следующих блоков и узлов, расположенных в одном корпусе: тепловая башня, узел управления, узел регулирования, узел измерения, узлы питания (3 шт.), индикатор, узел защиты. Термопреобразователь сопротивления с индивидуальной градуировкой (далее - ТСИ) и устройство компенсации подключаются к соответствующим разъемам на корпусе калибратора.
Тепловая башня расположена в задней части калибратора в защищенном отсеке, внутри тепловой башни помещен нагревательный блок с колодцем для сменных выравнивающих блоков, входящих в комплект поставки.
Нагрев и охлаждение нагревательного блока в калибраторе КС 100-1 осуществляется двумя термоэлектрическими модулями (ТОМ) на элементах Пельтье, которые одной стороной крепятся на внешнюю поверхность нагревательного блока. К обратной стороне каждого ТОМ крепится радиатор для отвода тепла с поверхности ТОМ. В качестве датчика обратной связи в калибраторе КС 100-1 используется платиновый термопреобразователь сопротивления 100 П класса допуска А.
Нагрев нагревательного блока в калибраторе КС 600-1 осуществляется двумя нагревателями: основным и защитным, обеспечивающими равномерность теплового поля в рабочей зоне.
Для управления каждым нагревателем используется свой независимый датчик температуры. Датчик обратной связи основного нагревателя расположен внутри нагревательного блока вблизи от основного нагревателя. В качестве датчика обратной связи используется термопреобразователь сопротивления 100 П класса допуска А. В качестве датчика обратной связи защитного нагревателя используется дифференциальная термопара хромель-алюмель.
Выравнивающий блок устанавливают в колодец нагревательного блока. ТСИ и поверяемое средства измерения помещают в колодцы выравнивающего блока.
Узел регулирования осуществляет управление термоэлектрическими охлаждающими модулями или нагревателями.
Обработку сигналов с ТСИ и поверяемого средства измерения осуществляет узел измерения.
Данные с узла регулирования и узла измерения поступают на узел управления, который выводит на индикатор значения о температуре с ТСИ, поверяемого средства измерения, датчика обратной связи, и осуществляет связь с ЭВМ.
Узел защиты предназначен для аварийного отключения нагрева при превышении значения температуры нагревательного блока выше критического.
Внешний термопреобразователь сопротивления с индивидуальной градуировкой (ТСИ) предназначен для измерения температуры в выравнивающем блоке при проведении поверки (калибровки) методом сличения.
Устройство компенсации предназначено для подключения термоэлектрических преобразователей при измерении температуры в режиме с автоматической компенсацией температуры свободных концов.
В устройстве компенсации имеется встроенный датчик температуры свободных концов термоэлектрических преобразователей.
Калибратор обеспечивает связь с ЭВМ по интерфейсу RS-232.
Калибратор имеет вид климатического исполнения УХЛ 4.1 по ГОСТ 15150-69.
Рисунок 1 - Внешний вид калибратора КС 100-1


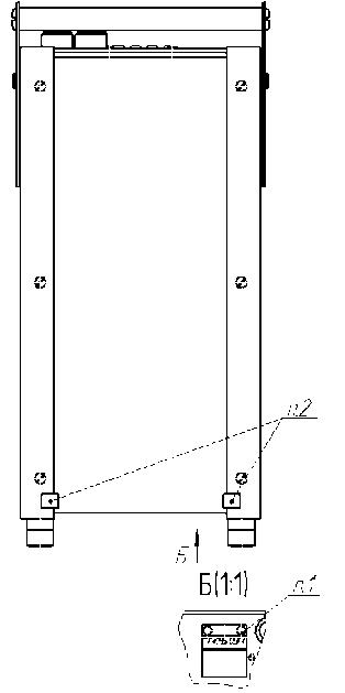
Рисунок 2 - Места размещения пломб и нанесения знака утверждения типа
п.1 Место установки пломбы для защиты от несанкционированной калибровки прибора; п.2 Место установки пломбы для защиты от несанкционированного доступа;
п.3 Место нанесения знака утверждения типа.
Таблица 3
|
Наименование изделия |
Обозначение |
К-во |
Исполнение: | |
|
КС 100-1 |
КС 600-1 | |||
|
1 |
2 |
3 |
4 |
5 |
|
Калибратор температуры сухоблочный КС |
ДДШ 2.998.016 ДДШ 2.998.017 |
1 шт. 1 шт. |
+ |
+ |
|
Термометр сопротивления с индивидуальной градуировкой ТСП0307 |
ДДШ2.822.198 |
1 шт. |
+ |
+ |
|
Устройство компенсации УК-5 |
ДДШ2.821.200 |
1 шт. |
+ |
+ |
|
Кабель сетевой |
SCZ-1, 220 В, 10 А |
1 шт. |
+ |
+ |
|
Кабель интерфейсный |
ДДШ6.644.079 |
1 шт. |
+ |
+ |
|
Сменный выравнивающий блок с отверстиями диаметром 4,5 мм (2 отв.), 5,3 мм (2 отв.), 5,8 мм (1 отв.), 6,5 мм (2 отв.), 8,5 мм (1 отв.), 10,5 мм (1 отв.) |
ДДШ8.236.029 |
1 шт. |
- |
+ |
|
Сменный выравнивающий блок с отверстиями диаметром 4,5 мм (1 отв.), 5,3 мм (2 отв.), 6,5 мм (2 отв.) |
ДДШ8.236.032 |
1 шт. |
+ |
- |
|
Блок выравнивающий (заготовка)* |
ДДШ8.236.028 |
2 шт. |
- |
+ |
|
Блок выравнивающий (заготовка)* |
ДДШ8.236.031 |
2 шт. |
+ |
- |
|
Сменный экран |
ДДШ8.634.102 |
1 шт. |
- |
+ |
|
Сменный экран |
ДДШ8.634.101 |
2 шт. |
- |
+ |
|
1 |
2 |
3 |
4 |
5 |
|
Съемник для извлечения выравнивающих блоков |
ДДШ6.894.001 |
1 шт. |
+ |
+ |
|
Розетка РС4ТВ с кожухом |
АВ0.364.047 ТУ |
1 шт. |
+ |
+ |
|
Вилка РС4ТВ |
АВ0.364.047 ТУ |
1 шт. |
+ |
+ |
|
Вилка |
743402-15 |
4 шт |
+ |
+ |
|
Программное обеспечение |
643.02566540.00003-01 |
1 шт. |
+ |
+ |
|
Паспорт |
ДДШ 2.998.016 ПС |
1 экз. |
+ |
+ |
|
Руководство по эксплуатации |
ДДШ 2.998.016 РЭ |
1 экз. |
+ |
+ |
|
Методика поверки |
МП 07 -221-2008 |
1 экз. |
+ |
+ |
Таблица 2 - Метрологические характеристики
|
Наименование характеристики |
Значение |
|
Диапазон воспроизведений температуры, °С, для калибратора:
|
от -10* до +100 от +50 до +600 |
|
Пределы допускаемой абсолютной погрешности воспроизведений температуры, °С:
|
±(0,1+1-10-3-|t|) ±(0,05+6-10-4-|t|) |
|
Нестабильность поддержания температуры в течение 30 мин, °C, не более |
±(0,02+1-10-4-|t|) |
|
Горизонтальный перепад температур между колодцами выравнивающего блока, °С, не более |
±(0,03+4-10-4-|t|) |
|
Вертикальный перепад температур в изотермической рабочей зоне (от 0 до 40) мм от дна колодца выравнивающего блока, °С, не более |
±(0,03+4-10-4-|t|) |
|
Глубина погружения в рабочее пространство, мм, не более, для калибратора:
|
O> 00 о о |
|
Диапазоны измерений (преобразований) входного сигнала и пределы допускаемой абсолютной погрешности измерений входного сигнала |
приведены в таблице 3 |
|
Время выхода на режим стабилизации температуры, мин, не более |
45 |
|
Примечания:
| |
Таблица 3 - Диапазоны измерений (преобразований) входного сигнала и пределы допускаемой абсолютной погрешности измерений входного сигнала
|
Входной сигнал |
Диапазон измерений (преобразований) |
Пределы допускаемой абсолютной погрешности измерений входного сигнала | |
|
ТЭДС термоэлектрического преобразователя по ГОСТ Р 8.585-2001 в режиме измерения без автоматической компенсации свободных концов |
nn(S) |
от 0 до +1760 °С |
±0,4 °С |
|
ХА(К) |
от -200 до +1300°С |
±0,2 °С | |
|
XK(L) |
от -200 до +800 °С |
±0,2 °С | |
|
ТЭДС термоэлектрического преобразователя по ГОСТ Р 8.585-2001 в режиме измерения с автоматической компенсацией свободных концов |
nn(S) |
от 0 до +1760 °С |
±0,8 °С |
|
ХА(К) |
от 0 до +1300 °С |
±0,6 °С | |
|
XK(L) |
от 0 до +800 °С |
±0,6 °С | |
|
Сопротивление термометра сопротивления по ГОСТ Р 8.625-2006 |
Wioo=1,428: 50М, 100М |
от -50 до +200 °С |
±(1,5'10'2+ +2,5-10'4-|t| ) °С |
|
W100=1,391: 10П, 50П, 100П, 500П, 1000П |
от -200 до +660 °С | ||
|
W100=1,385: 50П, 100П, 500П, 1000П |
от -200 до +660 °С | ||
|
Напряжение постоянного тока |
от -300 до +300 мВ |
±(3-10'3+4,5-10'5- •|U|) мВ | |
|
Сопротивление постоянному току |
от 0 до 30 Ом |
±(5-10'4+2,5-10'4- •|R-10|) Ом | |
|
от 0 до 300 Ом |
±(5Н0'3+2,540'4^ •|R-100|) Ом | ||
|
от 0 до 3000 Ом |
±(5Н0'2+2,540'4^ •|R-1000|) Ом | ||
|
Примечание - t, U, R - Измеряемые значения температуры, напряжения и сопротивления соответственно в °С, мВ, Ом. | |||
Таблица 4 - Основные технические характеристики
|
Наименование характеристики |
Значение |
|
1 |
2 |
|
Параметры электрического питания: | |
|
- напряжение переменного тока, В |
от 198 до 242 |
|
- частота переменного тока, Гц |
от 49 до 51 |
|
Потребляемая мощность, ВА, не более, для калибратора: | |
|
- КС 100-1 |
200 |
|
- КС 600-1 |
3000 |
|
1 |
2 |
|
Габаритные размеры, мм, не более: | |
|
- длина |
450 |
|
- ширина |
250 |
|
- высота |
450 |
|
Масса, кг, не более, для калибратора: | |
|
- КС 100-1 |
20 |
|
- КС 600-1 |
25 |
|
Условия эксплуатации: | |
|
- температура окружающего воздуха, °С |
от +15 до +25 |
|
- относительная влажность, %, не более |
80 |
|
- атмосферное давление, кПа |
от 84,0 до 106,7 |
|
Средний срок службы, лет |
5 |
|
Средняя наработка на отказ, ч, для калибратора: | |
|
- КС 100-1 при температуре в рабочей камере 0 °С |
2000 |
|
- КС 600-1 при температуре в рабочей камере +600 °С |
2000 |

