Методика поверки «Устройства измерения тока и напряжения в высоковольтной сети I-TOR-110S» (МП206.1.-045-2018)
УТВЕРЖДАЮ
Заместитель директора ФГУП «ВНИИМС»

Методика поверки
МП 206.1-045-2018
г. Москва 2018
Настоящая методика поверки распространяется на устройства измерения тока и напряжения в высоковольтной сети I-TOR-110S (далее - устройства), изготавливаемые ООО «АЙТОР», г. Екатеринбург, и устанавливает методы и средства их первичной и периодической поверки.
На поверку представляются устройства, укомплектованные в соответствии с паспортом, и комплект следующей технической и нормативной документации:
-
- паспорт;
-
- руководство по эксплуатации;
-
- методика поверки.
Интервал между поверками - 8 лет.
Периодическая поверка устройств в случае их использования для измерений меньшего числа величин или на меньшем числе поддиапазонов измерений, по отношению к указанным в разделе «Метрологические и технические характеристики» Описания типа, допускается на основании письменного заявления владельца устройств, оформленного в произвольной форме. Соответствующая запись должна быть сделана в свидетельстве о поверке на устройства.
1 НОРМАТИВНЫЕ ССЫЛКИРМГ 51-2002 «ГСИ. Документы на методики поверки средств измерений. Основные положения»;
Порядок проведения поверки средств измерений, требования к знаку поверки и содержанию свидетельства о поверке, утвержден Приказом Минпромторга России от 02.07.2015 г. № 1815;
ПР 50.2.012-94 «ГСИ. Порядок аттестации поверителей средств измерений»;
ГОСТ 32144-2013 «Электрическая энергия. Совместимость технических средств электромагнитная. Нормы качества электрической энергии в системах электроснабжения общего назначения»;
ГОСТ Р 8.736-2011 «ГСИ. Измерения прямые многократные. Методы обработки результатов измерений. Основные положения»;
ГОСТ 12.3.019-80 «Система стандартов безопасности труда. Системы вентиляционные. Методы аэродинамических испытаний»;
ГОСТ 12.2.007.0-75 «Система стандартов безопасности труда. Изделия электротехнические. Общие требования безопасности»;
«Правила по охране труда при эксплуатации электроустановок» 04.08.2014 г.;
«Правила эксплуатации электроустановок потребителей», утвержденных Г лавгосэнергонадзором.
2 ОПЕРАЦИИ ПОВЕРКИ-
2.1 Поверка проводится в объеме и в последовательности, указанной в таблице 1.
Таблица 1 - Перечень операций при первичной и периодической поверке устройства
Наименование операции |
Номер пункта МП |
Проведение операции | |
первичная поверка |
периодическая поверка | ||
1 Подготовка к поверке |
8 |
Да |
Да |
2 Внешний осмотр |
9.1 |
Да |
Да |
3 Проверка электрического сопротивления изоляции компонента измерительного |
9.2 |
Да |
Да |
4 Опробование 4.1 Проверка преобразования тока |
9.3.1 |
Да |
Да |
4.2 Проверка преобразования напряжения |
9.3.2 |
Да |
Да |
4.3 Проверка работоспособности сигнализации |
9.3.3 |
Да |
Да |
Наименование операции |
Номер пункта МП |
Проведение операции | |
первичная поверка |
периодическая поверка | ||
5 Определение метрологических характеристик: 5.1 Проверка правильности обозначения контактных |
9.4.1 |
Да |
Нет |
зажимов и выводов канала измерения тока 5.2 Определение погрешности преобразования тока |
9.4.2 |
Да |
Да |
5.3 Проверка правильности обозначения контактных |
9.4.3 |
Да |
Нет |
зажимов и выводов канала измерения напряжения 5.4 Определение погрешности преобразования |
9.4.4 |
Да |
Да |
напряжения |
-
3.1 При проведении поверки устройства должны применяться основные и вспомогательные средства, указанные в таблице 2.
Таблица 2 - Основные и вспомогательные средства поверки
Наименование |
Требуемые технические характеристики |
Рекомен-дуемый тип |
Количество |
Номер пункта методики поверки | |
Диапазон измерения |
Погрешность или класс точности | ||||
1 |
2 |
3 |
4 |
5 |
6 |
Мегаомметр |
2,5 кВ до 1000 МОм |
кл.т. 1,5 |
Ф4102/2-М |
1 | |
Трансформатор тока эталонный |
от 0,5 до 3000 А |
кл.т. 0,05 |
ИТТ 3000.5 |
1 | |
Делитель напряжения составной (для поверки кл.т. 0,2) |
ИОЛ/ЗкВ |
±0,05 %; ±2 мин. |
ДН-160пт/2 |
1 | |
Делитель напряжения составной (для поверки кл.т. 0,5) |
110/^3 кВ |
±0,1 %; ±5 мин. |
ДН-160пт/2 |
1 | |
Прибор сравнения |
±3,0 %; ±20 мин. |
±0,05 %; ±1 мин. |
КНТ-05 |
1 | |
Магазин нагрузок трансформаторов напряжения |
2,5 В А |
±4% |
МР3025 |
1 | |
Магазин нагрузок трансформаторов тока |
2,5 В А |
±4% |
МР3027 |
1 |
-
3.2 Для проведения поверки допускается применение других средств, не приведенных в таблице 2, при условии обеспечения ими необходимой точности измерений.
-
3.3 Контрольно-измерительная аппаратура и средства поверки, применяемые при поверке, должны обеспечивать требуемую точность и иметь действующие свидетельства о поверке, калибровке или аттестаты.
-
4.1 К проведению поверки допускают поверителей из числа сотрудников организаций, аккредитованных на право проведения поверки в соответствии с действующим законодательством РФ, изучивших настоящую методику поверки и руководство пользовате-ля/руководство по эксплуатации или паспорт на устройства, имеющих стаж работы по данному виду измерений не менее 1 года.
-
4.2 Поверитель должен пройти инструктаж по технике безопасности и иметь действующее удостоверение на право проведения работ в электроустановках с квалификационной группой по электробезопасности не ниже III.
-
4.3 При проведении периодической поверки на месте эксплуатации устройств должны присутствовать работники объекта, на котором размещены поверяемые устройства, имеющие опыт работы и право на подключение и отключение эталонных и поверяемых средств измерений в соответствии со схемой поверки.
При проведении поверки должны соблюдаться требования ГОСТ 12.2.007.0-75, ГОСТ 12.3.019-80, «Правила по охране труда при эксплуатации электроустановок», «Правил эксплуатации электроустановок потребителей», утвержденных Главгосэнергонадзором.
Должны быть также обеспечены требования безопасности, указанные в эксплуатационных документах на средства поверки.
Перед проведением операций поверки средства измерений, подлежащие заземлению, должны быть надежно заземлены. Подсоединение зажимов защитного заземления к контуру заземления должно быть произведено ранее других соединений, а отсоединение - после всех отсоединений.
Все отключения и включения высокого напряжения должны проводиться соответствующим персоналом высоковольтного зала или электроэнергетического объекта в соответствии с программой проведения работ, утвержденной в установленном порядке.
Перед производством любых переключений во вторичных цепях поверочной установки следует убедиться, что ток в первичной цепи отсутствует, а питание установки отключено. Отключение установки должно осуществляться коммутационным устройством до регулятора напряжения или непосредственно после него.
6 УСЛОВИЯ ПРОВЕДЕНИЯ ПОВЕРКИ-
6.1 Поверка преобразователей должна проводиться при нормальных условиях применения:
-
• температура окружающей среды, °C от +15 до +25;
-
• атмосферное давление, кПа от 84 до 106;
-
• относительная влажность воздуха, % от 30 до 80.
-
6.2 Напряжение питающей сети переменного тока частотой (50±0,5) Гц, действующее значение напряжения 220 В. Допускаемое отклонение от нормального значения при поверке ±22 В. Коэффициент искажения синусоидальности кривой напряжения не более 5 %. Остальные характеристики сети переменного тока должны соответствовать ГОСТ 32144-2013.
-
7.1 Средства поверки должны быть подготовлены к работе согласно указаниям, приведенным в соответствующих эксплуатационных документах.
-
7.2 До проведения поверки поверителю надлежит ознакомиться с эксплуатационной документацией на устройства и входящих в его комплект компонентов.
-
7.3 На первичную поверку следует представлять устройства с документом, подтверждающим проверку электрической прочности изоляции в полном объеме в соответствии с ГОСТ Р 55195-2012, прошедшие приемо-сдаточные испытания и принятые отделом технического контроля предприятия-изготовителя.
-
8 МЕТОДЫ ПОВЕРКИ
При проведении внешнего осмотра должно быть установлено соответствие поверяемого устройства следующим требованиям:
При внешнем осмотре должно быть установлено соответствие устройства следующим требованиям:
-
- контактные зажимы или выводы первичной и вторичной цепей должны быть исправными и иметь маркировку, соответствующую ГОСТ 7746-2015 и ГОСТ 1983-2015;
-
- отдельные части устройства должны быть прочно закреплены;
-
- болт для заземления, если он предусмотрен конструкцией, должен иметь обозначение в соответствии с требованиями ГОСТ 2.702-2011;
-
- наружные поверхности устройства не должны иметь дефектов изоляции, загрязнений;
-
- должна быть табличка с маркировкой по ГОСТ 7746-2015 и ГОСТ 1983-2015;
-
- должно быть предусмотрено место для клеймения и (или) пломбирования в соответствии с паспортом.
Результаты проведения внешнего осмотра считаются положительными, если устройство соответствует вышеперечисленным требованиям. Устройство с отрицательными результатами проверок по данному пункту к дальнейшей поверке не допускаются. По результатам осмотра необходимо сделать соответствующую запись в протоколе поверки, рекомендуемая форма которого представлена в Приложении А.
8.2 Проверка электрического сопротивления изоляции измерительного компонента-
8.2.1 Измерение сопротивления изоляции проводится между токоведущими и заземляемыми частями измерительного компонента устройства I-TOR-110S мегаомметром на испытательное напряжение 2500 В со временем испытаний, равном одной минуте.
-
8.2.2 Результаты измерений считаются удовлетворительными, если измеренное значение сопротивления находится в диапазоне от 340 до 380 МОм.
Устройства I-TOR-110S с отрицательными результатами проверки по данному пункту к дальнейшей поверке не допускаются. По результатам проверки необходимо сделать соответствующую запись в протоколе поверки.
8.3 Опробование-
8.3.1 Проверка преобразования тока
Проверка преобразования тока производится путем пропускания через компонент измерительный включенного устройства переменного тока промышленной частоты величиной 1, 5, 20, 100 и 120 % от номинального значения, при подключенной на выходе канала преобразования тока активной нагрузке, величиной 2,5 Ом (мощностью не менее 5 Вт). Схема проведения проверки приведена на рисунке 1.
Проверка считается успешной, если через нагрузку выхода преобразования по току, начинает протекать ток 0,01, 0,05, 0,2, 1,0 и 1,2 А соответственно.
-
8.3.2 Проверка преобразования напряжения
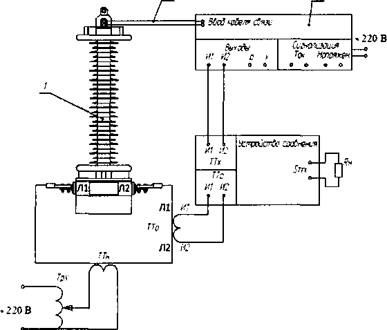
Проверка преобразования напряжения производится путем приложения к компоненту измерительному включенного устройства переменного напряжения промышленной частоты величиной 47,6, 63,5 и 76,2 кВ, при подключенной на выходе канала преобразования напряжения нагрузке величиной 1,34 кОм (мощностью не менее 5 Вт). Схема проведения проверки приведена на рисунке 2.
Проверка считается успешной, если на выходе канала преобразования напряжения появляется напряжение 43,3, 57,7 и 69,3 В соответственно.
3

Рисунок 1 - Схема проверки функционирования канала преобразования тока устройства I-TOR-110S
1 - компонент измерительный устройства I-TOR-110S; 2 - канал связи; 3 - блок обработки информации устройства I-TOR-11 OS; Трх - устройство плавного изменения напряжения (ЛАТР); ТТн - нагрузочный трансформатор тока; ТТо - измерительный трансформатор тока; А1 - амперметр для измерения тока в первичной цепи; А2 - амперметр для измерения тока на выходе; Rh - нагрузочное сопротивление, 2,5 Ом.

Рисунок 2 - Схема проверки функционирования канала преобразования напряжения устройства I-TOR-11 OS
1 - компонент измерительный устройства I-TOR-110S; 2 - канал связи; 3 - блок обработки информации устройства I-TOR-11 OS; Трх - устройство плавного изменения напряжения (ЛАТР); TVh - нагрузочный высоковольтный трансформатор; ТТо - измерительный трансформатор напряжения; VI - вольтметр для измерения напряжения в первичной цепи; V2 - вольтметр для измерения напряжения на выходе; Rh - нагрузочное сопротивление, 1,ЗкОм.
-
8.3.3 Проверка работоспособности сигнализации
Проверка работоспособности сигнализации производится одновременно с проверкой преобразования тока и напряжения. При проведении проверок по п. 8.3.1 и 8.3.2, сигнальные выходы блока обработки информации соединяются последовательно в цепь с источником постоянного тока с напряжением от 10 до 90 В, присоединенной нагрузкой и последовательно присоединенным амперметром. Величина нагрузки должна обеспечивать ток в цепи от 0,1 до 0,9 А. Во время проведения проверки при подаче тока или напряжения на компонент измерительный устройства, должен протекать соответствующий ток в цепи сигнализации (цепи сигнализации тока или напряжения), который контролируется амперметром.
При проверке вручную отсоедините кабель, соединяющий компонент измерительный устройства и блок обработки информации. Схема проведения проверки сигнализации для канала преобразования тока приведена на рисунке 3, для канала преобразования напряжения - на рисунке 4.
Проверка считается успешной, если при отсоединении кабеля, ток в соответствующей цепи сигнализации исчезает.

Рисунок 3 - Схема проверки функционирования сигнализации канала измерения тока устройства I-TOR-110S
1 - компонент измерительный устройства I-TOR-110S; 2 -канал связи; 3 - блок обработки информации устройства I-TOR-110S; 4 - блок питания постоянного тока с выходным напряжением до 90 В, выходным током до 1 А; Трх - устройство плавного изменения напряжения (ЛАТР); ТТн - нагрузочный трансформатор тока; ТТо - измерительный трансформатор тока; А1 - амперметр для измерения тока в первичной цепи; А2 - амперметр для регистрации тока в цепи сигнализации; Rh - нагрузочное сопротивление, рекомендуемое значение 100 Ом, мощностью не менее 100 Вт.

и| Иг lifer-.
• 220В

Рисунок 4 - Схема проверки функционирования сигнализации канала измерения напряжения устройства I-TOR-110S
1 - компонент измерительный устройства I-TOR-110S; 2 - инвентарный канал связи;
-
3 - блок обработки информации устройства I-TOR-11 OS; Трх - устройство плавного изменения напряжения (ЛАТР); TVh - нагрузочный высоковольтный трансформатор; ТТо - измерительный трансформатор напряжения; V - вольтметр для измерения напряжения в первичной цепи; А - амперметр для регистрации тока в цепи сигнализации; Rh - нагрузочное сопротивление, рекомендуемое значение 100 Ом, мощностью не менее 100 Вт.
-
8.3.4 Устройства с отрицательными результатами проверок по данному пункту к дальнейшей поверке не допускаются. По результатам опробования необходимо сделать соответствующую запись в протоколе поверки.
-
8.4 Определение метрологических характеристик
-
8.4.1.1 Проверку правильности обозначения контактных зажимов и выводов канала преобразования тока устройства I-TOR-110S проводят непосредственно перед операцией определения погрешности преобразования тока.
Для этого собирают схему, изображенную на рисунке 5.
-
8.4.1.2 Токовый канал устройства I-TOR-110 и эталонный трансформатор тока включают так, чтобы первичный ток в обоих устройствах протекал в одном направлении от начала к концу. Вторичные выводы эталонного трансформатора тока и токового канала устройства присоединяют к одноименным выводам прибора сравнения токов. Затем плавно увеличивают первичный ток до 5 % от его номинального значения.
-
8.4.1.3 В случае правильной маркировки выводов устройства на приборе сравнения токов можно определить соответствующие значения погрешностей поверяемого устройства.
При неправильном обозначении контактных зажимов и выводов или неисправности поверяемого устройства срабатывает защита в приборе сравнения токов.

Рисунок 5 - Схема проверки полярности и точности преобразования тока устройства I-TOR-110S
1 - компонент измерительный устройства; 2 - инвентарный канал связи; 3 - блок обработки информации устройства I-TOR-110S; Трх - устройство плавного изменения напряжения (ЛАТР); ТТн - нагрузочный трансформатор тока; ТТо - измерительный образцовый трансформатор тока; Rh - вторичная нагрузка канала преобразования тока
Устройства с отрицательными результатами проверок по данному пункту к дальнейшей поверке не допускаются. По результатам проверки необходимо сделать соответствующую запись в протоколе поверки.
8.4.2 Определение погрешностей преобразования тока-
8.4.2.1 Токовые и угловые погрешности устройства определяют дифференциальным (нулевым) методом по схеме, приведенной на рисунке 5 при значениях первичного тока и вторичной нагрузки, указанных в п. 8.4.2.3 настоящей методики.
-
8.4.2.2 Значение относительной токовой погрешности поверяемого устройства 8I,_TOR, %, и абсолютной угловой погрешности Д0/_гол, ...', принимают равными значениям токовой и угловой погрешностей, отсчитываемым по шкале прибора сравнения:
dIl-TOR= 31ПС ^01_TOR= ^0пс, (1)
81 &01
где ° пс и пс - соответственно, значения токовой и угловой погрешностей, отсчитываемые по шкале прибора сравнения токов.
-
9.4.2.3 Погрешности определяют при значениях первичного тока 1, 5, 20, 100 и 120 % от номинального значения и номинальной вторичной нагрузке, а также при значении первичного тока 120 % от номинального значения и вторичной нагрузке, равной 25 % от номинального значения.
Примечания:
-
1 Допускается заменять номинальную нагрузку на нагрузку, превышающую номинальную не более чем на 25%, и нагрузку, соответствующую нижнему пределу диапазона нагрузок - на любую нагрузку, не превышающую этого предела, вплоть до нулевого значения. Если при изменении нагрузки погрешности устройства I-TOR-110S превысят предельные допускаемые значения, проводят повторное определение погрешностей при нагрузках, равных номинальной и нижнему пределу диапазона нагрузок.
-
2 Погрешности устройства I-TOR-110S определяют при увеличении тока.
-
8.4.2.4 Устройство считают прошедшими поверку, если значения погрешностей, определенные при поверке, не превышают допускаемых погрешностей, соответствующих их классу точности, установленных ГОСТ 7746-2015 и представленных в таблице 3. Результаты всех измерений погрешностей заносят в протокол поверки.
Таблица 3 - Пределы допускаемых погрешностей канала измерения тока
Первичный ток, % от номинального |
Предел нагрузки, % от номинального |
Пределы допускаемой погрешности канала измерения тока | ||
токовая 81 , % |
угловая | |||
Для класса точности 0,2S | ||||
1 |
±0,75 |
±30' |
± 0,9 срад | |
5 |
±0,35 |
±15' |
± 0,45 срад | |
20 |
25-100 | |||
100 |
±0,2 |
± 10' |
± 0,3 срад | |
120 | ||||
Для класса точности 0,5 S | ||||
1 |
± 1,5 |
±90' |
± 2,7 срад | |
5 |
±0,75 |
±45' |
± 1,35 срад | |
20 |
25-100 | |||
100 |
±0,5 |
±30' |
± 0,9 срад | |
120 |
-
8.4.3.1 Проверка правильности обозначения контактных зажимов и выводов канала преобразования напряжения устройства I-TOR-110S проводят непосредственно перед операцией определения погрешностей преобразования напряжения.
Для этого собирают схему, изображенную на рисунке 6.

Рисунок 6 - Схема проверки полярности и точности измерения напряжения устройства I-TOR-110S
1 - компонент измерительный устройства I-TOR-110S; 2 -канал связи; 3 - блок обработки информации устройства I-TOR-110S; Трх - устройство плавного изменения напряжения (ЛАТР); TVh - нагрузочный высоковольтный трансформатор; ТТо - измерительный об-

-j №с>3 а&я ctex 1 | |
И ' !С 0 * | |
О О ? 9 |
« в ев |
220 В
С | |
Л-'л |
разцовый трансформатор напряжения; Rh - вторичная нагрузка канала преобразования напряжения
-
8.4.3.2 В случае правильной маркировки выводов на приборе сравнения напряжений можно определить соответствующие значения погрешностей канала измерения напряжения поверяемого устройства.
При неправильном обозначении контактных зажимов и выводов или неисправности поверяемого устройства срабатывает защита в приборе сравнения токов.
Устройство с отрицательными результатами проверок по данному пункту к дальнейшей поверке не допускаются. По результатам проверки необходимо сделать соответствующую запись в протоколе поверки.
8.4.4 Определение погрешностей преобразования напряжения-
8.4.4.1 Определение погрешностей преобразования напряжения устройства I-TOR-11 OS проводят его сличением с эталонным трансформатором напряжения посредством прибора сравнения по схеме, представленной на рисунке 6.
8.4.4.2. Погрешности преобразования напряжения устройства определяют:
-
- при значениях первичного напряжения, равных 80, 100 и 120 % от номинального значения по ГОСТ 1983-2015;
-
- при значениях полной мощности, отдаваемой поверяемым устройством в цепь нагрузки вторичных цепей, равных 0,25 Shom-(U1/U1hom)2 и Shom-(U1/U1hom)2 (при номинальном коэффициенте мощности), для каждого значения напряжения, где Shom - номинальное значение мощности канала напряжения устройства, В-А;
-
- при номинальном значении частоты поверяемого устройства.
-
8.4.4.3 Погрешности преобразования напряжения устройства определяют дважды: при увеличении и при уменьшении напряжения. Разность значений погрешностей при этом не должна превышать 0,1 от предела допускаемых погрешностей поверяемого устройства.
-
8.4.4.4 Поверку проводят в следующей последовательности:
-
- собирают схему согласно рисунку 6;
-
- эталонный трансформатор (делитель) напряжения подключают к прибору сравнения проводниками сопротивлением не более 0,06 Ом;
-
- устанавливают на нагрузочном устройстве поверяемого канала преобразования напряжения устройства значение мощности, равное 0,25'Shom;
-
- включают источник высокого напряжения, устанавливают на его выходе значения напряжений в соответствии с п. 8.4.4.2;
-
- высокое напряжение источника контролируют вольтметром, расположенном на приборе сравнения;
-
- проводят измерения прибором сравнения;
-
- устанавливают на нагрузочном устройстве поверяемого канала значение мощности нагрузки, равное Shom, и выполняют все указанные выше операции;
-
- вычисляют относительную погрешность напряжения канала измерения напряжения устройства I-TOR-110S 8Uj_T0R, %, и его абсолютную угловую погрешность Д0^год, ...', при учете значений погрешностей эталонного трансформатора по формулам:
8U,_TOR=8Unc+8U3m, (2)
Д^_год=Д^с + Д^т , (3)
Где:
СТ J
пс - отсчет по шкале погрешности коэффициента масштабного преобразования напряжения (погрешности напряжения) прибора сравнения, в процентах, полученный только при увеличении или только при уменьшении напряжения, или среднее арифметическое значение отсчетов, полученных при увеличении и уменьшении напряжения;
пс - отсчет по шкале погрешности угла фазового сдвига напряжения (угловой погрешности) прибора сравнения, в радианах (сантирадианах) или минутах, полученный только при увеличении или только при уменьшении напряжения, или среднее арифметическое значение отсчетов, полученных при увеличении и уменьшении напряжения;
зт - значение погрешности напряжения, в процентах, эталонного трансформатора напряжения, указанное в свидетельстве о его поверке;
ддУ
зт - значение угловой погрешности, в радианах (сантирадианах) или минутах, эталонного трансформатора напряжения, указанное в свидетельстве о его поверке.
-
8.4.4.5 Устройство считают прошедшими поверку, если значения погрешностей, определенные при поверке, не превышают допускаемых погрешностей, соответствующих их классу точности, установленных в ГОСТ 1983-2015 и приведенных в таблице 4. Результаты всех измерений погрешностей канала преобразования напряжения устройств I-TOR-110S заносят в протокол поверки.
Таблица 4 -
й канала
Напряжение: |
Нагрузка выхо-да преобразования, при cos ср= 0,8, В А |
Пределы допускаемой погрешности | ||||
% от номинального |
Первичное, кВ |
Вторичное, В |
напряжения 8U , % |
угловой Л0и | ||
Для класса точности 0,2 | ||||||
80 |
50,8 |
46,2 |
0 | |||
2,5 | ||||||
100 |
63,5 |
57,7 |
0 |
± 0,2 |
± 10' |
± 0,3 срад |
2,5 | ||||||
120 |
76,2 |
69,3 |
0 | |||
2,5 | ||||||
Для класса точности 0,5 | ||||||
80 |
50,8 |
46,2 |
0 | |||
2,5 | ||||||
100 |
63,5 |
57,7 |
0 |
±0,5 |
±20' |
± 0,6 срад |
2,5 | ||||||
120 |
76,2 |
69,3 |
0 | |||
2,5 |
-
9.1 Положительные результаты поверки оформляются свидетельством о поверке согласно требованиям нормативных документов (НД) Федерального агентства по техническому регулированию и метрологии.
-
9.2 Допускается вместо оформления свидетельства о поверке наносить подпись поверителя и оттиск поверительного клейма в паспорт в раздел «Поверка изделия в эксплуатации».
-
9.3 При отрицательных результатах свидетельство о поверке не выдается, ранее выданное свидетельство о поверке аннулируется, запись о поверке в паспорте на устройство гасится и выдается извещение о непригодности срглаенххгребованиям НД Федерального агентства по техническому регулированию и метрологии. )
Начальник отдела 206.1
ФГУП «ВНИИМС»
Научный сотрудник отдела 206.1
ФГУП «ВНИИМС»


Леонов А.В.
(обязательное)
ФОРМА ПРОТОКОЛА ПОВЕРКИ УСТРОЙСТВА I-TOR - 35
ПРОТОКОЛ ПОВЕРКИ №___от «_____»_________________20 г.
Устройство измерения тока и напряжения
I-TOR-35-___-_____/______-_____
Средство измерения (наименование, тип) Принадлежит
Заводской номер
Г од изготовления
Номинальные пара- |
11ном ~ |
А, |
метры по току |
12ном ~ |
А, |
Shom ~ |
ВА | |
Класс точности | ||
Номинальные пара- |
U1 НОМ ~ |
в, |
метры по напряже- |
U2hom ~ |
в, |
НИЮ |
Shom ~ |
ВА |
Класс точности_____
Эталонные средства измерений: Прибор сравнения:
-
• тип
-
• наименование
-
• заводской номер
-
• класс точности
-
• дата поверки Трансформатор тока:
-
• тип
-
• наименование
-
• заводской номер
-
• класс точности
-
• дата поверки Трансформатор напряжения:
-
• тип
-
• наименование
-
• заводской номер
-
• класс точности
-
• дата поверки
14