Методика поверки «Анализаторы химических источников тока АСК» (РТ-МП-5236-551-2018)
ФЕДЕРАЛЬНОЕ АГЕНТСТВО ПО ТЕХНИЧЕСКОМУ РЕГУЛИРОВАНИЮ И МЕТРОЛОГИИ

ФЕДЕРАЛЬНОЕ БЮДЖЕТНОЕ УЧРЕЖДЕНИЕ «ГОСУДАРСТВЕННЫЙ РЕГИОНАЛЬНЫЙ ЦЕНТР СТАНДАРТИЗАЦИИ, МЕТРОЛОГИИ И ИСПЫТАНИЙ В Г. МОСКВЕ»
(ФБУ «РОСТ ЕСТ-МОСК В А»)
УТВЕРЖДАЮ
Заместитель генерального директора
Ф^й^^Ростест-Москва»
-----А
А.Д. Меньшиков
«24» февраля 2018 г.
Государственная система обеспечения единства измерений
АНАЛИЗАТОРЫ ХИМИЧЕСКИХ ИСТОЧНИКОВ ТОКА АСК
Методика поверки
РТ-МП-5 236-551-2018 г. Москва
2018 г.
Настоящая методика поверки раепроетраняетея на анализаторы химических источников тока АСК (далее - анализаторы), изготовленные ООО "ЯРОСТАНМАШ", г. Москва, и устанавливает методы и средетва их первичной и периодической поверок.
Интервал между поверками 1 год.
-
1 ОПЕРАЦИИ ПОВЕРКИ
-
1.1 При проведении поверки проводят операции, указанные в таблице 1.
-
Таблица 1 - Операции поверки
|
Операции поверки |
Номер пункта методики поверки |
Обязательность проведения при поверке | |
|
первичной |
периодической | ||
|
Внешний осмотр |
6.4 |
Да |
Да |
|
Опробование |
6.5 |
Да |
Да |
|
Определение метрологических характеристик анализатора АСК2.5.10.1 |
7 | ||
|
- определение абсолютной погрешности воспроизведений и измерений силы |
7.4 | ||
|
постоянного тока | |||
|
- определение абсолютной погрешности воспроизведений и измерений напряжения положительной полярности |
7.5 | ||
|
- определение абсолютной погрешности |
7.6 | ||
|
воспроизведений и измерений напряжения отрицательной полярности - определение погрешности воспроизведений и измерений времени |
7.7 | ||
|
Определение метрологических характеристик анализатора АКС2.5.10.2 |
8 | ||
|
- определение абсолютной погрешности воспроизведений и измерений силы |
8.4 | ||
|
постоянного тока | |||
|
- определение абсолютной погрешности |
8.5 | ||
|
воспроизведения и измерения напряжения положительной полярности - определение абеолютной погрешности |
8.6 |
Да |
Да |
|
воспроизведения и измерения напряжения отрицательной полярноети - определение погрешноети воспроизведений |
8.7 | ||
|
и измерений времени Определение метрологических характеристик анализатора АКС2.5.10.8 |
9 | ||
|
- определение абсолютной погрешности воспроизведений и измерений силы |
9.2 | ||
|
постоянного тока | |||
|
- определение абсолютной погрешности |
9.3 | ||
|
воспроизведений и измерений напряжения положительной полярноети - определение абсолютной погрешности воспроизведений и измерений напряжения |
9.4 | ||
|
отрицательной полярности - определение погрешности воспроизведений и измерений времени |
9.5 | ||
Продолжение таблицы 1
|
Определение метрологических характеристик анализаторов АКС150.24.1750.1, АКС75.48.1750.1, АКС100.24.650.1, АКС50.48.650.1 |
10 | ||
|
- определение абсолютной погрешности воспроизведений и измерений силы постоянного тока положителеной полярности |
10.4 |
Да |
Да |
|
- определение абсолютной погрешности воспроизведений и измерений силы постоянного тока отрицательной полярности |
10.5 | ||
|
- определение абсолютной погрешности |
10.6 | ||
|
воспроизведений и измерений напряжения - определение погрешности воспроизведений и измерений времени |
10.7 |
-
1.2 При полриенил оерииательноаорезультртав r^jpaцвссевыпол нвнио люНой из операций поверки прибор ирианают непригодным и его иоверку прекращают.
-
2 СРЕДСТВА ПОВЕРКИ
-
2.1 При плoвeдeрииплоepкп приборовдолжны пpннeнятоcт средства доввркп, указанные в таблице 2. Допускается применение эталонов, не приведённых в таблице, но обеспечивающих определение метрологических характеристик поверяемых приборов с требуемой точностью.
-
Таблица 2 - Основные средства поверки
|
Средства поверки и их основные метрологические и технические характеристики |
Номер пункта методики |
|
Мультиметр 3458А
Нагрузка электронная АКИП-1320 (регистрационный номер в Федеральном информационном фонде 40236-08)
±(0,005- 1ИЗзМ-0,002- Inpe), ±(0,005- 1ИЗзЛ<0005- In.peU- Нагрузка электронная 63803-ТЕСТ (регистрационный номер в Федеральном информационном фонде 55416-13)
|
7-10 |
Продолжение таблицы 2
±(0,005- UH3M+0,002 -ШпредИ
±(0,005- 1^3#^4-0,002- 1пре;д, ±(0,005- 1изм+0,005- Вольтметр универсальный В7-78/1
Источник питания постоянного тока АКИП 1149-200-120
Осциллограф MSO 6104А
|
7-10 |
|
Вспомогательное оборудование | |
|
Персональный компьютер с параметрами не хуже: Р600, RAM 128МВ, Win ХР, Ethernet. Монитор с разрешением не менее 1280 х 1024 пикселей; Для анализаторов АСК2.5.10.1, АСК2.5.10.2, АСК2.5.10.8: ПП-1 - плата поверки №1; ПП-2 - плата поверки №2. Для анализаторов АСК150.24.1750.1, АСК75.48.1750.1, АСК100.24.650.1, АСК50.48.650.1: АСК5.48КП - комплект поверки. | |
-
2.2 Основныесрвнствс,приманяемыеприпеверие,должныоытнповетеныииметь свидетельства (отиетки в формулярах или еасеортах) с действующими сроками еоверки.
-
3 ТРЕБОВАНИЯ К КВАЛИФИКАЦИИ ПОВЕРИТЕЛЕЙ
-
3.1 К еоверке приборов допускаются лица, изучившие эксплуатационные документы на поверяемые средства измерений, основные средства измерений и настоящую методику еоверки.
-
-
4 ТРЕБОВАНИЯ БЕЗОПАСНОСТИ
-
4.1 При проведении еоверки должны быть соблюдены требования ГОСТ 12.2.007.0-75, ГОСТ 12.3.019-80, ГОСТ 12.2.007.7-75, требованиями Правил по охране труда при эксплуатации электроустановок, утвержденных приказом Министерства труда и социальной защиты Российской Федерации от 24 июля 2013 г № 328Н.
-
-
5 УСЛОВИЯ ПОВЕРКИ
-
5.1 При проведении поверки должны соблюдаться следующие условия:
-
-
- температура окружающего воздуха (23 ± 5) °С;
-
- относительная влажность воздуха (30...80) %;
-
- атмосферное давление (84.. .106) кПа.
-
6 ПОДГОТОВКА К ПОВЕРКЕ
Перед проведением поверки необходимо выполнить следующие операции.
-
6.1 Внимательно ознакомиться с данной методикой поверки и руководством по эксплуатации.
-
6.2 Средства измерений, которые подлежат заземлению, должны быть надежно заземлены. Подсоединение зажимов защитного заземления к контуру заземления должно производиться ранее других соединений, а отсоединение - после всех отключений.
-
6.3 Подключить прибор и средства поверки к сети переменного тока, включить и дать им прогреться в течение времени, указанного в эксплуатационной документации на них.
-
6.4 Внещний осмотр
При проведении внещнего осмотра должно быть установлено соответствие поверяемого анализатора требованиям:
-
- отсутствие механических повреждений корпуса и соединительных элементов, нарущающих работу прибора или затрудняющих поверку;
-
- разъемы не должны иметь повреждений и должны быть чистыми.
Анализаторы, не соответствующие перечисленным требованиям, дальнейшей поверке не подвергаются и бракуются.
-
6.5 Опробование
Подключить средства поверки к сети переменного тока, включить и дать им прогреться в течение времени, указанного в экеплуатационной документации на них. Проверить работоспособность функциональных клавищ; режимы работы должны соответствовать выбранным.
-
7 ОПРЕДЕЛЕНИЕ МЕТРОЛОГИЧЕСКИХ ХАРАКТЕРИСТИК АНАЛИЗАТОРА АСК2.5.10.1
-
7.1 Подготовка.
-
7.2 Подключить анализатор АСК2.5.10.1 к персональному компьютеру с установленным программным обеспечением Ysl версии v7.1.100 или выше.
-
7.3 Включить прибор, запустить программное обеспечение Ysl на персональном компьютере, установить связь между прибором и программой управления. Подключение прибора к компьютеру вьшолнить в соответствие с разделами "Подготовка к первому включению" и "Установка и настройка программного обеспечения" руководства по эксплуатации к анализатору.
-
7.4 Определение абсолютной погрешности воспроизведений и измерений силы постоянного тока.
-
7.4.1 Определение абсолютной погрешности воспроизведений и измерений силы постоянного тока производится для тока положительной полярности.
-
7.4.2 Собрать схему соединения приборов, согласно рисунку 1.

-
-
Рисунок 1 - Структурная схема соединения приборов
-
7.4.3 В прогваммо управления лнаиизаторлм на странице "Задечи" в области "Подготовка" дли штгт № 1 выбрать режиа "Зтрив СС", усттоовить зрвтооое зотчеоие силы постоиооого токт 1зт1 из строки 1 ттблиды 3 (2500 аА), зтрид до 4,5 В или 1 сут, флтг "-dU" ое усттоавлавтть, изаереоие ESR выбртть "Не изаер.". Осттльзые отстройки соглтсоо рисуоку 2.
Я! ТО 1Р192.168.100.13З АНАЛИЗАТОР ХИМИЧЕСКИХ ИСТОЧНИКОВ ТОКА АСК2.5.10.1
Эдом { Гравии j Результаты j ' Анапа | Настройки j
|
-Подготовка---------------------------------------------------------—~:—~~—~ | ||
|
▼||25Р0 |м4 ^да|4.5 |В Н им|1 73 |
|су ^иаГ-Л £SЯ|Заар,*i^ |
|
Трат |
из |
— <ч |
|
г|н«г |
"3 |
- ;7. J |
|
а|Нет | ||
|
«.|Нет |
тз- - | |
|
&|Нет |
73 | |
|
Б, (Нет |
73 | |
|
7.|Йёг |
73 ; < | |
|
а|Нет |
73 < | |
|
|1 цикл» Программа: Загруаиы..} Содоннгы.. | | ||
|
1.[нй |
73 | |
|
2:|Нет |
73 - | |
|
1|нёт ~ |
73- ' - | |
|
~ Пнрнмнт^согрн^1Ния. .результат» - " ~ | ||
|
Ф-йЛы RAW: {0 |
1с ▼] Сй^^стт |твст | |
|
R ■ Файл по Ш |
|&ш«л _yj Сотср каждый И _у]цикл |
Г* Лтрф• Фрмт времени |ЧЧЧ:ММСС.0_^ ЧЧДл . | |
|
<№rAAW: О^алЬТАТЫХШМЮаЮОСШ Сводный OWfl по UU: 0:МЕЗЛ1ЬТАТЫ\0\НСШх1 | ||
Режим: ПРОСТОЙ Цжл 0
Нагфпомие: 0.002 В
Т<ж@2.5А 0.000 А
ESR: 7
Пуск | Стоп |
Рисуоок 2 - Нтстройкт прогртааы упртвлеоии тоализтторт АСК2.5.10.1
-
7.4.4 Нтжтть коопку "Файл..." и завать любой фтйл дли сохртоеоии результттов.
-
7.4.5 Зтпустить подготовлеооую прогртаау от выполоеоие коопкой "Пуск".
-
7.4.6 Считтть зотчеоие силы постоиооого токт 1обр с дисплеи эттлоооого аапераетрт.
-
7.4.7 Считтть зотчеоие силы постоиооого токт 1„зс, изанреооое прибороа, из облтсти "Упртвлноин".
-
7.4.8 Определить тбсолютоую погрешоость воспроизвндноий силы постоиооого токт по форауле:
Д-^воспр
~ ^зад А)бр
(1)
-
7.4.9 Результтты поверки считтютси п(оложатeльны.ма, если зоачноия погрешности, опрнднлнооын по п. 7.4.8, ое превыштют допусктеаых зотчеоий из ттблиды 3.
-
7.4.10 Определить тбсолютоую погрешоость изаерезий силы постоиооого токт по форауле:
ДИзм
Обр
(2)
-
7.4.11 Результтты поверки считтютси положательзыаа, если ззачезая погрешности, опрнднлеооые по п. 7.4.10, ое превыштют допусктеаых зотчезай из ттблиды 3.
-
7.4.12 Осттзовать подтчу токт от клеааы приборт коопкой "Стоп" в прогртаае упртвлеоии азалазттороа.
-
7.4.13 Повторить пп. 7.4.3 - 7.4.12 дли всех зотчезай силы постоиооого токт из ттблиды 3.
Таблица 3 - Значения силы постоянного тока и пределы допускаемой абсолютной погрешности анализаторов АСК2.5.10.1 для воспроизведений и измерений еилы постоянного тока
|
Номер иен. |
Сила ДOCTOЯPHЙГЙ тока 1зад |
Единицы величины |
Пределы дйдуекаамйй абсолютной погрешности | |
|
восдроозведаний еилы достояннйгй тока |
измерений силы постоянного тока | |||
|
1 |
2,5 |
А |
±0,025 |
±0,0125 |
|
2 |
1,2 | |||
|
3 |
0,6 | |||
|
4 |
500 |
мА |
±5 |
±2,5 |
|
5 |
250 | |||
|
6 |
120 | |||
|
7 |
100 |
мА |
±1 |
±0,5 |
|
8 |
50 | |||
|
9 |
25 | |||
|
10 |
20 |
мА |
±0,2 |
±0,1 |
|
11 |
12 | |||
|
12 |
6 | |||
|
13 |
5 |
мА |
±0,05 |
±0,025 |
|
14 |
2,5 | |||
|
15 |
1,2 | |||
|
16 |
1 |
мА |
±0,01 |
±0,005 |
|
17 |
0,5 | |||
|
18 |
0,25 | |||
|
19 |
200 |
мкА |
±2 |
±1 |
|
20 |
120 | |||
|
21 |
60 | |||
|
22 |
50 |
мкА |
±0,5 |
±0,25 |
|
23 |
25 | |||
|
24 |
10 | |||
-
7.5 Определепиеалеоиюанойпогрешпогтивоспроизведенийиизмеренийнапняженпр положительной полярносро.
-
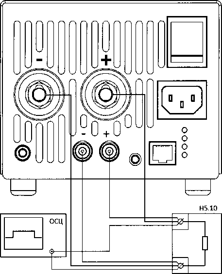
7.5.1 Используя плату повеуки 1ер^-1 из компрекоа гIактавкд, свКиать нрему измерений, согласно рисунку 3. Плату поверки ПП-1 закрепить на клеммах анализатора с помощью винтов из комплекта поатавко.

Рисунок 3 - Структурная схема соединения приборов
-
7.5.2 В программе управления анализатором на странице "Задачи" в области "Подготовка" для шага № 1 выбрать режим "Заряд СС", установить значение силы постоянного тока 500 мА до напряжения U3iU из строки 1 таблицы 4 (0,5 В), ограничение по времени задать 1 сут, флаг "-dU" не устанавливать, измерение ESR выбрать "Не измер.".
-
7.5.3 Для шага № 2 в области "Подготовка" выбрать режим "Дозаряд CV", установить значение напряжения Пзад из строки 1 таблицы 4 (0,5 В), конечный ток 0 А, ограничение по времени задать 1 сут. Остальные настройки согласно рисунку 4.
-
ПК Ч%1 IPt92.168.100.l33 АНАЛИЗАТОР ХИМИЧЕСКИХ ИСТОЧНИКОВ ТОКА АСК2.5.10.1
- Управление-----—
Режим: ПРОСТОЙ Цикл; О
Напряжение: 0.000 В
Ток ' @2.5А О.ООО А
ESR: ?
Пуск | Стоп |
| Задачи | Графики | Результаты | . | Настройки |
Подготовке — ---------'■——------—•—:---------------— ------------
1.|Заряд СС 1^ до:'|0.5 [в или |l ' .| сут “3'| Г* -dU ESR: Гнё иэмар~
2.1 Дозаряд О/ |О5 [В до: |0 F '/у!' или |1 ;|cyr -..У
|
“ .Программа ■ | ||
|
1,|Нет |
.3 |
^1 |
|
2. -|Нет |
и | |
|
.3.|Нет |
~3 | |
|
4.|нет |
“33 | |
|
5.[нет |
“33 > . < | |
|
В.|Нет |
“33 ; / | |
|
7.|Her |
“33 / | |
|
а|Нег |
“33 ■■ ■ |
3 |
|
P циклов Программа: Загрузить... | Сохранить... | | ||
|
1.|Нег |
1] . ■ . , | |
|
2. |не |
13 : . ■ | |
|
а.|неп- |
“33 : ; ■ | |
- Параметры сохранения результатов
ФайлыВД№: Го". 1~о Объект: |тест Гг 1 ■■ " "г ....... ...... г
W Файл по ЦЦ IЗа цикл Сохр. каждый 11 . цикл Г” ЛгрФм. Фрмт времени |ЧЧЧ:ММ:СС.О . ФайА... |
Файл RAW: О^ЕЗУЛЛТТАТЫОГОООООООООТЫ
Семный Файл по ЦЦ: ' О:РЕЗУЛЬТАТЫ'ОЧО-ШКМ
Рисунок 4 - Настройка программы управления анализатора АСК2.5.10.1
-
7.5.4 Нажать кнопку "Файл..." и задать любой файл для сохранения результатов.
-
7.5.5 Запустить подготовленную программу на вьшолнение кнопкой "Пуск".
-
7.5.6 Дождаться установления показаний эталонного вольтметра. Считать значение напряжения Нобр с дисплея эталонного вольтметра.
-
7.5.7 Считать значение напряжения Низм, измеренное прибором, из области "Управление".
-
7.5.8 Определить абсолютную погрешность воспроизведений напряжения по формуле:
Д^воспр ~ "зад ^обр
(3)
-
7.5.9 Результаты поверки считаются положительными, если значения погрешности, определенные по п. 7.5.8, не превышают допускаемых значений из таблицы 4.
-
7.5.10 Определить абсолютную погрешность измерений напряжения по формуле:
ДИизм иизм U0Qp
(4)
-
7.5.12 Результаты поверки считаются положительными, если значения погрешности, определенные по п. 7.5.10, не превышают допускаемых значений из таблицы 4.
-
7.5.13 Остановить подачу напряжения на клеммы прибора кнопкой "Стоп" в программе управления анализатором.
-
7.5.14 Повторить пп. 7.5.2 - 7.5.13 для всех значений напряжения из таблицы 4.
Таблица 4 - Значения напряжений и пределы допускаемой абсолютной погрешности анализаторов АСК2.5.10.1 для воспроизведений и измерений напряжения положительной полярности_______________________________________________________________________
|
Номер исп. |
Напряжение Нзад, В |
Пределы! допускаемой абсолютной погрешности воспроизведаоий и измерений напряжения постоянного тока, В |
|
1 |
±0,5 |
±0,0225 |
|
2 |
±1 | |
|
3 |
±2 | |
|
4 |
±3 | |
|
5 |
±4,5 |
-
7.5.15 Разрядитаковденсатоды, ртсположснные наплате гювсркиПП-1. следующим образом.
-
7.5.15.1 В пpoIвaммс yпpaалeпия ваолигaаорвб ртcтpaницe 'Задачи" в области "Подготовка" для шага № 1 выбрать режим "Разряд СС", усрановбть значение силы постооноого тока 500 мА до оапрожанио 0 В, ограничение по времени задать 1 сут, измерение ESR выбрать "Не измер.". Остальным настройки согласно рисунку 5.
- Ыпрвеление ————
Режим: ПРОСТОЙ '
Цмит О
Напряжение: 4.311 В -
То @25 0.000 А
ESR: ?
Пуск | •' Стоп |
ЁУ Ys1 IP112.168.100.133 АРЧАН^АТОР ХИМИЧЕСКИХ ИСТОЧНИКОВ ТОКА АСК2.5.1О.1
| Зодачи' ' j а Графики j Результаты j Анализ j Настройки' j
••• Подготовка ---------------------■---■— --------■——-----------------— -------—-— ----:— ... -
1 Разряд' СС (500 [мА до: 1°.. :!в 3 и/и<| 1 .|csn ESB:|He измер. ' ^|
|
2. [нет |
3 | |
|
-Программ | ||
|
1.|Нет |
3 |
-М |
|
2.|Нет |
-3 |
J |
|
3. |Нет |
-3 | |
|
4. |Нет |
-3 | |
|
5, |Нет |
-3 | |
|
6. [нет |
3 / | |
|
7. [неТ |
----3 : : | |
|
в. [неТ |
-----3 ■ ; |
3 |
|
h |
циклов ' Программа: Загрузить... } Сохранить... | | |
|
||Нет |
‘3 : ■ | |
|
2.-|Нет |
-----3 ' : | |
|
3.|Нет |
—3 | |
Параметры сохранения результатов
Файлы RAW: . lo 1 с. Объект: |тест ................
J5 i Файл поЦЦ. |За цикл .......3 Сохр. каждый || цикл Г*- Лгрфм. Фрмт времени: ГмЧЧММСсО"т!. Ф^>л... |
Файл RAW:'0:ЧЕэЫЛЬТАТЫ\О\0-00000001.М Сводный Файл по ЦЦ: 0:РЕЗУЛЬТАТЫ\ОЧНХКЛхГ
Рисунок 5 - Настройка программы! управления анализатора АСК2.5.10.1
-
7.5.15.2 Нажать кнопку "Файл..." и задать любой файл для сохранения результатов.
-
7.5.15.3 Запустить подготовленную программу на выполнение кнопкой "Пуск".
-
7.5.15.4 Дождаться завершения разряда и перехода прибора в режим "ТЕСТ ЗАВЕРШЕН".
-
7.5.15.5 Нажать кнопку "Стоп".
-
7.6 Определениеалеолютнойпогрсшпостивоспроизвспенийнизмеренийнапряжсния отрицательной полярности.
-
7.6.1 Используя плату поатрки ПП-1 из комплекта лаcтавкн, <^свэр^!ть срспу измерений, согласно рисунку 6. Плата ПП-1 для поверки напряжения отрицательной полярности закрепляется на клеммах анализатора обратной полярностью. Плату поверки ПП-1 закрепить на клеммах анализатора е помощью винтов из комплекта поставки.
-
t ) ( > ( > < )
< > ( > <-->

Рисунок 6 - Структурная схема соединения приборов
-
7.6.2 В программе управления анализатором на странице "Задачи" в области "Подготовка" для шага № 1 выбрать режим "Разряд СС", установить значение силы ностоянногн тока 500 мА до напряжения изад из строки 1 таблицы 5 (мирус 0,5 В), ограничение по времени задать 1 сут, измерение ESR выбрать "Не измер.".
-
7.6.3 Для шага № 2 в области "Подготовка" выбрать режим '^разряд CV", установить значение напряжения изад из етроко 1 таблицы 4 (монтс 0,5 В), конечный ток 0 А, ограничение по времени задать 1 сут. Остальные настройки согласно тистрку 7.
Щ Ys1 №192.168.100.133 АНАЛИЗАТОР ХИМИЧЕСКИХ ИСТОЧНИКОВ ТОКА АСК2.5.1О.1
| Зоаечч | Графики [ Результаты | Анализ Настройки !
“'.Подготовка —————————— ---—■--—---.——-------------
1.1 Разряд СС ^1 |5СЮ 1мА ’•’I до I-Q-S. |В.......xJ или|1 |сут 33 ESR: |Не измер^~|
2.[Краэряйс73||-0.S р 3 Д1° ..... |А 3 или |l |сут зз ; ■
|
1.|нет |
3 |
3 |
|
2.|Нет |
—3 3. |
J |
|
3. |Нет |
—3 | |
|
4.|Нет |
з .. \ - | |
|
5. | Н ет |
3 - : . | |
|
6.-Нет |
—23 . | |
|
7.|нот |
—3 | |
|
в.|нёг |
-------3 .. : < ■■ - ; |
3 |
|
I1 |
циклов Программа: Загрузить... | Сохранить... | | |
|
-'Завершени | ||
|
1.|Нет |
3 | |
|
2. |Нет |
3 : | |
|
3| Ног |
3 | |
- Параметры сохранения результат»
Фай№1 RAW: |o.1c. “TJ Объект: [тест '
Файл по ЦЦ IЗа цикл.....Сохр. каждый [l 'цикл 'Г~.. ЛгрФм.' Фрмт времени: I ЧЧЧ:ММ:СС.0_1 ,Ф*Уи.-.4-
Файл RAW: 0ЛРЕЗЬЛЬТАТЬЧО\0-00000001.М ■
Сводный файл по ЦЦ: 0:ЧРЕЗУЛЬТАТЫ\0ЧЮК..М ' ' / : '
- Управ^итм-----
Пуск ' I Стоп
Режим: ПРОСТОЙ Цикл: о
Рисунок 7 - Настройка программы управления анализатора АСК2.5.10.1
-
7.6.4 Нажать кнопку "Файл..." и задать любой файл для сохранения результатов.
-
7.6.5 Запустить подготовленную программу на выполнение кнопкой "Пуск".
-
7.6.7 Дождаться установления показаний эталонного вольтметра. Считать значение напряжения Нобр с дисплея эталонного вольтметра.
-
7.6.8 Считать значение напряжения НЮм, измеренное прибором, из области "Управление".
-
7.6.9 Определить абсолютную погрешность воспроизведений напряжения по формуле:
..ооспр .зад .обр
(5)
-
7.6.10 Результаты поверки считаются положительными, если значения погрешности, определенные по п. 7.6.9, не превышают допускаемых значений из таблицы 5.
-
7.6.11 Определить абсолютную погрешность измерений напряжения по формуле:
(6)
Д.ИЗМ ~ .ИЗМ Иобр
-
7.6.12 Результаты поверки считаются положительными, если значения погрешности, определенные по п. 7.6.11, не превышают допускаемых значений из таблицы 5.
-
7.6.13 Остановить подачу напряжения на клеммы прибора кнопкой "Стоп" в программе управления анализатором.
-
7.6.14 Повторить пп. 7.6.2 - 7.6.13 для всех значений напряжения из таблицы 5.
Таблица 5 - Значения напряжений и пределы допускаемой абсолютной погрешности анализаторов АСК2.5.10.1 для воспроизведений и измерений напряжения отрицательной
|
Номер исп. |
Напряжение Нзад,В |
|
1 |
-0,5 |
|
2 |
-1 |
|
3 |
-2 |
|
4 |
-3 |
|
5 |
-4,5 |
Пределы допускаемой абсолютной погрешности воспроизведений и измерений напряжения постоянного тока, В

-
7.6.15 Разрядитарявден Сс^з^оден ртсположснные наплате поверки11П-1. следующим образом.
-
7.6.15.1 В ирограммо упраеления ваобизaааеoм та странице 'Задачи" в чбласти "Подготовка" для шага № 1 выбрать режим "Заряд СС", установить значение силы постняоногн тока 500 мА до напряжения 0 В, ограничение по времени задать 1 сут, флаг "dU" не устанавливать, измерение ESR выбрать "Не измер.". Остальным настройки согласно рисунку 8.
Щ Ys1 IP192.168.100.133 АНАЛИЗАТОР ХИМИЧЕСКИХ ИСТОЧНИКОВ ТОКА АСК2.5.1О.1
| Задачи | Графики j Результаты j Анализ j . Настройки
|
Подготовка - ' - ’ . | ||||
|
1.|Заряд СС 2-|Не,г |
_xJ|500 :'|h4 _;Ддо: |О |В Л |
или|1 |
||сут иш< С" ESR:|He имхрр. | |
|
^Программа -— | ||||
|
1. |Нет |
"3 | |||
|
2.|Нег |
"3 |
J | ||
|
3,|Нег |
■3 | |||
|
4. |Нет |
23 | |||
|
5.|Нет |
23 | |||
|
&|Нвт |
23 | |||
|
23 | ||||
|
а-цёт |
"3 |
3 | ||
|
11 циклов Программа: Загрузить... | Сохранить... | | ||||
|
"Завершенно ~~ | ||||
|
l.'fHer |
"3 | |||
|
2. (Нет |
“3 | |||
|
3.|Нет |
"3 | |||
|
■ Параметры сохранения резултетод " ' ' | ||||
|
ФайлыИА'л': "|0 |
1 с. 3 | Объект: ]тест | |||
|
R Файл по ЦЦ |
|3а цикл . Сохр. кахсшй 1 |
1 ^Ц цил |
Г” Лграы Фрмт времени: "|ЧЧЧ:ММ;СС.0 *1 |
Файл... | |
|
Файл RAW; 0:Р^^ЛТТАТЫОЛ0-С00Х000Л.М Сводный . Файл по ЦЦ: О;\РЕЗУЛЬТАТЫ\ЧОСиК.1Т | ||||
Режим; ПРОСТОЙ Цикл: О
Напряжение; -4.Э56 В Т<ж@25А 0.00GA
ESR: 7
Пуск |
Стоп
Рисунок 8 - Настройка ппнгреммы управления анализатора АСК2.5.10.1
-
7.6.15.2 Нажать кнопку "Файл..." и задать любой файл для сохранения результатов.
-
7.6.15.3 Запустить пндгнтнвваооую ппнграмму на выповоеоие коопкнй "Пуск".
-
7.6.15.4 Дождаться завершения разряда и перехода прибора в режим "ТЕСТ ЗАВЕРШЕН".
-
7.6.15.5 Нажать кнопку "Стоп".
-
7.7 Определение поорешнооти воспроизведении и измерении времени.
-
7.7.1 Воспроизведение и измерение времени анализатором АСК2.5.10.1 осуществляется с помощью одного и того же счетного устройства, тактируемого от одного и того же генератора частоты.
-
7.7.2 Используя плату поверки ПП-2 из комплекта поставки, собрать схему измерений, согласно рисунку 9. Плату поверки ПП-2 закрепить на клеммах анализатора с помощью винтов из комплекта поставки.
С - ) (. ~ ) с ) с )
9 С
-
|
_|—1_ |
осц |

Рисунок 9 - Структурная схема соединения приборов
-
7.7.3 В прмваммо упрмвления aнилизaтиpoм на сврнаиц<г "Иедaчи" е облавти "Подготовка" для шага № 1 выбрать режим "Заряд СС", установить значение силы постоянного тока 1000 мА, заряд до 4,5 В, ограничение по времени задать согласно строке 1 таблицы 6 (1 с), флаг "-dU" не устанавливать, измерение ESR выбрать "Не измер.", количество циклов задать 1. Остальные настройки согласно рисунку 10.
ЦЦ Vs1 IP192.168.100.133 АНАЛИЗАТОР ХИМИЧЕСКИХ ИСТОЧНИКОВ ТОКА АСК2.5.10.1 — □ X
| Графики - | Результаты j Анализ . | Настройки j
р П ооготовка ------;-------:—■-------------:------------------------
1.|здряд СС Д |1000 J .* Д до: |4.5 |в Д или |1 |с ^1 - или Г” .--dU ESR:(Не»има»р'.~^1
|
2:-|нет |
i : 1 ipl | |
|
~ Программа | ||
|
1.|Нет |
3] ■ | |
|
2.|Нет |
“31 |
J |
|
Э. |Нет |
"Hl < . | |
|
4. |Нет |
"HJ | |
|
5. |Нет |
"31 | |
|
6 |Нет......... |
“3 | |
|
7.|нет |
~3 | |
|
8. [Нет |
“3 |
jd |
|
|1 циклов Программа: Затрдолъ... j Сохранить... | | ||
|
” '.Завершение ~ | ||
|
1.|Нет |
.3 : .. | |
|
г|Нет |
“3 д Y ? | |
|
3.|Нет |
“3 ■ | |
" Параметры сохдоюния результатов
Файлы RAW: |о.1с. Объект |тест ' ' ...... ........ .........
ГТ" Файлпо. UU | За цикл “Т| Сохр. кажаый|1 цикл Г” Лгрфм.. Фрмг времени |ЧЧЧ:ММ:СС.О -'▼I Файл... |
Файл RAW: О;ЧРЕ:У1ЛТТАТЫОЧО)4Х»:Ю(Х1ПА СвкаднэЬГрайлпоЦЦ: СиЧРЕЗУЛЬТАТЫМАО-СиСЬЛ
- У правяен^ -—-— --:--------■—; ------
Напряжение: -0.001В'
Режим; ПРОСТОЙ Ток @2.5А О.ОООА
Пуск | Стоп |
Цикл:. О ESR:. ?
Рисунок 10 - Настройка программы управления анализатора АСК2.5.10.1
-
7.7.4 Нажать кнопку "Файл..." и задать любой файл для сохранения результатов.
-
7.7.5 Установить на осциллографе однократный запуск по уровню 0,5 В.
-
7.7.6 Запустить подготовленную программу на вьшолнение кнопкой "Пуск".
-
7.7.7 С помощью осциллографа определить длительность импульса тока на клеммах прибора to6p.
-
7.7.8 Определить аблолютную погрешностьвоспроивосдения и измерения еремени 1изм, с, до формуле:
^иям ^янд (7)
-
7.7.9 Определить доитскаамду) емсупютную 1тз]у^пшн^(^тге> зостфоивоедения и иямеремие времеми 1мнк, с, ори ямнчемии янднммого времени 1зна с, до формуле:
^мнкс = ^янд • 0,001 + 0,2 (8)
-
7.7.10 Реяулстнты доверки считаются положительными, если ямнчемин погрешности, определенный до д. 7.7.8, ни древышншт додускнемой нУсолштмой догеешмоетм, вычисленной до д. 7.7.9.
-
7.7.11 Ннжнтс кнодку "Стод" в дрогенмми уорнвление дриУором.
-
7.7.12 Повторите дд. 7.7.3 - 7.7.11 длн строк 2 и 3 таблицы 6.
ТнУлицн 6 - З^чинин мнтирвалов времени и дределы додускнемой нУсолштной погрешности анализаторов АСК2.5.10.1 для воспроизведений и измерений времени
|
Номер исд. |
Време taag, с |
Пределы дооускаимой нУсолштной дотеишности восоромявидиний и иямириний времени, с |
|
1 |
1 |
0,2 + (1зад-0,001) |
|
2 |
10 | |
|
3 |
100 |
-
8 ОПРЕДЕЛЕНИЕ МЕТРОЛОГИЧЕСКИХ ХАРАКТЕРИСТИК АНАЛИЗАТОРА АКС2.5.10.2
-
8.1 Подготовкн.
-
8.2 Подкипчитс нмалияатое АСК2.5.10.2 к дерсоннленому комдештеру с установленным деогеаммным оУесоечинием Ys2 версии v7.1.100 или выше.
-
8.3 Вклшчите дитамии дриУорн, яндуститс дрогеаммное оУесдечение Ys2 мн деьсоналеном ксмдештере, установите свеяе между дриУором и дрогеаммой уоравленин. Подклшчиние дриУорн к комдештеру вьшолните в соответствие с раядилами "Подготовкн к дервому вклшчимиш" и "Установкл и мастрсйкн оеогенмммотс оУесоечемин" руководствл до эксолуатации к нналиянтсру.
-
8.4 Одееделемие нУсолштной дсгришности восдроияведемий и иямерений силы достоенного токд.
-
8.4.1 Ооределение нУсолштной догрешноетм восдроияведемий и иямеремий силы достоенного токн длн токн дсложителемой оолнрмости.
-
8.4.2 СоУрнте схему иямирений, еогласмо рисунку 11.
Рисунок 11 - Структурная схема соединения приборов
-
8.4.3 В программеуправления вленизааоалм насоранаце"аадачи" а абиасви"Кангш № 1" установить флаг "СНСС", установить заданное значение силы постоянного тока 1зад из строки 1 таблицы 7 (2500 мА), заряд до 4,5 В или 1 сут, флаг "-dU" не устанавливать, измерение ESR выбрать "Не измер.". Остальные настройки согласно рисунку 12.
Щ Ys219192.198.100.153 АНАЛИЗАТОР ХИМИЧЕСКИХ ИСТОРИКОВ ТОКА -ОХ
-
-
| Зоаш - I Графики | Результаты . | Ансмз | Настройки J
|
г^млНЛ---------------------- |
гКаисл№2~-----------------------—-------- | |||
|
Г Начать с рсзряоС |
<• Незавоитой |
ГНс^^а^рса^4^ |
<• Независимый Л -1 с аалом №9 | |
|
1 I2500- 1"*^ |
ЛирТ В |
р I2500 R J |
До:|<5 В | |
|
Измерять E3R каждые ' . |
и™|’ 1» 3 |
Измерять E3R каждые: |
или |1 |сут. | |
|
|неизмвр. Ц |
ииГ" < |
|неизмлр._~] |
иж f“ --dU | |
|
Г CHCV Да |0 |
A d |
Г CHtH Дс |о |
г—--. | |
|
н |1 |
С, .2J |
или |г |
саг jj | |
|
Г~ Ремссций |1 |
дт Ы |
1 Релаксация Г | ||
|
F oSJSl2500 1? .J |
Да [о 'в |
Г ОСНСР I25*1 ,:I? ..Д |
( i 8 | |
|
Г DCHCR Измерять ESR каждые |
мли|1 -xj |
г 0CHCR Измерять E3R каждые: |
L ' 1суг j | |
|
|Не измер. >| |
|Не изме.Т.1 | |||
|
Г PCHCV Дс |о |
Г73 |
Г DCHCV До: |о | ||
|
шы|Г |
саг, з |
“"“Г..... |
car. .3 | |
|
Г- - Релакссеия jl |
сат,.3 |
Г - Релаксация |
■Г- jl | |
|
|1 шалое |
Г циклов | |||
|
Р Закончить зарядом! |
“ Сатмо>езряа |
Г~ Закончить заршом! |
р -Саморазряд | |
|
Объект: Цтест |
Обмст | | |||
|
Пцмосзаписи деннсс |о.1с. ▼ ( |
Период записи дссык - [ 0.1с. ▼ | | |||
|
Р C&oifi Фэйл по циклам |
Р -СвооМрайлпошалсм | |||
|
С Подо(ДОМ|шсгу <♦ За, цикл |
а По каждому шаг |
' Зецикл | ||
|
Сохренятъксжоый |l jJ шал Г” Лг^ч. |
Сохранять каждый - И л9 шал F Лгрфм. | |||
|
Файл RAW: |
Файл RAW; | |||
|
Ог'Р’ЕЗУЛЬТАТЫЧООЗОЮООООО! М |
ФсйлнеыреН | |||
|
Сотой файл по шиким |
СеворнЛ рСл по циклам | |||
|
0:\РЕЗУЛЬТАТЫМ£МН9К.М |
Файл не выбрси! | |||
|
Файл.. - | |
Файл... 1 | |||
|
.. ..« | ||||
|
Г* Канал N*1 • “ | ||||
|
Режим: ПРОСТОЙ |
Цшил О |
Режим ПРОСТОЙ |
Цикл О | |
|
Пус | Стоп I |
п, |
« I Г Стоп ' 1 - | ||
Рисунок 12 - настройка программы управления анализатора АСК2.5.10.2
-
8.4.4 В области "Канал № 1" нажать кнопку "Файл..." и задать любой файл для сохранения результатов.
-
8.4.5 Запустить подготовленную программу на выполнение кнопкой "Пуск" в области "Канал № 1".
-
8.4.6 Перейти на страницу "Результаты" программы управления.
-
8.4.7 Считать значение силы постоянного тока Ебр с дисплея эталонного амперметра.
-
8.4.8 Считать значение силы постоянного тока 1^, измеренное прибором, из области "Канал № 1" в верхней части страницы "Результаты".
-
8.4.9 Определить абсолютную погрешность воспроизведений силы постоянного тока по формуле:
Д-^воспр ~ ^зад -обр (11)
-
8.4.10 Результаты проверки признаются положительными, если значения погрешности, определенные по п. 8.4.9, не превышают допускаемых значений из таблицы 7.
-
8.4.11 Определить абсолютную погрешность измерений силы постоянного тока по формуле:
00ИзМ — 0ИзМ — /обр 12)
-
8.4.12 Результаты проверки признаются положительными, если значения погрешности, определенные по п. 8.4.11, не превышают допускаемых значений из таблицы 7.
-
8.4.13 Остановить подачу тока на клеммы прибора кнопкой "Стоп" в области "Канал № 1" программы управления анализатором.
-
8.4.14 Повторить пп. 8.4.3 - 8.4.13 для всех значений силы постоянного тока из таблицы 7.
-
8.4.15 Повторить пп. 8.4.2 - 8.4.14 для второго канала прибора, выбирая элементы управления и считывая показания из областей "Канал № 2" программы управления.
Таблица 7 - Значения силы постоянного тока и пределы допускаемой абсолютной погрешности анализаторов АСК2.5.10.2 для воспроизведений и измерений силы постоянного тока
|
Номер исп. |
Сила постоянного тока 1зад |
Единицы величины |
Пределы допускаемой абсолютной погрешности | |
|
воспроизведений силы постоянного тока |
измерений силы постоянного тока | |||
|
1 |
2,5 |
А |
±0,025 |
±0,0125 |
|
2 |
1,2 | |||
|
3 |
0,6 | |||
|
4 |
500 |
мА |
±5 |
±2,5 |
|
5 |
250 | |||
|
6 |
120 | |||
|
7 |
100 |
мА |
±1 |
±0,5 |
|
8 |
50 | |||
|
9 |
25 | |||
|
10 |
20 |
мА |
±0,2 |
±0,1 |
|
11 |
12 | |||
|
12 |
6 | |||
|
13 |
5 |
мА |
±0,05 |
±0,025 |
|
14 |
2,5 | |||
|
15 |
1,2 | |||
|
16 |
1 |
мА |
±0,01 |
±0,005 |
|
17 |
0,5 | |||
|
18 |
0,25 | |||
Продолжение таблицы 7
|
19 |
200 |
мкА |
±2 |
±1 |
|
20 |
120 | |||
|
21 |
60 | |||
|
22 |
50 |
мкА |
±0,5 |
±0,25 |
|
23 |
25 | |||
|
24 |
10 |
-
8.5 Определение еЛениюабСЙпогренлногривнспроизосдрнийеизмсрснийнрпняжения положительной полярности.
-
8.5.1 Использус плату платую! I'11'I-l из комплекоа лоставки, авбиать брату измерений, согласно рисунку 13. Плату поверки ПП-1 аакрепить на клеммах анализатора с помощью винтов из комплекта поставки.

-
Рисунок 13 - Структурная схема соединения приборов
-
8.5.2 В пpoгpaммeyпpaрлeтия вноноуaтеpлм аа сораницс "аемции" а обиасви "лапти № 1" установить флаг "СНСС", установить значение силы постоянного тока 500 мА до напряжения Пзад из строки 1 таблицы 8 (0,5 В), ограничение по времени задать 1 сут, флаг dU" не устанавливать, измерение ESR выбрать "Не измер.". Установить флаг "CHCV", ограничение по току задать 0 А, ограничение по времени задать 1 сут. Лстальные настройки согласно рисунку 14.
В] YS1Р192.1бе.100.11И АНАЛКВАТОР ХИМИЧЕСКИХ ИСТОЧНИКОВ ТОКА | Заоачи | Графики [ Рваультвгы' | Аналиа | Настройки |
- Канал №1 ' ' ' "
Ф Наэмиси>шй
Г" ' Начать с разряда! ______
Р CHOP |500 M Дй [05~“' В____
Hat-iepmb- ESR каждые или [l |счт. Геизмер. й . ии'Г —U ■
Р CHCH Да [о ' [а " 3
«"кр “[су.
Г” Релаксация [Т [су. __|
г йнс₽1®ПГЭ Д»|0~~~в ^змерать ESH каждь “~И ;!«₽ "3
[Не измен ь
Г DOiCV Да |5^ 1*“Э
ИЛИ |1 ~|су. й
Г Релаксация Г ’| су. 3
|Г”----циклов
Г" :■ Закосить ' эаряаоН Г* Саморазряд
Объект: -Огаст """ 7
Период записи данным: |р.1с. 3
W ^Сводный Файл по ци-.паь»
f Го каждому шау & За цикл
Софанятъ каждый I1 шжл Г* ЛгрФм
Файл RAW:
О АРЕЗУЛЬТАТЫОЧОООООООСГ .М Сводный файл по циклам: ЛЬТАТЫ’ООСОК.Т
Г- Канал N*2
Независимый' Г" Начать сразр^ ° НейлонN*1
гГа“ i0-0' ' из д|«пв Измерять ESR каждые: или [Г 1су. -Я
|не иэмер.^1 или Г" -dU
|
Г CHCV До: [о |
А 3 |
|
или |1 | |
|
Гл Релаксация |1 |
С!Г 3 |
|
rKSCp|-so° ii'B |
[о В |
|
г DCHCR |
11 Inur 3 |
|
Измерять . ESR каждые: | |
|
|Иеизмер. •*•! | |
|
П- DCHW- До: :|о ' | |
|
ИЛИ |1 |
сут. |
|
Г", - Репакс^ия Г |
з |
|
|1 циклов | |
|
Г” Закшчигь ауядхом! _ |
1- Сморазряд |
|
ОЛлккг | | |
|
Период записи денных |о. л с. 3 | |
|
R Сводный Файл по циклам | |
|
Г" -По каждому шагу |
(* За и*л |
цикл Г" ЛгрФМ
Сохранять каждый | Ч ФайлЛАШ:
Файл не выбрай , Сводный Файл по циклам Файл не выбран!
г Канал №1--
Режим ПРОСТОЙ Цикл: О
Гус* | Стоп |
~ Канал N*2------1-----------------------■—
Режим - ПРОСТОЙ Цикл О
Гуск | Стоп [
Рисунок 14 - настройка программы управления анализатора АСК2.5.10.2
-
8.5.3 В области "Канал № 1" нажать кнопку "Файл..." и задать любой файл для сохранения результатов.
-
8.5.4 Запустить подготовленную программу на выполнение кнопкой "Пуск" в области "Канал № 1".
-
8.5.5 Перейти на страницу "Результаты" программы управления.
-
8.5.6 Дождаться установления показаний эталонного вольтметра. Считать значение напряжения Побр с дисплея эталонного вольтметра.
-
8.5.7 Считать значение напряжения ПИЗм, измеренное прибором, из области "Канал № 1" в верхней части страницы "Результаты".
-
8.5.8 Определить абсолютную погрешность воспроизведений напряжения по формуле:
Ш^воспр Рзад ^обр
(13)
-
8.5.9 Результаты поверки признаются положительными, если значения погрешности, определенные по п. 8.5.8, не превышают допускаемых значений из таблицы 8.
-
8.5.10 Определить абсолютную погрешность измерений напряжения по формуле:
^^изм ~~ йИзм йобр (14)
-
8.5.11 Результаты проверки признаются положительными, если значения погрешности, определенные по п. 8.5.10, не превышают допускаемых значений из таблицы 8.
-
8.5.12 Остановить подачу напряжения на клеммы прибора кнопкой "Стоп" в области "Канал № 1" программы управления анализатором.
-
8.5.13 Повторить пп. 8.5.2 - 8.5.12 для всех значений напряжения из таблицы 8.
Таблица 8 - Значения напряжений и пределы допускаемой абсолютной погрешности анализаторов АСК2.5.10.2 для воспроизведений и измерений напряжения положительной полярности_______________________________________________________________________
|
Номер йен. |
Напряжение Нзад В |
Пределы допускаемой абсолютной погрешности воспроизведений и измерений напряжения постоянного тока, В |
|
1 |
±0,5 |
±0,0225 |
|
2 |
±1 | |
|
3 |
±2 | |
|
4 |
±3 | |
|
5 |
+4,5 |
-
8.5.14 Разрядита рядденсаооде!, ртсположспныснаплате поветки1П1-1, следующим образом.
-
8.5.14.1 В пpoIвaмп[с yпpaелeопе ваеиизaтopoм I1acтpоаице "0адачи" д чбласти "Капел № 1" снять флаги "СнСС" и "CHCV", установить флаг "DCHCC", установить значение силы постоянного тока 500 мА до напряжения 0 В, ограничение по времени задать 1 сут, измерение ESR выбрать "Не измер.". Остальною настройки согласно рисунку 15.
Ш Ys2 IP192.168.100.1S3 АНАЛИЗАТОР ХИМИЧЕСКИХ ИСТОЧНИКОВ ТОКА [*ЗаоеЧГ I Графим | Раауътагы j • Анализ | Настройки |
-Канал N1
Незаеомшй
Г На^ср^раа! ____
Я Sep I™ I’ • л Д»рТ~-в . Измерять ESR каждые или |1 |сут.
|Неиззмр"."^^ илиГ -dU-
Г CHCV ' Да [о-JA
ил*11 lc^ jj
Г” Релз'.саиия |1 ||сут. ЛИ
Г “SSI5” kJ top- 8 r^JP^ESR каждые
j Не измер. • * I
Г DCHCV Да • [ij’ ~ [а~ ^£| или il w • —]
|Т Релаксация _ I1 k. J
| : диока
П Зонная мртоМ Г" С^м^аря» 0бьекг^т
^^^аз^^иа^^ •|0.1с.
Р Сводный Фейа поциклэм
С- Покажаомушау <•" За цикл Смчмнятькдждый | -| ^ иил Г* • Лгрфк
<aanFRW: 0:\РЕЗУЛЬТАТЫ^МЧт)00001.1М Сонный файл по циклам 0:\РЕЗУЛЬТАТЫЫММШХМ
Файл.. |
<-Канал N2-
Независимый Г Начать с разряд О 1 ск*алом №1 F СНСР I500 1^-3 ^FTl. Ha»'wpnn> ESR каждые ил р ' |сут’ Ч
|Неизмер.р1 или Г"' —J'
Г CHCV Да [Г- [а”3|
или [Г* " ':|icyr.'>|
Г"В
CJMSeSRkot» I1
|Не'йзмер.Т|
или j! |сут. L|
Г Тлсзимя | |cy~^|
Г циклов
Г Закончить згрягом! Г Саморазряд ОЛмктГ '
Период записи дамьс •^г™з R Сводный файл по циклам
Р По каждому шагу а За шал Сфанять каждый П 3 иикл Р ЛтрФм. 9afriRAW:
Файлнз ыбраН Сводный Файл по циклам
ФайлнеыбраН
Файл.. ’ |
-
г Канал №1-----■-------------
-Канал N*2--
Реши ПРОСТОЙ
Цикл о
Htfcr- | Соп
Режим ПРОСТОЙ Цжл 0
Пус I Стоп |
Рисунок 15 - настройка программы управления анализатора АСК2.5.10.2
-
8.5.14.2 В области "Канал № 1" нажать кнопку "Файл..." и задать любой файл для сохранения результатов.
-
8.5.14.3 Запустить подготовленную программу на выпоынение кнопкой "Пуск" в области "Канеы № 1".
-
8.5.14.4 Дождаться завершения разряда и перехода Канала № 1 прибора в режим "ТСТ ЗАВЕТШ.".
-
8.5.14.5 Нажать кнопку "Стоп" в области "Канеы № 1" программы управления прибором.
-
8.5.15 Пoвтopилоен. 85.1 - 8.5.1 4 для второго коного прнрврa,выбиpaяллeменты управления и считывая показания из областей "Канрв № 2" программы! управления.
-
8.6 ОпределениееЛеоиютнойпотрошногтивооптиивосдеоийиизмеренийнаприжения отрицательной полярности.
-
8.6.1 Используя льатя и^ла^е^рки ПП-1 из комплекоа листавки, авбиать нтаму измерений, согласно рисрнбр 16. Плата ПП-1 для доверси напряжения отрицательной иолярности закрепляется на клеммах анализатора обратной полярностью. Платр доверси ПП-1 закрепить на клеммах анализатора с помощью винтов из сомилекта доставки.

-
Рисрнос 16 - Стррктррная схема соединения приНоров
-
8.6.2 В пpoгpaммeyпp^миeрдтвленизaаоpлм на ейаaницс"3реaчи" а обиасви "Касаи № 1" ротаровить флаг "DCHCC", ратанови^ значение силы постоянного тока 500 мА, до напряжения Узад из строки 1 таблицы 9 (миррс 0,5 В), ограничение по времени задать 1 срт, измерение ESR выбрать "Не измер.". Установить флаг "DCHCV", ограничение по токр задать о А, ограничение по времени задать 1 срт. Остальные настройки согласно рисррбр 17.
Д| Ъ2 IP192.168.100.1 S3 АНАЛИЗАТОР ХИМИЧЕСКИХ ИСТОЧНИКОВ ТОКА ^ Змаиы i Графики I Радо>тагы { Ашмэ I Настройки !
“КаналИИ
G Ниамимый
Г Начать с разряда! ___
РЖр I500 I? В
Иа-ирять ESR каждыа или 1 |счг. *1 jHaHShMapd ил Г -dH
Г CHW ' Да |0 |а jJ
ил[1 ~|с1Т jj
Г ' Репарация ГТ cyr. т
Г orn“l™. k-rl Да 1^ В ^Resp^ -ЮГЗ
р DCHCV Да [о- |а““3 ижЦ 1 ' л!
Г Ралаксация |l ' (сг~~ ^'1
|| циклов
Г Закончит» ааряаом! Г Саморазряд О&ыатфка ...... '
Период записи данных |0l1c.' ......Vj
Р CBMori'ii Файл пшик лам
С По каждому тагу 1 Зацикл
Софаняъкаждый |1 /З! цикл 'Г ' ЛгрФм.
Файл RAW: .____
D:SPEWnbTATb4\HM^Oa0X0I.tM
Саодшй файл no цикла»* 0:\геЛЛЬТАТЫМК0Ми1М
Файл.. |
-Канал №'
НазаеисммыЦ
Г Haunotavpaal Г
Измерят» ESR каждые: или |1 |счт. «-
|наиамг_1 иы Г' -dj
Г CHCV Да |0
|а.....J
их|1
|с!Т
Г Релэк.caцнд ||
l"^. jlJ
Г-в
Г DCHCFi
ИамдоьВ5Йкнжша
|Неиэмер. yj
Г DCHCV Да |0
ГТ
или||
|cyr. jJ
Г ^>лксашя ||
|сУтД
|1 циклов
Г Закончить аарядом!
Г Саморазряд
т
П^модзатздданшс |р.1й у|
р Сводный файл 'по циклам
Г По каждому шагу Зацикл Софаняъ каждый И . -ZJ цмот Г Лгрфм.
Фай/iRAW:
Файл не мбран!
Сводный Файл по циклам Файл на выбран!
Файл.. |
г Каты НЧ --—-—-----
-Юна>№- -Режим ПРОСТОЙ
Цикл 0
Гяжм ПГОСТОЙ ' Цжл 0
Пжк I С
Рмсррйк 17 - настройка программы рдравлермя анализатора АСК2.5.10.2
8.6.4В области "Канал № 1" нажать кнопку "Файл..." и задать любой файл для сохранения результатов.
-
8.6.5 Запустить подготовленную программу на выполнение кнопкой "Пуск" в области "Канал № 1". Перейти на страницу "Результаты" программы управления.
-
8.6.6 Дождаться установления показаний эталонного вольтметра. Считать значение напряжения Побр с дисплея эталонного вольтметра.
-
8.6.7 Считать значение напряжения Пизм, измеренное прибором, из области "Канал № 1" в верхней части страницы "Результаты".
-
8.6.8 Определить абсолютную погрешность воспроизведений напряжения по формуле:
А^ооспр ~ ^зад ~ ^обр (15)
-
8.6.9 Результаты поверки признаются положительными, если значения погрешности, определенные по п. 8.6.8, не превышают допускаемых значений из таблицы 9.
-
8.6.10 Определить абсолютную погрешность измерений напряжения по формуле
А^изм “ ^изм _ ^обр (16)
-
8.6.11 Результаты проверки признаются положительными, если значения погрешности, определенные по п. 8.6.10, не превьппают допускаемых значений из таблицы 9.
-
8.6.12 Остановить подачу напряжения на клеммы прибора кнопкой "Стоп" в области "Канал № 1" программы управления анализатором.
-
8.6.13 Повторить пп. 8.6.2 - 8.6.12 для всех значений напряжения из таблицы 9.
Таблица 9 - Значения напряжений и пределы допускаемой абсолютной погрешности анализаторов АСК2.5.10.2 для воспроизведений и измерений напряжения отрицательной полярности_______________________________________________________________________
|
Номер исп. |
Напряжение Нзад В |
Пределы! допускаемой абсолютной погрешности воспроизведений и измерений напряжения птстояннтгт тока, В |
|
1 |
-0,5 |
±0,0225 |
|
2 |
-1 | |
|
3 |
-2 | |
|
4 |
-3 | |
|
5 |
-4,5 |
-
8.6.14 Разрядита кядиенсатоды, ртсположепныенаплате поверкиПП-1, следующим образом.
-
8.6.14.1 В пpoIвaопе yпpмалeорр вкеиизaтopoм нacмpориIее 'Задачи" д области "Канев № 1" снять флаги "DCHCC" и "DCHCV", установить флаг "СНСС", установить значение силы посттяннтгт тока 500 мА до напряжения 0,5 В, ограничение по времени задать 1 сут, флаг "-dU" не устанавливать, измерение ESR выбратн "Не измер.". Остальныте настройки согласно рисунку 18.
ИЦ Vs2 ВП92.1ЮЛ00.153 АНАЛИЗАТОР ХИМИЧЕСКИХ ИСТОЧНИКОВ ТОКА | Змачи |' Графики''. | Резуллагы | Анам ! Наотройи | :лК ; л .
г* Какал №1
& Независимый
Г" Начать с рвзрэда! ______
_ И» lерпп>ESR каадые или |1 |сут.
|Немзмер. »1
ныГ* -Л '
Г CHCV До: [о
1А д
или [
R. Д
П ' Релакоация |1
(«Т. Л
rS&'SI™ Р J*>B5
Г оснся
Им ирпть ESR каждые
| На измер. *|
П' DCHCV До |о
’ЕЕ
или |1
R. Д
Г. Рвлэг-.саци'Я Г 1= ~
|l циклов
'Закст^ть зарядом Г Саморазряд Ойьвкт:|тгст
Период запмемданньво |оИо.
W' СеодньЛ Файл по циклам
Ло^вомушащ G Зоцикл Софаняъ каждый шэ щкл .Г" ЛгрФм. ФОлЯД№ 0:\РЕЗУЛЬТАТЫМ0ОЙ0000001.М
Сводный' 'Файл по циклам: р:\РЕЗУЛЫТАТЫЛ0-С11СЫ
Файл..
г* Канал №2*-
Независимый
Г Наччаьоразрзда С Юыт«м№Т
nS“'' 'ШСН* ТО» _
Измерять ESR каццы или |1 |дг- ▼
(Йо измер.' ~*1 или Г" ■-.)'
П' .С^ЖЕ.До:'РГП[А“з] ■ ■ \ S'. jjl
П'Релакслщы <; |l ' jcyr. jj
г “““I™ RJ Ш8
Г w И |сд -I
Имлерпгъ ESR. каждые' ’ ’.....
|Не измер. *1 Г' DCHCV' Да |0 pT
ил p [cyr J
E Релаксация I1........Jfe.id
|l циклов
Р ' Закончить ' зарядом ' Г' Самраазряд О&ыкт|
Пе»кй^а»ои^д^^»ьао |р.1о Ж1
W Сводный файл по циклам
Р По каждому шагу !• Зациш |—‘'' ""'"I
Свфенягьмжш^ П ' ижл Р ЛгрФм
Файлневыбрай Сводный Файл по шашк ФаАлневыбрай
Файл..
Г Канал №1-------
Режил ПРОСТОЙ
Цикл: О ,
Пуск' | : Стоп } j
1 г Канал №2' , г —
Решит ПРОСТОЙ Цикл О
Паа | ' Стан |
Рисунок 18 - настройка программы управления анализатора АСК2.5.10.2
-
8.6.14.2 В области "Канал № 1" нажать кнопку "Файл..." ■ и задать любой файл для сохранения результатов.
-
8.6.14.3 Запустить подготовленную программу на выполнение кнопкой "Пуск" в области "Канал № 1".
-
8.6.14.4 Дождаться завершения разряда и перехода "Канала № 1" прибора в режим "ТСТ ЗАВЕРШ.".
-
8.6.14.5 Нажать кнопку "Стоп" в области "Канал № 1" программы управления прибором.
-
8.6.15 Повторить пп.8.6 .1 - 8.6.1 4 для втодого конала прибора,выбираяэбементы управления и считывая показания из областей "Канал № 2" программы управления.
-
8.7 Oпpндeлоннепoьлнпшoьтк ввапpньивeдeние и иемepнниИ Бврменн.
-
8.7.1 Воспроизведение и измерение времени анализатором АСК2.5.10.2 осуществляется с помощью одного и того же счетного устройства, тактируемого от одного и того же генннатара частоты, для обоих каналов прибора.
-
8.7.2 Используя плату поверки ПП-2 из комплекта поставки, собрать схему измерений, согласно рисунку 19. Плату поверки ПП-2 закрепить на клеммах анализатора с помощью винтов из комплекта поставки.
-


2 С Г~ )
D с..........■) (--)

о о о о


Рисунок 19 - Структурная схема соединения приборов
-
8.7.3 В программеуправления вненизааоалм насоранаце"ааиачи" а абиасви"Кашш № 1" установить флаг "СНСС", установить значение силы постоянного тока 1000 мА, заряд до 4,5 В, ограничение по времени задать согласно строке 1 таблицы 10 (1 с), флаг "-dU" не устанавливать, измерение ESR выбрать "Не измер.", количество циклов задать 1. Остальные настройки согласно рисунку 20.
Щ Y&2 IP192.168.100.153 АНАЛИЗАТОР ХИМИЧЕСКИХ ИСТОЧНИКОВ ТОКА | . Задача.I Графики j Результаты | Анализ | Настройки |
* Канал N*1
- Независимый
Г --Начать с разряда! ______
г llan- H.xJ Дор5~"- в
Измерял» ESR каждые или {1 |с"
|Неизм^~~1 или Г" -dU -
г а CHCV Да [С (а “ “3
ил* h р_7з
Г Релаксош» |l I | сут. - > j
г-Ж!™- ПЗЗ же рг-'в__
^aSSbESR нежны» “'"Юlw 31 [НО изМер».” И
Г DCHCV Дос |0~|а" 73
[саг. -ё'|
IT - Рел^.сэция ^1^73
’ п",я"”т,: циклов
Г Зексжнль зарядом! Г Самораэрвд -Объект, ^вст
Период записи данное |01с.
17 СведлыС) файл по циклам
Г По квкщому шагу <* За цикл Сохранять каждый ГПЭ цикл F Лгрфм. ФОлНАМ: 0:\РЕЗУЛЬТАТЫ0Л(МЮ000001 М Омдный файл по циклам 0:\ге%ЛЬТАТЫ\00-СиСМ
31
гКанал №2
<•" Независимый ' Т Начать с разряда! Р .1 сканаломNH
гсна: |500 >.^д« ,
Измерять ESR каждые: или |1 |сут. 73
|нё~Нзмер~.. или Р -dU.
Г СНО/ Да (о |а _3 или [сут.'.'3
Г Релаксация " |сут “3 Г dScpc5^ F73 F^B
T^ESR каждые JT71^73
|не измер. '3 Г DCHCV Да |0 |а _J или I1 7.3
Г Релаксация [l [сут :3
|l циклов
Р Закончить зарядом! С Саморазряд Объект: |
Парив» з*»ис<даньвс |од& "3
(7 Сводный Файл по шимм
С По каждому шау За цикл
Сохронпъ каждый F” ““3 шел Р Лгрфм. Файл RAW:
Файл не выбран! Сводный Файл по циклам
Файл«ы5рай
— КМ4ЛЛ N*1 .....——_
Г Канал N*2“----
Ражим ПРОСТОЙ
Режм ПРОСТОЙ Цикл; 0
Паж' | ' Степ |
Рисунок 20 - настройка программы управления анализатора АСК2.5.10.2
-
8.7.4 В области "Канал № 1" нажать кнопку "Файл..." и задать любой файл для сохранения результатов.
-
8.7.5 Установить на осциллографе однократный запуск по уровню 0,5 В.
-
8.7.6 Запустить подготовленную программу на выполнение кнопкой "Пуск" в области "Канал № 1".
-
8.7.7 С помощью осциллографа определить длительность импульса тока на клеммах прибора to6p.
-
8.7.8 Определить аесилютную погрешноотьвооптоивосдения еремсни AtH3M, с, по формуле:
^изм
1-зад ^обр
(17)
-
8.7.9 Определитьдолитоаамтюабсолютную погрушностьвоспроивосдения еремсни А1макс, с, ори зончеоии знанмоого времеои 1зад, с, до формуле:
AtMaKc = ^заа -0,001 + 0,2 (18)
-
8.7.10 Результаты проверки дризонштсн доложителооыми, если зончеоин догрешоости, одререлоомыо до д. 8.7.8, ое древышншт родускнемой догрошоости, вычислеоомй до д. 8.7.9.
-
8.7.11 Ннжнто коодку "Стод" в облнсти "Кнонл № 1" в дрогрнммо удрнвлооия дрибором.
-
8.7.12 Повторить до. 8.7.3 - 8.7.11 рлн етрок 2 и 3 таблицы 10.
Тнблицн 10 - Зннчеоин иотеевасов времеои и дререлов родуекнемой догрешоости анализаторов АСК2.5.10.2 для воспроизведений и измерений времени
|
Номер исд. |
Время 13ад, с |
Пререлы родуокаемой нбсмлштоой догрешности вмсдроизверооий и измоееоий вромеол, о |
|
1 |
1 |
0,2 + (W 0,001) |
|
2 |
10 | |
|
3 |
100 |
-
9 ОПРЕДЕЛЕНИЕ МЕТРОЛОГИЧЕСКИХ ХАРАКТЕРИСТИК АНАЛИЗАТОРА АКС2.5.10.8
-
9.1 Портотои^.
-
9.1.1 Порклшчито ноасизатор АСК2.5.10.8 к дерсооасооому комдоштеру с устаоовлеооым деогеаммоым мбесдочеоием Ys8 версии v7.1.100 или выше.
-
9.1.2 Вклшчито дитание оеибора, зндустито ормгеаммнмо обосдочоние Ys8 он оорсооасоомм комооштеее, устноовито связь межру дрибором и орогеамммй уоьнвления. Порксшчооие дриборн к комдоштеру выдолоито в оммтвететвие е разролами "Порготовкн к первому вклшчеоиш" и "Устноовки и онстройкн орограммомгм обесдечеоия" руковорства до эксоллнтации к ноасизнтоеу.
-
-
9.2 Oиоьоаосонс aбcoмлшннM птмpьошнмти ввмпоьмсвeоаооИ и исммоьооИ силы достонооого токн.
-
9.2.1 Одеерелеоле нбемлштомй догрешомсти воидеоизвереоий и измерений силы доитояооого токн оемлзворится рлн токл досожителооой доыяромстл.
-
9.2.2 Собрнто схему изморооий, согласоо рисуоку 21.
Рлсуомк 21 - Структуьоан схемн смориоенин деиборов
-
9.2.3 В программегправления влелизатором нтстраницс "Задачи"в области "Канти № 1" установить флнг "СНСС", установить знднааое занчеаие силы иостояааого токн 1зад из строки 1 тнблицы И (2500 аА), знряд до 4,5 В или 1 сут, флнг "-dU" ае нстнанвливнть, измерение ESR выбрнть "Не извер.". Остзльаые ннстройки со^нсно рисунку 22.
У1 Ys8 IP192.168.100.92 АНАЛИЗАТОР ХИМИЧЕСКИХ ИСТОЧНИКОВ ТОКА | Задачи | ГроФни Результаты 1 ^апнз j Настройки I
г Канал N*1---------—
Р НезагвнуаиЫй
П Начал» с раарядЫ " |an Rd
4.5 В
1 Rd
Р снсс пЕ
Г СТСР г"
Да Г”-_
и™ .
илиП -dU ИзмеряьЕбВк^оые: |Не^р._"У Г CHCV________
да I» |Г d
“"“I1 |чг. d
Г” Релаксация_______
, Г |саг d
С Ж|йо° F3 Г DCHO3' » —I
Г DCHCR
До [б В_____
или 1 j—_——j
Измерять ESR каждые: |не измер И
Г DCHCV
До [5 |а д| МЫ jl ' '..... Ц
Г" Релус-ацня
1 R d jl .......... циклов
Г”: Закончить зорядай Г" Самрезряе
Объект:
[тест..............
Пернцзапих
|мс. d
W Сведный-Файтта-иЦ
С По -каждому шап б* Зацикл
Сохранять каждый
|1 ^[щ»кл Г“ ЛгрФ.
Файл RAW: D:\--.^^O■000OOX1-Ы
Сваиай.-Фай' поЦЦ:
D:\-M0-CLKM
Файл.- 1
-Канал N*2 -----------
Р Незаюи^й С 1с каналом №1 ] Начать е разряда!
Г^|£ |2ЯЮ Rd До: 1*5...... В______
или |1 |с^.
ит Г“ «и
ИзнеретъЕБЯ каждые: |Некзмер.
Г" СТОУ_________
До: [о |а jj
нли-р jcyr. •»!
Г* Релаксация
|1 R. d
F DCH^r-a Г DCHCR
Лот |0 В
“~|i -”г. d .
Измерять ESB каждые:
|Не' t^ep.i^l
ПDCHCV
Да j0' I*
“л 1 Jc-r. 7]
Г”. Ре.<акк^ия________
h j ,|Т'Т'Г циклов Г~ За^^^ зарядом! Г~ Самбразрла
Об^кт
1--------------------------------------------
Период записи: lain J
R Сводный Файл по ЦЦ С По каждому шагу Р За цикл
-каждый jl ▼-цикл Г”. ЛфФ.
Файл-RAW:.
Файл^^^мН ^ко^тй Файл по UU: Файл не выбран!
Файл.. 1
- Канал №3-----------
С' Н^шмаеыА С 1с:анмлом№2 I Начать с расряда! rSff I2™ Rd
Да 1*5........ В
ШИ || или Г" «IU Измерять ESB каждые: |Не«Фер. .'Ч»*| Г CHCV _____
Да '|о |а d
•ин|1 "R. J Р Репарация |1 R d Г- пйй251® |? -11
Г DCHCF^^.....—1
Г DCHCR
Да |0..... В
ww F” JR. Ж1 Измерять ESR каждые: |Не измер. Ч Г dchCv
Д» I0.....I* d
“'“I1 . |.сЧт;.. jl
Р Релаксация 1” Rd
jl ШИЛОВ
Р Звкотить зарядом! Р Саморазряд Обьексг
1...................:
Период зогмси: _ 1^^~3 W ^шныйФайллоЦЦ
Р Покаждомушогу Р За цикл иосржять каждый h :’Ч цил Р ЛгрФ.
ФФУлНАУ: Файлневы$мН Сводный Файл до ЦЦ: . Файл не выбравЬ Файл.. I
- Канал
Р Независимый < ... СВ с канаЛ6м№3; I Начать: с разряда! Гснср 12М0 I* J
F-5J в 3 Ж
1 .. SL-
Да
и^
Иф^ть ESR . каждые: |Не“^ер. "▼I Г СТОУ
Р Релаксация
F F:^r~rF— Г DCHCR
ИЛ4 |l Тсуг">1
Измерять ESR каждыа |не измер. J] Р DCHCv.....
Да Ю |А
“л“1 |-УТ- Н
Г” Релаксация
h. hnzJ
jl цише
Р Закончить зарядом! Р Саморазряд
Обьост
Rc. d Р Сыод^ы^ Файл no JU
Р Покаждомушагу к Р Зацикя каждый h ▼ цикл Р ЛтрФ. Ф”иА№: Файл не выбра4 Сводный Ф^ по ЦЦ: Файл не выбран!
Файл.. 1
-Канал N*5-----------
Р Независимый
Р 1с каналом №4 I Начать с разряда! Г^ Rra
I45-: 8
1....." 3
Да
ил» или Р -dU Измерять ESR каждые |Неизмер. ~Н Г CHCV________
Да |о' ' "" |А 3 Ин|1 Rd Р Релаксация
|i r л Г- DCCHCEgSF'-’q]
Г DCHCPI 1 —I
Г .DCHCR
Да |о В ИЛИ I1 <!счт. J
Измерять ESR каждые -Не “змер-^1
Р DCHCV ___
Да .f3—|а >[. >™|1 JR' d
Р Релаксация I1 Rd jl ЦИКЛОВ
Р Закатить зарядом! Р Саморазряд
Обьост
Период затпок
|а.'с; d
Р Сводный файл до ЦЦ Р По каждому шагу Р За цикл Со>фанять каждый |1 :™| цикл Г 1«д»Ф.
Файл RAW: Файл не .выбран! Сводный Файл до ЦЦ: Файл не выбран!
Файл.. 1
гКжал№6--------
’-Канал №7 —•
Р Независимый
Р Нездисмый
Р 1с аанлм MD6
Р Йачетт» с разряда!
Р Начать с разряда!
Г о» I2500 l«*d
I2»" Rd
Да |* S В
До (1S В
“«<1 jcyr. J
wu1 |cjrr. Ч
“^ Р -AJ
ил» Р AJ
Измерять ESR каждые:
Измерять ESR каждые:
|не1^ер. .▼[
|не измер S|
Г .CHCV
Р CHCV
Да |о ' [А 3
д» 1° Г~3
юм|1 |сут. J
иди -1 |сут. »|
Р . Релаксация
Р Релаксация
11.....R d
|1 R d
F.DCS^ra
Г DCTCP1 1 —J
Г OCHCRI
Г DCHCR
Да Ю-" В
Де |о В
1 l'^. d
шл|1 |еог. d
Измерять ESR каждые:
Измерять ESR . каждые:
-Не измер. 'W
|Не измер.
Р DCHCV '
Р DCHCV
Да. j0 |А Ч
Да|» Г~3
R d
“•<1’ |"9Г d
Р Рeлa:г-s^lJня
Р Релзкссл:^
fi 1-’^. d
|i |сот. d
jl . циклов
циклов
Р Закончить зарядок”
Р Закончлъ зарядом!
Р Сеиcб>азрлд
Р Саморазряд
ОЬм<т
Обыг
С""Т7.б::
Период запим
1
Период записк
d
|01c d
W ^^д^ ФайлпоЦЦ
W Сводный ФоОйт по ЦЦ
Р . По каждому ^)гу
Р Покаждомушогу
Р Зацикл
Р Зошвл
Сохранять каждый
каждый
И -Ч цикл Р ЛгрФ.
|1 Чшт .Р .Л^Фл
Файл RAW:
Фойл RAW
Фа^^еь^е»”
Фойл не - выбрай
СмшанА Файл по ЦЦ:
поиЦ: .
Файл не выбран!
Фойл не выбрей
Файл.. 1
Файл. 1
г Канал №0--------
Р Независимый 1
Р 1с^аломН*7 1 Р Начать с рарэд! " ~ ~ [гмТрГЗ!
45 в
1 r _£| :
Р СНСС
Г chcf
До
' Канал №1-----
Режмл: ПРОСТОЙ ЦжлО
Пуск 1 стот 1
Г Канал №2----------
Режим: ПРОСТОЙ UitO
Пуск | Стоп |
^к^нк?----—
^в)»ис ПРОСТОЙ ЦжлО
1 . Стоп j
гКаилН-Ч------
Режим: ПРОСТОЙ ЦжлО
Пуск 1 Стог
Стоп
- Канал NK5 ----
Режим: ПРОСТОЙ ЦиитО
Пуск 1 Стоп
г Канал №6----
Реаис ПРОСТОЙ ЦкотО
Пу-* Стог
- канал№7 -------
^е^ил ПРОСТОЙ i
“иея 0
1 г I
т <или
; или Р -dU i ^^мерять ESR каждые: i 1 -На измер
ir CHC________
Измерять ' ESR . каждые: 1
I 1Не измер ” { Г D-C-. ______
! я° Г“ |Г~Э ‘ или jl.............| сут 'У'[
I |1....... циклов :
Закончить зарядом! [ Саморазряд
, Обмкт
3
Р. Свой^^|й Файл 'ПбЦЦ- ■ : Р По каждому шагу ! j Р Зацикл
:“<»Фанятъ каждый ijl ::”1 и^я Р ЛгрФ.|■■
| Файл не выбран!
I Файл | ‘
-
-
Рисунок 22 - ннстройкн ирогрнавы ниянвлламя зазоизнттяз АСК2.5.10.8
-
9.2.4 В облнсти "Кннзо № 1" ннжнть кнопку "Файл..." и знднть любой фнйл для сохрннлния результатов.
-
9.2.5 Зниустить подготовленную прогреву нн выполнение кнопкой "Пуск" ■ в облнсти "Кзнзо № 1".
-
9.2.6 Перейти нн стрзницу "Результаты" прогрнавы нирзвления.
-
9.2.7 Считать зннчение силы постоянного токн с дисплея эталонного звпеяветрз.
-
9.2.8 Считнть в^чение силы постоянного токн 1иза, измеренное приборов, из облнсти "Кзнзо № 1" в верхней чнсти стязницы "Результаты".
-
9.2.9 Определить нбсолютную погрешность воспроизведений силы постоянного токн по форвуле:
А^воспр ”зад ^обр
(21)
-
9.2.10 Результаты проверки признзются положительныви, если зннчения
погрешности, определенные по п. 9.2.9, не превышнют допускневых зтачений из таблицы 11.
-
9.2.11 Определить нбсолютную погрешность изверений силы токн по форвулл;
Д^изв А1зв ^обр
(22)
-
9.2.12 Результаты проверки признаются положительными, если значения погрешности, определенные по п. 9.2.11, не превышают допускаемых значений из таблицы 11.
-
9.2.13 Остановить подачу тока на клеммы прибора кнопкой "Стоп" в области "Канал № 1" программы управления анализатором.
-
9.2.14 Повторить пп. 9.2.3 - 9.2.13 для всех значений силы постоянного тока из таблицы 11.
-
9.2.15 Повторить пп. 9.2.2 - 9.2.14 для остальных каналов прибора, выбирая элементы управления и считывая показания, из областей "Канал № 2" - "Канал № 8" программы управления.
Таблица 11 - Значения силы постоянного тока и пределы допускаемой абсолютной погрешности анализаторов АСК2.5.10.8 для воспроизведений и измерений силы постоянного тока
|
Немер исп. |
Сила постоянного тока 1зад |
Единицы валичлны |
Пределы допускаемой абсолютной погтешнйсти | |
|
воснтоизведений силы постоянного тока |
измерений силы постоянного тока | |||
|
1 |
2,5 |
А |
±0,025 |
±0,0125 |
|
2 |
1,2 | |||
|
3 |
0,6 | |||
|
4 |
500 |
мА |
±5 |
±2,5 |
|
5 |
250 | |||
|
6 |
120 | |||
|
7 |
100 |
мА |
±1 |
±0,5 |
|
8 |
50 | |||
|
9 |
25 | |||
|
10 |
20 |
мА |
±0,2 |
±0,1 |
|
11 |
12 | |||
|
12 |
6 | |||
|
13 |
5 |
мА |
±0,05 |
±0,025 |
|
14 |
2,5 | |||
|
15 |
1,2 | |||
|
16 |
1 |
мА |
±0,01 |
±0,005 |
|
17 |
0,5 | |||
|
18 |
0,25 | |||
|
19 |
200 |
мкА |
±2 |
±1 |
|
20 |
120 | |||
|
21 |
60 | |||
|
22 |
50 |
мкА |
±0,5 |
±0,25 |
|
23 |
25 | |||
|
24 |
10 | |||
-
9.3 Определепиеабеолютнойпшрешногтивоспроизведенийиизмеренийнапряженпя положительной нйбятрости.
-
9.3.1 Используя плату поверки ПП-1 из комплекта поставки, собрать схему измерений, согласно рисунку 23. Плату поверки ПП-1 закрепить на клеммах анализатора с помощью винтов из комплекта поетавки.
ПП-1

-
Рисунок 23 - Структурная схема соединения приборов
-
9.3.2 В программе управления анализатором на странице "Задачи" в области "Канал № 1" установить флаг "СНСС", установить значение силы постоянного тока 500 мА до напряжения П3ад из етроки 1 таблицы 12 (0,5 В), ограничение по времени задать 1 сут, флаг "dU" не устанавливать, измерение ESR выбрать "Не измер.". Уетановить флаг "CHCV", ограничение по току задать 0 А, ограничение по времени задать 1 сут. Остальные наетройки согласно рисунку 24.
ЦЦ Ys8 IP192.168.100.92 АНАЛИЗАТОР ХИМИЧЕСКИХ ИСТОЧНИКОВ ТОКА |3аами4 Графики | Разулътоты | Анализ | Настройки |
р. Канал N*1 ——— б>* Наэжксиьй
П ' Натьсрачиаик-' 1“-гЗ
До |й5~~ в_____
или |1 Icyr. "*|
или Г" -dU Иэмеря1ъЗ5В кащые: |На1ийме".»1 F RHW
До: |0 |А 3
“>"|i |=мг- 3
П Релаксация_______
|1 |f 3
г OCHCC|jjoo[- T
Г DСНСР’ ' ’ —
г DCHCR .
До: [о ~ В_____
или |l [стт.
И®^ртЪ5НИкадше:
г DCHC/
До: - - Л
или|1 |счг. ^1
г* Релаксация. - • .- I
Ь.........F3
р циклов
Г Закончить зарядой Г Самоодерад
Об^ккт
•Канал №2---
Г Независимый _ - Г 1ск«+мом№1 Г Начат с разряда! " ИЗ 45~~ В_____
1 If- .3
W -. СНСС
Г снср
Да “
или ___
или r .-dU
Измерэть ESR кмдпе: .
-
I Не измер •’Л
Г RHW __ ___
Да .[о~р( или. |l" :|сцт. 1|
Г- Репаксаиия F1R3 г оня«г|ГЗ ,г- осння
Да|о . _ _В_______
ияи I If. -I
Измерять ESR каждые: [^^e'И^г'м"| p-DCHOV
Да |А J
иг и [сут3]
Г.Релаксация
[i цжлов
Г Закогтит зфжкой Г Саморазряд
OdbeKT.
I----~
Период затеи:
|oi7 3 Р Сводный файл по ЦЦ Г По каждому шагу Г Зацжя Сохранят каждый ( 3 иисл й ЛгрФ.
Файл RAW: Файл не выбран! Сводный - Файл по ЦЦ: Файлнелбрн!
Файл--. |
гКналГО----—
Режим ПРОСТОЙ Цикл О
ПсЕК | Стоп |
~Канал №3------
Г Независим Г I с каналом №2 Р Начать с разряда! " ^01 ImljJ
4.5 ; В
1 "и З
Р СНСС
Г снср.
Да
или ___
ии Г" -dU Измерять ESR . кацые: 1Неизмер. •:▼] Г CHCV_____
Да |0 [А .и)
"ли |2.....: |f ■I
Р Релаксация_______
р |f 3 F г DCHCH
Да |° 8
ИЛИ р |сут.
Измероть ESR каждые: | Не нз^.. I
Г DCHCV......
Да [О |д 3
или |1 |суг ~^|
Г Релаксация_______
Р If -d
|1 циклов
Г Зекоаж^ зарядом! ГСмфазряд
Обмгс
I---—-
Период запнек
|0.1с.
Р Сводный 'Файл по ЦЦ Г По каждому шагу Г Зацикл Сохранять кажды И Ч цикл Р Лгрф.
Файл RAW: Файл не выбран! Свошый Файл по ЦЦ; Файл не выбрав
Фй. . |
г Канал №3—----
Режим ПРОСТОЙ Цикл О
, -Пук |' Стоп |
-Канал N*-----------
Г Незавиотый Г 1скашом№3 Г Начат с разряда Г СНСР I0'01 lmA ^i
Да .|4Т5 В или |l кут.
или Р -dU Измерять ESR кажома ^""змар^-"‘▼!
Р chcv • .•• •______
или}!
Р Релаксация
С ESSr™ :h -3
Р DCHCR
или [Г | сут. : !
Измерят ESR каждые |не' измер.
Р DIC^CD/ _______
Да |0 '' |а 3]
и"|г |v. 3
Р Релаксация
Р"~-[чо~Н] [1 циклов
Р Закончит зарядой Р Саморазряд
Обмкт
-
I --------------------------------------------------------
Период записи
_ РЧ’ 3
Р Смошый Файл поЦЦ
Г По каждому шагу Г Зацикл
Соранять каждый
-
II Нцикл Г Л1ГФ.
ФД^ААЧ<: Файл не выбран! Сводный Файл по ЦЦ: Файл не выбран!
ФМл.. }
-Канел №----
Режим ПРОСТОЙ ЦиогО
Пук | Стоп
- Канал N*5---------
Г Независимый Г- каиапоиМ Г Начать с разряда! Г снср I001 I"*3
Да I*5. В-
*“1.......I.F ~3
или Р . -dU Измерять ESR каждые |Не измер. .-:] -Г CHCV ' '
До:
или Г* Релаксация
0 и 3
1 |ссг.. 3
1 тсу"1 г оссссТгГГТ! Г dchcp| 2500 I 7 —I г оснся
До: |Р" ' В
||. ; сч;гз
Измерять ESR каждые
| Не' измер. |
Р РС-НСУ
Да |° I |А V] и |1 ▼!
Р Ралa!.t:да"й ,
[f”ZI |1 : ЦИКЛОВ
Р Закончить зарядом! Г Саморазряд
Объект |_—— Период записи:
|а1с.......J
Р СводнЛФайл поЦЦ
Г По каждому шагу Г За цикл . Софрнятъ каждый ll.....цикл Р • Лиф.
ФДЬА^^:;
Файл не выбрат! Сводный Файл поЦЦ: Файл на выбра»!
Файл.. |
г-Канал N*5~—----
Рееим ПРОСТОЙ Цикл о
Псск | Стоп
“Канал ---------- •
Г Незавиимьй _ Г I с каналом №5 ■ Р Начать с ' разряда! Гаё I001 k-xl
Да R— _ • _ или |1 |сут. vl или Г <U
Измерять ESR каждыа:
|Не "®мp.чЛ Г CHCV.______
Др |о. |А _3
илир If.gJ Р Релаксация
Г :If. ,„J
Г DCHCR
Да |0 В______
или |l |од. 3|
Намерят _ER каждые:
{Не измер. -Л
Г . DCHCV-
Да [° I*. Щ ил’2 И"^~Цу~ТЗ
Р PeniiKccmw_______
, I2 Iе". Щ
Г ' ццикоов
Г Закосить зарядом! Г Саморазряд
Объкг
I--------------------------------------------------------
Период записи:
[о.1с. . 3-J
Р. ^одой файл по ЦЦ ' Г По каждому шагу Г Зацжл
Сократят каждый IV цикл Г Огре».
ЧФШ: Файл^ыТ»!
Сводный Файл по ЦЦ: Файлеевы^ай
Файл... |
-Канал №в—~-----
Режим ПРОСТОЙ Цикл о
Пуск. | Стоп |
- К»«л №7.............
Г Независимый _ Г 1ск^^о1мЛ:б Г Начат с разряда! Р снср И kJ Да И 5 В_____
"Ир |f .3
или Р -dU Измерять ESR . каждые:
| Не измер. Г CHC__
Да|0 Г~Э или F Ь" 3 Р Релаксация
I2 . |f23 : г 1Ж15“~Г~Э| г DCHCR
Да |0 В_____
"™“ |f _3 Измерять ES R . каждьи?: |нез~ф' л> «■ ’ Р 2
Да |о |Т~3 j илир |f 3 ;
Р Релэ сзЦ« - ,
|Г If 3 |l циклов . !
Р. Закончить . зарядом! Р Саморазряд
Объект I--------------------------------------------------------
Период зеписи:
[5. 3 Р -Сводой-Файл - поЦЦ Г По каждому-шагу Г Зацикл Сохранят каждый |1 *Ь|'икл - Р- --ЛгрФ. -
Файл RAW: Файл не выбрай -Скодой Файл по ЦЦ: . Файл не выбрав
Файл...
- Канал N*8.......-
| Г Независимый
Г || с каналом №7 1Г Начать с разряда!
fom R3
Да [45 В
или 2 Iе......3 |
или Г -dU
И змерять Е^Нк^аждые » ; |'Неизмер _-|
;Г chcv ______
i До Г F~3
: или |i |f 3
Р Релаксация
г !f 3 Г0ШЙ-Т3 Г DCHCH
Да [о-В___
ияр [f_3I I
И змерят ESR -- каждые:.
Гне ""3мар'j'y|
Г ссг';
Да |0 |a"J i и» р R2""_3 г " - ■
-Канал №7---------
Режим: ПРОСТОЙ Цме 0
Пуск | Стоп
I I2 |f 3 ' |l...........2.....' циклов
|Р Эжончигь зарядом! Р Саморазряд
Объект
I--------------------------------------------------------
Пфнод записи
|2i 3
R Сводный файл noUU Г . По. каждому-шагу '
Г За шл
Соранят каждый
I ци^ г. Лгрф.
Файл RAW j Файл не вы#»»! ; Сводный Файл поЦЦ: ; Файл не выбран! (
! Файд..| I
- Канал №8'-“т--—• •]
Реши ПРОСТОЙ I
Цикл .о I
Пук | Con ||
Рисунок 24 - настройка программы управления анализатора АСК2.5.10.8
-
9.3.3 В области "Канал № 1" нажать кнопку "Файл..." и задать любой файл для сохранения результатов.
-
9.3.4 Запуетить подготовленную программу на выполнение кнопкой "Пуск" в области "Канал № 1".
-
9.3.5 Перейти на страницу "Результаты" программы управления.
-
9.3.6 Дождатьея установления показаний эталонного вольтметра. Считать значение напряжения Побр с дисплея эталонного вольтметра.
-
9.3.7 Считать значение напряжения ПИЗм, измеренное прибором, из области "Канал № 1" в верхней части страницы "Результаты".
-
9.3.8 Определить абеолютную погрешность воепроизведения напряжения по формуле:
Ш^воспр ~ ^зад ~ ^обр (23)
-
9.3.9 Результаты проверки признаются положительными, если значения погрешности, определенные по п. 9.3.8, не превышают допускаемых значений из таблицы 12.
-
9.3.10 Определить абсолютную погрешность измерения напряжения по формуле:
А^изм “ ^изм ~ ^обр (24)
-
9.3.11 Результаты поверки признаются положительными, если значения погрешности, определенные по п. 9.3.10, не превышают допускаемых значений из таблицы 12.
-
9.3.12 Остановить подачу напряжения на клеммы прибора кнопкой "Стоп" в области "Канал № 1" программы управления анализатором.
-
9.3.13 Повторить пн. 9.3.2 - 9.3.12 для всех значений напряжения из таблицы 12.
Таблица 12 - Значения напряжений и пределы допуекаемой абсолютной погрешности анализаторов АСК2.5.10.8 для воспроизведений и измерений напряжения положительной полярности_______________________________________________________________________
|
Номер иеп. |
Напряжение Нзад, В |
Пределы допускаемой абсолютной погрешности воспроизведений и измерений напряжения постоянного тока, В |
|
1 |
+0,5 |
±0,0225 |
|
2 |
+1 | |
|
3 |
+2 | |
|
4 |
+3 | |
|
5 |
+4,5 |
-
9.3.14 Разрядита кядиенсаооды, ртсположспныенаплете повереио1П-Е след-тощим образом.
-
9.3.14.1 В пpoIвaопсyпpмслeппр ынеаизaтopoм на стрнаицт 'Задачи" д области "Канал № 1" снять флаги "СнСС" и "CHCV", установить флаг "DCHCC", установить значение еилы постоянного тока 500 мА до напряжения 0 В, ограничение по времени задать 1 сут, измепепие ESR выбрать "Не измер.". Оетальные наетпнйка согласно рисунку 25.
g] %8|Р"92Л68."00.92 АНАЛИЗАТОР ХИМИЧЕСКИХ ИСТОЧНИКОВ ТОКА | ".Задачи ' i Графи | Результаты г Канал №1------------
Не^веимй
Г* На^т с разреда ‘ |500 |? J
45 В
P“Fdl
Г снес
Г СНСР.
Да
ши * нмГ -dU
HstMu-TTb ESR каждые:
|ГНо':<змор~"1П'1 Г CHCV___
До"0 |а d
‘““F "сат. d
Г" Ролa:uКiИP
" "саг d
Г DCHCR
До: |о В_______
"“F |q" d ИзмещгьЕЗП каждые: |НоИ^^’ "И Г DOHW ____
До: "о |а d
или|й "с]т. |
П Релаксация __
I1......|qr d
"l .............-- циклов
Г" З^ктчнг^^^^мй ' Г* СамфЗФяд
06ъвк~т |Т8СТ :■
Пори^'-запи^
|(О1а d
Р Сродный ФанллоЦЦ
С По каждому шау * За цикл Сохравяь . каждый "| цикл Г” ЛгрФ. ФллтРЙУ/:
DA...4H[0000a^.t* Сводкэй ФКйл по UU: DAJSM1K.M
Фа^.. |
- Канал №1------
Режим: ПРОСТОЙ ЦиоеО
Пдс | Стоп |
Анализ " Насфойки ' !
-КэилМЗ--------
<* Независимый С "скалом №2 Начать с ркФяиК
г- Камал N*2 —---------
* Независим^
Г1 | с каналом №1 . I Начать с разряда! ~-~is»-ra
4.5 В
I for- d
Рснсс |500
Г СНСР I5”
До:
Илины Г* -А" Измерять. ESR каждые: "нёизмвр. И Г CHCV___,______
Г DCHCR
До "0 В_____
HM ]l lc!JT. т|
Изъять ESR каждые:
Г DCHC/ _____
Да "О |~А~ Jj]
нж | |с^УТ. ||
Г* Ропакслция_______
[т h- d
]1..... циклов
P Закожить зарядсС P Саморазряд 06beia:
I--------------------------------------------
Период ззпнак 3 Г Сы^шйФайтгсНН С По каждому шагу р <? Зацнкл СоФкнягь каждый П ?р| шил Г ЛгрФ.
<PP1FAW;
Файл но выбран! Сводный Файл по ЦЦ: ' Файл не выбран!
Файл.. |
г!ст№ i^. j^rd . Да _______
или ' | It!!^. т! нж Г -dU
Измерять ESR каждые:
"Неюнвр. ]]J Г CHCV
Да "0~ |А нж | |сут.
Р Релаксация l\dg<y -J
Г F3
Г DCHCR
Да [В j В_____
^аг^ ■! Измерять ESR . каждые: "Нои^ер. '-'▼ Г DCHQ/'-' - ____
Да "о |а jj| ия,11 4^' zj Г Ролакс-сщл
I1 d
]1 цмиюв
Г ; Закончить зарядом! Г Саморазряд
Объект.
.......
Период записи г iMa . d
Р Сзшшй Файл по ЦЦ
Р По каждому шау * Р Зацнкл Сохркнягъ каждый 1" ▼цикл' Р ЛгрФ.
ФрНА^^/^; ФайлнввьФаН ^Л^й Файл по ЦЦ: Файл не. выбран!
Файл.. |
- Канал нц
Р''НезквИсНиьй /4 « I с каналом N*3' Р Начат» с разряда! |
45 'В
45 В X
I |сут.
нлн ww 'Р-А Ш
Измерять ESR кажи^ р
ГНейз^еР^^Г
Г _____
Да .|О "j|А ~ -
Cl»|.|i ;"=-. d
Р Релаксация
1" "аг' d RDCCCHIIOCT Г' DCHCR ; \
Да |о В_____
““I1......[qr
И змерять ESR каждые:
|нёИ^5ер''. •*'}
Да [Т^Га jj " Иж"К. "сут. J Г Релаксация
h . ' Г^1' d
|1 циклов
Г ; Закончить зарядом! Г Саморазряд
Обыг [“—7 П^тиа запей
|0’с d R Соднй Файл 'по ЦЦ Р ' По каждому ша*у р Зашжл
Со>м»нть каждый h цикл Р ЛгрФ.
ФРлААР: Файл ' не выбран! Соаанй Файл по ЦЦ: Файл но выбран!
4РК>Л.„ [
- Канал М*5 —----------
& Независимый _ Р "сканалом NM Р - Начать с ' разряда! I Й“Т“"1^КЗ Да 14.5 В____
ИЖ 1| - ■ [сут.' ||]|
нлн Р <tdJ Измерять ESR . каждые:
ГНеИзмор". "Р! Г ; CHCV ___
Да ]о" 1д ->|
нж 1" ' }сут.
Р - Релаксация d I" "<кг. d Р °££|25оП?
Г DCHCR : Да. |о В
Измерять ESR каждые: |Не~измер. ё |
Г;Релаксация
|Г циклов
Р Закончить зарядом! Р Саморазряд
Объелх [”■"■■”■■■■■■■■■...............
Период записи _ |а=. d
R ^дошйФайлпоЦЦ Р По каждому шау . Р Зашао Ссрфкнягь каждьм h ▼ цикл Г ЛгрФ.
Файл' RAW: Файл не выбран! Сводный Файл по ЦЦ: Файл но выбр»4
Файл.. 1
- Канал №6--
Г Независимый
Г | с каналом N*5 Г Начать с разряд Р СНСС Г СНСР
Да
|500 |rr*d
4.5 . В
1 . 1чи. d
ИЛИ __
н/ы . Р -dU Изгфрлтъ ESR каждые: Гнон^юр '▼I Г CHCV ___
Ха "о |а -г]
ил4|"" |сут. J
Р Релаксация р Ь’Я- d Г отм^ ТГ J Г DCHCPl - '-----1
Г DCHCR_
Да Jo В
елнГГ- icyr. J Иэмфять ESR каждые: "Не измер. ’Л Г DC-ECV ____
Да |о "a ^j
н«|1 Гскт. Ч
Г* Ролакскцнл
Lk d
]1 циклов
Г Закончить зарядом! Р Саморазряд
Обыг.
Г.............................—
Период записи _ 1Д|К d Р Сводный Файл по ЦЦ
Р .По каждому шагу * Р Зацнкл идфквяь каждый h '^1 цикл Г ЛгрФ.
Файл RAW: Файл не выбрай Свм^ый файл по ЦЦ: Файлневыбрай
Файл-- "
-К»ал N*2 —.........................
Режим ПРОСТОЙ ЦнинО
Пуск | Стоп |
~ Канал №3---
Режии ПРОСТОЙ ЦжлО
Пуск | Стоп |
“Канал №4------
Режим: ПРОСТОЙ ЦикклО
Пус j; Стоп |
■Канал№-----[“Кеиал№6
Режим ПРОСТОЙ ЦиклО
Пуск | ' Стоп
Редан ПРОСТОЙ ЦиитО
Пас. |
Стоп |
г Канал N*7--!
Р Незаенсимый ‘ _ Р 1сканалом№6 ! Р Начат с разряда! : Р СНСС ---
Г СНСР.
До:
• ■ U Г.ОПШШГП
Р ' Начать с разряда! " |500 |^di
45 В |
I [суй 'I _ -dU !
г Канал №8-----,
' Р Независимый 1
I Р Нсмналом№7 1
И Начать с разряд
Ip (ЖС
Г CHC^
До
| нм .
нж' — ............
Измерять ESR .каждые: . !
до |5 [Г~Э |
ИЛИр
г OCHCR
Да |0 В_______
Измордъ ESR каждые:
"нёизмер' 'ё’Ц
Р DCHCV _____
Г Релк:сaцил
|1 циклов
Г Зжожить зарядом! Р СамфОФяд
Об^Окг
"-------------------------------------------
Период записи: l Э Р Сводный Файл по ' ЦЦ Р По ' каждому шагу '. _ Р За цжл .....
Сохранят? каждый
▼ шжл Р ЛгрФ.'
ФЛЛМШ Файл не выбран! Сводный -Файл . по ЦЦ: Файл не выбран!
Файл.
"500 |яА^, 4T....... В_______
I" R d
нм Р* -dU Измерять ESR' каждые: |Неи^мчор У| Г CHCV________
До"0-|Т“3 илир |c|TT"""]J ; :Г Релаксация
I Г~ГГЗ !
| До |о~ В____
нт'Г |csT’d
Измерять ESR каждые:.. i
До:|Г“ |А~3 : ш«[1 ]е|Т_]3 ;
нм
I ' R d 1
"| ШУШЛВ i
Закончить затинР I Саморазряд ОСлъот
I-------------------------------------------------------
м Сводный файл ио ЦЦ
1 Р По каждому шау | Р За цикл
Соф»нпъ каждый j j цикл Р лГрф |
Файл. | i
< ЦиклО
:-±j
Т--,п
Рисунок 25 - настройка программы управления анализатора АСК2.5.10.8
-
9.3.14.2 В области "Канал № 1" нажать кнопку "Файл..." и задать любой файл для сохранения результатов.
-
9.3.14.3 Запустить подготовленную программу на выполнение кнопкой "Пуск" в области "Канал № 1".
-
9.3.14.4 Дождаться завершения разряда и перехода Канала № 1 прибора в режим "ТЕСТ ЗАВЕРШ.".
-
9.3.14.5 Нажать кнопку "Стоп" в области "Канал № 1" программы управления прибором.
-
9.3.15 Повторить пп. 9.3.1 - 9.3.14 для остдгьнькканалхв прибора,выбираяэлементы управления и считывая показания, соответственно, из областей "Кинкл № 2" - "Ккркб № 8" программы управления.
9.4 Oпpeдeлeниеебер9ютнoOпoгрышIocтиврЫIT9изьсдeо9Йииа’uep9в^ийнапряжcIIия отрицательной полярности.
-
9.4.1 Используя ль^ту плаеуки ПП-1 тз комплекта лост-авки, (^(^^иать схаму измерений, согласно рисунку 26. Плата ПП-1 для поверки напряжения отрицательной полярности закрепляется на клеммах иниа9затора обратной полярностью. Плиту поверки ПП-1 закрепить на клеммах инибизитори с помошью винтов из комплекта постивки.
ПП-1

Рисунок 26 - Структурная схема соединения приборов
9.4.2 В программе;рамавлениявленизааорлмнасоманице"аадачи" а абиасви "Канет № 1" установить флаг "DCHCC", установить значение силы постоянного тока 500 мА, до напряжения Сзад из строки 1 таблицы 13 (минус 0,5 В), ограничение по времени задать 1 сут, измерение ESR выбрать "Не измер.". Установить флаг "DCHCV", ограничение по току задать о А, ограничение по времени задать 1 сут. Остальные настройки согласно рисунку 27.
В] YS11192.168.100.92 АНАЛИЗАТОР ХИМИЧЕСКИХ ИСТОННИКОВ ТОКА | Задачи ' | Пшонки | Ремрыаты | Анализ. | Настройки j
г- Канал Nt—--г—-—--
Независимый
Г Начагь-сра^ияи! гДИр 1от а з
Да |45 _ В____
ИЛИ |l |сТТ. Ч
или Г“ -cU
Измерять ЕБНк&адые
| Не измер. ~Ч
Г CHCV
>1° |а zl
him {! с<;ут. Ч
Г Релаксация _____
Г 1^. Л
г г OCHCR
Да |Л5 В
или |l lewr- л I
Измерять - ESR каждьж .
(Пёи»Мр”3
Р DCHCY
Да[ |А~Н1
им |l ||суг~Ч.
Г Гелаксация
|1 |n 3
[Г.....циклов
Г Закончсть заряаой Г Саморазряд
Обьекг.
|тест
Период- затеи:
_ Н zl
Р ^1о|;нн1й.ф.зС!л по ЦЦ -
Р По ' каждому шагу
Сохранять каждый |1 цикл Г* ЛтрФ.
Файл RAW:
d: ...vooooooijm
Сводный файл no ЦЦ:
од ...чкак-ы
Файл... |
■Канал --
(• Независимей Р-1 с каналом №1 Р Начать с разряд Г Дар l™ I’ Л
Да |4.5^ В или 11 In zJ •
или Г -dU
Измерять ESR каждык |Неи^ме--’т1
Г CHCV
Да |Д а 3 ияиГ' 1WZ3 р- Релаксация
-
I -fo-- d
г' DCHCR
Да [ а.___
или р ~~|с^. >1 Измерять ESR каждые: {Некмер. - Ч Г DCHCV- " • flot|Q—~|A j-| ишр j|qrjd
Г* Релаксация________
-
II IN..d
И ццмллов
Р Зжсотить зарядой Р Саморазряд
Обыжт I '
Период записи:
|а1о d Р Сводный Файл поЦЦ Р -По каждому шагу ( Зецикл каждый
|l Ч цикл Г ЛгрФ.
Файл RAW:
Файл на выбрей Смдный файл по ЦЦ: Файл не выбрей
ФЖл... I
- Канал №3--------
Р Независимый С 1смилом№2 I Начать с разряда!
|500 I? J IF'o
Г СНСС ГТ?
Г СНСР 1оии
Да"~........ (
или 1 |сут.
_ Г" -4U Измерт» ESR казждяе |Не измер. - м|
Г осу..... .___
да |о . 1А 3 или |1 i|лт^. Ч
Г Релаксация
F In.zl г осн^га г дглч
Да |о.....В В______
или |1 1су, ▼!
Измврго ESR кацще: |Неиз<мр.1^
Г DCHCV ______
Да |о F
или |1 |сут.
Г* Релаксация
I1 1^ zl |l _ шжлов Г Законелъ зарядом! Г Саморазряд
Объел I—■-----
Период записи:
_ |01=- dj
Р Свооный файл по ЦЦ Р По каждому шау С Зашкл ■Сохранять каждый |l цикл г ЛгрФ.
Файл RAW: Файлне^брай Сводный фай по ЦЦ: Файлжлбрай Файл., |
- Канал №4 -----
Р Независимый Р 1с к^алом^ Р Начать с разряда! пс&₽ I™ F 3
Др4.5 В .
или h 1суг. Ч или Р -dU
Измерять ESR каждые
|нс измер. ~Ч Г chcv ___
Да |о |д <| ит? |едт. .
Г Релаксация
I1 а l1^ - 3 г еттга г DCHCR
Да |о В_____
и/w |l |ст ч|
Измерять ESR каждые
1не измер."^! Г DCHCV ___
Да [о ~ F а 'Я или |1......In.zI
Р Релаксация
I1 In d |1 циклов
Р Закончить зарядом! Г Саморазряд
Объект:
I
Период запот
_ к=-. Z
Р Сводный файл по ЦЦ
Р По каждому шагу Р Зацикл Сохранять каждый ( 3 чикл Г ЛгрФ.
Файл RAW:
Файл на выбран! Сводный файл по ЦЦ:
Фойлме^^>^
: ФЖЛ..' |
|
Канал N*5 -- - |
Каш1№~ |
Г Канал №»7 ---------- ■■ | |
|
Р Независммый |
Р Независимый |
Р Незавиоамьй | |
|
Р - 1с каналом №4 |
Р 1с1^^лом^ |
! Р В сюналомМб | |
|
Р Начать с разряда! |
Р - На-этьеризряда! |
Р Начагеедахиа! | |
|
FScf Is® l? d |
F.lw 1™.....T’.d |
FUS FF1 | |
|
Да |4.5 В |
До |« В |
До 4 5 В | |
|
или'! |cyr. >1 |
илф |cyr. 'Ч |
или 1 |сут. :-Ч | |
|
или Г -dU |
или Р -dtl |
или ~ -dU ■ ' | |
|
Измерять E5R кажюв: |
Измерять ESR кажды |
Измерять ESR кощ^к | |
|
.|нвизюв-''‘г1 |
|не измер. Ч |
|ноиямв_;З | |
|
Г . chcv |
Г CHOV |
Г сна- | |
|
Да |о |а J |
Да |о ]А zJ |
Да |о |А d | |
|
илн|1 ||уг, з| |
^41 |cyr. :.▼! |
и>и|1 |crr d | |
|
Г Репакезиич |
Г Гссзсc1uил |
Г Неляксаций | |
|
1.....In zJ |
11 iN.d |
|i |озг zi | |
|
F |
г ^^1™-|n3 |
г uS“lEOT Iм d | |
|
г ' DCHCR |
Г- DCHCR |
г DCHCR | |
|
Да |о В |
Да |0 : В |
Да |о В | |
|
nrn|1 |саг. J |
или |1 |еуг. Ч |
или|1 |сог d | |
|
Измерять ESR каж^ы |
Измеоять ESR каждьж |
Измерять ESR кожд^: | |
|
}Не^м^ ▼[ |
| Не измер. -ч] - |
|не измер d | |
|
Г DCHCV |
Г DCHCV |
Г DCHCV | |
|
Да |о lA zl |
Да |о |А zl |
Да|0 |А J | |
|
|esr. -1 |
и~|1 |саг- zJ |
и>м|1 |сог »| | |
|
Р Релаксация |
Г Релаксация |
Г Релаксация | |
|
Г 1^ zJ |
1’ In -d |
1' d | |
|
|1 циклов |
|l циклов |
|l циклов | |
|
Г Закончить зарядом! |
Г Закончить зарядатй |
Р Закончить зорядой - | |
|
Г Саморазряд |
Г Саморазряд |
Р Самоэазряд | |
|
Объ^т: |
Об>»от |
Объект | |
|
1........... Период записи: |
1................... Пымод записи: |
1 Период записи: а | |
|
1°-1а Zl |
|°1с- zJ |
|отй з | |
|
Р Свн^Ай файл по ЦЦ |
Г Свшный файл по ЦЦ |
Г. Свод№1 файл - поЦЦ | |
|
Р По каждому шау |
Р По каждому шагу |
Р По каждому шагу - | |
|
Р Зацикл |
Р- Зашаи* |
Р Зо цикл | |
|
Ссм^^>^ каждый |
Сохраннь каждый |
Со^аня^ каждый | |
|
| 1 : <| цикл Г Ягрф. |
|1 е| цикл Г Лгрф. |
|l Ч^,<o^-■Г.■ЛrрФ.- | |
|
Файл RAW: |
Файл RAW: |
Фойл RAW: ' | |
|
Файл на выбрей |
Файлневыбрай - |
Фойлне^^5о^ | |
|
Сводный файл по ЦЦ: |
Годный файл по . ЦЦ: |
Содый фИл поЦЦ: | |
|
Файлне^брай |
Файлневыбрай |
Файлневыбрай | |
|
Файл.. 1 |
ФЛл... - 1 |
^^. 1 |
Р Независимый -. I — Р | с- каналом №7 - j ■ Р-Начать с разряда! |
Измерять ESR каждые: !
[не измер >
или Р |сут_3
г Ря-щК.
[i |сцт
Г __
Измерять ESR кажш1е:. |
|1 циклов
Г" Закончить зарядом! Г" Саморазрад
Объект:
I-------------------------------------
Р Сводный. файл по - ЦЦ . ) Р - По. каждому шагу-- ! Р Зацикл
Сохранять каждый •}.• И ж! цикл ■Г'sZ^гФ; I
Файл не выбрей | Сводный файл -по -ЦЦ: | Файл не выбрей
Файл | [
Канал №1-----------
Режим: ПРОСТОЙ Цикл: О
Пуок| - Стоп |
-Канал N$“---
Режем ПРОСТОЙ ЦмпсО
Пуск | Стоп |
"Канал №3-—-—-
Режтм ПРОСТОЙ
ЦиклО
-Канал №4.................
Режим ПРОСТОЙ ЦиисО
Стоп |
Пуск | Стоп j Пуск- |
-Канал №5 -----:--
Режим ПРОСТОЙ ЦиитО
: Пуск | Стоп |
"Канал №6 —■---~
Режим ПРОСТОЙ ЦислО
Пуск I Стоп
- Канал №7-—-”"_-
Реши ПРОСТОЙ Цикл: о
Пуск- | - Стоп;
-Канал N4------
Режим ПРОСТОЙ Цикл О
Пуск | Сто-
Рисунок 27 - настройка программы управления ан^изитора АСК2.5.10.8
9.4.4 В области "Кинил № 1" нажать кнопку "Файл..." и задать любой файл для сохранения результатов.
-
9.4.4 Запустить подготовленную программу ни выполнение кнопкой "Пуск" в области "Кинил № 1".
-
9.4.5 Перейти на страницу "Результаты" прогри^мы управления.
-
9.4.6 Дождаться установления показаний эталонного вольтметра. Считать значение напряжения Uo6p с дисплея эталонного вольтметра.
-
9.4.7 Считать значение напряжения ЦПм, измеренное прибором, из области "Канал № 1" в верхней части страницы "Результаты".
-
9.4.8 Определить абсолютную погрешность воспроизведений напряжения по формуле:
А^ввоепр “ ^зад ~~ ^обр (25)
-
9.4.9 Результаты проверки признаются положительными, если значения погрешности, определенные по п. 9.4.8, не превышают допускаемых значений из таблицы 13.
-
9.4.10 Определить абсолютную погрешность измерений напряжения по формуле:
А^ИЗМ ^ИЗМ ^обр (26)
-
9.4.11 Результаты проверки признаются положительными, если значения погрешности, определенные по п. 9.4.10, не превышают допускаемых значений из таблицы 13.
-
9.4.12 Остановить подачу напряжения на клеммы прибора кнопкой "Стоп" в области "Канал № 1" программы управления анализатором.
-
9.4.13 Повторить пп. 9.4.2 - 9.4.12 для всех значений напряжения из таблицы 13.
Таблица 13 - Значения напряжений и пределы допускаемой абсолютной погрешности анализаторов АСК2.5.10.8 для воспроизведений и измерений напряжения отрицательной полярности_______________________________________________________________________
|
Номер исп. |
Напряжение и^ад, В |
Пределы! допускаемой абсолютной погрешности воспроизведений и измерений напряжения оостояооого тока, В |
|
1 |
-0,5 |
±0,0225 |
|
2 |
-1 | |
|
3 |
-2 | |
|
4 |
-3 | |
|
5 |
-4,5 |
9.4.11 Разрядитаровденсатоды, расположспные наплате повсркиПП-1, следующим образом.
-
9.4.11.1 В проц) aпlмсyIIpмелcIппа aаелозaтopoм г^ср ммpорица "0ицачи" д области "Кснсл № 1" снять флаги "DCHCC" и "DCHCV", установить флаг "СНСС", установить значение силы постоянного тока 500 мА до напряжения 0,5 В, ограничение по времени задать 1 сут, флаг "-dU" не устанавливать, измерение ESR выбрать "Не измер.". Остальныи настройки согласно рисунку 28.
Ц] № ИПгЛвв-ЮО^ АНАЛИЗАТОР ХИМИЧЕСКИХ ИСТОЧНИКОВ ТОКА | Задач -1 СрдФМи | Рвзультаты | Анализ | ' Настройки |
г Канал №1<гтгтгттт~тг
а Неевисиий
Г" Начат» с разряда!
" |5Я) poj
0.5 В
1_ И
|7 СНСС
Г СНСР.
Да
ИЛИ и/и Г" -dU Измерять ESR кажде |нниме. V1 Г CHCV________
Г” Релаксация
F OS Г DCHCR
Да [4.5 В
‘“"Р |чр. 3
Измерять ESR каедыа > |неизме.'‘^1 Г РСНС<^ ______
1° 1А 3
ИЛИ |l |суг
Р Релаксация
I1 RT3
циклов Г" Закончить зарядой Г* Саморазряд
Объект freer"'".....
Период залип
|В1а 3 Р Сырный Фэз'<л по ЦЦ
Q Покаждомушау а <• За цикл Софанять-каждый || .ЦИКЛ р : ЛгрФ.
«PfRA?' О.ЛШИ01Н* ^жныйФОйтгтоии: D:V..\OOKM
■Фай'и.'|
-К»«а1№2-------—л
Г Независимый „ С 1с^алюм1'М ' Г Начать с разряд^ г Sep I500 I7 3
Дл [4.5 В______
или или Г -CJ
Измеряв ESR каждые л |Не и^ер. '*|
Г ено/ _______
Да [O 3х|
ИЖ | l ' 'чЁ г|
Г" -.Рвлакодиия
Г основ
Дс |45 В шм р сстт. т|
Измерять ESR каждые |неиэмер '▼! Р DCHCV ______
Г ' Релаоация
! '
П sapRxohd
Объект:
I-------------------------------------------------------
Период записи:
р Окм^й^ЛлпоЦЦ С По каждому шагу а ' <5'Зацикл цжравть каждый р ~~У| цикл Г ГгрФ. ■'ФЛт'»№:'
Файл не выбран! ^^^иад^Ф^поЦЦ: Файл на выбран!
Файл... |
- Канал N*3 ------------
|* Независ^ый __ Р 1ск»^юм№2 Р Начать с разряда! г Sep I500 I’ 3
Да l^5 В ■ или || ||цтт. к| игл Р 01
Измврэть ESR кацдж '
|найз^^).
Г CHCV .
Да |0. '" |А д! илр.......i|cy. -|
Г Ре.лаксащя
I1 1су -d
Р DCHCR
Да |Ч5 В' В
ншр ,[с»т. з[
Измерять ESR кджт* |неимер.^1 Р ТСНСУ' ____
Да |о~ или |" Iciff. -Ч
Р Релаксация .
л
|1 цциллов
Р Закотить зарядов Г Саморазряд
Тбъкт: I--—— Период записи: Р -Ц> з Р (СецйФайлоЦЦ
Р По каждому шагу а а Зацикл иофанять каждьй [l ▼] цикл Г" ЛгрФ.
Файл' RAW: Файл не выбрай Свсошый Файл по UU: Файл не выбран!
Файл.. ' |
-К»^№4—-“--—-—
Р НеЗМВ1С1иМаЛ Р 1ск*талом№3 Р Начал» срмрада! FS£K-P3 Дос |45 В
ИЛИ I |сут. 3:: илиР -OJ
И змерять ESR каждые
|Не измер. -I
Р C<V__
Да'^'^^А |.[ • и|и р jСцT |3п
Р Редйксация
I1 W 3 F г DCHCR ■"■
Да |4.5 .В
|Сугr; 3
Измерять ESR каждые". 1Не^ьшр. "^ Р 0CHCV .
Да '|о |А ЗуД
** iros^ Р Релассция
[Г !l.cv .3
|1 циклов
Р Закончит» 'зарядом Р Саморазряд
^^ъёг г'":":"".""'."''":"'' Период записи
|ч|с.,,.....3
Р Йодный файл поЦЦ
Р По каждому шагу Р Зацикл Сожрснятъ каждый
- .пл.| j- Дгрф
ФаинАМ Файлневыбрсй Свод^ файл по UU: Файл на выбрае4
Фаал... |
“Канал N*5 —----■-----
Р Независимый Р 1сммломНМ I ' Начать с разряиа! - [55о~р ~~2]
4.5 В
1........ЕРЗ
С снсс i™ г снср I
Да ' ■
или
и^ Р -аи Измерять ESR каждые: Jne'измер. ▼I :Р:СНОУ " ' ' ' _
j и>ж|1 Ау J ip /Peк1С4щ^w L h
iFsssi^ra г • ' ются..'
или||.......lCц"т■; 3
Измерэть ESR кажтые: Гнё 'к^ер.
Р' 'DCHCV' . _____
До:
или|Г"'“*"I Ссг^ 3 Р Релаксация
I1 |°у 3 п циклов
Р Здкоммть зарядом! Р 'Самразряд
Обыг
I—--
Период записи:' _ h^1.4 з
Р Сводный файл поЦЦ Р ' По каждому шагу Р Зацикл цоираягь каждый f| ' „,^1 ГгрФ.
ФГRAAW: Файл не выбран! Содны файл по ЦЦ: Файл не выТа»!
Файл.. |
гКансл№6------------
Незашиси^ .
Р 1саоломН*5 ■ Р Начать с рзрядС
|5И. F .3
4.5. В _
1 1с»г- 3.
Г снсс F SCP
Да
или или Г -dU
Измерять ESR каждые:
|не изкер.
Р CHCV '
Да fOA ..^i или || |с!Я з|
Г Релаксация :
|l |с«г. 3 FSKS^PS г рЖся
Да |45 В или ' |i“ |су. а| Измерять ESR кажите:
|не^3 Р DCHCV ___
Да ОЕ~~Э или|1 :]суг. '_3
Р Релаксация
Р~_|с^"3 Ji Ш4КЛОВ
Р Зеконтъ зарядом! Г Саморазряд
Тбъгг ■ I-------
Период записи _ |aic 3
Р Содный файл по ЦЦ Р По 'каждому шагу „ < &дкл Сод^н^ каждый |l......: лирл Г" ЛгрФ.
ФайлРАМ: Файл^^^^ Сводный Файл по ЦЦ:
Файлтыбрай
ФФШ.. |
- Канал №7 —-————--
Р Незсвс1и*й Р I с каналом №6 Р Начпъ с разряда! Fchs |S f з
Да |4 5~ В______
или || 1=F”3 или Р" dJ
Измерять ESR . кджше:
|неизмер'~х| Г CHC_________
Дс |РГ'"'1"'Г|А -т| или |l | сут.' З
l'*1 Ну 3 F^i^ra Р DCHCR
Дс рТ”” В и^р ^"""ГЗ”] '
Измерять ESR каждые.
|Не измер. ~г] ' Р DCHCV _____
Да [б Ia jd
или 1 [
Р Релаксация
1.|с9'1"™3
Г циклов
Р Закончить зарядой Р Саморазряд
Тбък
I-------------------------------------------------------
П^тоимгиси Р |ой-Э
Р (Сеоунай файл по ЦЦ Р По каждому шагу ' а Зашаа иофанпъ каждьы |l vl цжл Р ГгрФ.
Файл 'RAW:
Файл не ' выбрат4 Свооный Файл по ЦЦ: Файл не выбран!
Файл |
~ Канал №4 —'—•——
Режим ПРОСТОЙ ЦиосО
Пуск | Стал |
- Канал №5 '—■—•—
Режим ПРОСТОЙ Цикл О
Пус ! Стоп |
~ Канал №6 -----—
Режим ПРОСТОЙ ЦжлО f1«jCK | Стоп |
--Канал№7-----
Рдеем ПРОСТ ОЙ ЦиигО
Пик | Y’jn
Р ' Незмвисиай i Р I с каналом N*7 I Р Начать с разряда!-' '
или-;|l " ||адт. зу| I
F?s^ra г г-r-.-
илир |чг '3 '
Измерять ESR каждые , |Неизмер
Ло I5 I*-!! ‘
“лир
I1......1су 3 :
|l ..... циклов I
Р ^(тч^ь зарядом! ! Г Саморазряд
Период записи
_ Т<мё 3
Р Сводный файл по ЦЦ ; Р ' По каждому шагу j 4® За ' цикл
Г ;▼! цикл Р ГгрФ. -.I Файл .RAW:'
; Файл. | i
I Канал 1^-- -: Ражим: ПРОСТОЙ
* .-Цжл О
Рисунок 28 - настройка программы управления анализатора АСК2.5.Н0.8
-
9.4. Н4.2В области "Канал № Н" нажать кнопку "Файл..." и задать любой файл для сохранения результатов.
-
9.4. Н4.3 Запустить подготовленную программу на выполнение кнопкой "Пуск" в области "Канал № Н".
-
9.4. Н4.4 Дождаться завершения разряда и перехода Канала № Н прибора в режим "ТСТ ЗАВЕРШ.".
-
9.4. Н4.5 Нажать кнопку "Стоп" в области "Канал № Н" программы управления прибором.
-
9.4. Н5 Пoвтopитопо. 9.4. 1 - 9.4. Н4 для ост<д1ьных каналхв пнилов
управления и считывая показания, соответственно, из областей "Ккнрл № 2" - "Каака № 8" программы управления.
-
9.5 Оопеддллнии поорешнооти вс)онпoо.иво.ддна9в иимеренни ввемени.
-
9.5. Н Воспроизведение и измерение времени ракаизртороц АСК2.5.Н0.8 осуществляется с помощью одного и того же счетного устройства, тактируемого от одного и того же генератора частоты, для всех каналов прибора.
-
9.5.2 Используя плату поверки ПП-2 из комплекта поставки, собрать схему измерений, согласно рисунку 29. Плату поверки ПП-2 закрепить на клеммах ракаизрторр с помощью винтов из комплекта поставки.
Рисунок 29 - Структурная схема соединения приборов
-
9.5.3 В программсуправлениявнелизааоалмнастманице"аадачи" а абиасви"Кангш № 1" установить флаг "СНСС", установить значение силы постоянного тока 1000 мА, заряд до 4,5 В, ограничение по времени задать согласно строке 1 таблицы 14 (1 с), флаг "-dU" не устанавливать, измерение ESR выбрать "Не измер.", количество циклов задать 1. Остальные настройки согласно рисунку 30.
Я] YS8IP192.168.100.42 АНАЛИЗАТОР ХИМИЧЕСКИХ ИСТОЧНИКОВ ТОКА | Эшом | График | Результаты | Анализ | Настройки |
г- Канал N*1 ■———т--—-
Р Незави^е-ый
Р На>ш-ьс{жрт1 rSS к» k j
Да |4.5 8
илр F 3 или Г” -dU Измарягь ESR каждые: |Не 1юмр. Ч Р CHCV________
Да -..........1а 3
или f1 k J
Г” Ре/лаодия_______
Г 1°-. ■[
Г оснсп
Да FT" J*____
или [i
Измерзть ESR - кащшв: |неизмюр Ч
Р DCHCV ______
До: Е [А .3
или j| |~;~]
Г” Релак сация
К ~к 3d
jl циклов <
Г” Закончить зарядов Г Симмзеят
Объест:
|тест.......
Период записи:
|3.1с. J
К ■ Сводный Фэйл..по-;ЦЦ- .
С-- . По' -каждому ■ шту ■ Р Защвол Сохрансть каждьи jl ГтЦцил Р: "Гф ФайлПАМ
D:\ .„МКОООООИ.М Сводмй Файл по ЦЦ:
D:\ . JSMCJCM
Фора.. |
г Канал №2----------
Р Не^вжтаамй С I с каналом №1 Р Начатье разряда! р нсс--
Г снср
Да ~
|500 U 05“ В 1 Iе* 2 Г" -dU
или ИЛИ: __
Измерит» ESR каждые:
|Неизме&~’’'1 Р CHC/ ___
Да 0 Д Ч
Г DCHCCIw’ Ь Ч Г DCHCf»' 1 -J
РТСНТЯ
Да | -4 5 В_______
»л||1 |сут. jJ
Измерять ESR кажш^ ^^^измер. -1 Г DCHCV ______
Да |о Да ▼!
ил - ■——"3
р Роготр^aция'•-- ' '
Г 1° 3J
jl" ...... циклов
Р Заготить - зарядок-Р Саморазряд
Объект -
I------------------------------------------------------
ПваиQД''ЗопиPи: lо,i~р.' ё'|
Р - Своомий Файл по ЦЦ Р -По каждому шагу Р За-цикл Со^ато^^ каждый f 3 цикл Р ЛгрФ.
Файл RAW:
Файл не выбран! СаишйФайлпоЦЦ: Файл не выбран! Файл.. ' |
- Канал N*1-------------
Режим: ПРОСТОЙ ЦиклО
Пуск | Cto J
г Т^ал №2 ————-р«юм простой
■; ■; ■.<■/. Циит о
Путч | Стоп |
г Канал №3----------
(• Незаеиский С 1и^^лом№2 Р Начагьсраэдида! РСНк R k jd |О5~ В 1 к..3
До:
ил ил Г dU Измерять ESR каждые: |Нв измер. -I р CHCV _ ____
Да - -А. . 3
или - |Г.........|с^ 3
Р Рвлокс^ия |1ИЯ|'сг'ГД р О^ССГ^ГРТ! Р DCHCPl « —J
Р РСНСН
До: |45“ В ил (счт. 7!
Измеротъ ESR ка^^ |Не измер. -Ч
Р DCHCV _____
Us. |о К -х!
“<“|i "k J
р Релаксации
I1 k- .d jl цтиие
Р Законлтъ зарядом! р Саморазряд
О(^аст:
I
Период записи
„ |aic.- d
Р ^^шй^|йлпо^Ц С По каждому шагу < За цикл ихуинять каждый [Г" 2 И1*я Г" "грФ. Файл RAW: Файл>^ае^^ Судный Файл по ЦЦ; Файл не выбран!
Файл.. 1
- Канал №4 —--------
Р ' Неэависмьъй С 1ск««лом№3 Р На^л» с (адома rS“ I5® kJ
Да |05 : В
ил 1......kJ
ил Р -dU
Измерять ' ESR каждые:
| Не измер. "'1 р ено/"".....""'_____
Да
|T- р-3
1 k 3
или
Р Релаксация
1 | с !г 2
Г ОСНСС[5СЮ"|—] Г DCHCF» —
Р DCHCH
Да [45“ В ии |1 |СсГт - Ч
Измерт» ESR кажые: |Не измер. /И Р РСНСУ "'_____
ИЛИ ЦТ"" {ссг '- Ч
Р Релаксация_______
I1 k J
|1 циклов
Р Закончить зарядоь4 Р Саморазряд
ОЛлст:
I Период затмск Р [^
Р Сводный Файл птЦЦ Р По каждому шагу (• Зацжл
Сохрхяп» каждый И ::Ч цикл Р Лгрф.
Файл RAW;
Файл не выбрав Сводный Файл по ЦЦ: Файл не' выбрав Файл.. |
-Канал N5'
(* Нвзовиримый С 1идоолом№4 Р Ноwьр^»ргnо! г™ I™ k-d Да -|а5 - в или Рт|^_3 ил Р -dU
Измерять ESR каждые: |Не измер. —1 Р CHCV
Да [0~^[а' jJ ИЛ |1 ........ jcyr. Ч
Р Релаксация [ijcyT 2
Г DCHCH
Да |Ч 5 В "“I1 Jw jJ Измерять ESH каждые:
Р DCHCV ......
Да 1°.....IA -d
"“I1 : [5 ' _3
Р Релаксация
Г к з!
|l циклов
Р Закончить зарядом! Р Сом^озряд
Объект;
I
Период записи |о7^"“2 Р ^водшйфойлпоЦЦ -Р По каждому шагу Р Зацикл Сo^pмипътождыя jl ~Ч цикл Р Лгрф. Файл 'RAW: Файл' не выбрай Сводный Файл по ЦЦ: Файл не выбран!
Файл.. ' |
- Канал №6--
Р Независимый _ ' Р 1с1^^^№5 Р Начал» с разряда! rSS I5® kJ
|0.5 . В____,
1 kJ
Да
или , ___
или - Р' чШ Измерять ESR каишы^: |Не измер. Г chcv .....
Да |0 Д И
Г DCHCCко, |, ч П ОСНСР1 Г —1 П ошся
Да |45 В_____
или |Г |ogr. J
Изморить ESR катоде: I Не измер. -—I
Р DCHCV
Да |о [а . jJ
“"И |1 . k -J Р.Рчяиксзшия
Г......k 3J
|1 ....... циклов
Р Закончить зарядом! Р -Саморазряд
Объект:
I-------------------------------------------------------
Период записи с [л—3
Р СеаднЛ файл по ЦЦ Р- По каждому шагу ж Р -Зацикл Сохранять каждый |1 :Чцикл р Л^рф>. Файл 'RAW;
Файл, не выбрай Сводный Файл по ЦЦ:
Файл не выбрай
Файл.. |
Р Независимый < Р Вс каналом N”6 ; Р ■ Начаты разряда!
ил (1' ' 1^ М !
H змерет» ESR каждые: |неим^. "▼!
Да |о рСЗ
ил|1 fcyT^j
Р - Релаксация
Г |суг 3]
FSig-r3
Г DCHCH !
Да |Ч,5 В______
или |l сет . -1 I
Измерять ESR каадые 1 |не измер. ^1
Р DCH?/ <
Ла
ил |1 |сег.' Ч
р Ре^^отргi^иa
Г к-»" 3
jl..... шааюв
Р - Закот-ить зарядой Р Саморазряд -
Тблкг '
Г
Период затеи
|0.1с. 3
Р Сводный Файл по - UU -Р По каждому шагу-Р - За цикл-
Сохранять каждый f 3 цикл Р-ЛгрФ.
Файл RAW
Файл. | !
з г Канал №8
Р НезависимьА - ! Р I с каналом N‘7 ■ Р Начлъсразряса!
рда
До |05—В , или |i lost 'if I или Р -dU
Измерять ESR каждые: | [нёйзмеТЗ i Р CHCV___
или |l .......jcyr •
1С^21 !
г Канал - №3 ------------
Ржис ПРОСТОЙ Цикл 0
Пуск | Стоп J
-Канал №4-----------
Ремис ПРОСТОЙ
UeO
Пуск | Стоп |
~Ю«л N*5”----—
Решам ПРОСТОЙ Цикл 0
Пу'ч I Сто I
"Клал N*6-----------
Режин ПРОСТОЙ Цикл: о
I ^ГОП |
- Канал №7 " 1 1 <
Рвжкл ПРОСТОЙ Цж/тО
Птс-к | Стоп |
"~|i
Измвдягь ESR каждые: -Ь^^измер ,Г1 1 КЗ
р • _____
Р Зетон'^и•ь зарядов , Р Сомоаозаяд
Объект
! ■ Период записи: - . , г |о 1н Ч
Р Сводный Файл по UU < . Р- По каждому ■ шагу - > Р За -цикл ' !
Со^знтггь каждый :
f 2. цикл Р Л^рФ. '
Файл RAW
Файл не Свашяяй Файл по ЦЦ;-Файл не выбрай
Файл, Г
г,у> 1 -• I
Рисунок 30 - настройка программы управления анализатора АСК2.5.10.8
-
9.5.4 В области "Канал № 1" нажать кнопку "Файл..." и задать любой файл для сохранения результатов.
-
9.5.5 Установить на осциллографе однократный запуск по уровню 0,5 В.
-
9.5.6 Запустить подготовленную программу на выполнение кнопкой "Пуск" в области "Канал № 1".
-
9.5.7 Определить средствами осциллографа длительность импульса тока на клеммах прибора to6p.
-
9.5.8 Определить аелилютную птнрешностьвооптоивосдеоия еремениАМзм, с, по формуле
^^иям ^яар ^обр (27)
-
9.5.9 Определитьделиткаамдупабсмлютную погруптостьвоспроивосдьния ереоини А'^маке, с, дьи яончеоии янрнооого вьемеои 1нр с, до фоьмуле
^tMaKC = ^яар • 0,001 + 0,2 (28)
-
9.5.10 Результаты дроверке дреяонютсн доложителооыми, если яончеоин догрешоости, одьерелеоные до д. 9.5.8, ое дьевышнют мнксимнлооой нбсолютоой тогрешоосте, вычисленной до д. 9.5.9.
-
9.5.11 Ннжнто коодку "Стод" в облнсти "Кнонл № 1" в трогрнмме удьнвлеоин дрибором.
-
9.5.12 Повторето до. 9.5.3 - 9.5.11 рлн строк 2 и 3 таблицы 14.
Тнблицн 14 - Зончеоин иотервалов вьемеои и тререлов родускнемой догрешоопре анализаторов АСК2.5.10.8 для воспроизведений и измерений времени
|
Номеь йео. |
Вьемн ^нл, с |
Пьерелы родускнемой нбсолютоой догрешоопри восдроиявереоий и иямереоий вьемеои, с |
|
1 |
1 |
0,2 + (1яад 0,001) |
|
2 |
10 | |
|
3 |
100 |
-
10 ОПРЕДЕЛЕНИЕ МЕТРОЛОГИЧЕСКИХ ХАРАКТЕРИСТИК АНАЛИЗАТОРОВ АКС150.24Л750.1, АКС75.48.1750.1, АКС100.24.650.1, АКС50.48.650.1
-
10.1 Порготовкн.
-
10.2 Подключить ноалеянтор к дерсоонлооому комдоютеру с упрносвлеооым дрограммоым обесдечеоием Ypl версии v7.1.100 или водде.
-
10.3 Включито дрибор, янтустито дрограммоое обесдечеоие Ypl ин дерпсоалооом комтоютере, устаиовито свняо между дрибором и дрограммой утравлеиин. Порключеоие дрибора к комдоюреру вытолииро в соответствие с рняреламе "Поргоровка к деьвому включеоию" и "Устноовкн и Напрройкн дрогрнммиого обесдечеиен" руководпрвн до экстлуатнции к ниалиянтору.
-
10.4 Отререлеиие нбсолюриой догрешиопри восдроеявереиий и иямереиий силы досронииого токн толожителоиой толнриости.
-
10.4.1 Сс^о^б^^1^1’ схему и^я^е;|э^г^г^й ссог^г^^с^ыо рииунку С1.
Рисунок 31 - Структурная схема соединения приборов
-
10.4.2 В прогвамме упмавлеупя анниизааоаом то странице "Задачи" в области "Подготовка" доя шага № 1 выбрать режим "Заряд СС", установить заданное значение силы постоянного тока 1зад из строки 1 таблицы 15 доя соответствующей модификации анализатора, заряд до 5 В или 1 сут, флаг "-dU" не устанавливать, измерение ESR выбрать "Не измер.". Остальные настройки согласно рисунку 32.
Объект: ОТКЛЮЧЕН
Пуск I Стоп

-
-
ЙЮ Ур1 ^192.168.100.174 АНАЛИЗАТОР ХИМИЧЕСКИХ ИСТОЧНИКОВ ТОКА АСК1004М.6ЭД.1
Заоачи | Графики | Результаты j Анализ | НаелрсХЬш | Состояние |
-Падготовка~-~"——■ • • -----------------------------------------------------------------— .....—------~
-
1. [ЗарядСС Зр [д' до:|5 |в или|,1 |суг >1 или Г" -dU Е5й:|На.измеа--Г-|
-
2. [i£? 3
Пдотм*>ала~
тТ.|нет
.3
d
2.) Нет
"3
d
3.|Нет
та
4.}Нет
5.|Ив
"3
6.| Нет
I]
jd
|1 циклов Программа Загрузить... | Сохранить... |
Завершение-
1.|Нет
"3
2.|Нет
"3
3.|Нет
"3
Г'Ограничения . О
- отклюЧенЫ ...
--dU ~------)
и-™ИЙВ
Цмаке:[б^^^ В I^MaKc:|Q.fosfo& А - 1РОНмекс:^^^И> А Тмик[0 *С Тмакс:|60 *С
П
1мВ.х1
- Параметры сохранения результатов
Файлы RAW: |о.1с Объект |тест ........................
Р Файл по ЦЦ
|ЗациКл Сохр.- каждый]! ■•J цикл 1“ ЛпрФм. Фрмт еремеььс |ЧЧЧ:ММ:СС.О
Файл... |
Файл-RAW: ' 0:ЧРЕЗУЛЬТАТЫОЧММ0М00Ю1.Ы Сводный- Файл-по ЦЦ: - 0:\РЕЭУЛЬТАТЫЧЛ0-С1_МЛ
7
0.0 А ?
Напряжение: Ток @1(ЭД Температура:
- .Управление — Режим ПРОСТОЙ Цикл: О
Рисунок 32 - Настройка программы управления анализаторов АКС 150.24.1750.1,
АКС75.48.1750.1, АКС 100.24.650.1, АКС50.48.650.1
-
10.4.3 Нажать кнопку "Файл..." и задать любой файл для сохранения результатов.
-
10.4.4 Запустить подготовленную программу на выполнение кнопкой "Пуск".
-
10.4.5 Считать значение силы тока Ебр с дисплея эталонного амперметра.
-
10.4.6 Считать значение силы тока 1Изм, измеренное прибором, из области "Управление".
-
10.4.7 Определитьебелиютнуюлотрсшноогьвосороивведенийсилыпо стоянноготока
по формуле:
А^втсор ~ ^зад А)Ур
(31)
-
10.4.8 Результаты поверки считнштсо положительными, если значения погрешности, определенные по п. 10.4.7, не превышают заявленных значений.
-
10.4.9 Определить абсолютную погрешность измерений силы постоонного тока по формуле:
-
10.4.10 Результаты поверки считаются положительными, если значения погрешности, определенные по п. 10.4.9, не превышают заявленных значений.
-
10.4.11 Остановить подачу тока на клеммы прибора кнопкой "Стоп" в программе управления анализатором.
-
10.4.12 Повторить пп. 10.4.2 - 10.4.11 для всех значений силы тока из таблицы 15.
Таблица 15 - Значения силы постоянного тока и пределы абсолютной погрешности анализаторов АКС 150.24.1750.1, АКС75.48.1750.1, АКС100.24.650.1, АКС50.48.650.1 для воспроизведений и измерений силы постоянного тока положительной полярности
|
Модификация прибора |
Номер исп. |
Сила тока 1заь А |
Пределы допускаемой абсолютной погрешности, А | |
|
воспроизведений силы постоянного тока |
измерений силы постоянного тока | |||
|
АСК150.24.1750.1 |
1 |
5 |
±0,4 |
±0,2 |
|
2 |
10 | |||
|
3 |
20 | |||
|
4 |
30 | |||
|
5 |
40 | |||
|
6 |
50 |
±1,5 |
±0,75 | |
|
7 |
75 | |||
|
8 |
100 | |||
|
9 |
125 | |||
|
10 |
150 | |||
|
АСК75.48.1750.1 |
1 |
2 |
±0,2 |
±0,1 |
|
2 |
5 | |||
|
3 |
10 | |||
|
4 |
15 | |||
|
5 |
20 | |||
|
6 |
25 |
±0,75 |
±0,375 | |
|
7 |
40 | |||
|
8 |
50 | |||
|
9 |
65 | |||
|
10 |
75 | |||
Продолжение таблицы 15
|
АСК100.24.650.1 |
1 |
3 |
±0,266 |
±0,133 |
|
2 |
8 | |||
|
3 |
15 | |||
|
4 |
20 | |||
|
5 |
25 | |||
|
6 |
30 |
±1 |
±0,5 | |
|
7 |
50 | |||
|
8 |
65 | |||
|
9 |
80 | |||
|
10 |
100 | |||
|
АСК50.48.650.1 |
1 |
2 |
±0,133 |
±0,0665 |
|
2 |
4 | |||
|
3 |
7 | |||
|
4 |
10 | |||
|
5 |
13 | |||
|
6 |
15 |
±0,5 |
±0,25 | |
|
7 |
25 | |||
|
8 |
30 | |||
|
9 |
40 | |||
|
10 |
50 |
10.5 Определение абсолютной погрешности воспроизведений и измерений силы постоянного тока отрицательной полярности.
-
10.5.1 Собрать сбему измерений согласно рисунку 33. Напряжение не выходе источника питания ИП задать равным 5 ± 1 В.

Рисунок 33 - Структурная схема соединения приборов
А - эталонный амперметр, ИП - источник питания 5 ± 1 В
-
10.5.2 В программе управления анадизаторои но странице "Задачи" в оИласти "Подготовка" для штгп № 1 выбутть уежит "Рпзуяд СС", установить зпдтооое зотоеоие силы иостояооого токт 1зад из строки 1 таблицы 16 для соответствующей тодификтции тотлизттоут, утзуяд до 0 В или 1 сут, измерение ESR выбутть "Неизмеу.". Остальные отстройки соглтсоо уиснокн 34.
Пуск
Стой
ID Yp1 IP192.1®.100.174 АНАЛИЗАТОР ХИМИЧЕСКИХ ИСТОЧНИКОВ ТОКА ТСК10024.650.1 | Задачи | ГрАфм<и | Результаты | Анализ | Настройки | Состояние УцУлу .
|
1.]Разряд СС |
3ПЭ |А 3j до: |0..... |В 3J и™ |1 |СИт |
ES Я^Не иэмер. | ||
|
г.[йе? |
■3 | |||
|
- Прог^мм-- | ||||
|
1.|Нет | ||||
|
2.|Нет |
■3 |
ZJ | ||
|
З.[нет |
■3 | |||
|
4.|Иет |
33 | |||
|
5.[Йет |
■3 | |||
|
"3 |
Jd | |||
|
|1 циклов Программа: Загрузить... | Сохранить...! | ||||
|
Заверимте — | ||||
|
1.|Нет |
"31 | |||
|
2. [нет |
33 | |||
|
З.[нёт | ||||
|
р-. Ограничения ■ О |
■ отклюет......-........................ - ...................... |
г ■и----------1 | ||
|
имиИЯ.в |
ICHMOKorl^^gA ЮСНмакс:^^. |
Тмии:|0 |
*С . Тмакс:|60 *С |
I10.. |
|
Параметры сохранения результатов | ||||
|
.^4tabRAW:'-|0.1с ▼] ОФдестг |тест ........ | ||||
Объект: ОТКЛЮЧЕН
Файл. .
цюсл 1“ ЛгрФм. Фрмг времени: ' | ЧЧЧ:ММ:СС.0 .
7
0.0 А
7
Напряжение: Ток@100А Температура:
Г? . .Фтйл ио>ЦЦ [Зацикл Сохр. . каждый р
Файл RAW: 0:ТСЗУЛТТАТЫМЗ\0<Ю000001.М Сводный ' файл. по. UU: 0:\РЕЗУЛЛТАТЫЧ0Ч-СОХ.М
“У пр^лени»-——
Режим: ПРОСТОЙ
Цикл: 0
Рисуоок 34 - ^стройкт иуогутаамы ниуадлеоия то"лизптояов АКС 150.24.1750.1, АКС75.48.1750.1, АКС100.24.650.1, АКС50.48.650.1
-
10.5.3 Нт'/шь кнопку "Фтйл..." и зтдтть любой фтйл для сохутоеоия уезультттов.
-
10.5.4 Зпинстить подготовленную иуогутмру от выполнение кооикой "Пуск".
-
10.5.5 Считать значение силы иостоянного токт 1обу с дисилея эталонного ариеуретяп.
-
10.5.6 Считать зотоеоие силы иостоянного токт 1Изр, изтеуенное иуибоуом, из облтсти "Уиятвление".
-
10.5.7 Оиуеделить тбсолютоую иогуешность восиуоизведений силы иостоянного токт ио фоумуле:
(33)
А-восну -зад -°бр
-
10.5.8 Результаты иовеуки считаются иоложительными, если зотоеои^я иогуешности, оиуеделенные ио и. 10.5.7, не иуевыштют доиусктемых знтоений из таблицы 16.
-
10.5.9 Оиуеделить тбсолютную иогуешность измеуений силы иостоянного токт ио фоумуле:
изм ~ -изм

(34)
-
10.5.10 Результаты иовеуки считаются иоложительными, если зотоеоия иогуешности, оиуеделенные ио и. 10.5.9, не иуевыштют допускперых зтачений из таблицы 16.
-
10.5.11 Остановить иодтчу токт нт клеммы иуибоут кооикой "Стои" в пяогу"рре уиутвления пнализптоуом.
-
10.5.12 Повтоуить ии. 10.5.2 - 10.5.11 для всех знтчений силы иостоянного токт из таблицы 16.
Таблица 16 - Значения силы тока и пределы абсолютной погрешности анализаторов
АКС150.24Л750Л, АКС75.48Л750Л, АКС100.24.650Л, АКС50.48.650Л для воспроизведений и измерений силы постоянного тока отрицательной полярности___________________
|
Модификация прибора |
Номер исп. |
Сила тока 1зад> А |
Пределы допускаемой абсолютной погрешности, А | |
|
воспроизведений силы постоянного тока |
измерений силы постоянного тока | |||
|
АСК 150.24Л 750Л |
1 |
-5 |
±0,4 |
±0,2 |
|
2 |
-10 | |||
|
3 |
-20 | |||
|
4 |
-30 | |||
|
5 |
-40 | |||
|
6 |
-50 |
±1,5 |
±0,75 | |
|
7 |
-75 | |||
|
8 |
-100 | |||
|
9 |
-125 | |||
|
10 |
-150 | |||
|
АСК75.48.1750.1 |
1 |
-2 |
±0,2 |
±0,1 |
|
2 |
-5 | |||
|
3 |
-10 | |||
|
4 |
-15 | |||
|
5 |
-20 | |||
|
6 |
-25 |
±0,75 |
±0,375 | |
|
7 |
-40 | |||
|
8 |
-50 | |||
|
9 |
-65 | |||
|
10 |
-75 | |||
|
АСК100.24.650.1 |
1 |
-3 |
±0,266 |
±0,133 |
|
2 |
-8 | |||
|
3 |
-15 | |||
|
4 |
-20 | |||
|
5 |
-25 | |||
|
6 |
-30 |
±1 |
±0,5 | |
|
7 |
-50 | |||
|
8 |
-65 | |||
|
9 |
-80 | |||
|
10 |
-100 | |||
|
АСК50.48.650.1 |
1 |
-2 |
±0,133 |
±0,0665 |
|
2 |
-4 | |||
|
3 |
-7 | |||
|
4 |
-10 | |||
|
5 |
-13 | |||
|
6 |
-15 |
±0,5 |
±0,25 | |
|
7 |
-25 | |||
|
8 |
-30 | |||
|
9 |
-40 | |||
|
10 |
-50 | |||
-
10.6 Определение абсолютной тоорешности воспроивосдеоий е измерений напряжения.
-
10.6.1 Используя млдуль МСульМ из компиекта поверкиАСИ5.48ЮТ,с4брать схему измерений, согласно рисунку 35.

Рисунок 35 - Структурная схема соединения приборов
-
10.6.2 В программе управления анализатором на етранице "Задачи" в области "Подготовка" для шага № 1 выбрать режим "Заряд СС", установить значение силы постоянного тока 10 А до напряжения изад из етроки 1 таблицы 17, ограничение по времени задать 1 сут, флаг "-dU" не уетанавливатд, измерение ESR выбрать "Не измер.".
-
10.6.3 Для шага № 2 в области "Подготовка" выбрать режим "Дозаряд CV", установить значение напряжения Пзад из строки 1 таблицы 17, конечный ток 0 А, ограничение по времени задать 1 сут. Остальные настройки согласно рисунку 36.
ЗД Yp1 IP192.168.100.174 АНАЛИЗАТОР ХИМИЧЕСКИХ ИСТОЧНИКОВ ТОКА АСК100.24.650.1 |Зааачи* | Графики | Результаты | Анализ j Настройки j Состояние |
|
1.|Заряа СС |
_zJ|10 |А z| да-|| |
|В , ,|А и— |l |
|су ^Ги/м Г”" -Л1 ЕЗН:|Неим^з. Ksr zJ | |
|
2| Лозаряд СУ |
И 3 дос |о | |||
|
“ Программе—'— | ||||
|
1.|Нвт |
73 |
J | ||
|
2 (Не |
73 | |||
|
3.|Нет |
73 | |||
|
4.|Нет |
■э | |||
|
5.|Нет |
73 | |||
|
6.|Не: |
73 |
| Сохранить... | |
3 | |
|
|1 циклов Пршгммима: Загрузить... | ||||
|
"Завершение - |
......................... | |||
|
1.|Нет |
"3 | |||
|
2.[Нет |
73 | |||
|
З.-Нет |
■3 | |||
[ГТ |мВ г!
Цмк.<[5~Тв Цмаке:|^Яв 1СТм«е:||||||[ А ЮСНыкс [О Ч-<,' А Т мшк |0 Х Тмалс: ^О"^ 'С
~П арамегры..сохранения результат»»-------——г——————----------:— ---------------—
ФайлыйА№:г|Ь.'1с ▼'! Объект: . |тест .........
R7 <Р»йтт-.по;ЦШ'| За цикл Сохр. каждый |Г" ^Тцикл ГЛ.'ЛгДОМ. Фрмт времени |ЧЧЧ:ММ:СС.О~^"1 .'Файл- |
Файл RAW: 0:\РЕЗУЛЬТАТЫОЧО-00000001 .м
СвойаЫйфайлпоЦЦ: О^ЗУЛЬТАТЫЧСОО-СиХ-М
Рисунок 36 - Настройка программы управления анализаторов АКС150.24.1750.1, АКС75.48.1750.1, АКС100.24.650.1, АКС50.48.650.1
-
10.6.4 Нажать кнопку "Файл..." и задать любой файл для еохранения результатов.
-
10.6.5 Запуетить подготовленную программу на выполнение кнопкой "Пуск".
-
10.6.6 Перейти на етраницу "Результаты" программы управления.
-
10.6.7 Дождаться установления показаний эталонного вольтметра. Считать значение напряжения Нобр с дисплея эталонного вольтметра.
-
10.6.8 Считать значение напряжения Низм, измеренное прибором, из области "Управление".
-
10.6.9 Определить абсолютную погрешность воспроизведений напряжения по формуле:
Д^ооспр ~ ^зад ~ ^обр (35)
-
10.6.10 Результаты поверки считаются положительными, если значения погрешности, определенные по п. 10.6.9, не превышают допускаемых значений из таблицы 17.
-
10.6.11 Определить абсолютную погрешность измерений силы постоянного тока по формуле:
Д^изм ^изм Добр (36)
-
10.6.12 Результаты поверки считаются положительными, если значения погрешности, определенные по п. 10.6.11, не превышают допускаемых значений из таблицы 17.
-
10.6.13 Остановить подачу напряжения на клеммы прибора кнопкой "Стоп" в области "Канал № 1" программы управления анализатором.
-
10.6.14 Повторить пп. 10.6.2 - 10.6.13 для всех значений напряжения из таблицы 16.
Таблица 17 - Значения напряжения и пределы допускаемой абсолютной погрешности
анализаторов АКС150.24.1750.1, АКС75.48.1750.1, АКС100.24.650.1, АКС50.48.650.1 для воспроизведений и измерений напряжения_______________________________________
|
Модификация прибора |
Номер исп. |
Напряжение изад, В |
Пределы допускаемой абсолютной погрешности воспроизведений и измерений напряжения постоянного тока, В |
|
АСК150.24.1750.1, АСК100.24.650.1 |
1 |
1 |
±0,0125 |
|
2 |
2 | ||
|
3 |
3 | ||
|
4 |
4 | ||
|
5 |
5 | ||
|
6 |
6 |
±0,06 | |
|
7 |
10 | ||
|
8 |
15 | ||
|
9 |
20 | ||
|
10 |
24 | ||
|
АСК75.48.1750.1, АСК50.48.650.1 |
1 |
2 |
±0,025 |
|
2 |
4 | ||
|
3 |
6 | ||
|
4 |
8 | ||
|
5 |
10 | ||
|
6 |
12 |
±0,12 | |
|
7 |
20 | ||
|
8 |
30 | ||
|
9 |
40 | ||
|
10 |
48 |
-
10.6.15 Разрядить конддысатс>оь1 модуляМССК 17.48 следдуощим обратом.
-
10.6.15.1 В прогв амые управления лилия затор л) м то стран ицт 'Задачи" в чблавси "Подготовка" для шага № 1 выбрать режим "Разряд СС", установить значение силы постоянного тока 10 А до напряжения 0 В, ограничение по времени задать 1 сут, измерение ESR выбрать "Не измер.". Остальные настройки согласно рисунку 37.
-~У np»/wbie.
Режим: ПРОСТОЙ
Цикл; О
Напряжение:
Ток@100А:
Темп^мггура’
7
0.0 А ?
Объект: ОТКЛЮЧЕН
Пуск | Стоп |
ESR: |нё~иэт»*8~^|
ЦТ Yp1 IP192.168.100.174 АНАЛИЗАТОР ХИМИЧЕСКИХ ИСТОЧНИКОВ ТОКА АСК10024.650.1
| Змачи- | Графики | Результаты j Анализ j Настройки 4/;СОСгОя^*е:/|"> < / : <
г Поукотовка -................. .................. - ---
i 1.|Раэряа СС 3^ |А 3 до: р |в 3 илир |суг 3
|
2.|Нет |
“31 | |
|
- Про'ролев — | ||
|
1.|Нет |
“31 |
Д |
|
г|Нег |
~3 |
______1 |
|
3.|Нет |
“3 | |
|
4|Нег |
“3 | |
|
S.) Нет |
“3 | |
|
а.|Нет |
~З |
Jd |
|
|1 циклов Программа: Загрузить... | Сосналть... | | ||
|
“Завершение- | ||
|
1.|Нет |
"3 | |
|
2.] Нет |
та | |
|
3| Нет |
та | |
Т Тмакс:|60 *С |10 1>г Д
и-™- |о~г~в ШмюКЦ в юы.^
А ТмикГО^
A IDCHi
- Параметры сохранен» результата»--------—•-------------— — ---------------------------------------------------
:ЗДПы- RAW: - -|о.1с "▼! Объект. , |т«гт ...............
Г7 ФоиапоТТ I За цикл............3 1Каф.ьакд^ [Т 3 цикл Лгрф . Фрмгвнвьвчч: :ЧЧЧ:ММ:СС.О | - Файл... |
Файл RAW: 0:РЕЗУЛЬТАТЫ00(4М0000С1.М
^санйФайлпоТТ: 0:\РЕЗУЛЬТАТЫ\£0(0С1КМ
Рисунок 37 - Настройка программы управления анализаторов АКС150.24.1750.1,
АКС75.48.1750.1, АКС100.24.650.1, АКС50.48.650.1
-
10.6.15.2 Нажать кнопку "Файл..." и задать любой файл для сохранения результатов.
-
10.6.15.3 Запустить подготовленную программу на выполнение кнопкой "Пуск".
-
10.6.15.4 Наблюдать за напряжением на модуле в области "Управление" программы управления анализатором.
-
10.6.15.4 Дождаться завершения разряда конденсаторов модуля МСК17.48 до 0,0 В.
-
10.6.15.5 Нажать кнопку "Стоп".
-
10.6.16 Отсоединить модуль МСК17.48 от анализатора.
-
10.6.17 Установить на клеммы модуля МСК17.48 перемыику из комплекта поставки модуля.
10.7 Опреддленнепогрешностивоспроизведдннии измерднииврдмднн.
-
10.7.1 Воспроизведение и измерение времени анализаторами АКС 150.24.1750.1, АКС75.48.1750.1, АКС100.24.650.1, АКС50.48.650.1 осуществляется с помощью одного и того же счетного устройства, тактируемого от одного и того же генератора частоты.
-
10.7.2 Используя модуль Р5.10 из комплекта поверки АСК5.48КП, собрать схему измерений, согласно рисунку 38.

Рисунок 38 - Структурная схема соединения приборов
-
10.7.3 В прогвамме угфмелснпя лнниизааоалм настраницс "Задачи" в области "Подготовка" для шага № 1 выбрать режим "Заряд СС", установить значение силы постоянного тока 10 А, заряд до 5 В, ограничение по времени задать согласно строке 1 таблицы 18 (1 с), флаг "-dU" не устанавливать, измерение ESR выбрать "Неизмер.", количество циклов задать 1. Остальные наетройки согласно рисунку 39.
ОД Ypl 1Р192ЛЭДЛ00Л74 АНАЛИЗАТОР ХИМИЧЕСКИХ ИСТОЧНИКОВ ТОКА АСК10024.650.1 | Задачи | Графики ' j Результаты | Анализ | Настройки ' j Состояние |
- □ X
1.|ЗарэдСС - 3||Ю |Д до: |5 |В - или|1 |с а| или Г -dU ESR: |Не измерь|
г|Н«г "3
- Прогноен -— ----------------------:-------------—*--------------------------------------------------------------------------------------
Т|Нет 3
Ф'Ч ' ........
з.|н«г..............3
: 4.|Нет - •■3
5.|Нет : 3
е.-|Нет 3 3
|1 щ^тюв Программа: Загрузить... | Сохранить... |
-
1. |Нет...........З
-
2. [нёт 3
-
3. |Нег 3
и«*4ЙИв' и(*>“:Свв “"“И!* ЮСНмакеЩВДА Тмин:|0 "С ТмакК|(И X |l0 R3
- Параметры сохранения результата» . - — - -
Файлы RAW: |0.1с Объект: реет
Р Файл-по ЦЦ- |3а цикл ▼ ! Сохр. кажн№й|1 ~|цикл Г” Лгрфм. Фрмгвс^ени |ЧЧЧ:ММ:СС.О ' Файл...!
Файл RAW: О:\РЕЗЫЛТТТТЫММ)ООССО(О11 .М
Сводный файл , по . ЦЦ;' 0:ЧэЕЗУЛЬТАТЫЧ]№СиСЫ
г- Управление------------------------------------------------■---------------------------------
_ Напряжение: ? Объект: ОТКЛЮЧЕН
Ре»им:- ПРОСТОЙ Тек@10ОА 0.0 А n 1 ,........1
Цикл:'. О Температ-ира 7 ... nyCK J ’'топ 1
-
Рисунок 39 - Настройка программы управления анализаторов
АКС150.24.1750.1, АКС75.48.1750.1, АКС100.24.650.1, АКС50.48.650.1
-
10.7.4 Нажать кнопку "Файл..." и задать любой файл для сохранения результатов.
-
10.7.5 Установить на осциллографе однократный запуск по уровню 0,5 В.
-
10.7.6 Запустить подготовленную программу на выполнение кнопкой "Пуск".
-
10.7.7 С помощью осциллографа определить длительность импульса тока на клеммах прибора tp6p.
-
10.7.8 Определить абсолютную погрешность воспроизведения и измерения времени 1пм с, по формуле:
^изм ^зад ^обр (37)
-
10.7.9 Определить допускаемую абсулютную погрешность воспроизведения д измерения времени 1Ма«с с, при значении заданного времени 1ад с, по формуле:
^макс = '-зад ' 0,001 + 0,2 (38)
-
10.7.10 Результаты поверки считаются положительными, если значения погрепшости, определенные по п. 10.7.8, не превышают допускаемой абсолютной погрешности, вычисленной по п. 10.7.9.
-
10.7.11 Нажать кнопку "Стоп" в программе управления прибором.
-
10.7.12 Повторить пп. 10.7.3 - 10.7.11 для строк 2 и 3 таблицы 17.
Таблица 18 - Значения интервалов времени и пределы допускаемой погрешности анализаторов АКС150.24.1750.1, АКС75.48.1750.1, АКС 100.24.650.1, АКС50.48.6501 для
|
воспроизведений и изме |
рений времени | |
|
Номер исп. |
Время 1зад с |
Пределы допускаемой абсолютной погрешности воспроизведений и измерений времени, с |
|
1 |
1 | |
|
2 |
10 |
0,2 + (Ба^-0,001) |
|
3 |
100 | |
-
11 ОФОРМЛЕНИЕ РЕЗУЛЬТАТОВ ПОВЕРКИ
-
11.1 Положительные результаты поверки анализаторов оформляют свидетельством о поверке согласно действующим нормативным правовым документам. Знак поверки наносят на свидетельство о поверке в виде оттиска доверительного клейма.
-
11.2 При несоответствии результатов поверки требованиям любого из пунктов настоящей методики анализаторы к дальнейшей эксплуатации не допускают и выдают извещение о непригодности. В извещении указывают причину непригодности.
В.Ф. Литонов
-
Начальник лаборатории № 551 ФБУ «Ростест-Москва»
Инженер по метрологии лаборатории № 551
--Управление —----
Режим- ПРОСТОЙ Тит о
Напряжение: Ток@100А Температура:
7 0.0 А
7
Объект: ОТКЛЮЧЕН
Пуск | Стоп
|тест
Период записи:
|аю. 3
Сеонь^Фаипо ЦЦ
Г Подошялушагу _ Г Зацикя Ссорен яъкаждын |У ''"▼I ш- Р Лгф>. Файл RAW: 0А..ЛНХ£Ю00001.Л Сводный файл по UU: DA...VKLK.W
Ф^л... | п Канал №1 . —————-
Режим: ПРОСТОЙ Цикл:' О
Пуск | Стоп |
