Номер по Госреестру СИ: 85050-22
85050-22 Система измерений количества и показателей качества нефти № 96
( )
Назначение средства измерений:
Система измерений количества и показателей качества нефти № 96 (далее - СИКН) предназначена для автоматизированных измерений массы и объемного расхода нефти.

Внешний вид.
Система измерений количества и показателей качества нефти № 96
Рисунок № 1
Программное обеспечение
СИКН имеет программное обеспечение (далее - ПО), реализованное в ИВК и АРМ оператора.
ПО АРМ оператора не содержит метрологически значимой части.
Защита ПО СИКН от непреднамеренных и преднамеренных изменений и обеспечение его соответствия утвержденному типу осуществляется путем идентификации, защиты от несанкционированного доступа.
ПО СИКН защищено от несанкционированного доступа, изменения алгоритмов и установленных параметров системой идентификации пользователя.
Уровень защиты ПО «высокий» в соответствии с Р 50.2.077-2014.
Таблица 1 - Идентификационные данные ПО СИКН
|
Идентификационные данные (признаки) |
Значение |
|
Идентификационное наименование ПО |
AnalogConverter. app |
|
Номер версии (идентификационный номер) ПО |
1.2.2.1 |
|
Цифровой идентификатор ПО (CRC32) |
d1d130e5 |
|
Идентификационное наименование ПО |
SIKNCalc.app |
|
Номер версии (идентификационный номер) ПО |
1.2.2.1 |
|
Цифровой идентификатор ПО (CRC32) |
6ae1b72f |
|
Идентификационное наименование ПО |
Sarasota.app |
|
Номер версии (идентификационный номер) ПО |
1.1.1.18 |
|
Цифровой идентификатор ПО (CRC32) |
1994df0b |
|
Идентификационное наименование ПО |
PP 78xx.app |
|
Номер версии (идентификационный номер) ПО |
1.1.1.20 |
|
Цифровой идентификатор ПО (CRC32) |
6aa13875 |
|
Идентификационное наименование ПО |
MI1974.app |
|
Номер версии (идентификационный номер) ПО |
1.6.1.11 |
|
Цифровой идентификатор ПО (CRC32) |
4bc442dc |
|
Идентификационное наименование ПО |
MI3233.app |
|
Номер версии (идентификационный номер) ПО |
1.1.1.28 |
|
Цифровой идентификатор ПО (CRC32) |
58049d20 |
|
Идентификационное наименование ПО |
MI3265.app |
|
Номер версии (идентификационный номер) ПО |
1.6.1.3 |
|
Цифровой идентификатор ПО (CRC32) |
29c26fcf |
|
Идентификационное наименование ПО |
MI3266 |
|
Номер версии (идентификационный номер) ПО |
1.6.1.6 |
|
Цифровой идентификатор ПО (CRC32) |
4c134dd0 |
|
Идентификационное наименование ПО |
MI3267.app |
Продолжение таблицы 1
|
Идентификационные данные (признаки) |
Значение |
|
Номер версии (идентификационный номер) ПО |
1.6.1.5 |
|
Цифровой идентификатор ПО (CRC32) |
5e6ec20d |
|
Идентификационное наименование ПО |
MI3287.app |
|
Номер версии (идентификационный номер) ПО |
1.6.1.4 |
|
Цифровой идентификатор ПО (CRC32) |
86fff286 |
|
Идентификационное наименование ПО |
MI3312.app |
|
Номер версии (идентификационный номер) ПО |
1.1.1.30 |
|
Цифровой идентификатор ПО (CRC32) |
f3578252 |
|
Идентификационное наименование ПО |
MI3380.app |
|
Номер версии (идентификационный номер) ПО |
1.6.1.12 |
|
Цифровой идентификатор ПО (CRC32) |
e2edee82 |
|
Идентификационное наименование ПО |
KMH PP.app |
|
Номер версии (идентификационный номер) ПО |
1.1.1.17 |
|
Цифровой идентификатор ПО (CRC32) |
5b181d66 |
|
Идентификационное наименование ПО |
KMH PP AREOM.app |
|
Номер версии (идентификационный номер) ПО |
1.3.3.1 |
|
Цифровой идентификатор ПО (CRC32) |
62b3744e |
|
Идентификационное наименование ПО |
MI2816.app |
|
Номер версии (идентификационный номер) ПО |
1.1.1.5 |
|
Цифровой идентификатор ПО (CRC32) |
c5136609 |
|
Идентификационное наименование ПО |
MI3151.app |
|
Номер версии (идентификационный номер) ПО |
1.1.1.21 |
|
Цифровой идентификатор ПО (CRC32) |
c25888d2 |
|
Идентификационное наименование ПО |
MI3272.app |
|
Номер версии (идентификационный номер) ПО |
1.1.1.50 |
|
Цифровой идентификатор ПО (CRC32) |
4ecfdc10 |
|
Идентификационное наименование ПО |
KMH MPR MPR.app |
|
Номер версии (идентификационный номер) ПО |
1.1.1.4 |
|
Цифровой идентификатор ПО (CRC32) |
82dd84f8 |
|
Идентификационное наименование ПО |
MI3288.app |
|
Номер версии (идентификационный номер) ПО |
1.1.1.14 |
|
Цифровой идентификатор ПО (CRC32) |
c14a276b |
Продолжение таблицы 1
|
Идентификационные данные (признаки) |
Значение |
|
Идентификационное наименование ПО |
MI3155.app |
|
Номер версии (идентификационный номер) ПО |
1.1.1.30 |
|
Цифровой идентификатор ПО (CRC32) |
8da9f5c4 |
|
Идентификационное наименование ПО |
MI3189.app |
|
Номер версии (идентификационный номер) ПО |
1.1.1.21 |
|
Цифровой идентификатор ПО (CRC32) |
41986ac5 |
|
Идентификационное наименование ПО |
KMH PV.app |
|
Номер версии (идентификационный номер) ПО |
1.1.2.1 |
|
Цифровой идентификатор ПО (CRC32) |
adde66ed |
|
Идентификационное наименование ПО |
KMH PW.app |
|
Номер версии (идентификационный номер) ПО |
1.1.1.2 |
|
Цифровой идентификатор ПО (CRC32) |
2a3adf03 |
|
Идентификационное наименование ПО |
MI2974.app |
|
Номер версии (идентификационный номер) ПО |
1.1.1.2 |
|
Цифровой идентификатор ПО (CRC32) |
c73ae7b9 |
|
Идентификационное наименование ПО |
MI3234.app |
|
Номер версии (идентификационный номер) ПО |
1.1.1.34 |
|
Цифровой идентификатор ПО (CRC32) |
df6e758c |
|
Идентификационное наименование ПО |
GOSTR8908.app |
|
Номер версии (идентификационный номер) ПО |
1.1.1.33 |
|
Цифровой идентификатор ПО (CRC32) |
37cc413a |
|
Примечание - Допускается ограничивать количество программных модулей ИВК в зависимости от функционального назначения СИКН. Цифровой идентификатор ПО представлен в шестнадцатеричной системе счисления в виде буквенно-цифрового кода, регистр букв при этом может быть представлен в виде заглавных или прописных букв, при этом значимым является номинал и последовательность расположения цифр и букв. | |
Знак утверждения типа
Знак утверждения типананосится на титульный лист инструкции по эксплуатации и формуляра СИКН типографским способом.
Сведения о методиках измерений
Сведения о методиках (методах) измерений
«Масса нефти. Методика измерений системой измерений количества и показателей качества нефти № 96 Омской ЛПДС Омского РНУ АО «Транснефть - Западная Сибирь», свидетельство об аттестации методики измерений № 227-RA.RU.312546-2021 от 14.07.2021.
Нормативные и технические документы
Нормативные документы, устанавливающие требования к средству измеренийПостановление Правительства Российской Федерации от 16 ноября 2020 г. № 1847 «Об утверждении перечня измерений, относящихся к сфере государственного регулирования обеспечения единства измерений»
Приказ Росстандарта от 7 февраля 2018 года № 256 «Об утверждении Государственной поверочной схемы для средств измерений массы и объема жидкости в потоке, объема жидкости и вместимости при статических измерениях, массового и объемного расходов жидкости»
Изготовитель
Акционерное общество «Транснефть - Западная Сибирь (АО «Транснефть - Западная Сибирь»)ИНН 5502020634
Адрес: 644033, Омская область, г. Омск, ул. Красный Путь, 111-1
Телефон: (3812) 65-35-02, факс: (3812) 65-98-46
Web-сайт: https://westernsiberia.transneft.ru/
E-mail: info@oms.transneft.ru
Испытательный центр
Общество с ограниченной ответственностью ЦМ «СТП» (ООО ЦМ «СТП»)Адрес: 420107, Российская Федерация, Республика Татарстан, г. Казань, ул. Петербургская, д. 50, корп. 5, офис 7
Телефон: (843) 214-20-98, факс: (843) 227-40-10
Web-сайт: http://www.ooostp.ru
E-mail: office@ooostp.ru
Принцип действия СИКН основан на косвенном методе динамических измерений массы нефти по результатам измерений:
-
- объема нефти, давления и температуры;
-
- плотности нефти в лаборатории или в рабочих условиях с помощью преобразователей плотности.
Массу нетто нефти определяют, как разность массы брутто нефти и массы балласта.
Массу балласта определяют, как сумму масс воды, хлористых солей и механических примесей в нефти.
СИКН состоит из:
-
- блока измерительных линий, состоящего из четырех рабочих измерительных линий (далее - ИЛ), двух резервных ИЛ и одной контрольной ИЛ;
-
- блока измерений показателей качества;
-
- системы обработки информации (далее - СОИ).
Средства измерений (далее - СИ), входящие в состав СИКН:
-
- преобразователи расхода турбинные НТМ (регистрационный номер в Федеральном информационном фонде по обеспечению единства измерений (далее - регистрационный номер) 56812-14), модель НТМ10 (далее - ПР типа 1);
- преобразователи расхода турбинные геликоидные DN 250 (регистрационный номер 77003-19) (далее - ПР типа 2);
-
- счетчики жидкости эталонные лопастные, зав. №№ РС 146454 - РС 146460 (регистрационный номер 18307-99), заводской № РС 146454;
-
- преобразователи давления измерительные EJX (регистрационный номер 28456-09), модель EJX 530;
-
- преобразователи измерительные 644, 3144Р (регистрационный номер 14683-09), модель 644, в комплекте с термопреобразователями сопротивления платиновые серии 65 (регистрационный номер 22257-11);
-
- преобразователи плотности жидкости измерительные моделей 7835, 7845, 7847 (регистрационный номер 52638-13), модель 7835;
-
- преобразователи плотности и вязкости жидкости измерительные (мод. 7825, 7826, 7827, 7828, 7829) (регистрационный номер 15642-06), модель 7829;
-
- комплексы измерительно-вычислительные ТН-01 (регистрационный номер 67527-17), модификация 01 (далее - ИВК);
Автоматизированное рабочее место (далее - АРМ) оператора входит в состав СОИ.
СИКН выполняет следующие основные функции:
-
- измерение в автоматическом режиме массы брутто нефти и объемного расхода нефти;
-
- автоматизированное вычисление массы нетто нефти, используя результаты измерений в лаборатории массовой доли механических примесей, результаты измерений в лаборатории массовой концентрации хлористых солей, а также значение массовой доли воды, вычисленное по результатам измерений в лаборатории объемной доли воды;
-
- измерение в автоматическом режиме температуры и давления нефти;
-
- измерение плотности нефти;
-
- контроль метрологических характеристик и поверка ПР типа 1 и ПР типа 2 на месте эксплуатации;
-
- ручной ввод в СОИ результатов лабораторных анализов проб нефти;
-
- регистрацию и хранение результатов измерений, формирование отчётов, протоколов, актов приема-сдачи нефти, паспортов качества нефти;
-
- формирование и хранение журнала событий;
-
- защиту системной информации от несанкционированного доступа.
Конструкцией СИКН место нанесения заводского номера не предусмотрено. Идентификация СИКН возможна по заводскому номеру, указанному в эксплуатационной документации, обеспечивающей его сохранность в течении всего срока эксплуатации.
Для исключения возможности несанкционированного вмешательства, которое может повлиять на результат измерений, конструкцией ПР типа 1 и ПР типа 2, предусмотрены места установки пломб (фланцы), несущих на себе знак поверки (оттиск клейма поверителя), который наносится методом давления на свинцовые (пластмассовые) пломбы.
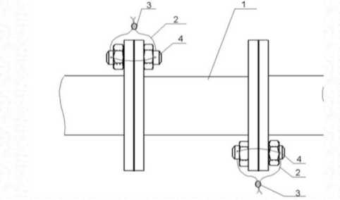
Схема пломбировки от несанкционированного доступа с местами установки пломб представлена на рисунке 1.
Рисунок 1 - Схема установки пломб на ПР типа 1 и ПР типа 2
1 - ПР типа 1 или ПР типа 2; 2 - контровочные проволоки; 3 - пломбы; 4 - шпильки
Знак поверки наносится на свидетельство о поверке СИКН.
Таблица 2 - Метрологические характеристики
|
Наименование характеристики |
Значение |
|
Диапазон измерений объемного расхода нефти*, м3/ч |
от 380 до 4800 |
|
Пределы допускаемой относительной погрешности измерений массы брутто нефти, % |
±0,25 |
|
Пределы допускаемой относительной погрешности измерений массы нетто нефти, % |
±0,35 |
|
* - указаны минимальное и максимальное значения диапазона измерений. Фактический диапазон измерений определяется при проведении поверки СИКН и не может выходить за пределы приведенного диапазона измерений. | |
Таблица 3 - Основные технические характеристики
|
Наименование характеристики |
Значение |
|
Измеряемая среда |
нефть по ГОСТ Р 51858-2002 |
|
Температура измеряемой среды, °С |
от -10 до 25 |
|
Давление измеряемой среды, МПа |
от 0,24 до 1,60 |
|
Физико-химические свойства измеряемой среды: | |
|
- плотность в рабочем диапазоне температур, кг/м3 |
от 750 до 950 |
|
- кинематическая вязкость в рабочем диапазоне | |
|
температур, мм2/с |
от 0,5 до 50,0 |
|
- массовая доля воды, %, не более |
1 |
|
- массовая концентрация хлористых солей, мг/дм3, не | |
|
более |
900 |
|
- массовая доля механических примесей, %, не более |
0,05 |
|
- содержание свободного газа |
не допускается |
|
Параметры электрического питания: | |
|
- напряжение переменного тока, В |
220122 / 380138 |
|
- частота переменного тока, Г ц |
50±1 |
|
Условия эксплуатации СИКН: а) температура окружающей среды, °С: | |
|
- в месте установки ИЛ |
от -50 до 50 |
|
- в месте установки СОИ |
от 10 до 30 |
|
б) относительная влажность, % |
от 30 до 80 |
|
в) атмосферное давление, кПа |
от 84,0 до 106,7 |
|
Средний срок службы, лет, не менее |
10 |
|
Режим работы |
непрерывный |

