Номер по Госреестру СИ: 88785-23
88785-23 Счетчики газа ротационные
(РЕД-Р)
Назначение средства измерений:
Счетчики газа ротационные РЕД-Р (далее - счетчик) предназначены для измерения объема очищенных и осушенных одно- и многокомпонентных неагрессивных газов, таких как природный газ по ГОСТ 5542-2014, пропан, воздух, азот, инертных и других газов.

Внешний вид.
Счетчики газа ротационные
Рисунок № 1

Внешний вид.
Счетчики газа ротационные
Рисунок № 2

Внешний вид.
Счетчики газа ротационные
Рисунок № 3

Внешний вид.
Счетчики газа ротационные
Рисунок № 4

Внешний вид.
Счетчики газа ротационные
Рисунок № 5
Знак утверждения типа
Знак утверждения типананосится на циферблат механического отсчетного устройства методом термопечати и на титульный лист паспорта типографским способом.


Лист № 6 Всего листов 7
Сведения о методиках измерений
Сведения о методиках (методах) измерений приведены в разделе 2 руководства по эксплуатации.
Нормативные и технические документы
Нормативные документы, устанавливающие требования к средству измерений
ГОСТ Р 52931-2008 Приборы контроля и регулирования технологических процессов. Общие технические условия;
ГОСТ Р 8.993-2020 Государственная система обеспечения единства измерений. Общие требования к средствам измерений расхода и объема газа;
Постановление Правительства Российской Федерации от 16 ноября 2020 г. № 1847 «Об утверждении перечня измерений, относящихся к сфере государственного регулирования обеспечения единства измерений»;
Приказ Росстандарта от 11 мая 2022 г. № 1133 «Об утверждении государственной поверочной схемы для средств измерений объемного и массового расходов газа»;
ТУ 26.51.63.110-005-28494535-2022 «Счетчики газа ротационные РЕД-Р. Технические условия».
Правообладатель
Общество с ограниченной ответственностью «ПЛЕКСОР» (ООО «ПЛЕКСОР»)
ИНН 9709031809
Юридический адрес: 109029, г. Москва, Сибирский пр-д, 2, стр. 8, ком. 21
Испытательный центр
Общество с ограниченной ответственностью Центр Метрологии «СТП» (ООО ЦМ «СТП»)Адрес: 420107, Республика Татарстан, г. Казань, ул. Петербургская, д. 50, корп. 5, оф. 7 Телефон: (843) 214-20-98, факс: (843) 227-40-10
Web-сайт: http://www.ooostp.ru
E-mail: office@ooostp.ru
Правообладатель
Общество с ограниченной ответственностью «ПЛЕКСОР» (ООО «ПЛЕКСОР»)
ИНН 9709031809
Юридический адрес: 109029, г. Москва, Сибирский пр-д, 2, стр. 8, ком. 21
Принцип действия счетчиков основан на вытеснении строго определенного объема газа вращающимися роторами. Объем вытесненного газа определяется объемом измерительной камеры счетчика, образованной внутренней поверхностью корпуса и поверхностями двух синхронно вращающихся в противоположных направлениях роторов. Вращательное движение роторов через редуктор и магнитную муфту передается на восьмиразрядный счетный механизм, который регистрирует число оборотов роторов, а следовательно, и объем газа, прошедший через счетчик. Таким образом, один поворот системы роторов соответствует передаче определенного объема газа со входа счетчика на его выход.
Счетчики состоят из корпуса, задней и передней крышек, двух роторов, редуктора, магнитной муфты, счетного механизма и низкочастотного датчика импульсов.
В зависимости от измеряемого диапазона расхода газа счетчики выпускаются типоразмеров G10; G16; G25; G40; G65; G100; G160; G250; G400, G650, G1000.
В зависимости от направления потока газа счетчики выпускаются в конструктивных исполнениях «Л» (слева направо) и «П» (справа налево).
На корпусе счетчика расположено отверстие с конической резьбой, в которое может быть установлена защитная гильза датчика температуры, штуцер для подключения датчика давления, входящего в состав корректора объёма газа, а также два штуцера с конической резьбой для отбора давления. При отсутствии защитных гильз датчиков температуры и штуцера для подключения датчика давления отверстия закрыты резьбовыми заглушками.
Счетчики DN150 и DN200 не имеют в корпусе мест отбора давления и измерения температуры. В этих счётчиках имеются только места отбора перепада давления.
Обозначения габаритных размеров счетчиков с различными диаметрами условного прохода схематично представлены на рисунках 3 и 4.
В зависимости от метрологических характеристик счетчики выпускаются в исполнениях: «1» и «2».
Счетчики могут комплектоваться низкочастотным импульсным выходом для дистанционной передачи данных.
Структура условного обозначения счётчиков:
PEA-P-G[1]-[2]-[3]-[4]-[5], где:
-
[1] - типоразмер: 10, 16, 25, 40, 65, 100, 160, 250, 400, 650, 1000;
-
[2] - диаметр условного прохода: 25, 40, 50, 80, 100, 150, 200;
-
[3] - конструктивное исполнение: «Л», «П»;
-
[4] - исполнение в зависимости от метрологических характеристик: «1», «2»;
-
[5] - диапазон расходов счетчика.
Пример условного обозначения счетчика типоразмера G65, с условным проходом DN 50, конструктивное исполнение «П», исполнения «1», с диапазоном расходов 1:100: РЕД-Р^65-50-П-1-(1:100).
Общий вид счетчиков представлен на рисунке 1.
Для защиты от несанкционированного доступа осуществляют пломбирование винтов крепления счетного механизма, корпуса редуктора, передней крышки с помощью проволоки и свинцовой (пластмассовой) пломбы с нанесением знака поверки давлением на пломбы. Место подключения датчика импульсов защищают с помощью проволоки и свинцовой (пластмассовой) пломбы поставщика газа или изготовителя.
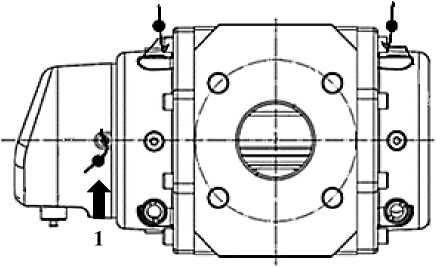
Заводской номер в виде цифрового кода наносится на циферблат отсчетного механизма одним из следующих методов: методом термопечати, гравировки или нанесением краски. Места нанесения заводского номера и знака утверждения типа представлены на рисунке 2. Схема пломбировки от несанкционированного доступа представлена на рисунке 3.

Рисунок 1 - Общий вид счетчиков
Рисунок 2 - Место нанесения заводского номера, знака утверждения типа
1 1
Рисунок 3 - Схема пломбировки от несанкционированного доступа и место нанесения знака поверки (1 - место для установки знака поверки)
1
1
Таблица 6 -
|
Наименование |
Обозначение |
Количество |
|
Счетчик газа ротационный РЕД-Р |
РЕД-Р |
1 |
|
Датчик импульсов |
- |
1 |
|
Руководство по эксплуатации* |
26.51.63.110-005-28494535-2022 РЭ | |
|
Паспорт* |
- |
1 |
|
Временный сетчатый фильтр (плоский)** |
- |
1 |
|
Прокладка для фланца резиновая |
- |
1 |
|
Болты (комплект) |
- |
1 |
|
Штуцеры для отбора давления |
- |
2 |
|
Флакон с маслом (500 мл) |
- |
2 |
|
* В бумажной и/или электронной форме. ** Поставляется для обеспечения сохранности счетчика при его запуске на новом объекте эксплуатации. | ||
Таблица 1 - Метрологические характеристики
|
Типоразмер |
Qo, м3/ч |
Qmax, м3/ч |
Диапазон рабочих расходов Qmin/Qmax |
ДР, Па | |||||||||
|
1:250 |
1:200 |
1:160 |
1:130 |
1:100 |
1:80 |
1:65 |
1:50 |
1:40 |
1:30 | ||||
|
Qmin, м3/ч | |||||||||||||
|
G10 |
0,02 |
16 |
0,4 |
0,5 |
70 | ||||||||
|
G16 |
0,02 |
25 |
0,4 |
0,5 |
0,6 |
0,8 |
170 | ||||||
|
G16 |
0,02 |
25 |
0,4 |
0,5 |
0,6 |
0,8 |
160 | ||||||
|
G25 |
0,02 |
40 |
0,4 |
0,5 |
0,6 |
0,8 |
1,0 |
1,3 |
190 | ||||
|
G16 |
0,05 |
25 |
0,4 |
0,5 |
0,6 |
0,8 |
110 | ||||||
|
G25 |
0,05 |
40 |
0,5 |
0,65 |
0,8 |
1,0 |
1,3 |
130 | |||||
|
G40 |
0,05 |
65 |
0,5 |
0,65 |
0,8 |
1,0 |
1,3 |
1,6 |
2,1 |
220 | |||
|
G65 |
0,05 |
100 |
0,5 |
0,65 |
0,75 |
1,0 |
1,25 |
1,5 |
2 |
2,5 |
3,3 |
380 | |
|
G65 |
0,08 |
100 |
0,5 |
0,65 |
0,75 |
1,0 |
1,25 |
1,5 |
2 |
2,5 |
3,3 |
160 | |
|
G100 |
0,08 |
160 |
0,65 |
0,8 |
1 |
1,2 |
1,6 |
2 |
2,5 |
3,2 |
4,0 |
5,3 |
370 |
|
G160 |
0,13 |
250 |
1,5 |
1,9 |
2,5 |
3,1 |
3,8 |
5 |
6,2 |
8,3 |
380 | ||
|
G160 |
0,15 |
250 |
1,5 |
1,9 |
2,5 |
3,1 |
3,8 |
5 |
6,2 |
8,3 |
200 | ||
|
G250 |
0,17 |
400 |
2 |
2,5 |
3 |
4 |
5 |
6,1 |
8 |
10 |
13 |
310 | |
|
G400 |
0,26 |
650 |
3,2 |
4 |
5 |
6,5 |
8 |
10 |
13 |
16 |
21 |
860 | |
|
G400 |
0,60 |
650 |
4 |
5 |
6,5 |
8 |
10 |
13 |
16 |
21 |
680 | ||
|
G650 |
0,65 |
1000 |
6,2 |
7,6 |
10 |
12 |
15 |
20 |
25 |
33 |
700 | ||
|
G1000 |
0,70 |
1600 |
10 |
12 |
16 |
20 |
24 |
32 |
40 |
53 |
800 | ||
Примечание - Приняты следующие обозначения: Q0 - порог чувствительности;
Qmax - максимальный объемный расход;
Qmin - минимальный объемный расход;
ДР - перепад давления при Qmax.
Таблица 2 - Пределы допускаемой относительной погрешности при измерении объема
|
Исполнение |
Диапазон объемного расхода |
Пределы допускаемой относительной погрешности при измерении объема, % |
|
Исполнение «1» |
от Qmin до 0,05’Qmax от 0,05’Qmax до Qmax вклЮЧ. |
±2,0 ±1,0 |
|
Исполнение «2» |
от Qmin до Qmax вклЮЧ. |
±0,9 |
Таблица 3 - Основные технические характеристики
|
Наименование характеристики |
Значения |
|
Максимальное допустимое избыточное рабочее давление, МПа |
1,6 |
|
Допустимые направления потока газа |
Горизонтальное(лево-право, право-лево) Вертикальное (верх-низ, низ-верх) |
|
Диапазон температуры измеряемой среды, °С |
от -30 до +60 |
|
Диапазон температуры окружающей среды, °С |
от -40 до +70 |
|
Средняя наработка до отказа, ч |
100000 |
|
Средний срок службы, лет |
20 |
Таблица 4 - Основные технические характеристики счетчиков с DN 25-DN 100
|
Типоразмер |
Номиналь ный диаметр, мм |
Цена деления младшего разряда, 3 м |
Емкость счётного механизма, 3 дм3 |
Габаритные размеры, мм |
Масса, кг, не более | |||||
|
L |
A |
B |
C |
H |
K | |||||
|
G10 |
25 |
0,01 |
106 |
121 |
213 |
60 |
273 |
120 |
85 |
4,7 |
|
G16 |
25 |
0,01 |
106 |
121 |
213 |
60 |
273 |
120 |
85 |
4,7 |
|
G16 |
40 |
0,01 |
106 |
171 |
213 |
60 |
273 |
120 |
110 |
6,2 |
|
G25 |
40 |
0,01 |
106 |
171 |
213 |
60 |
273 |
120 |
110 |
6,2 |
|
G16 |
50 |
0,01 |
106 |
171 |
210 |
122 |
332 |
185 |
125 |
10,4 |
|
G25 |
50 |
0,01 |
106 |
171 |
210 |
122 |
332 |
185 |
125 |
10,4 |
|
G40 |
50 |
0,01 |
106 |
171 |
210 |
122 |
332 |
185 |
125 |
10,4 |
|
G65 |
50 |
0,01 |
106 |
171 |
210 |
122 |
332 |
185 |
125 |
10,4 |
|
G65 |
80 |
0,01 |
106 |
171 |
248 |
160 |
408 |
185 |
160 |
13,8 |
|
G100 |
80 |
0,01 |
106 |
171 |
248 |
160 |
408 |
185 |
160 |
13,8 |
|
G160 |
80 |
0,01 |
106 |
171 |
236 |
168 |
404 |
235 |
160 |
23,6 |
|
G160 |
100 |
0,01 |
106 |
241 |
260 |
192 |
452 |
235 |
180 |
26,8 |
|
G250 |
100 |
0,1 |
107 |
241 |
329 |
261 |
590 |
235 |
180 |
38 |
|
G400 |
100 |
0,1 |
107 |
241 |
329 |
261 |
590 |
235 |
180 |
38 |


Рисунок 4 - Габаритные размеры счетчиков с DN 25-DN 100
Таблица 5 - Основные технические характеристики счетчиков с DN 150-DN 200
|
Типоразмер |
Номиналь ный диаметр, мм |
Цена деления младшего разряда, м3 |
Емкость счётного механизма, дм3 |
Габаритные размеры, мм |
Масса, кг, не более | |||||
|
L |
A |
B |
C |
H |
K | |||||
|
G400 |
150 |
0,1 |
107 |
450 |
344 |
274 |
618 |
400 |
240 |
88 |
|
G650 |
150 |
0,1 |
107 |
450 |
379 |
309 |
688 |
400 |
240 |
96 |
|
G1000 |
200 |
0,1 |
107 |
400 |
435 |
365 |
800 |
400 |
295 |
107 |
Рисунок 5 - Габаритные размеры счетчиков с DN 150-DN 200

