Номер по Госреестру СИ: 92234-24
92234-24 Полуприцеп-цистерна
(SF 3340)
Назначение средства измерений:
Полуприцеп-цистерна SF 3340 (далее - ППЦ) является транспортной мерой полной вместимости и предназначена для временного хранения, транспортировки, измерения объёма нефти и нефтепродуктов.

Внешний вид.
Полуприцеп-цистерна
Рисунок № 1

Внешний вид.
Полуприцеп-цистерна
Рисунок № 2
Знак утверждения типа
Знак утверждения типа на средство измерений не наносится.Общий вид ППЦ представлен на рисунке 1.
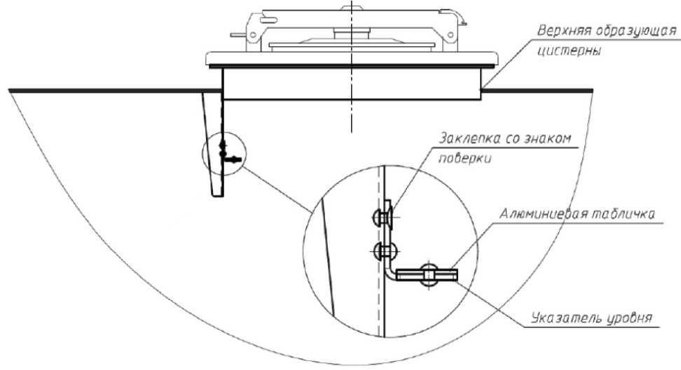
Схема пломбировки от несанкционированного изменения положения указателя уровня налива представлена на рисунке 2.
Знак поверки наносится ударным способом на заклёпку, крепящую указатель уровня налива.
Рисунок 1 - общий вид полуприцепа-цистерны SF 3340
Рисунок 2 - схема пломбировки от несанкционированного изменения положения указателя уровня налива
Метрологические и технические характеристикиТаблица 1 - Метрологические характеристики
|
Наименование характеристики |
Значение |
|
Номинальная вместимость ППЦ, м3 |
40,0 |
|
Номинальная вместимость секций ППЦ, м3 - 1-я секция |
12,3 |
|
- 2-я секция |
5,7 |
|
- 3-я секция |
11,2 |
|
- 4-я секция |
10,8 |
|
Пределы допускаемой относительной погрешности ППЦ (массо- |
±0,4 |
|
вый метод), % |
Таблица 2 - Основные технические характеристики
|
Наименование характеристики |
Значение |
|
Разрешенная максимальная масса, кг, не более |
44000 |
|
Габаритные размеры, мм, не более: - длина |
11660 |
|
- ширина |
2550 |
|
- высота |
3780 |
|
Условия эксплуатации: - температура окружающего воздуха, °С |
от - 40 до + 50 |
|
- относительная влажность, % |
от 30 до 100 |
|
- атмосферное давление, кПа |
от 84,0 до 106,7 |
наносится на титульный лист паспорта ППЦ типографским способом.
Сведения о методиках измерений
Сведения о методиках (методах) измерений приведены в разделе 5 паспорта ППЦ.Нормативные и технические документы
Нормативные документы, устанавливающие требования к средствам измеренийПриказ Росстандарта от 26 сентября 2022 г. № 2356 «Об утверждении Государственной поверочной схемы для средств измерения массы и объема жидкости в потоке, объема жидкости и вместимости при статических измерениях, массового и объемного расходов жидкости».
ПравообладательЗакрытое акционерное общество «Чебоксарское предприятие «Сеспель»
(ЗАО «Чебоксарское предприятие «Сеспель»)
ИНН 2126002786
Юридический адрес: 428021, Чувашская Республика, г. Чебоксары, ул. Ленинградская, д. 36, помещ. А
Испытательный центр
Общество с ограниченной ответственностью «Метрологический центр» (ООО «Метрологический центр»)Адрес: 665816, Иркутская обл., г. Ангарск, 33-й мкр., д. 1, помещ. 155
Тел./факс: 8 (3955) 68-05-77
E-mail: metrolog.irk@yandex.ru
Принцип действия ППЦ основан на заполнении её нефтепродуктом до указателя уровня налива соответствующего определённому объёму нефтепродукта. Заполнение ППЦ нефтепродуктом осуществляется через заливную горловину. Слив нефтепродукта производится самотёком.
ППЦ состоит из стальной сварной цистерны переменного сечения цилиндрической формы, установленной на шасси. ППЦ разделена на 4 секции. Для гашения гидравлических ударов во время движения внутри ППЦ установлены волнорезы. К верхней части обечайки корпуса каждой секции цистерны ППЦ приварены заливные горловины, внутри которых установлены указатели уровня налива.
Технологическое оборудование ППЦ предназначено для операций налива-слива нефтепродуктов и включает в себя:
- 4 горловины с указателями уровня налива;
- 4 съёмных крышки горловины с заливными люками и дыхательными клапанами;
- клапан донный;
- кран шаровой;
- рукава напорно-всасывающие.
На боковых сторонах и сзади ППЦ имеются надписи «Огнеопасно», а также информационные таблички, обозначающие транспортное средство, перевозящее опасный груз.
ППЦ имеет заводской номер X8ASF3340H0000006.
Заводской номер ППЦ в виде цифро-буквенного обозначения, состоящего из пяти букв латинского алфавита и двенадцати арабских цифр, нанесён методом фотопечати на информационную табличку, расположенную на раме шасси задней части ППЦ.
Знак утверждения типа на средство измерений не наносится.
Общий вид ППЦ представлен на рисунке 1.
Схема пломбировки от несанкционированного изменения положения указателя уровня налива представлена на рисунке 2.
Знак поверки наносится ударным способом на заклёпку, крепящую указатель уровня налива.
Рисунок 1 - общий вид полуприцепа-цистерны SF 3340
Рисунок 2 - схема пломбировки от несанкционированного изменения положения указателя уровня налива
Таблица 3 - Комплектность
|
Наименование |
Обозначение |
Количество |
|
Полуприцеп-цистерна |
SF 3340 |
1 шт. |
|
Запасные части, инструменты и принадлежности |
- |
1 шт. |
|
Паспорт |
ПС-SF 3340-2017 |
1 экз. |
Таблица 1 - Метрологические характеристики
|
Наименование характеристики |
Значение |
|
Номинальная вместимость ППЦ, м3 |
40,0 |
|
Номинальная вместимость секций ППЦ, м3 - 1-я секция |
12,3 |
|
- 2-я секция |
5,7 |
|
- 3-я секция |
11,2 |
|
- 4-я секция |
10,8 |
|
Пределы допускаемой относительной погрешности ППЦ (массо- |
±0,4 |
|
вый метод), % |
Таблица 2 - Основные технические характеристики
|
Наименование характеристики |
Значение |
|
Разрешенная максимальная масса, кг, не более |
44000 |
|
Габаритные размеры, мм, не более: - длина |
11660 |
|
- ширина |
2550 |
|
- высота |
3780 |
|
Условия эксплуатации: - температура окружающего воздуха, °С |
от - 40 до + 50 |
|
- относительная влажность, % |
от 30 до 100 |
|
- атмосферное давление, кПа |
от 84,0 до 106,7 |

