Номер по Госреестру СИ: 50137-12
50137-12 Преобразователи термоэлектрические поверхностного типа
(TSK100)
Назначение средства измерений:
Преобразователи термоэлектрические поверхностного типа модели TSK100 (далее по тексту -термопреобразователи или ТП) предназначены для измерений температуры поверхности плоских или цилиндрических твердых тел, в том числе, для измерений температуры теплообменников в трубчатых печах различной конструкции.

Внешний вид.
Преобразователи термоэлектрические поверхностного типа
Рисунок № 1

Внешний вид.
Преобразователи термоэлектрические поверхностного типа
Рисунок № 2
Знак утверждения типа
Знак утверждения типаЗнак утверждения типа наносится на титульный лист паспорта (в правом верхнем углу) типографским способом, а также на шильдик, прикрепленный к клеммной головке ТП.
Сведения о методиках измерений
Нормативные и технические документы
Нормативные и технические документы, устанавливающие требования к преобразователям термоэлектрическим поверхностного типа модели TSK100ГОСТ Р 52931-2008 Приборы контроля и регулирования технологических процессов. Общие технические условия.
Международный стандарт МЭК 1515-95. Термопары кабельного типа (с минеральной изоляцией).
Международный стандарт МЭК 60584-1. Термопары. Часть 1. Градуировочные таблицы.
Международный стандарт МЭК 60584-2. Термопары. Часть 2. Допуски.
ГОСТ 6616-94 Преобразователи термоэлектрические. Общие технические условия.
ГОСТ Р 8.585-2001 ГСИ. Термопары. Номинальные статические характеристики преобразования.
Техническая документация фирмы-изготовителя.
ГОСТ 8.558-93 ГСИ. Государственная поверочная схема для средств измерений температуры.
Изготовитель
фирма Endress+Hauser Sicestherm S.r.L. (Италия)Via M.Luther King 7, 20060 Pessano con Bornago, Italy
Заявитель
ООО «Эндресс + Хаузер»
Адрес: 117105, РФ, г . Москва, Варшавское шоссе, д . 35, стр. 1
тел.: +7 (495) 783 2850 факс: +7 (495) 783 2855
Е-mail: info@ru.endress.com
Испытательный центр
Государственный центр испытаний средств измерений (ГЦИ СИ) ФГУП «ВНИИМС », г. МоскваПринцип работы термопреобразователей основан на термоэлектрическом эффекте -генерировании термоэлектродвижущей силы, возникающей из-за разности температур между двумя соединениями различных металлов или сплавов, образующих часть одной и той же цепи.
Термопреобразователи модели TSK100 конструктивно выполнены в виде измерительной вставки, защитной арматуры с различными видами технологических соединений и монтажных элементов, и клеммной головки. Измерительная вставка выполнена на основе одинарной или двойной термопары кабельного типа с изолированными (заземленными или неза-земленными) рабочими спаями с минеральной (MgO) изоляцией термоэлектродов. В конструкции монтажной части измерительной вставки ТП может быть предусмотрен компенсационный змеевик (один или несколько), сохраняющий целостность термопреобразователя в процессе температурной деформации теплообменника при измерениях в печи. Для достижения оптимального термоконтакта чувствительного элемента с поверхностью измеряемого объекта рабочий спай ТП (в защитной оболочке) может привариваться к объекту, обжиматься крепежными скобами или хомутом, или фиксироваться в специальном контактном блоке, предварительно приваренном к объекту измерения. В случаях, если рабочий спай ТП не приваривается к объекту измерений, допускается возможность демонтажа ТП. Монтаж термопреобразователей может осуществляться как снаружи, так и изнутри трубчатой печи благодаря особому исполнению присоединительной шейки, состоящей из обжимного (компрессионного) одного или двух фитингов и присоединительного элемента «ниппель-муфта» или «ниппель-муфта-ниппель».
В клеммную головку (типа ТА***) могут быть встроены один или два измерительных преобразователей (ИП) серии iTEMP TMT моделей 8*, 18* (Госреестр № 39840-08), в т.ч., и с жидко-кристаллическим дисплеем.
ТП могут иметь взрывозащищенные исполнения с видом взрывозащиты «взрывонепроницаемая оболочка» по ГОСТ Р 51330.1-99 и маркировкой «1ExdIICT6/T5».
Фото общего вида термопреобразователя с прямым участком монтажной части (без компенсационного змеевика)
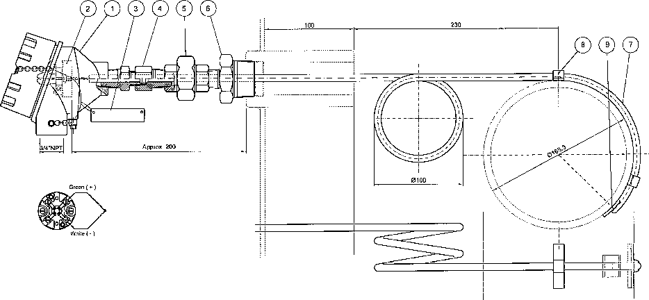
Чертеж термопреобразователя с компенсационным змеевиком
1 - корпус ТП; 2 - клеммный блок ТП; 3 - металлический шильдик с маркировкой; 4 -компрессорный фитинг; 5 - гайка; 6 - редуктор; 7 - защитная арматура; 8 - привариваемый хомут; 9 - привариваемая контактная пластина.
Термопреобразователь - 1 шт.
Паспорт (на русском языке) - 1 экз.
По дополнительному заказу: крепежные скобы, хомуты, контактный блок и другие монтажные приспособления; встраиваемый ж/к-дисплей, защитная гильза и другие аксессуары, информация о которых приведена в технической документации фирмы-изготовителя.
Рабочий диапазон измеряемых температур, пределы допускаемых отклонений ТЭДС от НСХ термопреобразователей по МЭК 60584-2 (ГОСТ Р 8.585-2001) в температурном эквиваленте в зависимости от типа НСХ по МЭК 60584-1 (ГОСТ Р 8.585-2001) и класса допуска приведены в таблицах 1 и 2:
Таблица 1
|
Условное обозначе- |
Класс |
Рабочий диапазон измеряемых |
Пределы допускаемых откло- |
|
ние НСХ |
допуска |
температур, °С () |
нений ТЭДС от НСХ, °С |
|
E |
1 |
от 0 до плюс 375 |
± 1,5 |
|
св. плюс 375 до плюс 800 |
± 0,004-t | ||
|
J |
1 |
от 0 до плюс 375 |
± 1,5 |
|
св. плюс 375 до плюс 750 |
± 0,004-t | ||
|
К, N |
1 |
от 0 до плюс 375 |
± 1,5 |
|
св. плюс 375 до плюс 800 |
± 0,004-t |
Таблица 2
|
Условное обозначение НСХ |
Класс допуска |
Рабочий диапазон измеряемых температур, °С () |
Пределы допускаемых отклонений ТЭДС от НСХ, °С |
|
E |
2 |
от 0 до плюс 333 |
± 2,5 |
|
св. плюс 333 до плюс 900 |
± 0,0075^ | ||
|
J |
2 |
от 0 до плюс 333 |
± 2,5 |
|
св. плюс 333 до плюс 750 |
± 0,0075^ | ||
|
К, N |
2 |
от 0 до плюс 333 |
± 2,5 |
|
св. плюс 333 до плюс 1200 |
± 0,0075^ |
Примечание:
(*)
Максимальная рабочая температура ТП - в зависимости от материала защитной арматуры.
Пределы допускаемой суммарной погрешности ТП и ИП ( D , °С) вычисляются по формуле:
D = —у/(DИП + DКОМП ) + (DTn ) ,
где: DИП - погрешность ИП (включающая, при необходимости и дополнительную погрешность), °С; DКОМП - погрешность схемы компенсации ИП, °С; DTn - отклонение от НСХ (в температурном эквиваленте) ТП, °С.
Напряжение питания (для ТП с ИП), В: ......от 8 до 40 (в зависимости от модели ИП)
Длина монтажной части термопреобразователей, мм: .............от 250 до 5000 и более
в соответствии с заказом
Диаметр монтажной части термопреобразователей, мм: .....................от 4,5 до 12,7
Электрическое сопротивление изоляции ТП при температуре (25—10)°С и относительной влажности воздуха от 30 до 80 %, МОм, не менее: ............100 (при 500 В)
Рабочие условия эксплуатации термопреобразователей:
-
- температура окружающей среды, °С: ...........................от минус 40 до плюс 80;
-
- относительная влажность окружающего воздуха, %...........................................до 98
Степень защиты от влаги и пыли по ГОСТ 14254-96 (МЭК 60529): .. ..IP66, IP67, IP68 Средний срок службы, лет, не менее:............................................................5

