Номер по Госреестру СИ: 81888-21
81888-21 Система измерений количества и показателей качества нефти № 432
( )
Назначение средства измерений:
Система измерений количества и показателей качества нефти № 432 (далее - СИКН) предназначена для измерений массы и показателей качества нефти.

Внешний вид.
Система измерений количества и показателей качества нефти № 432
Рисунок № 1
Программное обеспечение
Программное обеспечение (ПО) обеспечивает реализацию функций СИКН. ПО СИКН реализовано в ИВК и компьютерах автоматизированных рабочих мест (АРМ) оператора. Идентификационные данные ПО ИВК указаны в таблице 2. ПО АРМ оператора не содержит метрологически значимой части.
Уровень защиты ПО «высокий» в соответствии с Р 50.2.077-2014 «ГСИ. Испытания средств измерений в целях утверждения типа. Проверка защиты программного обеспечения».
Таблица 2 - Идентификационные данные ПО ИВК
|
Идентификационные данные (признаки) |
Значение |
|
Идентификационное наименование ПО |
AnalogConverter.app |
|
Номер версии (идентификационный номер) ПО |
1.2.2.1 |
|
Цифровой идентификатор ПО |
d1d130e5 |
|
Алгоритм вычисления цифрового идентификатора |
CRC32 |
|
Идентификационное наименование ПО |
SIKNCalc.app |
|
Номер версии (идентификационный номер) ПО |
1.2.2.1 |
|
Цифровой идентификатор ПО |
6ae1b72f |
|
Алгоритм вычисления цифрового идентификатора |
CRC32 |
|
Идентификационное наименование ПО |
Sarasota.app |
|
Номер версии (идентификационный номер) ПО |
1.1.1.18 |
|
Цифровой идентификатор ПО |
1994df0b |
|
Алгоритм вычисления цифрового идентификатора |
CRC32 |
|
Идентификационное наименование ПО |
PP 78xx.app |
|
Номер версии (идентификационный номер) ПО |
1.1.1.20 |
|
Цифровой идентификатор ПО |
6aa13875 |
|
Алгоритм вычисления цифрового идентификатора |
CRC32 |
|
Идентификационное наименование ПО |
MI1974.app |
|
Номер версии (идентификационный номер) ПО |
1.6.1.11 |
|
Цифровой идентификатор ПО |
4bc442dc |
|
Алгоритм вычисления цифрового идентификатора |
CRC32 |
|
Идентификационное наименование ПО |
MI3233.app |
|
Номер версии (идентификационный номер) ПО |
1.1.1.28 |
|
Цифровой идентификатор ПО |
58049d20 |
|
Алгоритм вычисления цифрового идентификатора |
CRC32 |
|
Идентификационное наименование ПО |
MI3265.app |
|
Номер версии (идентификационный номер) ПО |
1.6.1.3 |
|
Цифровой идентификатор ПО |
29c26fcf |
|
Алгоритм вычисления цифрового идентификатора |
CRC32 |
|
Идентификационное наименование ПО |
MI3266.app |
|
Номер версии (идентификационный номер) ПО |
1.6.1.6 |
|
Цифровой идентификатор ПО |
4c134dd0 |
|
Алгоритм вычисления цифрового идентификатора |
CRC32 |
|
Идентификационные данные (признаки) |
Значение |
|
Идентификационное наименование ПО |
MI3267.app |
|
Номер версии (идентификационный номер) ПО |
1.6.1.5 |
|
Цифровой идентификатор ПО |
5e6ec20d |
|
Алгоритм вычисления цифрового идентификатора |
CRC32 |
|
Идентификационное наименование ПО |
MI3287.app |
|
Номер версии (идентификационный номер) ПО |
1.6.1.4 |
|
Цифровой идентификатор ПО |
86fff286 |
|
Алгоритм вычисления цифрового идентификатора |
CRC32 |
|
Идентификационное наименование ПО |
MI3312.app |
|
Номер версии (идентификационный номер) ПО |
1.1.1.30 |
|
Цифровой идентификатор ПО |
f3578252 |
|
Алгоритм вычисления цифрового идентификатора |
CRC32 |
|
Идентификационное наименование ПО |
MI3380.app |
|
Номер версии (идентификационный номер) ПО |
1.6.1.12 |
|
Цифровой идентификатор ПО |
e2edee82 |
|
Алгоритм вычисления цифрового идентификатора |
CRC32 |
|
Идентификационное наименование ПО |
KMH PP.app |
|
Номер версии (идентификационный номер) ПО |
1.1.1.17 |
|
Цифровой идентификатор ПО |
5b181d66 |
|
Алгоритм вычисления цифрового идентификатора |
CRC32 |
|
Идентификационное наименование ПО |
KMH PP AREOM.app |
|
Номер версии (идентификационный номер) ПО |
1.3.3.1 |
|
Цифровой идентификатор ПО |
62b3744e |
|
Алгоритм вычисления цифрового идентификатора |
CRC32 |
|
Идентификационное наименование ПО |
MI2816.app |
|
Номер версии (идентификационный номер) ПО |
1.1.1.5 |
|
Цифровой идентификатор ПО |
c5136609 |
|
Алгоритм вычисления цифрового идентификатора |
CRC32 |
|
Идентификационное наименование ПО |
MI3151.app |
|
Номер версии (идентификационный номер) ПО |
1.1.1.21 |
|
Цифровой идентификатор ПО |
c25888d2 |
|
Алгоритм вычисления цифрового идентификатора |
CRC32 |
|
Идентификационное наименование ПО |
MI3272.app |
|
Номер версии (идентификационный номер) ПО |
1.1.1.50 |
|
Цифровой идентификатор ПО |
4ecfdc10 |
|
Алгоритм вычисления цифрового идентификатора |
CRC32 |
|
Идентификационное наименование ПО |
KMH MPR MPR.app |
|
Номер версии (идентификационный номер) ПО |
1.1.1.4 |
|
Цифровой идентификатор ПО |
82dd84f8 |
|
Алгоритм вычисления цифрового идентификатора |
CRC32 |
|
Идентификационные данные (признаки) |
Значение |
|
Идентификационное наименование ПО |
MI3288.app |
|
Номер версии (идентификационный номер) ПО |
1.1.1.14 |
|
Цифровой идентификатор ПО |
c14a276b |
|
Алгоритм вычисления цифрового идентификатора |
CRC32 |
|
Идентификационное наименование ПО |
MI3155.app |
|
Номер версии (идентификационный номер) ПО |
1.1.1.30 |
|
Цифровой идентификатор ПО |
8da9f5c4 |
|
Алгоритм вычисления цифрового идентификатора |
CRC32 |
|
Идентификационное наименование ПО |
MI3189.app |
|
Номер версии (идентификационный номер) ПО |
1.1.1.21 |
|
Цифровой идентификатор ПО |
41986ac5 |
|
Алгоритм вычисления цифрового идентификатора |
CRC32 |
|
Идентификационное наименование ПО |
KMH PV.app |
|
Номер версии (идентификационный номер) ПО |
1.1.2.1 |
|
Цифровой идентификатор ПО |
adde66ed |
|
Алгоритм вычисления цифрового идентификатора |
CRC32 |
|
Идентификационное наименование ПО |
KMH PW.app |
|
Номер версии (идентификационный номер) ПО |
1.1.1.2 |
|
Цифровой идентификатор ПО |
2a3adf03 |
|
Алгоритм вычисления цифрового идентификатора |
CRC32 |
|
Идентификационное наименование ПО |
MI2974.app |
|
Номер версии (идентификационный номер) ПО |
1.1.1.21 |
|
Цифровой идентификатор ПО |
c73ae7b9 |
|
Алгоритм вычисления цифрового идентификатора |
CRC32 |
|
Идентификационное наименование ПО |
MI3234.app |
|
Номер версии (идентификационный номер) ПО |
1.1.1.34 |
|
Цифровой идентификатор ПО |
df6e758c |
|
Алгоритм вычисления цифрового идентификатора |
CRC32 |
|
Идентификационное наименование ПО |
GOSTR8908.app |
|
Номер версии (идентификационный номер) ПО |
1.1.1.33 |
|
Цифровой идентификатор ПО |
37cc413a |
|
Алгоритм вычисления цифрового идентификатора |
CRC32 |
|
Примечания:
| |
Знак утверждения типа
Знак утверждения типа наносится на титульном листе инструкции по эксплуатации СИКН.
Сведения о методиках измерений
Сведения о методиках (методах) измерений
приведена в документе «Инструкция. Масса нефти. Методика измерений системой измерений количества и показателей качества нефти № 432 ПСП ЛПДС «Староликеево» Горьковского РНУ АО «Транснефть - Верхняя Волга» (свидетельство об аттестации методики (метода) измерений № 169-RA.RU.312546-2020 от 19.10.2020 г).
Нормативные и технические документы
Принцип действия СИКН основан на использовании косвенного метода динамических измерений массы нефти.
При косвенном методе динамических измерений массу брутто нефти определяют с применением измерительных компонентов: преобразователя объемного расхода, плотности, температуры и давления Выходные электрические сигналы преобразователя объемного расхода, преобразователей температуры, давления, плотности поступают на соответствующие входы измерительно-вычислительного комплекса, который преобразует их и вычисляет массу брутто нефти по реализованному в нем алгоритму. Часть измерительных компонентов СИКН формируют вспомогательные измерительные каналы (ИК), метрологические характеристики которых определяются комплектным методом.
СИКН представляет собой единичный экземпляр измерительной системы целевого назначения, спроектированной для конкретного объекта и состоящей из блока измерительных линий (БИЛ), блока измерений показателей качества нефти (далее - БИК), трубопоршневой поверочной установки (ТПУ), узла регулирования расхода и давления, межблочной технологической обвязки, дренажных трубопроводов с запорной арматурой, системы сбора и обработки информации. Монтаж и наладка СИКН осуществлены непосредственно на объекте эксплуатации в соответствии с проектной и эксплуатационной документацией на СИКН и ее компоненты.
Измерительные компоненты СИКН, участвующие в измерениях массы нефти, контроле и измерении показателей качества нефти, приведены в таблице 1. Измерительные компоненты могут быть заменены в процессе эксплуатации на измерительные компоненты утвержденного типа, приведенные в таблице 1.
Таблица 1 - Основные измерительные компоненты, применяемые в составе СИКН
|
Наименование измерительного компонента |
Регистрационный номер в Федеральном информационном фонде по обеспечению единства измерений |
|
Счетчики жидкости турбинные с Ду от 3/4" до 24" с блоками (далее - ТПР) |
12750-91 |
|
Преобразователи плотности жидкости измерительные модели 7835 |
15644-01 |
|
Преобразователи плотности и вязкости жидкости измерительные модели 7827 |
15642-01 |
|
Преобразователи давления измерительные 3051 |
14061-99 |
|
Преобразователи давления измерительные АИР-20/М2 |
63044-16 |
|
Наименование измерительного компонента |
Регистрационный номер в Федеральном информационном фонде по обеспечению единства измерений |
|
Преобразователи измерительные 644, 3144Р в комплекте с термопреобразователями сопротивления платиновыми серии 65 |
14683-04, 22257-01, 22257-05 |
|
Датчики температуры TMT 142R |
63821-16 |
|
Комплекс измерительно-вычислительный ТН-01 (далее - ИВК) |
67527-17 |
В состав СИКН входит средство измерений объемного расхода в БИК, а также входят показывающие измерительные компоненты утвержденных типов:
- манометры и термометры для местной индикации давления и температуры нефти. СИКН обеспечивает выполнение следующих основных функций:
- автоматические измерения объемного расхода и массы брутто нефти косвенным методом динамических измерений в рабочем диапазоне расхода;
- автоматизированные вычисления массы нетто нефти как разности массы брутто нефти и массы балласта, с использованием результатов измерений массовой доли механических примесей, массовой доли хлористых солей и массовой доли воды, определенных в аккредитованной испытательной лаборатории за установленные интервалы времени;
- автоматические измерения плотности, вязкости и объемного расхода нефти через БИК;
- измерения давления и температуры нефти автоматические и с помощью показывающих средств измерений давления и температуры нефти соответственно;
- проведение контроля метрологических характеристик и поверки РМ с применением установки трубопоршневой;
- автоматический и ручной отбор проб нефти согласно ГОСТ 2517-2012 «Нефть и нефтепродукты. Методы отбора проб»;
- контроль показателей качества нефти и технологических параметров работы СИКН;
- защиту информации от несанкционированного доступа установкой логина и паролей разного уровня доступа;
- регистрация и хранение результатов измерений, формирование отчетов.
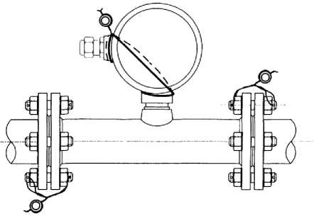
Для исключения возможности несанкционированного вмешательства, которое может повлиять на результат измерений, конструкцией ТПР, входящего в состав ИК объемного расхода нефти, предусмотрены места установки пломб, несущих на себе оттиск клейма поверителя, который наносится методом давления на две свинцовые (пластмассовые) пломбы, установленные на контровочных проволоках, пропущенных через отверстия в шпильках, расположенных на диаметрально противоположных фланцах.
Схема пломбировки от несанкционированного доступа с местами установки пломб на ТПР представлена на рисунке 1.
Рисунок 1 - Схема пломбировки от несанкционированного доступа с местами установки пломб
Нанесение знака поверки на СИКН не предусмотрено.
Таблица 6 - Комплектность СИКН
|
Наименование |
Обозначение |
Количество |
|
Система измерений количества и показателей качества нефти № 432, заводской № 432 |
- |
1 шт. |
|
Инструкция по эксплуатации системы измерений количества и показателей качества нефти № 432 |
- |
1 экз. |
|
Методика поверки |
МП 1171-14-2020 |
1 экз. |
Метрологические и основные технические характеристики, включая показатели точности и показатели качества измеряемой среды, приведены в таблицах 3, 4, 5.
Таблица 3 - Состав и основные метрологические характеристики вспомогательных ИК с комплектным методом определения метрологических характеристик
|
S р о о £ |
Наименование ИК |
Количество ИК (место установки) |
Состав ИК |
Диапазон измерений |
Пределы допускаемой погрешности ИК | |
|
Первичный измерительный преобразователь |
Вторичная часть | |||||
|
1 2
|
ИК объемного расхода нефти (ИК 1, ИК 2, ИК 3, ИК 4) |
4 (1 ИЛ, 2 ИЛ, 3 ИЛ, 4 ИЛ) |
ТПР |
ИВК |
от 570 до 2500 м3/ч |
±0,15 % относительная |
Таблица 4 - Метрологические характеристики СИКН
|
Наименование характеристики |
Значение |
|
Диапазон измерений объемного расхода нефти, м3/ч |
от 570 до 2500* |
|
Пределы допускаемой относительной погрешности измерений массы брутто нефти, % |
±0,25 |
|
Пределы допускаемой относительной погрешности измерений массы нетто нефти, % |
±0,35 |
|
* - указан максимальный диапазон измерений. Фактический диапазон измерений определяется при проведении поверки, фактический диапазон измерений не может превышать максимальный диапазон измерений. | |
Таблица 5 - Основные технические характеристики СИКН
|
Наименование характеристики |
Значение |
|
Количество измерительных линий, шт. |
4 (3 рабочие, 1 резервная) |
|
Максимальное допустимое избыточное давление, МПа |
1,6 |
|
Суммарные потери давления на БИЛ при максимальном расходе и максимальной вязкости, МПа:
|
0,2 0,4 |
|
Режим работы СИКН |
периодический |
|
Измеряемая среда |
нефть, соответствующая ГОСТ 31378-2009 «Нефть. Общие технические условия», ГОСТ Р 51858-2002 «Нефть. Общие технические условия» |
|
Вязкость кинематическая в рабочем диапазоне температуры, мм2/с |
от 8,0 до 48,9 |
|
Плотность в рабочем диапазоне температуры, кг/м3 |
от 850 до 890 |
|
Температура измеряемой среды, °С
|
+2 +30 |
|
Давление насыщенных паров, кПа (мм рт.ст.), не более |
66,7 (500) |
|
Массовая доля воды, %, не более |
1,0 |
|
Массовая концентрация хлористых солей, мг/дм3, не более |
900 |
|
Массовая доля механических примесей, %, не более |
0,05 |
|
Содержание свободного газа |
не допускается |
|
Наименование характеристики |
Значение |
|
Параметры электрического питания:
|
380±38 трехфазное 220±22 однофазное, 50±1 |
|
Условия эксплуатации:
|
от -35 до +50 от 30 до 80 от 84 до 106 |
|
Срок службы, лет, не менее |
10 |
|
Средняя наработка на отказ, ч |
20000 |

