Номер по Госреестру СИ: 50425-12
50425-12 Комплексы измерительные
(ЦВ8535)
Назначение средства измерений:
Комплексы измерительные ЦВ8535 (далее - комплексы) предназначены для измерения падений напряжений на проводах в трехфазных трехпроводных или четырехпроводных сетях переменного тока, а также измерения среднеквадратических (действующих) значений напряжений в трехфазных или однофазных сетях переменного тока, одновременного измерения среднеквадратических значений напряжения и тока одной фазы без разрыва цепи.

Внешний вид.
Комплексы измерительные
Рисунок № 1

Внешний вид.
Комплексы измерительные
Рисунок № 2

Внешний вид.
Комплексы измерительные
Рисунок № 3
Общие сведения
Дата публикации -
Срок свидетельства - 09.07.2017
Номер записи -
ID в реестре СИ - 362274
Тип производства - серийное
Описание типа
Поверка
Интервал между поверками по ОТ - 1 год
Наличие периодической поверки - Да
Модификации СИ
ЦВ8535,
Производитель
Изготовитель - ООО "МНПП "Электроприбор"
Страна - БЕЛАРУСЬ
Населенный пункт -
Уведомление о начале осуществления предпринимательской деятельности - Да
В отчете предоставлена информация по географии распределения эталонов единиц величин по территории РФ и видам измерений.
Предусмотрено выделение 11 видов измерений:
- Акустические величины
- Давление, вакуум
- Оптические и оптико-физические
- Теплофизика, температура
- Время, частота
- Ионизирующие излучения и ядерные константы
- Поток, расход, уровень, объем веществ
- Электрические и магнитные величины, радиоэлектроника
- Геометрические величины
- Механические величины
- Состав и свойства веществ
Географическая привязка эталонов осуществляется к конкретному городу, региону или федеральному округу РФ. Количественные данные об эталонах представлены как штуках, так и в процентном соотношении.
В качестве источника данных были использованы два реестра ФГИС АРШИН: реестр эталонов единиц величин - https://fgis.gost.ru/fundmetrology/registry/11 и реестр средств измерений, применяемых в качестве эталонов - https://fgis.gost.ru/fundmetrology/cm/etalons/296436.
Отчет состоит из 12 графиков и 2 таблиц, разнесённых по информационным блокам. Графики являются интерактивными с возможностью масштабирования и экспорта в сторонние программы. Первый блок содержит сводную статистическую информацию об эталонах. Отдельно для аттестованных эталонов и отдельно для средств измерений, применяемых в качестве эталонов. Далее, следуют два информационных блока с привязкой к региону РФ или Федеральному округу.
В завершении отчета приведена сводная таблица, данные из которой можно использовать для самостоятельной обработки данных.
Статистика
Кол-во поверок - 8
Выдано извещений - 0
Кол-во периодических поверок - 6
Кол-во средств измерений - 0
Кол-во владельцев - 3
Усредненный год выпуска СИ - 0
МПИ по поверкам - 364 дн.
Приказы РСТ, где упоминается данный тип СИ
№2700 от 2017.12.05 Об утверждении типов средств измерений
№1811 от 2024.08.06 ПРИКАЗ_Об утверждении типов средств измерений_в рамках признания (2)
Наличие аналогов СИ: Комплексы измерительные (ЦВ8535)
ИМПОРТНОЕ СИ № в реестре, наименование СИ, обозначение, изголовитель |
ОТЕЧЕСТВЕННЫЙ АНАЛОГ № в реестре, наименование СИ, обозначение, изголовитель |
---|
Все средства измерений ООО "МНПП "Электроприбор"
№ в реестре cрок св-ва |
Наименование СИ, обозначение, изголовитель | ОТ, МП | МПИ |
---|---|---|---|
32285-06 01.09.2011 |
Устройства измерительные, ЦП8512 ООО "МНПП "Электроприбор" (БЕЛАРУСЬ ) |
1 год | |
32285-12 20.06.2017 |
Устройства измерительные, ЦП8512 ООО "МНПП "Электроприбор" (БЕЛАРУСЬ ) |
ОТ |
4 года |
32285-17 28.02.2022 |
Устройства измерительные, ЦП8512 ООО "МНПП "Электроприбор" (БЕЛАРУСЬ ) |
ОТ МП |
2 года |
32286-06 01.09.2011 |
Устройства измерительные, ЦП8506 ООО "МНПП "Электроприбор" (БЕЛАРУСЬ ) |
1 год | |
32286-10 01.04.2015 |
Устройства измерительные, ЦП8506 ООО "МНПП "Электроприбор" (БЕЛАРУСЬ ) |
ОТ |
1 год |
32286-15 27.05.2020 |
Устройства измерительные, ЦП8506 ООО "МНПП "Электроприбор" (БЕЛАРУСЬ ) |
ОТ МП |
4 года |
32287-06 01.09.2011 |
Устройства измерительные, ЦП8501 ООО "МНПП "Электроприбор" (БЕЛАРУСЬ ) |
1 год | |
32287-11 06.09.2016 |
Устройства измерительные, ЦП8501 ООО "МНПП "Электроприбор" (БЕЛАРУСЬ ) |
ОТ |
1 год |
32287-16 23.12.2020 |
Устройства измерительные, ЦП8501 ООО "МНПП "Электроприбор" (БЕЛАРУСЬ ) |
ОТ МП |
4 года |
35361-07 01.08.2012 |
Установки поверочные переносные, УПП8531М ООО "МНПП "Электроприбор" (БЕЛАРУСЬ ) |
1 год | |
35361-12 02.10.2019 |
Установки поверочные переносные, УПП8531М ООО "МНПП "Электроприбор" (БЕЛАРУСЬ ) |
ОТ |
1 год |
35361-12 11.09.2017 |
Установки поверочные переносные, УПП8531М ООО "МНПП "Электроприбор" (БЕЛАРУСЬ ) |
ОТ МП |
1 год |
36905-08 01.02.2013 |
Преобразователи измерительные мощности, ЭП8530М ООО "МНПП "Электроприбор" (БЕЛАРУСЬ ) |
ОТ |
1 год |
36905-12 26.12.2017 |
Преобразователи измерительные мощности, ЭП8530М ООО "МНПП "Электроприбор" (БЕЛАРУСЬ ) |
ОТ |
1 год |
36905-17 30.08.2021 |
Преобразователи измерительные мощности, ЭП8530М ООО "МНПП "Электроприбор" (БЕЛАРУСЬ ) |
ОТ МП |
1 год |
37458-08 01.05.2013 |
Вольтметры переменного тока, ЦВ8500 ООО "МНПП "Электроприбор" (БЕЛАРУСЬ ) |
ОТ |
1 год |
37458-08 14.05.2018 |
Вольтметры переменного тока, ЦВ8500 ООО "МНПП "Электроприбор" (БЕЛАРУСЬ ) |
ОТ МП |
1 год |
37458-17 28.02.2022 |
Вольтметры, ЦВ8500 ООО "МНПП "Электроприбор" (БЕЛАРУСЬ ) |
ОТ МП |
1 год |
37459-08 01.05.2013 |
Амперметры переменного тока, ЦА8500 ООО "МНПП "Электроприбор" (БЕЛАРУСЬ ) |
ОТ |
1 год |
37459-08 14.05.2018 |
Амперметры переменного тока, ЦА8500 ООО "МНПП "Электроприбор" (БЕЛАРУСЬ ) |
ОТ МП |
1 год |
37459-17 28.02.2022 |
Амперметры, ЦА8500 ООО "МНПП "Электроприбор" (БЕЛАРУСЬ ) |
ОТ МП |
1 год |
37460-08 14.05.2018 |
Ваттметры цифровые, ЦЛ8516 ООО "МНПП "Электроприбор" (БЕЛАРУСЬ ) |
ОТ МП |
1 год |
37460-08 01.05.2013 |
Ваттметры цифровые, ЦЛ8516 ООО "МНПП "Электроприбор" (БЕЛАРУСЬ ) |
ОТ |
1 год |
40953-09 02.07.2019 |
Преобразователи измерительные переменного тока и напряжения переменного тока, ЭП8527 ООО "МНПП "Электроприбор" (БЕЛАРУСЬ ) |
ОТ |
1 год |
40996-09 02.07.2019 |
Преобразователи измерительные переменного тока, ЭП8554 ООО "МНПП "Электроприбор" (БЕЛАРУСЬ ) |
ОТ |
1 год |
40997-09 02.07.2019 |
Преобразователи измерительные напряжения переменного тока, ЭП8555 ООО "МНПП "Электроприбор" (БЕЛАРУСЬ ) |
ОТ |
1 год |
43940-10 01.04.2015 |
Преобразователи измерительные цифровые, ЦП8507 ООО "МНПП "Электроприбор" (БЕЛАРУСЬ ) |
ОТ |
4 года |
43940-15 30.06.2021 |
Преобразователи измерительные цифровые, ЦП8507 ООО "МНПП "Электроприбор" (БЕЛАРУСЬ ) |
ОТ МП |
4 года |
46803-11 |
Вольтметры дифференциальные, ЦВ8535 ООО "МНПП "Электроприбор" (БЕЛАРУСЬ ) |
ОТ |
1 год |
50425-12 09.07.2017 |
Комплексы измерительные, ЦВ8535 ООО "МНПП "Электроприбор" (БЕЛАРУСЬ ) |
ОТ |
1 год |
50425-17 30.05.2022 |
Комплексы измерительные, ЦВ8535 ООО "МНПП "Электроприбор" (БЕЛАРУСЬ ) |
ОТ МП |
1 год |
51556-12 22.10.2017 |
Преобразователи измерительные напряжения постоянного тока, ЭП8557 ООО "МНПП "Электроприбор" (БЕЛАРУСЬ ) |
ОТ |
1 год |
51556-17 29.05.2019 |
Преобразователи измерительные напряжения постоянного тока, ЭП8557 ООО "МНПП "Электроприбор" (БЕЛАРУСЬ ) |
ОТ МП |
1 год |
51557-12 22.10.2017 |
Преобразователи измерительные постоянного тока, ЭП8556 ООО "МНПП "Электроприбор" (БЕЛАРУСЬ ) |
ОТ |
1 год |
51557-17 29.05.2019 |
Преобразователи измерительные постоянного тока, ЭП8556 ООО "МНПП "Электроприбор" (БЕЛАРУСЬ ) |
ОТ МП |
1 год |
53021-13 15.03.2018 |
Преобразователи измерительные переменного тока, ЭП8542 ООО "МНПП "Электроприбор" (БЕЛАРУСЬ ) |
ОТ |
1 год |
53022-13 15.03.2018 |
Преобразователи измерительные напряжения переменного тока, ЭП8543 ООО "МНПП "Электроприбор" (БЕЛАРУСЬ ) |
ОТ |
1 год |
58909-14 31.10.2019 |
Преобразователи измерительные частоты переменного тока, ЭП8528 ООО "МНПП "Электроприбор" (БЕЛАРУСЬ ) |
ОТ |
1 год |
53022-18 01.03.2023 |
Преобразователи измерительные напряжения переменного тока, ЭП8543 ООО "МНПП "Электроприбор" (БЕЛАРУСЬ ) |
ОТ МП |
1 год |
53021-18 01.03.2023 |
Преобразователи измерительные переменного тока, ЭП8542 ООО "МНПП "Электроприбор" (БЕЛАРУСЬ ) |
ОТ МП |
1 год |
40953-19 31.07.2023 |
Преобразователи измерительные переменного тока и напряжения переменного тока, ЭП8527 ООО "МНПП "Электроприбор" (БЕЛАРУСЬ ) |
ОТ МП |
2 года |
40996-19 29.10.2021 |
Преобразователи измерительные переменного тока, ЭП8554 ООО "МНПП "Электроприбор" (БЕЛАРУСЬ ) |
ОТ МП |
1 год |
40997-19 29.10.2021 |
Преобразователи измерительные напряжения переменного тока, ЭП8555 ООО "МНПП "Электроприбор" (БЕЛАРУСЬ ) |
ОТ МП |
1 год |
58909-19 27.02.2024 |
Преобразователи измерительные частоты переменного тока, ЭП8528 ООО "МНПП "Электроприбор" (БЕЛАРУСЬ ) |
ОТ МП |
1 год |
51557-19 26.03.2024 |
Преобразователи измерительные постоянного тока, ЭП8556 ООО "МНПП "Электроприбор" (БЕЛАРУСЬ ) |
ОТ МП |
1 год |
51556-19 26.03.2024 |
Преобразователи измерительные напряжения постоянного тока, ЭП8557 ООО "МНПП "Электроприбор" (БЕЛАРУСЬ ) |
ОТ МП |
1 год |
82806-21 25.08.2026 |
Устройства измерительные, ЦП8501 ООО "МНПП "Электроприбор" (БЕЛАРУСЬ ) |
ОТ МП |
1 год |
40997-21 15.04.2026 |
Преобразователи измерительные напряжения переменного тока, ЭП8555 ООО "МНПП "Электроприбор" (БЕЛАРУСЬ ) |
ОТ МП |
1 год |
87135-22 31.05.2027 |
Приборы цифровые многофункциональные, ЦМ ООО "МНПП "Электроприбор" (БЕЛАРУСЬ ) |
ОТ МП |
1 год |
50425-24 14.02.2029 |
Комплексы измерительные, ЦВ8535 ООО "МНПП "Электроприбор" (БЕЛАРУСЬ ) |
ОТ МП |
1 год |
Пенза - город в центре европейской части России, административный центр Пензенской области. является городом областного значения, образует муниципальное образование городской округ город Пенза. Население - 501 109 человек.
Пенза расположена в центре европейской части России на Приволжской возвышенности, в 629 км к юго-востоку от Москвы. Город расположен на берегах реки Сура в южной части Пензенской области, в 26 км к востоку от ее географического центра. Площадь города составляет 310,4 кв. км.
Средняя высота над уровнем моря - 174 м. Самая высокая точка находится на холме Боевой горы, вытянутой с SW на NE как хребет. Максимальная высота - 134 м.
Основными видами промышленной продукции, выпускаемой предприятиями города, являются: стальные трубы, промышленная трубопроводная арматура, воздушные и газовые приводные компрессоры, машины для коммунального хозяйства, медицинское оборудование, приборы и средства автоматизации, химическое оборудование, вычислительная техника. ОАО "ППО ЭВТ им. В.А. Ревунова" - производство бытовой техники. НПП "МедИнж" - производство сердечных клапанов. На долю "Маяка" приходится 60% отечественного рынка бумаги-основы, используемой в дизайне, производстве мебели, обоев, декоративных пластиков. НПП "Эра" - производство летных тренажеров для пилотов гражданской авиации, механизмов для химической и нефтехимической промышленности. Пензенская кондитерская фабрика - более 130 наименований кондитерских изделий и др.
Отчет "Анализ рынка поверки в Пензе" предоставляет исчерпывающую информацию по деятельности организаций, аккредитованных в Национальной системе аккредитации на право поверки средств измерений в городе Пенза.
При проведении исследований были введены следующие ограничения:
- в отчете присутствуют организации с первичными или периодическими поверками от 100 шт. с 2017 года и действующими аттестатами аккредитации на текущий год;
- на первом и втором этапах фильтром отсекаются типы СИ с менее чем 10 поверками в год на организацию;
- на первом и втором этапах фильтром отсекаются типы СИ с менее чем 10 поверками в год на организацию;
- место регистрации или осуществления деятельности организаций должно совпадать с выбранным городом;
- топ типов СИ ограничен 500 позициями по каждой организации (сортировка по убыванию количества поверок);
- топ типов СИ ограничен 100 позициями по каждой организации при поиске по видам измерений (сортировка по убыванию количества поверок).
Содержание отчета:
- Список организаций-поверителей, осуществляющих поверку в городе Москва по данным ФСА и ФГИС АРШИН.
- Объемы первичных и периодических поверок за период с 2017г. по н.в.
- Информация о местах осуществления деятельности организаций-поверителей.
- Доля рынка поверок в % среди всех организаций, исследуемого города (предоставление информации в графическом и табличном видах).
- Детальный анализ по каждой из организации, работающей в выбранном городе.
- Анализ деятельности в разрезе первичных, периодических поверок и видов измерений.
- Количество поверок по типам СИ в динамике по годам.
- Индикация импортных аналогов средств поверки (в соответствии с ПЕРЕЧЕНЕМ СИ ОТЕЧЕСТВЕННОГО ПРОИЗВОДСТВА, АНАЛОГИЧНЫХ СРЕДСТВАМ ИЗМЕРЕНИЙ ИМПОРТНОГО ПРОИЗВОДСТВА от 09.2022г)
- Индикация типов СИ по ПП РФ №250 от 20.04.2010 г.
- Быстрый анализ контрагентов организаций-поверителей.
- Анализ цен на поверку СИ по Фед. округу.
Кто поверяет Комплексы измерительные (ЦВ8535)
Наименование организации | Cтатус | Поверенные модификации | Кол-во поверок | Поверок в 2025 году | Первичных поверок | Периодических поверок | Извещений | Для юриков | Для юриков первичные | Для юриков периодические |
---|---|---|---|---|---|---|---|---|---|---|
ФБУ "СТАВРОПОЛЬСКИЙ ЦСМ" (РОСС.RU.0001.310109) | РСТ | 4 | 0 | 2 | 0 | 2 | 0 | 0 | ||
ФБУ "СЕВЕРО-КАВКАЗСКИЙ ЦСМ" (RA.RU.311488) | РСТ | 3 | 0 | 3 | 0 | 3 | 0 | 3 | ||
ФБУ "СЕВЕРО-КАВКАЗСКИЙ ЦСМ" (RA.RU.311311) | 1 | 0 | 1 | 0 | 1 | 0 | 1 |
Стоимость поверки Комплексы измерительные (ЦВ8535)
Организация, регион | Стоимость, руб | Средняя стоимость |
---|
Знак утверждения типа
Знак утверждения типаЗнак утверждения типа наносится на таблички на крышках базового и ведомого блоков комплексов и на эксплуатационную документацию способом, аналогичным с выполнением других надписей и знаков.
Сведения о методиках измерений
Сведения о методиках (методах) измеренийМетоды измерения приведены в документе «Комплекс измерительный ЦВ8535. Руководство по эксплуатации» 3ЭП.499.350 РЭ.
Нормативные и технические документы
Нормативные документы, устанавливающие требования к комплексам измерительным ЦВ 8535
ГОСТ 12997-84 «Изделия ГСП. Общие технические условия»;
ГОСТ 12.2.091-2002 «Безопасность электрических контрольно-измерительных приборов и лабораторного оборудования. Общие требования»;
ТУ BY 300080696.350-2011 «Комплекс измерительный ЦВ8535. Технические условия».
Рекомендации по областям применения в сфере государственного регулирования обеспечения единства измерений
- осуществление производственного контроля за соблюдением установленных законодательст -вом Российской Федерации требований промышленной безопасности к эксплуатации опасного производственного объекта;
- осуществление деятельности по обеспечению безопасности при чрезвычайных ситуациях .
Поверка
Поверкаосуществляется по документу «Комплекс измерительный ЦВ 8535. Методика поверки. МРБ МП.2176-2011», утверждённому РУП «Витебский ЦСМС » в июле 2011 года.
Перечень основного оборудования, необходимого для поверки:
-
1.Универсальная пробойная установка УПУ-10:
- выходное напряжение до 10 кВ ;
- погрешность установки напряжения ± 5%.
-
2. Установка поверочная автоматическая универсальная УППУ-1М ТУ 50-242-80:
-
- диапазон выходного напряжения 0 - 750 В;
-
- диапазон выходного тока 0-10 А;
-
- диапазон измерений частот 40-1000 Гц;
-
- основная погрешность ± 0,03%.
-
3. Частотомер электронно-счётный Ч3-54:
-
- диапазон напряжения входного сигнала 0,3 - 100 В;
-
- относительная погрешность 5-10’7.
Изготовитель
В состав комплексов входят: базовый блок, ведомый блок, датчик тока. Комплексы имеют два режима работы: автономный и совместный. Каждый блок имеет встроенный интерфейс RS-485, который обеспечивает обмен информацией между базовым и ведомым блоками при работе в совместном режиме. Измерение тока осуществляется с использованием датчика тока.
Принцип действия комплексов основан на преобразовании аналоговых входных сигналов напряжения и тока в цифровой код. Далее производится вычисление требуемых величин в цифровой форме и результаты выводятся на табло блоков или хранятся в их энергонезависимой памяти.
Блоки конструктивно состоят из следующих основных узлов: корпуса, платы измерения, платы делителя, модуля SD (карты памяти), жидко-кристаллического индикатора (ЖКИ), клавиатуры. Корпус блока выполнен из пластмассы и состоит из основания и крышки. Крышка корпуса крепится к основанию с помощью винтов.
Датчик тока конструктивно состоит из следующих основных узлов: корпуса, имеющего подвижную и неподвижную часть, размыкающегося магнитопровода, двух катушек с обмотками из медного провода, шнура с соединителем для подключения к базовому или ведомому блоку. Подвижная и неподвижная части корпуса выполнены из пластмассы. Они состоят из двух симметричных частей, соединяющихся между собой с помощью винтов. Датчик тока является неотъемлемой частью комплексов.
Питание каждого блока осуществляется от сети переменного тока напряжением (220 -+2323 ) В, частотой (50 ± 0,5) Гц через сетевой адаптер, преобразующий напряжение сети в напряжение постоянного тока 5 В, или от четырех аккумуляторов, расположенных внутри корпуса блока, с номинальным напряжением 1,2 В и емкостью не менее 2400 мА^ч каждый.
Для обеспечения питания блока от аккумуляторов в нижней части корпуса располагается выдвижной батарейный отсек, выполненный в виде корпуса с крышкой, в котором размещаются четыре аккумулятора.
Сетевые адаптеры, аккумуляторы, устройство зарядное к аккумуляторам входят в комплект поставки комплексов.
Подключение блоков к источникам сигналов осуществляется при помощи соответствующих кабелей из комплекта поставки комплексов.
Для хранения и переноски комплексов используется кейс.
Комплексы могут применяться для измерений в энергетике и на энергоемких объектах различных отраслей промышленности.
Фотография общего вида комплекса приведена на рисунке 1.

Рис.1
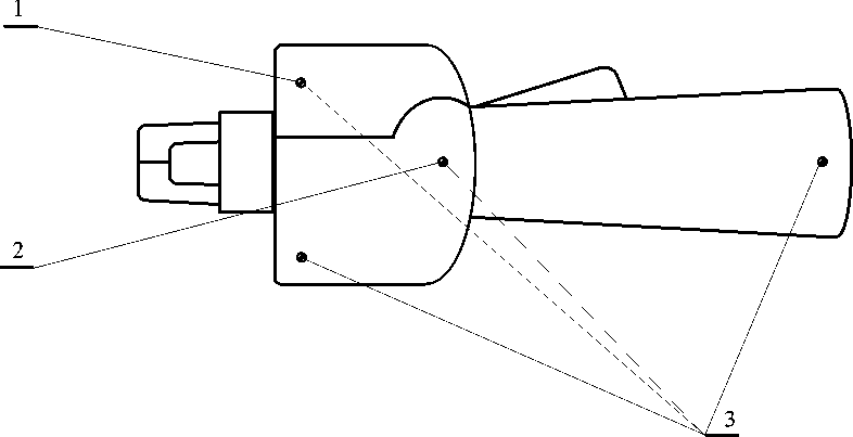
Схема пломбировки от несанкционированного доступа и указание мест для нанесения оттиска клейма ОТК и оттиска клейма Знака поверки на базовом и ведомом блоках (вид сзади) приведена на рисунке 2 и на датчике тока (вид сзади) на рисунке 3.

-
1 - место для нанесения оттиска клейма Знака поверки;
-
2 - место для нанесения оттиска клейма ОТК;
-
3 - винты, крепящие крышку корпуса к основанию.
Рис. 2

-
1 - место для нанесения оттиска клейма Знака поверки;
-
2 - место для нанесения оттиска клейма ОТК;
-
3 - винты, крепящие две части корпуса.
Рис.3
Комплект поставки комплексов приведен в таблице 2.
Таблица 2
Обозначение |
Наименование |
Количество |
3ЭП.499.351 |
Комплекс измерительный ЦВ8535. Блок базовый |
1 |
3ЭП.499.351-01 |
Комплекс измерительный ЦВ8535. Блок ведомый |
1 |
5ЭП.577.356 |
Датчик тока |
1 |
3ЭП.499.350 РЭ |
Руководство по эксплуатации |
1 |
МРБ МП.2176-2011 |
Методика поверки |
1 |
3ЭП.499.350 ПС |
Паспорт |
1 |
5ЭП.503.350 |
Кабель № 1 |
2 |
5ЭП.503.352 |
Кабель № 2 |
2 |
5ЭП.503.351 |
Кабель интерфейса |
1 |
- |
Адаптер сетевой ES18E05-F1J * |
2 |
- |
Аккумулятор HR-3U (AA) 1,2 V 2500 тАЪ SANYO * |
8 |
- |
Устройство зарядное GP PB 01 GS Smart (АА до 2400 тА) * |
1 |
- |
Карт-ридер для micro SD-карточки |
1 |
5ЭП.804.350 |
Кейс |
1 |
* Допускается замена |
на другой тип с аналогичными техническими характеристиками. |
Основные характеристики измеряемых сигналов в зависимости от режимов работы комплексов и режимов измерений соответствуют значениям, приведенным в таблице 1.
Таблица 1
Режим работы комплексов |
Режим измерений |
Измеряемый сигнал | |
Диапазон измерений |
Нормирующее значение | ||
Автономный |
трех напряжений (Uan, Urn, Ucn ), В; двух напряжений (Uan, Ucn), В; одного напряжения (Uan), В |
0-75 |
75 |
0-150 |
150 | ||
0-250 |
250 | ||
0-450 |
450 | ||
напряжения по входу "~ 2,5 V", В |
0-2,5 |
2,5 | |
тока, А |
0-1 |
1 | |
0-5 |
5 | ||
Совместный |
трех падений напряжений (DUan, DUbn, DUcn), В; двух падений напряжений (DUan, DUcn), В; одного падения напряжения (DUan), В |
0-60 |
60 |
0-100 |
100 | ||
0-200 |
200 | ||
0-300 |
300 |
Класс точности:
Пределы допускаемой основной приведенной погрешности комплексов от нормирующего значения измеряемого сигнала, % :
-
- при измерении тока ± 0,25
Пределы допускаемых дополнительных приведенных погрешностей КИ от нормирующего значения измеряемого сигнала, % :
а) при изменении температуры окружающего воздуха от (20 ± 2) °С до минус 10 °С и плюс 50 °С на каждые 10 °С:
|
± 0,05 ± 0,125 |
б) при воздействии относительной влажности (95 ± 3) % при температуре 35 °С:
|
± 0,1 ± 0,25 |
в) при воздействии внешнего однородного магнитного поля переменного тока частотой 50 Гц с магнитной индукцией 0,5 мТ при самом неблагоприятном направлении и фазе магнитного поля:
|
± 0,1 ± 0,25 |
Диапазон частот измеряемых сигналов, Гц 45 - 65
Входное сопротивление цепей AN, ВМ CN каждого блока, Ом, не менее:
-
- на пределах измерений 75 В и 150 В 1,5 -10 5
-
- на пределах измерений 250 В и 450 В 5,0 -10 5
Входное сопротивление входа "~ 2,5 V" каждого блока, Ом, не менее 1,5- 10 3
Мощность, потребляемая каждым блоком от измерительных цепей
AN, ВМ, CN, В-А, не более:
Мощность, потребляемая входом "~ 2,5 V" каждого блока, В-А,
Мощность, потребляемая каждым блоком от цепи
питания постоянного тока, Вт, не более
Условия эксплуатации:
|
от минус 10 до плюс 50 до 95 % при 35 оС |
Габаритные размеры каждого блока, мм, не более Габаритные размеры датчика тока, мм, не более: Габаритные размеры кейса, мм, не более Масса каждого блока (с аккумуляторами), кг, не более Масса датчика тока, кг, не более Масса КИ в кейсе, кг, не более Средний срок службы, лет, не менее Средняя наработка на отказ, ч, не менее Степень защиты от поражения электрическим током по ГОСТ 12.2.091-2002
290 х155 х 65
180 х 61 х 42
480 х 380 х 190
1
0,45
8
10
25000 оборудование класса II