Номер по Госреестру СИ: 24913-19
24913-19 Преобразователи измерительные активной мощности трехфазного тока
(Е848ЭС)
Назначение средства измерений:
Преобразователи измерительные активной мощности трехфазного тока Е 848ЭС (далее -преобразователи) предназначены для линейного преобразования активной мощности переменного тока частотой 50 Гц, 60 Гц в унифицированный выходной сигнал постоянного тока или напряжения постоянного тока.

Внешний вид.
Преобразователи измерительные активной мощности трехфазного тока
Рисунок № 1

Внешний вид.
Преобразователи измерительные активной мощности трехфазного тока
Рисунок № 2
Общие сведения
Дата публикации - 30.05.2020
Срок свидетельства - 27.11.2019
Номер записи -
ID в реестре СИ - 553304
Тип производства - серийное
Описание типа
Поверка
Интервал между поверками по ОТ - 4 года
Наличие периодической поверки - Да
Модификации СИ
Е848/14ЭС, Е848/13 ЭС,
Производитель
Изготовитель - ООО "Энерго-Союз"
Страна - БЕЛАРУСЬ
Населенный пункт - г.Витебск
Уведомление о начале осуществления предпринимательской деятельности - Да
Для построения отчета необходимо в выпадающем списке выбрать интересующего производителя, а также тип СИ (селектор позволяет выбирать из списка несколько записей) и нажать кнопку [Далее].
В процессе построения отчета будет сформирована таблица, содержащая следующие колонки: Владелец, Производитель, Тип СИ и наименование, Кол-во поверок, Кол-во СИ. Последняя колонка является кликабельной и служит для отображения списка средств измерений.
Статистика
Кол-во поверок - 42
Выдано извещений - 0
Кол-во периодических поверок - 42
Кол-во средств измерений - 42
Кол-во владельцев - 2
Усредненный год выпуска СИ - 0
МПИ по поверкам - 1460 дн.
Приказы РСТ, где упоминается данный тип СИ
№624 от 2019.03.25 Об утверждении типов средств измерений
№839 от 2020.04.27 ПРИКАЗ. Об утверждении типов средств измерений 75 шт (КИБ-76 - 14/769 - системы измерительной контроля параметров блоков 2 и 6 изделия 760 СИ БРП -760.9500-0)
№2596 от 2024.10.31 Приказ об утверждении Программы национальной стандартизации на 2025 год
Наличие аналогов СИ: Преобразователи измерительные активной мощности трехфазного тока (Е848ЭС)
| ИМПОРТНОЕ СИ № в реестре, наименование СИ, обозначение, изголовитель |
ОТЕЧЕСТВЕННЫЙ АНАЛОГ № в реестре, наименование СИ, обозначение, изголовитель |
|---|
Все средства измерений ООО "Энерго-Союз"
|
№ в реестре cрок св-ва |
Наименование СИ, обозначение, изголовитель | ОТ, МП | МПИ |
|---|---|---|---|
|
24219-03 17.01.2019 |
Преобразователи измерительные частоты переменного тока, Е858ЭС ООО "Энерго-Союз" (БЕЛАРУСЬ г.Витебск) |
ОТ |
1 год; с 2008 г. - 4 года |
|
24220-03 01.02.2008 |
Преобразователи измерительные напряжения постоянного тока, Е857ЭС ООО "Энерго-Союз" (БЕЛАРУСЬ г.Витебск) |
1 год | |
|
24220-08 01.07.2013 |
Преобразователи измерительные напряжения постоянного тока, Е857ЭС ООО "Энерго-Союз" (БЕЛАРУСЬ г.Витебск) |
ОТ |
4 года |
|
24220-14 17.01.2019 |
Преобразователи измерительные напряжения постоянного тока, Е857ЭС ООО "Энерго-Союз" (БЕЛАРУСЬ г.Витебск) |
ОТ |
4 года |
|
24221-03 01.02.2008 |
Преобразователи измерительные напряжения переменного тока, Е855ЭС ООО "Энерго-Союз" (БЕЛАРУСЬ г.Витебск) |
1 год | |
|
24221-08 01.07.2013 |
Преобразователи измерительные напряжения переменного тока, Е855ЭС ООО "Энерго-Союз" (БЕЛАРУСЬ г.Витебск) |
ОТ |
4 года |
|
24221-14 17.01.2019 |
Преобразователи измерительные напряжения переменного тока, Е855ЭС ООО "Энерго-Союз" (БЕЛАРУСЬ г.Витебск) |
ОТ |
4 года |
|
24222-03 01.02.2008 |
Преобразователи измерительные переменного тока, Е 854ЭС ООО "Энерго-Союз" (БЕЛАРУСЬ г.Витебск) |
1 год | |
|
24222-08 01.07.2013 |
Преобразователи измерительные переменного тока, Е854ЭС ООО "Энерго-Союз" (БЕЛАРУСЬ г.Витебск) |
ОТ |
4 года |
|
24222-14 17.01.2019 |
Преобразователи измерительные переменного тока, Е854ЭС ООО "Энерго-Союз" (БЕЛАРУСЬ г.Витебск) |
ОТ |
4 года |
|
24223-03 30.10.2019 |
Преобразователи измерительные суммирующие постоянного тока, Е851ЭС ООО "Энерго-Союз" (БЕЛАРУСЬ г.Витебск) |
1 год; с 2008 г. - 4 года | |
|
24255-03 01.02.2008 |
Преобразователи измерительные постоянного тока, Е856ЭС ООО "Энерго-Союз" (БЕЛАРУСЬ г.Витебск) |
1 год | |
|
24255-08 01.07.2013 |
Преобразователи измерительные постоянного тока, Е856ЭС ООО "Энерго-Союз" (БЕЛАРУСЬ г.Витебск) |
ОТ |
4 года |
|
24255-14 17.01.2019 |
Преобразователи измерительные постоянного тока, Е856ЭС ООО "Энерго-Союз" (БЕЛАРУСЬ г.Витебск) |
ОТ |
4 года |
|
24911-03 01.10.2013 |
Преобразователи измерительные переменного тока, Е842ЭС ООО "Энерго-Союз" (БЕЛАРУСЬ г.Витебск) |
ОТ |
1 год; с 2008 г. - 4 года |
|
24911-14 17.01.2019 |
Преобразователи измерительные переменного тока, Е842ЭС ООО "Энерго-Союз" (БЕЛАРУСЬ г.Витебск) |
ОТ |
4 года |
|
24912-03 01.10.2013 |
Преобразователи измерительные постоянного тока, Е846ЭС ООО "Энерго-Союз" (БЕЛАРУСЬ г.Витебск) |
ОТ |
1 год; с 2008 г. - 4 года |
|
24913-03 17.01.2019 |
Преобразователи измерительные активной мощности трехфазного тока, Е848ЭС ООО "Энерго-Союз" (БЕЛАРУСЬ г.Витебск) |
ОТ |
1 год; с 2008 г. - 4 года |
|
24914-03 29.01.2020 |
Преобразователи измерительные активной и реактивной мощности, Е849ЭС ООО "Энерго-Союз" (БЕЛАРУСЬ г.Витебск) |
1 год; с 2008 г. - 4 года | |
|
29090-05 01.05.2010 |
Преобразователи измерительные переменного тока и напряжения переменного тока, Е9527ЭС ООО "Энерго-Союз" (БЕЛАРУСЬ г.Витебск) |
1 год | |
|
29090-10 01.08.2015 |
Преобразователи измерительные переменного тока и напряжения переменного тока, Е9527ЭС ООО "Энерго-Союз" (БЕЛАРУСЬ г.Витебск) |
ОТ |
4 года |
|
29090-16 27.12.2017 |
Преобразователи измерительные переменного тока и напряжения переменного тока, Е9527ЭС ООО "Энерго-Союз" (БЕЛАРУСЬ г.Витебск) |
ОТ |
4 года |
|
29090-17 30.05.2022 |
Преобразователи измерительные переменного тока и напряжения переменного тока, Е9527ЭС ООО "Энерго-Союз" (БЕЛАРУСЬ г.Витебск) |
ОТ МП |
4 года |
|
29091-05 01.05.2015 |
Преобразователи измерительные цифровые активной и реактивной мощности трехфазного тока, ЦЛ 9049 ООО "Энерго-Союз" (БЕЛАРУСЬ г.Витебск) |
1 год | |
|
29092-05 01.05.2015 |
Преобразователи измерительные цифровые переменного тока, ЦА 9054 ООО "Энерго-Союз" (БЕЛАРУСЬ г.Витебск) |
1 год | |
|
29093-05 01.05.2015 |
Преобразователи измерительные цифровые напряжения переменного тока, ЦВ 9055 ООО "Энерго-Союз" (БЕЛАРУСЬ г.Витебск) |
1 год | |
|
29094-05 01.05.2015 |
Преобразователи измерительные цифровые напряжения постоянного тока, ЦВ 9057 ООО "Энерго-Союз" (БЕЛАРУСЬ г.Витебск) |
1 год | |
|
29095-05 01.08.2015 |
Преобразователи измерительные напряжения обратной последовательности фаз, Е 9565ЭС ООО "Энерго-Союз" (БЕЛАРУСЬ г.Витебск) |
ОТ |
1 год |
|
29095-16 30.04.2020 |
Преобразователи измерительные напряжения обратной последовательности фаз, Е9565ЭС ООО "Энерго-Союз" (БЕЛАРУСЬ г.Витебск) |
ОТ МП |
1 год |
|
29096-05 01.05.2015 |
Преобразователи измерительные цифровые постоянного тока, ЦА 9056 ООО "Энерго-Союз" (БЕЛАРУСЬ г.Витебск) |
1 год | |
|
29097-05 01.05.2015 |
Преобразователи измерительные цифровые частоты переменного тока, ЦД 9058 ООО "Энерго-Союз" (БЕЛАРУСЬ г.Витебск) |
1 год | |
|
30285-05 01.11.2010 |
Установки поверочные, ЦУ 854 ООО "Энерго-Союз" (БЕЛАРУСЬ г.Витебск) |
1 год | |
|
30285-11 07.04.2016 |
Установки поверочные, ЦУ 854 ООО "Энерго-Союз" (БЕЛАРУСЬ г.Витебск) |
ОТ |
1 год |
|
30285-16 26.11.2021 |
Установки поверочные, ЦУ 854 ООО "Энерго-Союз" (БЕЛАРУСЬ г.Витебск) |
ОТ МП |
1 год |
|
30286-05 01.11.2010 |
Установки поверочные, ЦУ 855 ООО "Энерго-Союз" (БЕЛАРУСЬ г.Витебск) |
1 год | |
|
30286-11 07.04.2016 |
Установки поверочные, ЦУ 855 ООО "Энерго-Союз" (БЕЛАРУСЬ г.Витебск) |
ОТ |
1 год |
|
30286-16 26.11.2021 |
Установки поверочные, ЦУ 855 ООО "Энерго-Союз" (БЕЛАРУСЬ г.Витебск) |
ОТ МП |
1 год |
|
31713-06 01.05.2016 |
Преобразователи измерительные цифровые переменного тока, Е 854ЭС-Ц ООО "Энерго-Союз" (БЕЛАРУСЬ г.Витебск) |
1 год | |
|
31713-17 26.04.2021 |
Преобразователи измерительные цифровые переменного тока, Е 854ЭС-Ц ООО "Энерго-Союз" (БЕЛАРУСЬ г.Витебск) |
ОТ МП |
1 год |
|
31714-06 01.05.2016 |
Преобразователи измерительные цифровые частоты переменного тока, Е 858ЭС-Ц ООО "Энерго-Союз" (БЕЛАРУСЬ г.Витебск) |
1 год | |
|
31714-17 26.04.2021 |
Преобразователи измерительные цифровые частоты переменного тока, Е 858ЭС-Ц ООО "Энерго-Союз" (БЕЛАРУСЬ г.Витебск) |
ОТ МП |
1 год |
|
31715-06 01.05.2016 |
Преобразователи измерительные цифровые реактивной мощности трехфазного тока, Е 860ЭС-Ц ООО "Энерго-Союз" (БЕЛАРУСЬ г.Витебск) |
1 год | |
|
31715-17 26.04.2021 |
Преобразователи измерительные цифровые реактивной мощности трехфазного тока, Е 860ЭС-Ц ООО "Энерго-Союз" (БЕЛАРУСЬ г.Витебск) |
ОТ МП |
1 год |
|
31716-06 01.05.2016 |
Преобразователи измерительные цифровые активной мощности трехфазного тока, Е 859ЭС-Ц ООО "Энерго-Союз" (БЕЛАРУСЬ г.Витебск) |
1 год | |
|
31716-17 26.04.2021 |
Преобразователи измерительные цифровые активной мощности трехфазного тока, Е 859ЭС-Ц ООО "Энерго-Союз" (БЕЛАРУСЬ г.Витебск) |
ОТ МП |
1 год |
|
31717-06 01.05.2016 |
Преобразователи измерительные цифровые напряжения переменного тока, Е 855ЭС-Ц ООО "Энерго-Союз" (БЕЛАРУСЬ г.Витебск) |
1 год | |
|
31717-17 26.04.2021 |
Преобразователи измерительные цифровые напряжения переменного тока, Е 855ЭС-Ц ООО "Энерго-Союз" (БЕЛАРУСЬ г.Витебск) |
ОТ МП |
1 год |
|
36906-08 01.02.2013 |
Преобразователи измерительные цифровые активной и реактивной мощности трехфазного тока, Е849ЭС-Ц ООО "Энерго-Союз" (БЕЛАРУСЬ г.Витебск) |
ОТ |
1 год |
|
42509-09 10.11.2021 |
Установки поверочные, ЦУ 849 ООО "Энерго-Союз" (БЕЛАРУСЬ г.Витебск) |
ОТ |
1 год |
|
43794-10 01.04.2015 |
Преобразователи измерительные цифровые для термопреобразователей сопротивления, ЦР 9007 ООО "Энерго-Союз" (БЕЛАРУСЬ г.Витебск) |
ОТ |
1 год |
|
43988-10 01.04.2015 |
Преобразователи измерительные цифровые напряжения переменного тока, ЦВ9255 ООО "Энерго-Союз" (БЕЛАРУСЬ г.Витебск) |
ОТ |
4 года |
|
43988-13 10.09.2018 |
Преобразователи измерительные цифровые напряжения переменного тока, ЦВ9255 ООО "Энерго-Союз" (БЕЛАРУСЬ г.Витебск) |
ОТ |
4 года |
|
43989-10 01.04.2015 |
Преобразователи измерительные цифровые многофункциональные, ЦП9010 ООО "Энерго-Союз" (БЕЛАРУСЬ г.Витебск) |
ОТ |
1 год |
|
43989-15 25.11.2021 |
Преобразователи измерительные цифровые многофункциональные, ЦП9010 ООО "Энерго-Союз" (БЕЛАРУСЬ г.Витебск) |
ОТ МП |
1 год |
|
44057-10 01.04.2015 |
Преобразователи измерительные цифровые активной и реактивной мощности трехфазного тока, ЦЛ9249 ООО "Энерго-Союз" (БЕЛАРУСЬ г.Витебск) |
ОТ |
4 года |
|
44057-13 10.09.2018 |
Преобразователи измерительные цифровые активной и реактивной мощности трехфазного тока, ЦЛ9249 ООО "Энерго-Союз" (БЕЛАРУСЬ г.Витебск) |
ОТ |
4 года |
|
44058-10 01.04.2015 |
Преобразователи измерительные цифровые переменного тока, ЦА9254 ООО "Энерго-Союз" (БЕЛАРУСЬ г.Витебск) |
ОТ |
4 года |
|
44058-13 10.09.2018 |
Преобразователи измерительные цифровые переменного тока, ЦА9254 ООО "Энерго-Союз" (БЕЛАРУСЬ г.Витебск) |
ОТ |
4 года |
|
44143-10 10.11.2021 |
Преобразователи измерительные цифровые частоты переменного тока, ЦД9258 ООО "Энерго-Союз" (БЕЛАРУСЬ г.Витебск) |
ОТ |
4 года |
|
44349-10 10.11.2021 |
Преобразователи измерительные цифровые постоянного тока, ЦА 9256 ООО "Энерго-Союз" (БЕЛАРУСЬ г.Витебск) |
ОТ |
4 года |
|
44350-10 10.11.2021 |
Преобразователи измерительные цифровые активной мощности трехфазного тока, ЦЛ 9259 ООО "Энерго-Союз" (БЕЛАРУСЬ г.Витебск) |
ОТ |
1 год |
|
44351-10 10.11.2021 |
Преобразователи измерительные цифровые реактивной мощности трехфазного тока, ЦЛ 9260 ООО "Энерго-Союз" (БЕЛАРУСЬ г.Витебск) |
ОТ |
1 год |
|
44651-10 10.11.2021 |
Преобразователи измерительные цифровые напряжения постоянного тока, ЦВ 9257 ООО "Энерго-Союз" (БЕЛАРУСЬ г.Витебск) |
ОТ |
4 года |
|
43988-18 29.09.2021 |
Преобразователи измерительные цифровые напряжения переменного тока, ЦВ9255 ООО "Энерго-Союз" (БЕЛАРУСЬ г.Витебск) |
ОТ МП |
4 года |
|
44058-18 29.09.2021 |
Преобразователи измерительные цифровые переменного тока, ЦА9254 ООО "Энерго-Союз" (БЕЛАРУСЬ г.Витебск) |
ОТ МП |
4 года |
|
44057-18 30.08.2021 |
Преобразователи измерительные цифровые активной и реактивной мощности трехфазного тока, ЦЛ 9249 ООО "Энерго-Союз" (БЕЛАРУСЬ г.Витебск) |
ОТ МП |
4 года |
|
24913-19 27.11.2019 |
Преобразователи измерительные активной мощности трехфазного тока, Е848ЭС ООО "Энерго-Союз" (БЕЛАРУСЬ г.Витебск) |
ОТ |
4 года |
|
24911-19 31.05.2023 |
Преобразователи измерительные переменного тока, Е842ЭС ООО "Энерго-Союз" (БЕЛАРУСЬ г.Витебск) |
ОТ МП |
1 год |
|
24255-19 31.07.2023 |
Преобразователи измерительные постоянного тока, Е856ЭС ООО "Энерго-Союз" (БЕЛАРУСЬ г.Витебск) |
ОТ |
1 год |
|
24222-19 31.07.2023 |
Преобразователи измерительные переменного тока, Е854ЭС ООО "Энерго-Союз" (БЕЛАРУСЬ г.Витебск) |
ОТ МП |
1 год |
|
24221-19 31.07.2024 |
Преобразователи измерительные напряжения переменного тока, Е 855ЭС ООО "Энерго-Союз" (БЕЛАРУСЬ г.Витебск) |
ОТ МП |
1 год |
|
24220-19 31.07.2023 |
Преобразователи измерительные напряжения постоянного тока, Е 857ЭС ООО "Энерго-Союз" (БЕЛАРУСЬ г.Витебск) |
ОТ МП |
1 год |
|
24219-19 31.05.2023 |
Преобразователи измерительные частоты переменного тока, Е 858ЭС ООО "Энерго-Союз" (БЕЛАРУСЬ г.Витебск) |
ОТ МП |
1 год |
|
24914-20 30.07.2024 |
Преобразователи измерительные активной и реактивной мощности, Е849ЭС ООО "Энерго-Союз" (БЕЛАРУСЬ г.Витебск) |
ОТ МП |
1 год |
|
24913-20 30.07.2024 |
Преобразователи измерительные активной мощности трехфазного тока, Е848ЭС ООО "Энерго-Союз" (БЕЛАРУСЬ г.Витебск) |
ОТ МП |
1 год |
|
36906-20 01.03.2023 |
Преобразователи измерительные цифровые активной и реактивной мощности трехфазного тока, Е 849ЭС-Ц ООО "Энерго-Союз" (БЕЛАРУСЬ г.Витебск) |
ОТ МП |
1 год |
|
24223-20 30.07.2024 |
Преобразователи измерительные суммирующие постоянного тока, Е 851ЭС ООО "Энерго-Союз" (БЕЛАРУСЬ г.Витебск) |
ОТ МП |
4 года |
|
29095-20 26.12.2024 |
Преобразователи измерительные напряжения обратной последовательности фаз, Е 9565ЭС ООО "Энерго-Союз" (БЕЛАРУСЬ г.Витебск) |
ОТ МП |
1 год |
|
86105-22 24.05.2026 |
Преобразователи измерительные, Е8 ООО "Энерго-Союз" (БЕЛАРУСЬ г.Витебск) |
ОТ МП |
1 год |
|
89756-23 28.04.2028 |
Преобразователи измерительные переменного тока и напряжения переменного тока, Е 9527ЭС ООО "Энерго-Союз" (БЕЛАРУСЬ г.Витебск) |
ОТ МП |
1 год |
|
94682-25 25.10.2029 |
Преобразователи измерительные с индикацией, Ц9 ООО "Энерго-Союз" (БЕЛАРУСЬ г.Витебск) |
ОТ МП |
2 года |
Город Ижевск входит в двадцатку важнейших городов России и в пятерку ведущих торговых центров на 1 000 человек. В настоящее время город по праву может использовать экономические, транспортные и культурные особенности страны, имея развитую оборонную, машиностроительную и металлургическую промышленность. И, кстати, Ижевский пруд является самым большим искусственным водоемом в Европе.
Географическое расположение Ижевска весьма удобно: существующая инфраструктура позволяет добраться практически в любую точку России - на самолете, поезде или автобусе. Например, перелет до Москвы длится всего 2 часа. К сожалению, пока аэропорт города не может похвастаться международным статусом, поэтому путешественникам из Удмуртии приходится ездить в Казань или Нижнекамск, где расположены ближайшие международные аэропорты.
Железнодорожная сеть традиционно высоко развита - всего в часе (или получасе - в зависимости от скорости движения) езды от Ижевска находится крупная железнодорожная станция Агрыз, а в паре часов - еще более крупная станция Балезино, где можно сделать пересадку или купить билет на проходящие поезда во всех направлениях.
Ижевск - развитый промышленный центр Удмуртии и Урала. Город известен в стране и в мире производством высококачественных сталей, развитым машиностроением, в частности: производством оружия и военной техники, стрелкового, охотничьего и нарезного оружия, автомобилей, приборостроения, пищевой промышленности. Основной целью развития промышленного сектора экономики г. Ижевска является сохранение и развитие имеющегося производственного потенциала путем его реструктуризации и адаптации к изменившимся экономическим условиям.
Основой экономического и социального развития города Ижевска является промышленное производство с долей численности работников 31,7% от среднесписочной численности работников организаций города Ижевска. Промышленные предприятия являются основными плательщиками налогов в бюджет города.
Отчет "Анализ рынка поверки в Ижевске" предоставляет исчерпывающую информацию по деятельности организаций, аккредитованных в Национальной системе аккредитации на право поверки средств измерений в городе Ижевск.
При проведении исследований были введены следующие ограничения:
- в отчете присутствуют организации с первичными или периодическими поверками от 100 шт. с 2017 года и действующими аттестатами аккредитации на текущий год;
- на первом и втором этапах фильтром отсекаются типы СИ с менее чем 10 поверками в год на организацию;
- на первом и втором этапах фильтром отсекаются типы СИ с менее чем 10 поверками в год на организацию;
- место регистрации или осуществления деятельности организаций должно совпадать с выбранным городом;
- топ типов СИ ограничен 500 позициями по каждой организации (сортировка по убыванию количества поверок);
- топ типов СИ ограничен 100 позициями по каждой организации при поиске по видам измерений (сортировка по убыванию количества поверок).
Содержание отчета:
- Список организаций-поверителей, осуществляющих поверку в городе Москва по данным ФСА и ФГИС АРШИН.
- Объемы первичных и периодических поверок за период с 2017г. по н.в.
- Информация о местах осуществления деятельности организаций-поверителей.
- Доля рынка поверок в % среди всех организаций, исследуемого города (предоставление информации в графическом и табличном видах).
- Детальный анализ по каждой из организации, работающей в выбранном городе.
- Анализ деятельности в разрезе первичных, периодических поверок и видов измерений.
- Количество поверок по типам СИ в динамике по годам.
- Индикация импортных аналогов средств поверки (в соответствии с ПЕРЕЧЕНЕМ СИ ОТЕЧЕСТВЕННОГО ПРОИЗВОДСТВА, АНАЛОГИЧНЫХ СРЕДСТВАМ ИЗМЕРЕНИЙ ИМПОРТНОГО ПРОИЗВОДСТВА от 09.2022г)
- Индикация типов СИ по ПП РФ №250 от 20.04.2010 г.
- Быстрый анализ контрагентов организаций-поверителей.
- Анализ цен на поверку СИ по Фед. округу.
Кто поверяет Преобразователи измерительные активной мощности трехфазного тока (Е848ЭС)
| Наименование организации | Cтатус | Поверенные модификации | Кол-во поверок | Поверок в 2026 году | Первичных поверок | Периодических поверок | Извещений | Для юриков | Для юриков первичные | Для юриков периодические |
|---|---|---|---|---|---|---|---|---|---|---|
| ФКП "Комбинат "Каменский" (RA.RU.312705) | 6 | 0 | 6 | 0 | 6 | 0 | 6 | |||
| ФБУ "КУРСКИЙ ЦСМ" (RA.RU.311463) | РСТ | 36 | 0 | 36 | 0 | 36 | 0 | 36 |
Стоимость поверки Преобразователи измерительные активной мощности трехфазного тока (Е848ЭС)
| Организация, регион | Стоимость, руб | Средняя стоимость |
|---|
Программное обеспечение
отсутствует.
Знак утверждения типа
Знак утверждения типананосится на лицевую панель преобразователей фотохимическим способом, а также на титульный лист руководства по эксплуатации и паспорт типографским способом.
Сведения о методиках измерений
Сведения о методиках (методах) измерений приведены в эксплуатационном документе.
Нормативные и технические документы
Нормативные и технические документы, устанавливающие требования к преобразователям измерительным активной мощности трехфазного тока Е 848ЭС
ГОСТ 24855-81 Преобразователи измерительные тока, напряжения, мощности, частоты, сопротивления аналоговые. Общие технические условия
ТУ РБ 300521831.008-2002 Преобразователи измерительные активной мощности трехфазного тока Е 848ЭС. Технические условия
Поверка
Поверка осуществляется по документу МП.ВТ.053-2002 «Преобразователи измерительные активной мощности трехфазного тока Е 848ЭС. Методика поверки», согласованному РУП «Витебский ЦСМС» 23.12.2002г.Основные средства поверки:
мегаомметр Е6-16 (регистрационный номер в Федеральном информационном фонде 61977-15);
установка для поверки однофазных и трехфазных счетчиков, амперметров, вольтметров, ваттметров, варметров и фазометров (регистрационный номер в Федеральном информационном фонде 4511-74);
- ваттметр Д57 (регистрационный номер в Федеральном информационном фонде 1935-64);
вольтметр В7-65 (регистрационный номер в Федеральном информационном фонде 20250-06);
магазин сопротивлений Р33 (регистрационный номер в Федеральном информационном фонде 1321-60);
катушка сопротивления образцовая Р331 номиналом 100 Ом (регистрационный номер в Федеральном информационном фонде 1162-58).
Допускается применение аналогичных средств поверки, обеспечивающих определение метрологических характеристик, поверяемых СИ с требуемой точностью.
Знак поверки в виде клейма-наклейки наносится на крышку корпуса преобразователя и/или на свидетельство о поверке, знак поверки в виде оттиска клейма наносится на корпус преобразователя в местах крепления крышки и ставится в паспорте на преобразователь, при первичной поверке или свидетельстве о поверке, при периодической поверке.
Изготовитель
Общество с ограниченной ответственностью «Энерго-Союз» (ООО «Энерго-Союз»), Республика Беларусь
Адрес: Республика Беларусь, 210601, г. Витебск, ул. С. Панковой, д.3 Телефон: +375 (212) 67-72-30
Е-mail: energo@vitebsk.by
Испытательный центр
Экспертиза проведена Федеральным государственным унитарным предприятием «Всероссийский научно-исследовательский институт метрологической службы»
(ФГУП «ВНИИМС»)
Адрес: 119361, г. Москва, ул. Озерная, д. 46
Телефон: +7 (495) 437-55-77
Факс: +7 (495) 437-56-66
Web-сайт: www.vniims.ru
E-mail: office@vniims.ru
Преобразователи предназначены для линейного преобразования активной мощности переменного тока частотой 50 и 60 Гц в унифицированный выходной сигнал постоянного тока или напряжения постоянного тока.
По связи между входными и выходными цепями преобразователи относятся к преобразователям без гальванической связи. Преобразователи обеспечивают также гальваническое разделение выходной цепи и корпуса.
Преобразователи могут применяться для контроля активной мощности трехфазных и однофазных, четырехпроводных и трехпроводных цепей в электрических установках для комплексной автоматизации объектов электроэнергетики.
Преобразователи выполнены в корпусе из ударопрочного полистирола. Силовой трансформатор крепится к основанию корпуса. Над трансформатором к корпусу крепятся печатные платы, на которых расположены элементы электрической схемы.
Преобразователи выпускаются четырнадцати модификаций, отличающихся диапазонами измерения входного, диапазонами изменения выходного сигнала и параметрами питания.
Преобразователи модификаций с Е 848/1ЭС по Е 848/5ЭС и Е 848/25ЭС относятся к трехэлементным преобразователям мощности, модификации с Е 848/6ЭС по Е 848/14ЭС и Е 848/34ЭС - к двухэлементным.
ИП предназначены для включения непосредственно или через измерительные трансформаторы тока и напряжения.
Общий вид преобразователей представлен на рисунке 1.
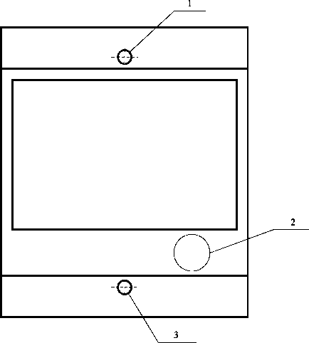
Схема пломбировки от несанкционированного доступа и указание мест для нанесения знака поверки средств измерений и клейма-наклейки на преобразователи приведены на рисунке 2.
Рисунок 1 - Общий вид преобразователей
-
1 - место нанесения знака поверки в виде оттиска клейма
-
2 - место нанесения знака поверки в виде клейма-наклейки
-
3 - место нанесения оттиска клейма ОТК
Рисунок 2 - Схема пломбировки от несанкционированного доступа и обозначение мест нанесения знака поверки и размещения наклеек
Комплектность преобразователей представлена в таблице 4.
Таблица 4 - Комплектность
|
Наименование |
Обозначение |
Количество |
|
Преобразователь измерительный активной мощности трехфазного тока Е 848ЭС |
УИМЯ.411600.008 |
1 |
|
Паспорт |
УИМЯ.411600.008 ПС |
1 |
|
Руководство по эксплуатации |
УИМЯ.411600.008 РЭ |
1* |
|
Методика поверки |
МП.ВТ.053-2002 |
1* |
|
Коробка упаковочная |
СКЮИ 743832.001 |
1 |
|
* - руководство по эксплуатации и методика поверки поставляются по 1 экз. на 3 преобразователя | ||
Таблица 1 - Диапазон изменения преобразуемого входного сигнала, номинальное значение преобразуемого входного сигнала, диапазоны изменения выходного сигнала, параметры
питания в зависимости от модификации
|
Модификация |
Диапазон изменения преобразуемого входного сигнала |
Номинальное значение преобразуемого входного сигнала |
Диапазоны изменения выходного сигнала |
Параметры питания | |||||
|
IA, IC, А |
Uab= Ubc= Uca, В |
cos ф |
1Щ А |
Uh, В |
cos ф |
1вых, мА |
Ubbk, В | ||
|
Е 848/1ЭС |
от 0 до 1 (от 0 до 0,5) или от 0 до 5 (от 0 до 2,5) |
от 80 до120 |
от 0 до +1 до 0 |
1,0 (0,5) или 5,0 (2,5) |
100 |
1 |
от 0 до 5 |
- |
ИЦ |
|
Е 848/2ЭС |
от 0 до -1 до 0 до +1 до 0 |
+1 -1 |
от -5 до 0 до +5 | ||||||
|
Е 848/3ЭС |
от 0 до120 |
от 0 до +1 до 0 |
1,0 |
от 0 до 5 |
220 В 50 Гц | ||||
|
Е 848/4ЭС |
от 0 до -1 до 0 до +1 до 0 |
+1 -1 |
от -5 до 0 до +5 | ||||||
|
Е 848/5ЭС |
от 80 до 120 |
от 0 до +1 до 0 |
1,0 |
от 4 до 20 |
ИЦ | ||||
Продолжение таблицы 1
|
Е 848/6ЭС |
от 0 до 1 (от 0 до 0,5) или от 0 до 5 (от 0 до 2,5) |
от 0 до 60 от 0 до 120 от 0 до 250 от 0 до 450 |
от 0 до -1 до 0 до + 1 до 0 |
1,0 (0,5) или 5,0 (2,5) |
50 100 220 380 |
+1 -1 |
от -5 до 0 до +5 |
220 В 50 Гц | |
|
Е 848/7ЭС |
от 0 до 60 от 0 до 120 |
50 100 |
- |
от -10 до 0 до +10 | |||||
|
Е 848/8ЭС |
от 80 до 120 |
от 0 до +1 до 0 |
100 |
1 |
от 0 до 5 |
- |
ИЦ | ||
|
Е 848/9ЭС |
от 0 до120 |
220 В 50 Гц | |||||||
|
Е 848/10ЭС |
от 80 до 120 |
от 0 до -1 до 0 до +1 до 0 |
+1 -1 |
от -5 до 0 до +5 |
ИЦ | ||||
|
Е 848/11ЭС |
от 0 до 120 |
220 В 50Гц | |||||||
|
Е 848/12ЭС |
от 0 до 2,5 до 5,0 | ||||||||
|
Е 848/13ЭС |
от 80 до 120 |
от 0 до +1 до 0 |
1 |
от 4 до 20 |
ИЦ | ||||
|
Е 848/14ЭС |
от 0 до 60 от 0 до 120 от 0 до 250 от 0 до 450 |
от 0 до +1 до 0 |
50 100 220 380 |
220 В 50Гц | |||||
|
Е 848/34ЭС |
от 0 до 120 |
100 | |||||||
|
Е 848/25ЭС |
от 0 до 60 от 0 до 120 от 0 до 250 от 0 до 450 |
от 0 до -1 до 0 до +1 до 0 |
50 100 220 380 |
+1 -1 |
от 4 до 12 до 20 | ||||
|
Примечания: 1. Значения, указанные в скобках, соответствуют дополнительному диапазону изменения преобразуемого входного сигнала. 2. ИЦ - питание от измерительной цепи | |||||||||
Таблица 2 - Метрологические характеристики
|
Наименование характеристики |
Значение |
|
Пределы допускаемой основной приведенной погрешности от нормирующего значения выходного сигнала в диапазоне изменения сопротивления нагрузки*, % |
±0,5 |
|
Диапазон изменения сопротивления нагрузки, кОм:
Е 848/8ЭС - Е 848/12ЭС
|
от 0 до 3,0 от 0 до 0,5 от 2,0 до 100,0 |
|
* - нормирующее значение выходного сигнала равно наибольшему значению диапазона изменения выходного сигнала, указанного в таблице 1. | |
Таблица 3 - Технические характеристики
|
Наименование характеристики |
Значение |
|
Рабочая температура окружающего воздуха, °С |
от -30 до +60 |
|
Относительная влажность окружающего воздуха при температуре +35 °С, %, не более |
95 |
|
Мощность, потребляемая от измерительной цепи при номинальных значениях входных сигналов, В-А, не более: - для каждой последовательной цепи фазы А, В или С |
0,3 |
|
- для параллельных цепей фазы В |
0,2 |
|
- для параллельных цепей фазы А или С модификаций Е 848/1ЭС, Е 848/2ЭС, Е 848/8ЭС, |
5,0 |
|
Е 848/10ЭС, Е 848/13ЭС - для параллельных цепей фазы А или С модификации Е 848/5ЭС |
6,0 |
|
- для параллельных цепей фазы А или С модификаций Е 848/3ЭС, Е 848/4ЭС, Е 848/6ЭС, Е 848/7ЭС, Е 848/9ЭС, Е 848/11ЭС, Е 848/12ЭС, Е 848/14ЭС, Е 848/25ЭС, Е 848/34ЭС |
0,2 |
|
Мощность, потребляемая от источника питания модификаций Е 848/3ЭС, Е 848/4ЭС, Е 848/6ЭС, Е 848/7ЭС, Е 848/9ЭС, Е 848/11ЭС, Е 848/12ЭС, Е 848/14ЭС, Е 848/25ЭС, Е 848/34ЭС, В-А, не более |
5,0 |
|
Габаритные размеры (ширинахдлинахвысота), мм, не более |
125х110х132 |
|
Масса, кг, не более |
1,2 |
|
Средняя наработка на отказ, ч, не менее |
33000 |

