Номер по Госреестру СИ: 54399-13
54399-13 Весы неавтоматического действия
(IS)
Назначение средства измерений:
Весы неавтоматического действия IS (далее - весы) предназначены для измерений массы при статическом взвешивании различных веществ и материалов.

Внешний вид.
Весы неавтоматического действия
Рисунок № 1

Внешний вид.
Весы неавтоматического действия
Рисунок № 2

Внешний вид.
Весы неавтоматического действия
Рисунок № 3

Внешний вид.
Весы неавтоматического действия
Рисунок № 4

Внешний вид.
Весы неавтоматического действия
Рисунок № 5

Внешний вид.
Весы неавтоматического действия
Рисунок № 6

Внешний вид.
Весы неавтоматического действия
Рисунок № 7

Внешний вид.
Весы неавтоматического действия
Рисунок № 8
Программное обеспечение
Весы оснащены встроенным разделенным программным обеспечением. Номер версии программного обеспечения высвечивается при обращении к одноименному подпункту меню весов. Основные функции программного обеспечения: обработка сигнала с весоизмерительного устройства и последующий пересчет его в единицы массы; хранение данных юстировки, результатов измерений, вывод данных на экран.
Метрологически значимая часть программного обеспечения весов заложена в микроконтроллере взвешивающего модуля в процессе производства и защищена от доступа и изменения пломбами.
Программное обеспечение разделено на метрологически значимую и незначимую части, метрологически незначимая часть содержит информацию о количестве прикладных программ в режиме работы, не связанном со взвешиванием.
Обновление метрологически значимой части программного обеспечения в процессе эксплуатации весов не предусмотрено.
Идентификационные данные метрологически значимой части программного обеспечения (в таблице - ПО)
Наименование ПО |
Идентификационное наименование ПО |
Номер версии (идентификационный номер) ПО |
Цифровой идентификатор ПО |
Алгоритм вычисления цифрового идентификатора ПО |
Не применяется |
Не применяется |
01.20.ХХ |
не применяется |
не применяется |
* Примечание - обозначение XX относится к метрологически незначимой части ПО.
Уровень защиты от непреднамеренных и преднамеренных изменений соответствует уровню «А» по МИ 3286-2010.
Фотография внешнего вида весов представлена на рисунках 3а-3в.

клеймо
Рис. 1 а - Весы со взвешивающим модулем IS06BBE-S0CE и модулем терминала CAIS1

Рис. 1б - Весы со взвешивающим модулем:
IS2CCE-S0CE, IS6CCE-H0CE,
IS6CCE-S0CE и модулем терминала CAIS2

Рис. 1 в - Весы со взвешивающим модулем: IS12CCE-S0CE, IS12CCE-I0CE, IS16EDE-H0CE, IS34EDE-H0CE,
IS64EDE-H0CE, IS64FEG-S0CE и модулем терминала CAIS3
Рис. 1 г - Весы со взвешивающим модулем: IS150IGG-H0CE, IS300IGG-H0CE и модулем терминала CAIS4
Места нанесения поверительного клейма (знака поверки в виде наклейки) обозначены стрелками.
Знак утверждения типа
Знак утверждения типананосится на титульный лист Руководства по эксплуатации типографским способом.
Сведения о методиках измерений
Сведения о методиках (методах) измерений
Методика измерений представлена в руководстве по эксплуатации.
Нормативные и технические документы
Нормативные и технические документы, устанавливающие требования к весам неавтоматического действия IS
ГОСТ 8.021-2005 «Государственная система обеспечения единства измерений. Государственная поверочная схема для средств измерений массы»
ГОСТ Р 53228-2008 «Весы неавтоматического действия. Часть 1. Метрологические и технические требования. Испытания»
Техническая документация фирмы «Sartorius Weighing Technology GmbH», Германия.
Изготовитель
фирма «Sartorius Weighing Technology GmbH»
Weender landstrasse 94 - 108, 37075 Goettingen, Germany,
Tel: +49.551.308.0, Fax: +49.551.308.3289, http://www.sartorius.de
Заявитель
ООО «Сарторос», г. Москва
125252, г. Москва, Чапаевский пер., д.16
Teл: (495) 921-22-41, http:// www.sartoros.ru Лист № 8 Всего листов 8
Испытательный центр
Государственный центр испытаний средств измерений ФГУП «Уральский научно-исследовательский институт метрологии» (ГЦИ СИ ФГУП «УНИИМ»), 620000, г. Екатеринбург, ул. Красноармейская, 4, тел. (343) 350-26-18, факс: (343) 350-20-39, e-mail: uniim@uniim.ru. Аккредитован в соответствии с требованиями Федерального агентства по техническому регулированию и метрологии и зарегистрирован в Государственном реестре средств измерений под № 30005-11.
Принцип действия весов основан на электромагнитной компенсации системой автоматического уравновешивания воздействия, вызванного весом груза, с последующим преобразованием компенсационного усилия системы в электрический сигнал. Результат взвешивания выводится на жидкокристаллический дисплей модуля терминала.
Конструктивно весы представляют собой два модуля, соединенных системой обмена данных - взвешивающий модуль и модуль терминала, предназначенный для выбора режимов работы весов и индикации результатов взвешивания. Весы имеют верхнее расположение грузоприемного устройства.
Взвешивающий модуль оснащен следующими дополнительными устройствами (указанными ниже в соответствии с ГОСТ Р 53228-2008):
-
- устройством установки по уровню (Т.2.7.1);
-
- устройствами установки нуля (Т.2.7.2):
-
- полуавтоматическим устройством установки нуля (Т.2.7.2.2);
-
- автоматическим устройством установки нуля (Т.2.7.2.3);
-
- устройством первоначальной установки нуля (Т.2.7.2.4);
-
- устройством слежения за нулем (может быть отключено) (Т.2.7.3);
-
- устройствами тарирования (Т.2.7.4):
-
- устройством уравновешивания тары (Т.2.7.4.1);
-
- устройством взвешивания тары (Т.2.7.4.2);
-
- устройством предварительного задания массы тары (Т.2.7.5).
Дополнительно взвешивающий модуль оснащен следующими функциями:
-
- устройством полуавтоматической юстировки встроенным моторизованным грузом «iso-TEST» (при выборе соответствующего подпункта меню модуля терминала) (4.1.2.5).
-
- несбрасываемым счетчиком проведенных юстировок (4.1.2.4).
Взвешивающие модули выпускаются, в разных модификациях, отличающихся метрологическими и техническими характеристиками IS06BBE-S0CE, IS2CCE-S0CE, IS6CCE-H0CE, IS6CCE-S0CE, IS12CCE-S0CE, IS12CCE-I0CE, IS16EDE-H0CE, IS34EDE-H0CE, IS64EDE-H0CE, IS64FEG-S0CE, IS150IGG-H0CE, IS300IGG-H0CE.
Модули терминала выпускаются в разных модификациях, отличающихся исполнением дисплея, исполнением корпуса модуля, наличием прикладных программ, не связанных со взвешиванием. Обозначение модели модуля терминала складывается из следующих позиций:
CAIX1 X2, где
X1 - буквенное обозначение варианта исполнения корпуса:
-
■ S - влаго-пылезащищенное исполнение,
-
■ SL - пылезащищенное исполнение,
X2 - вариант исполнения дисплея и наличие прикладных программ:
-
■ 1 - жидкокристаллический дисплей, без прикладных программ;
-
■ 2 - жидкокристаллический дисплей, с прикладными программами;
-
■ 3, 4 - матричный дисплей с подсветкой, с прикладными программами.
Список прикладных программ, не связанных со взвешиванием:
-
- подсчет числа объектов, имеющих примерно одну и ту же массу;
-
- суммирование;
-
- контрольное взвешивание;
-
- сортировка;
-
- усреднение;
-
- вычисление процентных соотношений;
-
- формулирование;
-
- рецептурное взвешивание.
Весы оснащаются интерфейсом передачи данных: RS 232С. Опционально весы могут оснащаться следующими интерфейсами: RS485, RS422, аналоговый выход 0-20 mA, цифровые интерфейсы с оптической изоляцией, Profibus-DP, digital E|A, Ethernet TCP|IP, Modbus TCP.
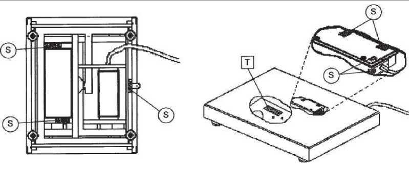
Идентификационные маркировки и защитные пломбы
Идентификационные маркировки и защитные пломбы наносятся на каждый модуль. Схемы нанесения маркировок и пломб на модули представлены на рисунках 1 а-1 е.

Рис, la - Модуль терминала

Рис. 1б - Взвешивающий модуль:
IS06BBE-S0CE

Рис. 1 в - Взвешивающий модуль:
IS2CCE-S0CE, IS6CCE-H0CE, IS6CCE-S0CE

Рис. 1г - Взвешивающий модуль: IS12CCE-S0CE, IS12CCE-I0CE, IS16EDE-H0CE, IS34EDE-H0CE, IS64EDE-H0CE, IS64FEG-S0CE

Рис. 1д - Взвешивающий модуль: IS150IGG-H0CE, IS300IGG-H0CE

Рис. 1е - Соединительный разъем между взвешивающим модулем и модулем терминала
На рисунках 1а - 1е использованы следующие обозначения: |МР| -метрологические характеристики: Min, Мах, е и d, например:
I Мах 2200 д Min 0,5 д в= о,1 д d= 0,01 дТ - обозначение модели
■ модуля терминала, например:
Sartorius Weighing Technology GmbH, Goettingen, Germany
CAI S3 (TA) D09-011.02
HO U6W1.B42.EO

100 - 240 V 50 / 60 Hz 15 VA
11114444 нянтниин
■ взвешивающего модуля, например:
обозначение соответствия требованиям
союза 2009/23/EC (ранее 90/384/EEC), например:

S - защитная пломба.
директивы Европейского
Обозначение модели весов складывается из позиций: X1 X2, где
X1 - модификация модуля терминала;
X2 - модификация взвешивающего модуля (IS06BBE-S0CE, IS2CCE-S0CE, IS6CCE-H0CE, IS6CCE-S0CE, IS12CCE-S0CE, IS12CCE-I0CE, IS16EDE-H0CE, IS34EDE-H0CE, IS64EDE-H0CE, IS64FEG-S0CE, IS150IGG-H0CE, IS300IGG-H0CE);
Например, весы CAIS3 IS150IGG-H0CE, в комплекте: модуль терминала в пылезащищенном исполнении с матричным дисплеем, с прикладными программами, взвешивающий модуль IS150IGG-H0CE.
Наименование характеристики |
Значение характе] |
ристики для весов | ||||
Модификация взвешивающего модуля |
IS06BBE-S0CE |
IS2CCE-S0CE |
IS6CCE-H0CE |
IS6CCE-S0CE |
IS12CCE-S0CE |
IS12CCE-I0CE |
1 Класс точности по ГОСТ Р 53228-2008 |
II | |||||
2 Максимальная нагрузка Мах, г |
620 |
2200 |
6200 |
6200 |
12000 |
12000 |
3 Поверочное деление, е, г |
0,01 |
0,1 |
0,1 |
1 |
1 |
0,5 |
4 Действительная цена деления d, г |
0,001 |
0,01 |
0,01 |
0,1 |
0,1 |
0,5 |
5 Число поверочных делений, n |
62 000 |
22 000 |
62 000 |
6 200 |
12 000 |
24 000 |
6 Диапазон уравновешивания тары |
от 0 до Мах | |||||
7 Диапазон предварительного задания массы тары |
от 0 до Мах | |||||
8 Диапазон температур, °С |
от + 10 до + 30 | |||||
9 Минимальная нагрузка Мт, г |
0,02 |
0,5 |
0,5 |
5 |
5 |
25 |
10 Размеры грузоприемной платформы, мм |
0 130 |
216 х200 |
216 х200 |
216 х200 |
216 х200 |
216 х200 |
11 Параметры источника питания: входное напряжение, В / частота, Гц |
+10% (100 + 240)-15% / 50 - 60 |
Наименование характеристики |
Значение характеристики для весов | |||||
Модификация взвешивающего модуля |
IS16EDE- H0CE |
IS34EDE- H0CE |
IS64EDE- H0CE |
IS64FEG- S0CE |
IS150IGG- H0CE |
IS300IGG- H0CE |
1 Класс точности по ГОСТ Р 53228-2008 |
II | |||||
2 Максимальная нагрузка Мах, кг |
16 |
34 |
64 |
64 |
150 |
300 |
3 Поверочное деление, е, г |
1 |
1 |
10 |
10 |
10 |
20 |
4 Действительная цена деления d, г |
0,1 |
0,1 |
1 |
1 |
1 |
20 |
5 Число поверочных делений, n |
16 000 |
34 000 |
6 400 |
6 400 |
15 000 |
15 000 |
6 Диапазон уравновешивания тары |
от 0 до Мах | |||||
7 Диапазон предварительного задания массы |
от 0 до Мах | |||||
тары | ||||||
8 Диапазон температур, °С |
от + 10 до + 30 | |||||
9 Минимальная нагрузка Мт, г |
5 |
5 |
50 |
50 |
50 |
100 |
10 Размеры грузоприемной платформы, мм |
400 x 300 |
400 x 300 |
400 x 300 |
560x450 |
800 x 600 |
800 x 600 |
11 Параметры источника питания: |
+10% | |||||
входное напряжение, В / частота, Гц |
(100+240)- |
15% / 50 - 60 |